СЦБИСТ - железнодорожный форум, блоги, фотогалерея, социальная сеть
Вернуться   СЦБИСТ - железнодорожный форум, блоги, фотогалерея, социальная сеть > Эксплуатация устройств СЦБ > Постовое и напольное оборудование > Локомотивные устройства и АЛС
Закладки ДневникиПоддержка Сообщество Комментарии к фото Сообщения за день
Ответить в этой теме   Перейти в раздел этой темы    
 
В мои закладки Подписка на тему по электронной почте Отправить другу по электронной почте Опции темы Поиск в этой теме
Старый 10.05.2015, 17:46   #46 (ссылка)
V.I.P.
 
Аватар для Rafa

Регистрация: 24.10.2009
Адрес: МОЙДОДЫР
Сообщений: 5,650
Поблагодарил: 388 раз(а)
Поблагодарили 577 раз(а)
Фотоальбомы: не добавлял
________________


вот один самый простой способ заглушить коротких помехи



на вход надо подавать цифровые сигналы правда.

Rafa добавил 10.05.2015 в 17:32
Цитата:
Реле РВ - это и есть этот селектор времени. Повторюсь, что в наших в схемах его нету. В последних заводских разработках оно вообще имеет прямую запитку 75 В от внешних цепей и выполняет совершенно другие функции.

да вроде оно. схема напоминает схему приемника.

фильтры сложно настраивать ?

Rafa добавил 10.05.2015 в 17:43
________________________


подмитая подьезд вспомнил частотную алс на магистралке.

так там применяются такие же частоты как в политене



теперь понятно от куда ветерок дует



даже схему бортового приемника стырили нигодяи





селектора нету

значит не все стырили

Rafa добавил 10.05.2015 в 17:46
_________________


блок контроля ск. тут наверное свой так-как другие скоростя


Последний раз редактировалось Rafa; 10.05.2015 в 17:46. Причина: Добавлено сообщение
Rafa вне форума   Цитировать 1
Старый 10.05.2015, 18:53   #47 (ссылка)
Super V.I.P.
 
Аватар для APCnik

Регистрация: 26.07.2009
Сообщений: 2,635
Поблагодарил: 323 раз(а)
Поблагодарили 584 раз(а)
Фотоальбомы: 1 фото
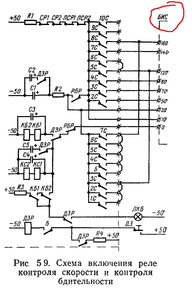
Селектор оказался и нафиг не нужным. А схема включения реле контроля скорости и контроля бдительности наверняка взята с ЭР-200
__________________
ДАЙ ВАМ БОГ ТО - ЧЕГО ВЫ ЖЕЛАЕТЕ ДРУГИМ!

APCnik вне форума   Цитировать 0
Старый 11.05.2015, 12:48   #48 (ссылка)
V.I.P.
 
Аватар для Rafa

Регистрация: 24.10.2009
Адрес: МОЙДОДЫР
Сообщений: 5,650
Поблагодарил: 388 раз(а)
Поблагодарили 577 раз(а)
Фотоальбомы: не добавлял
Цитата:
Сообщение от APCnik Посмотреть сообщение
Селектор оказался и нафиг не нужным.
а зачем он там ?

тут дешифратор работает в статике ...

так кто у кого спер многозначную АЛСН ?

как видно выше аппаратура в АЛСУ Втютильку подобная.

_____________

БПЛМ - -блок приемный локомотивный метро

а может все же многозначный ?

так-как многозначная АЛС тута.
Rafa вне форума   Цитировать 1
Старый 11.05.2015, 15:01   #49 (ссылка)
Super V.I.P.
 
Аватар для APCnik

Регистрация: 26.07.2009
Сообщений: 2,635
Поблагодарил: 323 раз(а)
Поблагодарили 584 раз(а)
Фотоальбомы: 1 фото
Не знаю кто, что и у кого спер, если разработчик один и тот же. Если конкретно, то это ВНИИЖТ Дмитриев В.С. & Co
__________________
ДАЙ ВАМ БОГ ТО - ЧЕГО ВЫ ЖЕЛАЕТЕ ДРУГИМ!

APCnik вне форума   Цитировать 0
Старый 11.05.2015, 15:36   #50 (ссылка)
V.I.P.
 
Аватар для Rafa

Регистрация: 24.10.2009
Адрес: МОЙДОДЫР
Сообщений: 5,650
Поблагодарил: 388 раз(а)
Поблагодарили 577 раз(а)
Фотоальбомы: не добавлял
на магистралке эта система не пошла.

эр-200 знает

зато пошла в политене.

трц политена с част. кодир. тоже своровали с цаба.
Rafa вне форума   Цитировать 1
Старый 11.05.2015, 16:13   #51 (ссылка)
Super V.I.P.
 
Аватар для APCnik

Регистрация: 26.07.2009
Сообщений: 2,635
Поблагодарил: 323 раз(а)
Поблагодарили 584 раз(а)
Фотоальбомы: 1 фото
Я могу ошибаться, но насколько я знаю, первоначально эта система разрабатывалась для БАМа. Потом проект был заморожен по причине необходимости обогрева оборудования. Расход электроэнергии на обогрев делал неэффективным содержание таких устройств СЦБ в зимних условиях.
__________________
ДАЙ ВАМ БОГ ТО - ЧЕГО ВЫ ЖЕЛАЕТЕ ДРУГИМ!

APCnik вне форума   Цитировать 0
Старый 11.05.2015, 16:32   #52 (ссылка)
V.I.P.
 
Аватар для Rafa

Регистрация: 24.10.2009
Адрес: МОЙДОДЫР
Сообщений: 5,650
Поблагодарил: 388 раз(а)
Поблагодарили 577 раз(а)
Фотоальбомы: не добавлял
Цитата:
Я могу ошибаться, но насколько я знаю, первоначально эта система разрабатывалась для БАМа. Потом проект был заморожен по причине необходимости обогрева оборудования. Расход электроэнергии на обогрев делал неэффективным содержание таких устройств СЦБ в зимних условиях.

я тоже могу быть не прав но вроде она разр.

для участков Москва-Питер

зачем на БАМе многозначная АЛС ?

Там-же одни кривые повороты.

Rafa добавил 11.05.2015 в 16:27
________________


тепеь мы знаем от куда всплыла система Днепро.

Rafa добавил 11.05.2015 в 16:27
ЦАБ ее родитель.

Rafa добавил 11.05.2015 в 16:32
аппаратура в точ точ такая же как в метро за искл. АЛСН


Последний раз редактировалось Rafa; 11.05.2015 в 16:32. Причина: Добавлено сообщение
Rafa вне форума   Цитировать 1
Старый 11.05.2015, 17:03   #53 (ссылка)
Super V.I.P.
 
Аватар для APCnik

Регистрация: 26.07.2009
Сообщений: 2,635
Поблагодарил: 323 раз(а)
Поблагодарили 584 раз(а)
Фотоальбомы: 1 фото
На структурной схеме отсутствуют блоки БЛПМ-41, БЛПМ-78, БИС-200А и БИС-200Б
__________________
ДАЙ ВАМ БОГ ТО - ЧЕГО ВЫ ЖЕЛАЕТЕ ДРУГИМ!

APCnik вне форума   Цитировать 0
Старый 11.05.2015, 17:18   #54 (ссылка)
V.I.P.
 
Аватар для Rafa

Регистрация: 24.10.2009
Адрес: МОЙДОДЫР
Сообщений: 5,650
Поблагодарил: 388 раз(а)
Поблагодарили 577 раз(а)
Фотоальбомы: не добавлял
Цитата:
На структурной схеме отсутствуют блоки БЛПМ-41, БЛПМ-78, БИС-200А и БИС-200Б

ну может забыли нарисовать.

это взято из казакова.

Rafa добавил 11.05.2015 в 17:04
Цитата:
БИС-200А и БИС-200Б
там есть БС-200

Rafa добавил 11.05.2015 в 17:05
ОНО РАБОТАЕТ по принципу АРС в метро.

все соответствует.

Rafa добавил 11.05.2015 в 17:07


Rafa добавил 11.05.2015 в 17:18
_____________________________





все же интересно

почему эта система не пошла на магистралке ?

Последний раз редактировалось Rafa; 11.05.2015 в 17:18. Причина: Добавлено сообщение
Rafa вне форума   Цитировать 1
Старый 11.05.2015, 17:21   #55 (ссылка)
Super V.I.P.
 
Аватар для APCnik

Регистрация: 26.07.2009
Сообщений: 2,635
Поблагодарил: 323 раз(а)
Поблагодарили 584 раз(а)
Фотоальбомы: 1 фото
Оно похоже на метро, но здесь на одном локомотиве две системы: числовая кодовая и частотная. Поезд ЭР-200 в этом отношении был универсальным и мог ездить на разных системах АЛСН.
Были разработки и для грузовых составов. Соответственно на них скорости были поменьше.
Я как инженер-технолог присутствовал на встрече с Дмитриевым и Куксовым, когда у нас в Киеве делались схемы поездных устройств для Днепра. Тогда мы предложили свой вариант схем переделки типовых блоков под Днепр. Они взяли их за основу и через некоторое время появились заводские блоки с большим количеством изменений. Теперь у меня как у старшего мастера головная боль с несколькими видами блоков с различными схемами. К этому всему нужно прибавить еще и блоки БАРС, которые мы эксплуатируем на трети парка поездов.
__________________
ДАЙ ВАМ БОГ ТО - ЧЕГО ВЫ ЖЕЛАЕТЕ ДРУГИМ!


Последний раз редактировалось APCnik; 11.05.2015 в 17:29.
APCnik вне форума   Цитировать 0
Старый 11.05.2015, 17:36   #56 (ссылка)
V.I.P.
 
Аватар для Rafa

Регистрация: 24.10.2009
Адрес: МОЙДОДЫР
Сообщений: 5,650
Поблагодарил: 388 раз(а)
Поблагодарили 577 раз(а)
Фотоальбомы: не добавлял
Цитата:
Оно похоже на метро, но здесь на одном локомотиве две системы: числовая кодовая и частотная. Поезд ЭР-200 в этом отношении был универсальным и мог ездить на разных системах АЛСН.
Были разработки и для грузовых составов. Соответственно на них скорости были поменьше.

согласно истории частотную многозначную АЛС

сменила АЛС-ЕН.

Даже не знаю была ли она где-то внедрена на магистралке

.

Мне это напоминает одну историю.

Трагедия русского чуда. Т-4 сотка.

https://www.youtube.com/watch?v=2NZklOcA4Zo



Rafa добавил 11.05.2015 в 17:35
АЛСН выступала в роли резервной системы.

основная была АЛСМ

Rafa добавил 11.05.2015 в 17:36
Цитата:
Они взяли их за основу и через некоторое время появились заводские блоки с большим количеством изменений. Теперь у меня как у старшего мастера головная боль с несколькими видами блоков с различными схемами. К этому всему нужно прибавить еще и блоки БАРС, которые мы эксплуатируем на трети парка поездов.

на магистралке не пошла - --- решили в метро внедрить.

Последний раз редактировалось Rafa; 11.05.2015 в 17:36. Причина: Добавлено сообщение
Rafa вне форума   Цитировать 1
Старый 11.05.2015, 17:38   #57 (ссылка)
Super V.I.P.
 
Аватар для APCnik

Регистрация: 26.07.2009
Сообщений: 2,635
Поблагодарил: 323 раз(а)
Поблагодарили 584 раз(а)
Фотоальбомы: 1 фото

По-моему никакой трагедии нет. Ту-144 ничего не напоминает?
__________________
ДАЙ ВАМ БОГ ТО - ЧЕГО ВЫ ЖЕЛАЕТЕ ДРУГИМ!

APCnik вне форума   Цитировать 0
Старый 11.05.2015, 18:07   #58 (ссылка)
Super V.I.P.
 
Аватар для beatl

Регистрация: 26.09.2010
Возраст: 46
Сообщений: 4,305
Поблагодарил: 200 раз(а)
Поблагодарили 681 раз(а)
Фотоальбомы: 13 фото
Репутация: 945
Цитата:
По-моему никакой трагедии нет. Ту-144 ничего не напоминает?
Он там же, где и предшественник. Не прошёл в девяностые.
beatl вне форума   Цитировать 0
Старый 12.05.2015, 12:58   #59 (ссылка)
V.I.P.
 
Аватар для Rafa

Регистрация: 24.10.2009
Адрес: МОЙДОДЫР
Сообщений: 5,650
Поблагодарил: 388 раз(а)
Поблагодарили 577 раз(а)
Фотоальбомы: не добавлял
Цитата:
Сообщение от APCnik Посмотреть сообщение
По-моему никакой трагедии нет. Ту-144 ничего не напоминает?
т-4 это бамбордировщик.

Ту-144 это уже история. проэкт закрыли давно уже.

Rafa добавил 12.05.2015 в 12:56
_______________________


конструктора у них разные но очень похожи.

надо проанализировать что пояаилось раньше

Rafa добавил 12.05.2015 в 12:58
ту 144 Первый полёт 31 декабря 1968 года

Rafa добавил 12.05.2015 в 12:58
т-4 Первый полёт 22 августа 1972 года

Последний раз редактировалось Rafa; 12.05.2015 в 12:58. Причина: Добавлено сообщение
Rafa вне форума   Цитировать 1
Старый 12.05.2015, 23:13   #60 (ссылка)
V.I.P.
 
Аватар для Bram

Регистрация: 27.09.2012
Адрес: Уфа, с. Нагаево
Возраст: 60
Сообщений: 441
Поблагодарил: 60 раз(а)
Поблагодарили 64 раз(а)
Фотоальбомы: не добавлял
Репутация: 114
Вы про самолёты уже?
А в предпоследней структурной схеме (пост54) шуточное соединение к ДК заметил я. :-)))

Комментарии к сообщению (репутация)
Adagumer, положительно:
Цитата:
шуточное соединение к ДК заметил я.
Bram вне форума   Цитировать 0
Похожие темы
Тема Автор Раздел Ответов Последнее сообщение
АЛСО itr Поиск документации 6 25.07.2024 12:13
ГСЧ У2 и ПГ-АЛСМ se0ga СЦБ в метрополитенах 40 19.06.2015 12:47
КЗ АЛСН Андрей13 Системы централизации и блокировки 5 22.11.2013 19:04
АЛСН и АЛС-ЕН Шаэнн Локомотивные устройства и АЛС 2 23.04.2012 16:04
УПН-АЛСН zhuravlev Общие вопросы эксплуатации устройств СЦБ 2 31.03.2011 20:24

Ответить в этой теме   Перейти в раздел этой темы   Translate to English

Возможно вас заинтересует информация по следующим меткам (темам):
, , , , , , , , , , , , , , , ,


Здесь присутствуют: 1 (пользователей: 0 , гостей: 1)
 

Ваши права в разделе
Вы не можете создавать новые темы
Вы не можете отвечать в темах
Вы не можете прикреплять вложения
Вы не можете редактировать свои сообщения

BB коды Вкл.
Смайлы Вкл.
[IMG] код Вкл.
HTML код Выкл.
Trackbacks are Вкл.
Pingbacks are Вкл.
Refbacks are Выкл.



Часовой пояс GMT +3, время: 15:39.

Яндекс.Метрика Справочник 
сцбист.ру сцбист.рф

СЦБИСТ (ранее назывался: Форум СЦБистов - Railway Automation Forum) - крупнейший сайт работников локомотивного хозяйства, движенцев, эсцебистов, путейцев, контактников, вагонников, связистов, проводников, работников ЦФТО, ИВЦ железных дорог, дистанций погрузочно-разгрузочных работ и других железнодорожников.
Связь с администрацией сайта: admin@scbist.com
1 2 3 4 5 6 7 8 9 10 11 12 13 14 15 16 17 18 19 20 21 22 23 24 25 26 27 28 29 30 31 32 33 34 
Powered by vBulletin® Version 3.8.1
Copyright ©2000 - 2026, Jelsoft Enterprises Ltd.
Powered by NuWiki v1.3 RC1 Copyright ©2006-2007, NuHit, LLC Перевод: zCarot