СЦБИСТ - железнодорожный форум, блоги, фотогалерея, социальная сеть
Ушел из жизни Крупицкий Адольф Зельманович
6 февраля 2026 года ушел из жизни Крупицкий Адольф Зельманович, более шести десятков лет проработавший в институте «Гипротранссигналсвязь». Всю свою трудовую деятельность А.З. Крупицкий посвятил проектному делу. После окончанию обучения в Ленинградском институте инженеров железнодорожного транспорта в 1959 году начал свою профессиональную деятельность в качестве старшего электромеханика дистанции сигнализации и связи на Казахской железной дороге. В 1960 году пришел на работу в институт на должность инженера, работал руководителем группы, главным инженером проектов.

Читать далее
Вернуться   СЦБИСТ - железнодорожный форум, блоги, фотогалерея, социальная сеть > Эксплуатация железных дорог, вагоны, контактная сеть, связь, коммерческая работа > Связь на железнодорожном транспорте
Связь на железнодорожном транспорте Подфорум связистов
Описание темы:техническая документация по р.с
Закладки ДневникиПоддержка Сообщество Комментарии к фото Сообщения за день
Ответить в этой теме   Перейти в раздел этой темы    
 
В мои закладки Подписка на тему по электронной почте Отправить другу по электронной почте Опции темы Поиск в этой теме
Старый 11.11.2017, 17:46   #181 (ссылка)
Кандидат в V.I.P.
 
Аватар для геракл

Регистрация: 06.11.2015
Сообщений: 115
Поблагодарил: 8 раз(а)
Поблагодарили 12 раз(а)
Фотоальбомы: не добавлял
Репутация: -12
https://04-lvl3-pdl.vimeocdn.com/01/...9693e06c8bc7e2
пошли слухи по деревне приехали торгаши и предлагают купить прибор - лечит всё....!
спецы, это чё за чудо такое...
Миниатюры
Радисты прошу помощи!-1.jpg  

Последний раз редактировалось геракл; 11.11.2017 в 21:54.
геракл вне форума   Цитировать 0
Старый 11.11.2017, 21:28   #182 (ссылка)
Super V.I.P.
 
Аватар для Adagumer

Регистрация: 16.02.2012
Сообщений: 5,272
Поблагодарил: 6720 раз(а)
Поблагодарили 977 раз(а)
Фотоальбомы: не добавлял
Репутация: 1704
Цитата:
Сообщение от геракл
предлагают купить прибор - лечит всё
Эт херня, у меня знакомец торговал коробочками в коих даже батарейки небыло! По рассказам лечит всё даже последнюю стадию рака!
На вопрос "-чё там?-" объяснил что там закрученная особым способом спираль на которую нанесены наноспособом все элементы таблицы Менделеева! А работает так - больной орган излучает какие-то волны и вот эта спираль их принимает и в противофазе направляет обратно к больному месту, а как известно, тут знакомец многозначительно поднимал указательный палец в верх, противофазные сигналы взаимноуничтожаются и больной орган выздоравливает!
Энтот наноцелитель приторговывает вразнос по Московским рынкам!
Adagumer вне форума   Цитировать 0
Старый 11.11.2017, 22:23   #183 (ссылка)
Кандидат в V.I.P.
 
Аватар для геракл

Регистрация: 06.11.2015
Сообщений: 115
Поблагодарил: 8 раз(а)
Поблагодарили 12 раз(а)
Фотоальбомы: не добавлял
Репутация: -12
Скиталец , Adagumer - спасибо .
http://newmedicina.ru/%d0%ba%d0%b0%d...8%d0%bd%d0%b0/

проинформирую соседей и надо брать.

это всё пипец , Маришку уволят с нашего медпункта.
геракл вне форума   Цитировать 0
Старый 12.11.2017, 08:10   #184 (ссылка)
Super V.I.P.
 
Аватар для Скиталец

Регистрация: 27.09.2011
Адрес: Самара
Возраст: 72
Сообщений: 3,678
Поблагодарил: 835 раз(а)
Поблагодарили 789 раз(а)
Фотоальбомы: не добавлял
Цитата:
проинформирую соседей и надо брать.
Результаты не забудь отписать. И еще на заметку.
АЛМАГ
Вот этот аппарат проверен. На себе и на родственниках и знакомых. Помогает реально. Не реклама.
Скиталец вне форума   Цитировать 0
Старый 12.11.2017, 12:44   #185 (ссылка)
V.I.P.
 
Аватар для navuhodon

Регистрация: 10.05.2010
Адрес: Rfpf[cnfy
Сообщений: 195
Поблагодарил: 89 раз(а)
Поблагодарили 6 раз(а)
Фотоальбомы: не добавлял
Записей в дневнике: 1
Репутация: -24
282

Последний раз редактировалось navuhodon; 11.08.2018 в 12:47.
navuhodon вне форума   Цитировать 1
Старый 12.11.2017, 13:08   #186 (ссылка)
Super V.I.P.
 
Аватар для Adagumer

Регистрация: 16.02.2012
Сообщений: 5,272
Поблагодарил: 6720 раз(а)
Поблагодарили 977 раз(а)
Фотоальбомы: не добавлял
Репутация: 1704
Цитата:
Сообщение от navuhodon
Особенно в климате Крымского полуострова
Тем кто без климата лучше не покупать, быть бы живу!
Adagumer вне форума   Цитировать 0
Старый 12.11.2017, 16:46   #187 (ссылка)
Кандидат в V.I.P.
 
Аватар для РЭА_жд

Регистрация: 07.12.2014
Адрес: Большой город но не Москва
Сообщений: 121
Поблагодарил: 6 раз(а)
Поблагодарили 41 раз(а)
Фотоальбомы: не добавлял
Репутация: 110
Я бы попробовал, но денег жалко...прибор Джуны...
Вообще говоря кто-нибудь исследовал что там больной орган излучает и излучает ли вообще что-то
У меня племянник запал на бестопливный генератор, Ну прямо энергия из ничего берется переворот в энергетике
вечный двигатель...
Да... как-то читал где-то признаки "великих открытий". Если автор говорит что его изобретение осуществляет "глобальный переворот" в технике или законах физики и общественного развития, то это, как правило, лажа.
__________________
Радисты, сохраним то, что имеем!

Последний раз редактировалось РЭА_жд; 12.11.2017 в 17:09.
РЭА_жд вне форума   Цитировать 0
Старый 13.11.2017, 10:27   #188 (ссылка)
Кандидат в V.I.P.
 
Аватар для геракл

Регистрация: 06.11.2015
Сообщений: 115
Поблагодарил: 8 раз(а)
Поблагодарили 12 раз(а)
Фотоальбомы: не добавлял
Репутация: -12
Цитата:
Сообщение от Скиталец Посмотреть сообщение
Результаты не забудь отписать.
Цитата:
Сообщение от РЭА_жд Посмотреть сообщение
Я бы попробовал, но денег жалко..
Да РЭА_жд, у тя хватка лихая в миг просёк ...спасибо табе .

Торкнуло нас от этого чуда за 6 тыщь когда его нам казали, соседа спросил - ты чёньть чуял когда они энтот прибор в розетку тыкали ,- молвит в башке был туман ...стояли от него в двух шагах .
Бегом с ним в мою в избу и ссылку читать http://newmedicina.ru/%d0%ba%d0%b0%d...8%d0%bd%d0%b0/

читаем - опасность составляет 10%. Лучше соблюдать технику безопасности, если в одном помещении с вами находится на лечении посторонний человек. Чем более развито сознание человека, тем больше его биополе и тем больше радиус воздействия.Образ тора можно усилить воображением, от этого волны становятся мощнее и болезнь будет легче поддаваться действию тора.
Поэтому зона воздействия будет у всех разной, но в среднем 2-3 метра.Следует находиться на расстоянии 2-3 метров от человека, проходящего лечение.воздействие происходит не только на того человека, на котором лежит катушка, но и на тех, которые находятся в радиусе 3 и даже 7 метров!!! Поэтому, если вы кого-то лечите, чтобы не получить передозировку, нужно удаляться от пациента на это расстояние.— Аура становится больше и целостнее. Она раздражается мощным действием волн, открытые участки затягиваются, убираются мосты с низшими мирами, через которые утекала энергия.

Сосед - вовремя дёрнули с деньгой от ихова чуда , а то чую сознание ,силы покидают и тянет к земле...убираются мосты с этим миром.

Последний раз редактировалось геракл; 13.11.2017 в 10:48.
геракл вне форума   Цитировать 0
Старый 13.11.2017, 12:40   #189 (ссылка)
V.I.P.
 
Аватар для Bram

Регистрация: 27.09.2012
Адрес: Уфа, с. Нагаево
Возраст: 60
Сообщений: 441
Поблагодарил: 60 раз(а)
Поблагодарили 64 раз(а)
Фотоальбомы: не добавлял
Репутация: 114
Bram вне форума   Цитировать 0
Старый 13.11.2017, 13:36   #190 (ссылка)
V.I.P.
 
Аватар для Медет

Регистрация: 28.12.2009
Адрес: Алматы
Возраст: 50
Сообщений: 468
Поблагодарил: 51 раз(а)
Поблагодарили 42 раз(а)
Фотоальбомы: 3 фото
Репутация: 12
Цитата:
Сообщение от геракл Посмотреть сообщение
проект, фото -как выглядит по разному ..... в студию!



Медет добавил 13.11.2017 в 14:36
Почему то я не вижу файлов которые выкладываются тут в том числе и свои
__________________
Безвыходных ситуаций не бывает!

Последний раз редактировалось Медет; 13.11.2017 в 13:36. Причина: Добавлено сообщение
Медет вне форума   Цитировать 0
Старый 13.11.2017, 18:32   #191 (ссылка)
Кандидат в V.I.P.
 
Аватар для геракл

Регистрация: 06.11.2015
Сообщений: 115
Поблагодарил: 8 раз(а)
Поблагодарили 12 раз(а)
Фотоальбомы: не добавлял
Репутация: -12
Цитата:
Сообщение от Медет Посмотреть сообщение
Медет добавил 13.11.2017 в 14:36
Почему то я не вижу файлов которые выкладываются тут в том числе и свои
Цитата:
Сообщение от Медет Посмотреть сообщение
__________________
Безвыходных ситуаций не бывает!
геракл вне форума   Цитировать 0
Старый 13.11.2017, 22:11   #192 (ссылка)
Super V.I.P.
 
Аватар для Adagumer

Регистрация: 16.02.2012
Сообщений: 5,272
Поблагодарил: 6720 раз(а)
Поблагодарили 977 раз(а)
Фотоальбомы: не добавлял
Репутация: 1704
Цитата:
Сообщение от Медет
Почему то я не вижу файлов которые выкладываются тут в том числе и свои
Заливай файлы сюда:
https://passport.yandex.ru/auth?from...disk.yandex.ru
а потом выкладывай на сайте ссылку!
Adagumer вне форума   Цитировать 0
Поблагодарили:
Данный пост получил благодарности от пользователей
Старый 14.11.2017, 11:01   #193 (ссылка)
V.I.P.
 
Аватар для Медет

Регистрация: 28.12.2009
Адрес: Алматы
Возраст: 50
Сообщений: 468
Поблагодарил: 51 раз(а)
Поблагодарили 42 раз(а)
Фотоальбомы: 3 фото
Репутация: 12
Цитата:
Сообщение от геракл Посмотреть сообщение
проект, фото -как выглядит по разному ..... в студию!
https://yadi.sk/i/ZuY9jHvx3PgDec
https://yadi.sk/i/DCtydhnh3PgEFe
__________________
Безвыходных ситуаций не бывает!
Медет вне форума   Цитировать 0
Старый 14.11.2017, 17:28   #194 (ссылка)
Super V.I.P.
 
Аватар для Adagumer

Регистрация: 16.02.2012
Сообщений: 5,272
Поблагодарил: 6720 раз(а)
Поблагодарили 977 раз(а)
Фотоальбомы: не добавлял
Репутация: 1704
Цитата:
Сообщение от Медет
https://yad
https://yadi.
Дык это ж обычные картинки, Вы их через "Загрузить картинку" пробовали выкладывать?
Adagumer вне форума   Цитировать 0
Старый 15.11.2017, 04:53   #195 (ссылка)
V.I.P.
 
Аватар для Медет

Регистрация: 28.12.2009
Адрес: Алматы
Возраст: 50
Сообщений: 468
Поблагодарил: 51 раз(а)
Поблагодарили 42 раз(а)
Фотоальбомы: 3 фото
Репутация: 12
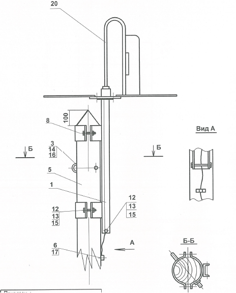
антенна выглядит так

та же антенна выглядит так

какая из этих антенн УКВ ШП-52-84-36-01?
__________________
Безвыходных ситуаций не бывает!
Медет вне форума   Цитировать 0
Поблагодарили:
Данный пост получил благодарности от пользователей
Похожие темы
Тема Автор Раздел Ответов Последнее сообщение
Прошу помощи NatashaE Курсовое и дипломное проектирование 4 30.01.2013 09:01
=Ищу= Прошу помощи) kukla2742 Курсовое и дипломное проектирование 0 04.06.2012 22:10
=Отчет по практике= Прошу помощи chuck45rus Курсовое и дипломное проектирование 1 27.04.2012 19:57
Прошу помощи Persona Движенцы 8 19.02.2012 18:47
прошу помощи людмила федотова Движенцы 7 12.02.2012 12:53

Ответить в этой теме   Перейти в раздел этой темы   Translate to English

Возможно вас заинтересует информация по следующим меткам (темам):
, , , , , , , , , , , , , , , , , , , , ,


Здесь присутствуют: 1 (пользователей: 0 , гостей: 1)
 

Ваши права в разделе
Вы не можете создавать новые темы
Вы не можете отвечать в темах
Вы не можете прикреплять вложения
Вы не можете редактировать свои сообщения

BB коды Вкл.
Смайлы Вкл.
[IMG] код Вкл.
HTML код Выкл.
Trackbacks are Вкл.
Pingbacks are Вкл.
Refbacks are Выкл.



Часовой пояс GMT +3, время: 20:24.

Яндекс.Метрика Справочник 
сцбист.ру сцбист.рф

СЦБИСТ (ранее назывался: Форум СЦБистов - Railway Automation Forum) - крупнейший сайт работников локомотивного хозяйства, движенцев, эсцебистов, путейцев, контактников, вагонников, связистов, проводников, работников ЦФТО, ИВЦ железных дорог, дистанций погрузочно-разгрузочных работ и других железнодорожников.
Связь с администрацией сайта: admin@scbist.com
1 2 3 4 5 6 7 8 9 10 11 12 13 14 15 16 17 18 19 20 21 22 23 24 25 26 27 28 29 30 31 32 33 34 
Powered by vBulletin® Version 3.8.1
Copyright ©2000 - 2026, Jelsoft Enterprises Ltd.
Powered by NuWiki v1.3 RC1 Copyright ©2006-2007, NuHit, LLC Перевод: zCarot