СЦБИСТ - железнодорожный форум, блоги, фотогалерея, социальная сеть
Вернуться   СЦБИСТ - железнодорожный форум, блоги, фотогалерея, социальная сеть > Помощь студентам, аспирантам, учащимся > Курсовое и дипломное проектирование
Курсовое и дипломное проектирование Помощь в написании дипломов и курсовых работ
Описание темы:Ищу готовую работу или материал
Закладки ДневникиПоддержка Сообщество Комментарии к фото Сообщения за день
Ответить в этой теме   Перейти в раздел этой темы    
 
В мои закладки Подписка на тему по электронной почте Отправить другу по электронной почте Опции темы Поиск в этой теме
Старый 24.04.2016, 19:49   #16 (ссылка)
ст. Баджал
 
Аватар для tiksi

Регистрация: 21.07.2009
Сообщений: 7,810
Поблагодарил: 790 раз(а)
Поблагодарили 994 раз(а)
Фотоальбомы: 47 фото
Прочитал. Драма однако, Шекспировские страсти.
Принцып понятен, в Ленметро аналогично. Метки на стене, считываем, высчитываем где мы и скока до остановки. Мой респект APCnik.
Про "как это было". Пасаны мы не молодые, видели всякое, эта история не нова. Увы. Фигня, скоро редисочка поспеет и жизнь наладится, на даче.
Где родился, там и сгодился.
tiksi вне форума   Цитировать 0
Поблагодарили:
Данный пост получил благодарности от пользователей
Старый 24.04.2016, 21:10   #17 (ссылка)
Новичок

Автор темы
 
Аватар для Ilya Shamov

Регистрация: 04.11.2012
Сообщений: 15
Поблагодарил: 2 раз(а)
Поблагодарили 0 раз(а)
Фотоальбомы: не добавлял
Репутация: 1
Цитата:
Спрашивающий, что именно Вас интересует?
Мне нужно написать бакалавриатскую выпускную работу по системам и методам прицельного торможения на жд транспорте. А именно необходимо сделать обзору существующих систем. Для этого мне необходима информация (РЭ, инструкции и т.д.) по таким системам, что бы прочитать, понять как работает и сделать обзор.
Ilya Shamov вне форума   Цитировать 0
Старый 24.04.2016, 21:33   #18 (ссылка)
Super V.I.P.
 
Аватар для APCnik

Регистрация: 26.07.2009
Сообщений: 2,635
Поблагодарил: 323 раз(а)
Поблагодарили 584 раз(а)
Фотоальбомы: 1 фото
Ilya Shamov, Систему прицельного торможения можно найти в книге Фонарева ГАЦ. Там описано заполнение подгорочного парка с регулированием скорости отцепов в зависимости от заполнения путей. Например, нужно чтобы все отцепы двигались по подгорочному парку со скоростью не более 20 км/ч чтобы не разбить автосцепки и вместе с тем чтобы докатиться до последнего вагона.

Вот еще пример.

Система автоматического управления тормозами (САУТ)

Принцип действия САУТ

На сегодняшний день система АЛСН является наиболее распространенным средством, которое обеспечивает условия безопасности движения поездов. Хотя аппаратура АЛСН исключают проезд сигнала с запрещающим показанием, но экстренное торможение поезда при АЛСН происходит только после проезда этого светофора (запрещающего). Да и само по себе применение экстренного торможения влечет за собой значительные негативные последствия:

значительные нагрузки на ПС, вследствие ударных механических воздействий;
возможность травмирования пассажиров и т.д.
Еще один значительный "минус" АЛСН – это невозможность контролировать снижение скорости поезда в местах, где действуют ограничения. И поэтому выбор скоростного режима в таких условиях возлагается на машиниста. Но не зависимо оттого, что машинист имеет определённые знания и большой опыт работы, не исключены ошибки, которые он может допустить при управлении поездом. При возникновении таких ошибок условия безопасности движения поездов выполняться не будут, так как аппаратура АЛСН не может предотвратить последствий ошибок машиниста, которые связаны с потерей бдительности, поздним включением тормозов, не точным определением расстояния до впереди стоящего светофора или по причине неправильного прогнозирования траектории движения поезда.

Все это говорит о необходимости применения систем автоматического управления движением поездов и в первую очередь – системы автоматического управления тормозами (САУТ). При этом необходимо исключить проезд сигналов с запрещающим показанием путём прицельного торможения с плавным регулированием скорости движения поезда во всем диапазоне – от максимальной до нулевой.

На рисунке 1 изображена траектория движения поезда при прицельном торможении перед закрытым сигналом.



Траектория движения поезда при прицельном торможении перед закрытым сигналом

На основании информации о профиле пути, длине блок-участка Lбу и тормозных характеристик поезда система САУТ определяет max-но допустимую программную скорость движения поезда Vпр.

Во время следования поезда САУТ производит измерение фактической скорости Vф, сравнивает ее с программной скоростью и в случае необходимости воздействует на тормозные и тяговые средства поезда.

Для наглядности изложения, рассмотрим в упрощенном виде процессы воздействия элементов САУТ на тормозные и тяговые средства поезда в движении.

На рис. 1 изображены траектории, показывающие движение поезда по блок-участку. Программная траектория движения показана пунктирной линией, а фактическая траектория – сплошной линией.

Из графика видно, что если фактическая скорость на блок-участке меньше программной (Vф < Vпр), то система САУТ никак не воздействует на процесс ведения поезда. Допустим, из-за сложившейся поездной ситуации машинист начинает увеличивать скорость Vф и её величина станет приближаться к значению программной скорости Vпр. Когда Vф достигнет значения (Vпр-2) км/ч, на графика это точка "А" (рис. 1), исполнительными элементами САУТ отключится тяга локомотива. Если же, например, на спуске, скорость поезда будет продолжать увеличиваться и начнет превышать программную, то при значении Vф = (Vпр+2) км/ч, на графике это тока "В", исполнительными элементами САУТ включит служебное торможение. Но могут быть случаи, когда и после включения служебного торможения Vф поезда не приводится к Vпр. В таком случае при достижении Vф = (Vпр+6) км/ч включится экстренное торможение.

В соответствии с программной траекторией движения, поезд должен остановиться в точке прицельного торможения Sпт. Любое управляюще-измерительное устройство, в том числе и аппаратура САУТ, имеет определенные погрешности соответствующих исполнительных воздействий и вычислений. Поэтому абсолютно точно в заранее заданной точке перед закрытым светофором произвести остановку поезда невозможно. Диапазон расстояний DS (на рис. 1) определяет погрешность системы или область допустимого изменения положения точки прицельной остановки поезда S. Для недопущения проезда сигнала с запрещающим показанием правая граница области S не должна пересекать ординату изолирующих стыков светофора "Ч1".

Из всего этого следует, что основное функциональное назначение аппаратуры САУТ заключается в отслеживании фактической скорости поезда, формировании программной траектории движения и осуществлении воздействий на тормозные и тяговые средства поезда, если Vф > Vпр. В случаях, когда Vф < Vпр, элементы устройства САУТ не оказывают влияния на процесс ведения поезда. И еще один значительный "плюс" системы САУТ заключается в том, что если произошла остановка поезда или снижение скорости по заданному ограничению автоматически – аппаратурой САУТ (не машинистом), то этот момент не фиксируется ни какими регистрирующими приборами. Тем самым исключается негативное психологическое влияние работы САУТ на машиниста.

Существует три модификации приборов САУТ:

САУТ-У
САУТ-Ц
САУТ-ЦМ/486
На сегодняшний день проектируются и производятся только модификации САУТ-ЦМ.

САУТ-У

В сравнении с аналогичными приборами безопасности САУТ-У имеет значительные преимущества. Аппаратура САУТ-У предупреждает проезд сигнала с запрещающим показанием светофора, позволяет повысить (более чем на 10 %) пропускную способность участков, может применяться для организации обслуживания локомотива машинистом в одно лицо, упрощает машинисту сделать выбор наиболее рационального режима ведения поезда. В отличие от подобных систем (за исключением ИБМ) САУТ-У отменяет периодические проверки бдительности машиниста и контроль скорости, предусмотренные типовой схемой АЛСН. Устройство САУТ-У используется на участках железнодорожных линий, оборудованных АБ и АЛСН, на всех видах локомотивов и моторвагонного ПС.

В состав САУТ-У входят путевые и локомотивные устройства.

Путевые устройства располагаются в релейных шкафах АБ или путевых коробках на границах блок-участков. Посредством путевых устройств на локомотив осуществляется передача информации о длине лежащих впереди двух блок-участков, приведенном уклоне на следующем блок-участке или пути станции, а также допустимой скорости движения по путям станции. Вся информация передается на локомотив с пути, но только после проследования им проходного светофора. В состав путевого устройства входят два путевых генератора, которые подключены к рельсам и выполняют роль антенны.

В состав локомотивных устройства САУТ-У входят:

блоки защиты и электроники;
блок индикации (пульт машиниста);
два датчика скорости и пути;
антенна приемная;
два датчика давления;
пульт управления;
два датчика давления;
коммутационный переключатель, используемый для отключения и включения локомотивных устройств САУТ-У.
Система также может быть дополненная блоком отключения тяги, блоком управления электродинамическим тормозом.

Блок электроники производит обработку информации, поступающей от путевых устройств и датчиков, а также вырабатывает команды на управление торможением и тягой. Датчики скорости и пути располагаются на различных колесных парах (на буксах). Приемная антенна крепится на арматуре правых приемных катушек АЛСН и используется для приема информации от путевых устройств САУТ-У.

На пульте машиниста показывается информация о расстоянии до конца блок-участка и резерве скорости по условиям безопасности, а также информация об эффективности тормозов в поезде (на грузовых локомотивах). На пульте управления находятся кнопки "К-20", "Отправление", "Подтягивание", а также пульт управления применяется для ввода дополнительных данных в САУТ-У. Приставки к крану машиниста служат для управления пневматическими тормозами поезда через электрические сигналы. Датчики давления размещаются недалеко от тормозных приборов и используются для выработки электрических сигналов, пропорциональных давлению воздуха в тормозной магистрали.



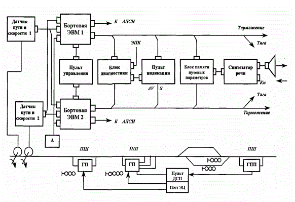
Структурная схема САУТ-Ц

Структурная схема САУТ-Ц

ГП - путевой генератор;
ПШ - путевой шлейф;
ДПС - датчик пути и скорости;
А - антенна (получает информацию от путевых генераторов и пересылает ее на 2-е бортовые ЭВМ, помимо этого на эти ЭВМ передаются данные от двух датчиков скорости и пути, сигналы АЛСН и информация от пульта управления);
блок диагностики контролирует работу 2-х бортовых ЭВМ, если информация, полученная от них, не совпадает, то он выдает сигнал ЭПК и производит экстренное торможение;
блок памяти путевых параметров используется для записи путевых параметров;
пульт индикации используется для информирования машиниста о расстоянии до конца блок-участка, о допустимой скорости движения и др.
бортовые ЭВМ выдают сигналы отключения или включения служебного торможения или тяги;
синтезатор речи выдает машинисту речевые сообщения о показаниях светофоров или препятствиях.
У входа на станцию размещается путевой генератор, он подключается к путевому шлейфу. Длина шлейфа может изменяться и зависит от длины приемоотправочных путей.

На выходе станции размещается программируемый путевой генератор ГПП.

Структурная схема САУТ-ЦМ

САУТ-ЦМ состоит из локомотивных и путевых устройств, элементы аппаратуры САУТ-ЦМ изображены на рис. 3.



Структурная схема САУТ-ЦМ

Локомотивные устройства:

БЭ – блок электроники;
БК – блок коммутации;
БППП – блок памяти путевых параметров;
СР – синтезатор речи;
ПУ – пульт управления;
ПМ – пульт машиниста;
ЛК – локомотивные катушки;
ДПС – датчики пути и скорости.
Напольные элементы включают в себя путевые шлейфы (ПШ) и путевые генераторы, с их помощью осуществляется передача информации на локомотив.

При перемещении ЛК над ПШ у входного светофора за счет индуктивной связи передается информация о путевых параметрах маршрута приема (профиль участка, длина маршрута и ограничение скорости при приеме поезда на боковой путь). В соответствии с этими параметрами и показателями АЛСН блок электроники строит кривую скорости. При следовании локомотива по маршруту приема блок электроники измеряет пройденный путь на основании данных, поступающих на него от ДСП. Одновременно с этим для каждой точки определяется фактическая скорость локомотива (Vф) и осуществляется непрерывное сравнение фактической скорости и программной (Vпр). Если Vф > Vпр, то блок электроники через блок коммутации дает команду на отключение тяги и осуществляет торможение до того момента, когда Vф сравняется или станет меньше Vпр. На выходе со станции и проследовании ЛК над ПШ от путевого генератора на локомотив передается № данного перегона. Эти данные дешифрируются блоком электроники и им же происходит извлечение из БППП данных о путевых параметрах 1-го блок-участка, строится кривая скорости на основе показателей АЛСН и осуществляется движение по блок-участку согласно этой кривой.

Система автоматического управления тормозами (САУТ-ЦМ) позволяет реализовать следующие функции:

Плавное, многоступенчатое снижение скорости движения поезда до значений, контролируемых самой системой.
Остановка поезда перед закрытым светофором на расстоянии 50 метров с точностью ±20 метров.
Плавный контроль допустимых скоростей движения поезда по боковым путям станции.
Плавное уменьшение скорости движения при ее превышении допустимых границ.
Все действия машиниста регистрируются в черном ящике.


Более подробно http://www.ttgdt.edu.ru/students/met_work/m-126.pdf
__________________
ДАЙ ВАМ БОГ ТО - ЧЕГО ВЫ ЖЕЛАЕТЕ ДРУГИМ!


Последний раз редактировалось APCnik; 24.04.2016 в 22:03.
APCnik вне форума   Цитировать 0
Поблагодарили:
Данный пост получил благодарности от пользователей
Старый 24.04.2016, 23:02   #19 (ссылка)
Banned
 
Аватар для Анонимный

Регистрация: 07.05.2009
Сообщений: 6,493
Поблагодарил: 0 раз(а)
Поблагодарили 261 раз(а)
Фотоальбомы: не добавлял
Репутация: -28
Цитата:
Сообщение от APCnik Посмотреть сообщение
Ilya Shamov, Систему прицельного торможения можно найти в книге Фонарева ГАЦ.
а выложить книгу слабО?
Анонимный вне форума   Цитировать 0
Старый 25.04.2016, 09:35   #20 (ссылка)
Super V.I.P.
 
Аватар для APCnik

Регистрация: 26.07.2009
Сообщений: 2,635
Поблагодарил: 323 раз(а)
Поблагодарили 584 раз(а)
Фотоальбомы: 1 фото
А сходить в библиотеку? Или еще и на блюдечке принести?
__________________
ДАЙ ВАМ БОГ ТО - ЧЕГО ВЫ ЖЕЛАЕТЕ ДРУГИМ!

APCnik вне форума   Цитировать 0
Старый 25.04.2016, 10:34   #21 (ссылка)
Новичок

Автор темы
 
Аватар для Ilya Shamov

Регистрация: 04.11.2012
Сообщений: 15
Поблагодарил: 2 раз(а)
Поблагодарили 0 раз(а)
Фотоальбомы: не добавлял
Репутация: 1
Цитата:
Систему прицельного торможения можно найти в книге Фонарева ГАЦ. Там описано заполнение подгорочного парка с регулированием скорости отцепов в зависимости от заполнения путей. Например, нужно чтобы все отцепы двигались по подгорочному парку со скоростью не более 20 км/ч чтобы не разбить автосцепки и вместе с тем чтобы докатиться до последнего вагона.
Спасибо за наводку буду искать эту книгу. Про САУТ у меня куча инфы есть в том числе и та которую Вы привели, но все равно спасибо!
Ilya Shamov вне форума   Цитировать 0
Старый 25.04.2016, 17:04   #22 (ссылка)
Banned
 
Аватар для Анонимный

Регистрация: 07.05.2009
Сообщений: 6,493
Поблагодарил: 0 раз(а)
Поблагодарили 261 раз(а)
Фотоальбомы: не добавлял
Репутация: -28
Цитата:
Сообщение от APCnik Посмотреть сообщение
А сходить в библиотеку? Или еще и на блюдечке принести?
у меня нет библиотек, а в тех что есть таких книг днем с огнем не сыскать. если бы было - не просил бы. а блюдечко теще подаришь на красную горку.
Анонимный вне форума   Цитировать 0
Старый 25.04.2016, 19:08   #23 (ссылка)
Новичок

Автор темы
 
Аватар для Ilya Shamov

Регистрация: 04.11.2012
Сообщений: 15
Поблагодарил: 2 раз(а)
Поблагодарили 0 раз(а)
Фотоальбомы: не добавлял
Репутация: 1
Цитата:
Цитата:
Сообщение от APCnik
А сходить в библиотеку? Или еще и на блюдечке принести?
у меня нет библиотек, а в тех что есть таких книг днем с огнем не сыскать. если бы было - не просил бы. а блюдечко теще подаришь на красную горку.
Был сегодня в своей библиотеке на работе, нет там такой книжки((( Там в основном про электровозы все книги, по СЦБ 5 книг и те чушь какая то типа сборник электромеханика(((
Ilya Shamov вне форума   Цитировать 0
Старый 25.04.2016, 20:35   #24 (ссылка)
Super V.I.P.
 
Аватар для APCnik

Регистрация: 26.07.2009
Сообщений: 2,635
Поблагодарил: 323 раз(а)
Поблагодарили 584 раз(а)
Фотоальбомы: 1 фото
Цитата:
Сообщение от Анонимный Посмотреть сообщение
у меня нет библиотек, а в тех что есть таких книг днем с огнем не сыскать. если бы было - не просил бы. а блюдечко теще подаришь на красную горку.
Насчет тещи поаккуратнее, молодой еще! А книги такой и у меня нет - выложил бы, если бы была под рукой.

http://biblioserver.usurt.ru/cgi-bin...арев,%20Н.%20М. На этом сайте точно есть.
__________________
ДАЙ ВАМ БОГ ТО - ЧЕГО ВЫ ЖЕЛАЕТЕ ДРУГИМ!


Последний раз редактировалось APCnik; 25.04.2016 в 22:50.
APCnik вне форума   Цитировать 0
Старый 25.04.2016, 21:27   #25 (ссылка)
Banned
 
Аватар для Анонимный

Регистрация: 07.05.2009
Сообщений: 6,493
Поблагодарил: 0 раз(а)
Поблагодарили 261 раз(а)
Фотоальбомы: не добавлял
Репутация: -28
Цитата:
Сообщение от APCnik Посмотреть сообщение
....На этом сайте точно есть.
Анонимный вне форума   Цитировать 0
Старый 25.04.2016, 22:45   #26 (ссылка)
Super V.I.P.
 
Аватар для APCnik

Регистрация: 26.07.2009
Сообщений: 2,635
Поблагодарил: 323 раз(а)
Поблагодарили 584 раз(а)
Фотоальбомы: 1 фото
Анонимный, теперь проси чтобы кто-нибудь из УРГУПСа закачал книгу на сайт.
__________________
ДАЙ ВАМ БОГ ТО - ЧЕГО ВЫ ЖЕЛАЕТЕ ДРУГИМ!

APCnik вне форума   Цитировать 0
Старый 25.04.2016, 22:47   #27 (ссылка)
Banned
 
Аватар для Анонимный

Регистрация: 07.05.2009
Сообщений: 6,493
Поблагодарил: 0 раз(а)
Поблагодарили 261 раз(а)
Фотоальбомы: не добавлял
Репутация: -28
Самого Генку Анонимным назвал? Он чего тебе плохого сделал?
Анонимный вне форума   Цитировать 0
Старый 25.04.2016, 23:02   #28 (ссылка)
Super V.I.P.
 
Аватар для APCnik

Регистрация: 26.07.2009
Сообщений: 2,635
Поблагодарил: 323 раз(а)
Поблагодарили 584 раз(а)
Фотоальбомы: 1 фото
Хорошего я тоже мало видел!
__________________
ДАЙ ВАМ БОГ ТО - ЧЕГО ВЫ ЖЕЛАЕТЕ ДРУГИМ!

APCnik вне форума   Цитировать 0
Похожие темы
Тема Автор Раздел Ответов Последнее сообщение
=Распоряжение= № 1247р от 22 июня 2012 г. - О порядке установки и применения постоянных сигнальных знаков "Начало торможения" и "Конец торможения" Admin 2012 год 0 17.07.2012 13:08
=Курсовая работа= Расчет устойчивости и качества регулирования системы электрического рекуперативного торможения Admin Студенту-локомотивщику 0 04.07.2012 12:02
=Курсовая работа= Расчет устойчивости и качества регулирования системы электрического рекуперативного торможения Admin Студенту-локомотивщику 0 29.02.2012 23:37
[Гудок] [27 декабря 2011] Эффект торможения Admin Газета "Гудок" 0 22.02.2012 15:04
Точка прицельного торможения САУТ Igorun Разговоры обо всем 0 29.04.2010 15:30

Ответить в этой теме   Перейти в раздел этой темы   Translate to English

Возможно вас заинтересует информация по следующим меткам (темам):
, , , , ,


Здесь присутствуют: 1 (пользователей: 0 , гостей: 1)
 

Ваши права в разделе
Вы не можете создавать новые темы
Вы не можете отвечать в темах
Вы не можете прикреплять вложения
Вы не можете редактировать свои сообщения

BB коды Вкл.
Смайлы Вкл.
[IMG] код Вкл.
HTML код Выкл.
Trackbacks are Вкл.
Pingbacks are Вкл.
Refbacks are Выкл.



Часовой пояс GMT +3, время: 15:11.

Яндекс.Метрика Справочник 
сцбист.ру сцбист.рф

СЦБИСТ (ранее назывался: Форум СЦБистов - Railway Automation Forum) - крупнейший сайт работников локомотивного хозяйства, движенцев, эсцебистов, путейцев, контактников, вагонников, связистов, проводников, работников ЦФТО, ИВЦ железных дорог, дистанций погрузочно-разгрузочных работ и других железнодорожников.
Связь с администрацией сайта: admin@scbist.com
1 2 3 4 5 6 7 8 9 10 11 12 13 14 15 16 17 18 19 20 21 22 23 24 25 26 27 28 29 30 31 32 33 34 
Powered by vBulletin® Version 3.8.1
Copyright ©2000 - 2026, Jelsoft Enterprises Ltd.
Powered by NuWiki v1.3 RC1 Copyright ©2006-2007, NuHit, LLC Перевод: zCarot