СЦБИСТ - железнодорожный форум, блоги, фотогалерея, социальная сеть
Ушел из жизни Крупицкий Адольф Зельманович
6 февраля 2026 года ушел из жизни Крупицкий Адольф Зельманович, более шести десятков лет проработавший в институте «Гипротранссигналсвязь». Всю свою трудовую деятельность А.З. Крупицкий посвятил проектному делу. После окончанию обучения в Ленинградском институте инженеров железнодорожного транспорта в 1959 году начал свою профессиональную деятельность в качестве старшего электромеханика дистанции сигнализации и связи на Казахской железной дороге. В 1960 году пришел на работу в институт на должность инженера, работал руководителем группы, главным инженером проектов.

Читать далее
Вернуться   СЦБИСТ - железнодорожный форум, блоги, фотогалерея, социальная сеть > Уголок СЦБИСТа > Книги и журналы > xx3
Закладки ДневникиПоддержка Сообщество Комментарии к фото Сообщения за день
Ответить в этой теме   Перейти в раздел этой темы    
 
В мои закладки Подписка на тему по электронной почте Отправить другу по электронной почте Опции темы Поиск в этой теме
Старый 17.08.2013, 14:08   #1 (ссылка)
Crow indian
 
Аватар для Admin

Регистрация: 21.02.2009
Возраст: 40
Сообщений: 30,140
Поблагодарил: 398 раз(а)
Поблагодарили 6000 раз(а)
Фотоальбомы: 2607 фото
Записей в дневнике: 703
Репутация: 126089

Тема: [04-2013] Простота, надежность, безопасность


Простота, надежность, безопасность


В.С. АРКАТОВ, научный руководитель ООО «СтройЖелДор-Проект-СЦБ», канд. техн. наук

Вниманию читателей предлагается описание релейной системы многофункциональной автоблокировки с централизованным размещением аппаратуры (АБЦМ) с фазочувствительными и тональными рельсовыми цепями. В ней автоматически выявляются имевшие место случаи неисправностей в автоблокировках технического и технологического характера, способные привести к опасным отказам устройств. До их устранения гарантированно исключается появление разрешающего показания на светофоре, ограждающем блок-участок. Разработано два альбома технических решений - с проходными светофорами и без них (AЛCO).

Такими устройствами оборудовано 266 км на Московской, Северной и других дорогах. Четырехлетний опыт эксплуатации показал высокую степень надежности - за все это время не было допущено ни одного сбоя в алгоритме их функционирования. В качестве основной элементной базы в системе применяются малогабаритные реле первого класса надежности, выпускаемые заводами ОАО «ЭЛТЕЗА». Эта автоблокировка увязывается со всеми существующими системами электрической и диспетчерской централизаций, диспетчерского контроля, переездной сигнализации, КТСМ, САУТ и др.

Впервые в практике построения аналогичных систем она дополнена функцией автоматического самоконтроля правильности работы приборов, отвечающих за безопасность, что позволяет оперативно предотвращать аварийные ситуации путем включения запрещающего показания на проходных светофорах. Таким образом, в АБЦМ нашли практическое применение принципы автоматического исключения накопления опасных отказов.

Автоблокировка имеет два режима работы - поездной и свободный.


В поездном режиме проверяется последовательность занятия и освобождения блок-участков с момента проследования поездом выходного светофора станции отправления до прибытия на станцию приема и освобождения перегона. Изменение запрещающего сигнала на разрешающее происходит с многоуровневым контролем дополнительных зависимостей, который начинается с проверки нормальной работы рельсовых цепей в шунтовом режиме. Следует обратить внимание, что в системе АБЦМ при любых перемещениях подвижной единицы в пределах занятого блок-участка работа автоблокировки не нарушается.

Работа рельсовых цепей в контрольном режиме проверяется дважды. В первый раз - при их освобождении поездной единицей, когда путевые реле, притянув первый раз свои якоря, не включают разрешающие огни на светофоре, а автоматически запускают дополнительную тестовую проверку, призванную подтвердить отсутствие искусственной подпитки путевых реле и правильность работы приборов безопасности.

После обесточивания во время тестовой проверки путевые реле, притянув во второй раз свои якоря, включают свободный режим работы автоблокировки.

Техническая реализация работы АБЦМ при свободном и поездном режимах обеспечивает высокую степень живучести системы. После временного сбоя в работе устройств (отключения питания, появления ложной занятости блок-участка или др.), вызвавшего перекрытие светофора, автоматически включается режим тестовой проверки. Если во время него не выявляется опасных отказов, то разрешающее показание на светофоре восстанавливается.

Важной особенностью алгоритма системы АБЦМ с тональными рельсовыми цепями является наличие автоматической проверки правильности работы всех узлов системы при движении подвижной единицы по блок-участку и последующем его освобождении.

Многофункциональная автоблокировка не требует обязательного резервирования от источника питания постоянного тока. Его отсутствие полностью компенсируется быстрой, без какого либо вмешательства со стороны оперативного и обслуживающего персонала, нормализацией работы сигнальной точки после восстановления питания и успешной автоматической тестовой проверки устройств.

Для наглядного восприятия работы АБЦМ с тональными рельсовыми цепями представлен упрощенный вариант схем тестовой проверки работы путевых реле и соблюдения последовательности срабатывания других приборов, отвечающих за безопасность движения поездов.

На пока еще свободном блок-участке № 3, однониточный план которого показан на рис. 1, общий повторитель путевых реле ЗПР, контрольное реле ЗК, замыкающее реле ЗзП и сигнальное реле ЗЖ находятся под током.

В случае проследования поездом светофора No 3 обесточиваются реле ЗПР, ЗК, ЗзП и ЗЖ. При дальнейшем движении по блок-участку и защитному участку проверяется нормальная работа рельсовых цепей в шунтовом режиме с помощью реле счетчиков.


По освобождении блок-участка общий повторитель путевых реле, в первый раз притянув свой якорь, запускает тестовую проверку правильности работы системы. Через его фронтовой контакт 11-12 становится под ток тестовое реле ЗТП (рис. 2), которое отключает на путевых генераторах подаваемое в рельсовые цепи блок-участка питание или модулирующую частоту с сохранением несущей.

Обесточивание всех путевых реле блок-участка контролируется замыканием их тыловых контактов. При соблюдении этого условия становится под ток, а затем на самоблокировку реле КЗ (рис. 3), подтверждающее отсутствие искусственной подпитки путевых реле. При этом его контактом 11-13 отключается цепь питания ЗТП.

Отпустив свой якорь, тестовое реле восстанавливает подачу питания в рельсовые цепи блок-участка. Путевые реле, притянув во второй раз свои якоря, включают реле ЗПР, которые своим контактом 51-52 подготавливает цепь питания контрольного реле ЗК (рис. 4). Оно встанет под ток после того, как притянет свой якорь замыкающее реле ЗзП.

Замыкающее реле ЗзП суммирует информацию о выполнении алгоритма функционирования всех приборов сигнальной точки при следовании подвижной единицы по репьсовым цепям, ограждаемым светофором № 3.

Последний счетчик 3-5СЧ третьего блок-участка, встав под ток, информирует о нормальной работе в шунтовом режиме четырех рельсовых цепей в границах блок-участка и защитного участка 1зУ.

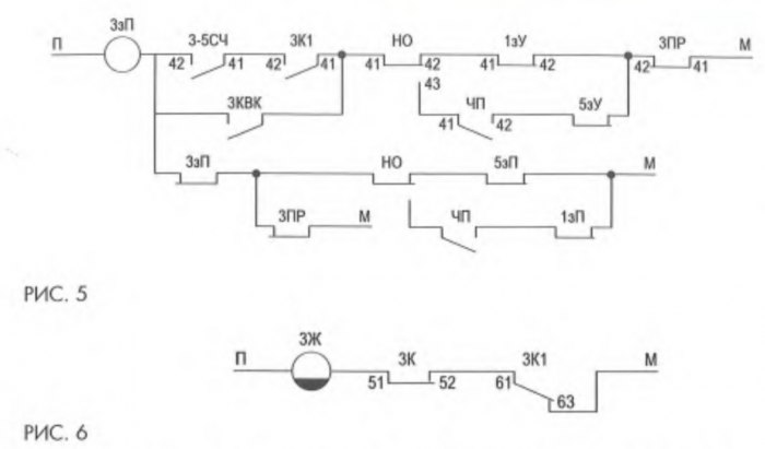
После освобождения поездом защитного участка создается цепь питания замыкающему реле ЗзП (рис. 5) фронтовыми контактами общего повторителя путевых реле третьего блок-участка ЗПР, путевых реле защитного участка 1зУ, реле нечетного направления движения поездов НО, а также реле ЗК1 и 3-5СЧ.


Замыкающее реле, получив достоверную информацию о свободности рельсовых цепей, ограждаемых светофором, и исправной работе основных приборов сигнальной точки, притягивает свой якорь и встает на самоблокировку по двум цепям (см. рис. 5). Это необходимо для того, чтобы оно обесточивалось только в поездном режиме, что контролируется последовательным занятием сначала рельсовых цепей предыдущего блок-участка, при котором обесточивалось замыкающее реле 5зП, а затем своего блок-участка. В свободном режиме при ложной занятости путевого реле блок-участка No 3 замыкающее реле останется под током.

При движении в противоположном направлении вторая цепочка самоблокировки организуется через тыловой контакт реле НО и фронтовые ЧП (реле направления) и 1зП.

Притянув свой якорь, замыкающее реле своим фронтовым контактом включает цепь питания контрольного реле ЗК через фронтовые контакты реле ЗПР и ЗК1, тыловые контакты сигнального (ЗЖ) и тестового (ЗТП) реле.

Встав под ток, реле ЗК отключает питание реле ЗК1, что свидетельствует об успешном завершении проверки правильности работы системы АБЦМ, и становится на самоблокировку через его тыловой контакт. Другим своим фронтовым контактом через тыловой контакт реле ЗК1 оно включает цепь питания сигнального реле ЗЖ (рис. 6), которое, притянув свой якорь, включает разрешающее показание светофора.

Невыполнение любого из контролируемых условий в поездном режиме не позволит замыкающему реле встать под ток и разблокировать блок-участок.

Подводя итог, следует отметить важную особенность алгоритма работы системы АБЦМ с тональными рельсовыми цепями - наличие автоматической проверки правильности работы основных ее узлов после освобождения подвижной единицей блок-участка, а также после временного сбоя в работе устройств в свободном режиме.


Тестовая проверка оказывается незаменимой в случае, когда после прохода подвижной единицы блок-участок, показывающий свободность, остается заблокированным. Поскольку на перегоне, оборудованном системой АБЦМ, фактическая свободность блок-участка автоматически проверяется каждый раз, когда путевые реле притягивают свой якорь, дежурный по станции, нажав соответствующую кнопку, имеет полное право разблокировать блок-участок без дополнительных проверок. Это существенно оптимизирует организацию движения поездов в такой ситуации.

Благодаря новым техническим решениям минимизируются задержки поездов из-за временных сбоев в работе устройств, не связанных с опасными отказами - работа системы восстанавливается автоматически. К тому же в подобных случаях исключаются необходимость снижения скорости следования по перегону с заблокированным блок-участком и минимизируется влияние человеческого фактора при организации движения.

На основе уже апробированного алгоритма работы релейной системы заканчивается разработка микропроцессорного варианта АБЦМ, который планируется включить в опытную эксплуатацию в следующем году.


Релейная система многофункциональной автоблокировки с централизованным размещением аппаратуры (АБЦМ) и тональными рельсовыми цепями уже более четырех лет успешно работает на участке Вязьма - Вязьма-Брянская Московской дороги. Теперь с полной уверенностью можно констатировать, что это надежная система, обеспечивающая высокую степень безопасности движения поездов.

Специалисты фирмы-разработчика принимали активное участие в пусконаладочных работах, на месте помогая решать возникающие проблемы, что обеспечило кратчайшие сроки и беспроблемный ввод в эксплуатацию устройств АБЦМ.

Ими также была проведена большая работа в плане организации технической учебы обслуживающего персонала дистанции с подробным разъяснением основных принципов работы устройств. Во время опытной эксплуатации автоблокировки разработчики давали консультации по схемным решениям, при необходимости выезжали на место, чтобы оказать помощь в решении вопросов обслуживания системы. Следует сказать, что техническая поддержка продолжает оказываться и в настоящее время.

Особо хотелось бы отметить высокое качество проектно-технической документации, предоставленной дистанции в полном объеме как в бумажном виде, так и на электронных носителях. Такой ответственный подход к этому вопросу встречается не так часто.

Кроме того, централизованное расположение аппаратуры и уменьшение ее количества позволило существенно сократить трудозатраты эксплуатационного штата на обслуживание устройств автоблокировки.

В.П. АФОНАСОВ, начальник Вяземской дистанции Московской дирекции инфраструктуры
Admin вне форума   Цитировать 14
Старый 09.09.2015, 08:14   #2 (ссылка)
Робот
 
Аватар для СЦБот

Регистрация: 05.05.2009
Сообщений: 2,483
Поблагодарил: 0 раз(а)
Поблагодарили 82 раз(а)
Фотоальбомы: не добавлял
Репутация: 0

Тема: Тема перенесена


Эта тема была перенесена из раздела Журнал "Автоматика, связь, информатика".

Перенес: Admin
СЦБот вне форума   Цитировать 0
Похожие темы
Тема Автор Раздел Ответов Последнее сообщение
[05-2013] «Автоматический метрополитен»: безопасность и перспективная модель функционирования линии Admin xx3 4 30.11.2013 23:03
[02-2013] Повысили безопасность работ Admin xx2 0 12.05.2013 07:26
Надежность ghoust Курсовое и дипломное проектирование 6 10.09.2012 10:39
Про надежность ыфмфпу Ищу/Предлагаю 30 11.06.2012 10:09
ОСТ 32.78-97 Безопасность железнодорожной автоматики и телемеханики. Безопасность программного обеспечения Admin ОСТы 0 03.05.2011 17:51

Ответить в этой теме   Перейти в раздел этой темы   Translate to English

Возможно вас заинтересует информация по следующим меткам (темам):
, , , , ,


Здесь присутствуют: 1 (пользователей: 0 , гостей: 1)
 

Ваши права в разделе
Вы не можете создавать новые темы
Вы не можете отвечать в темах
Вы не можете прикреплять вложения
Вы можете редактировать свои сообщения

BB коды Вкл.
Смайлы Вкл.
[IMG] код Вкл.
HTML код Выкл.
Trackbacks are Вкл.
Pingbacks are Вкл.
Refbacks are Выкл.



Часовой пояс GMT +3, время: 01:12.

Яндекс.Метрика Справочник 
сцбист.ру сцбист.рф

СЦБИСТ (ранее назывался: Форум СЦБистов - Railway Automation Forum) - крупнейший сайт работников локомотивного хозяйства, движенцев, эсцебистов, путейцев, контактников, вагонников, связистов, проводников, работников ЦФТО, ИВЦ железных дорог, дистанций погрузочно-разгрузочных работ и других железнодорожников.
Связь с администрацией сайта: admin@scbist.com
1 2 3 4 5 6 7 8 9 10 11 12 13 14 15 16 17 18 19 20 21 22 23 24 25 26 27 28 29 30 31 32 33 34 
Powered by vBulletin® Version 3.8.1
Copyright ©2000 - 2026, Jelsoft Enterprises Ltd.
Powered by NuWiki v1.3 RC1 Copyright ©2006-2007, NuHit, LLC Перевод: zCarot