|
|
|
|||||||
| Последние сообщения на форуме |
| Последние комментарии к фото |
| Новые записи в дневниках |
| Новые комментарии в дневниках |
| Новое в группах |
| Ссылки сообщества |
| Социальные группы |
| Поиск по форуму |
| Поиск по метке |
| Расширенный поиск |
| Найти все посты, за которые поблагодарили |
| К странице... |
![]() |
![]() |
|
|
|
|
|
Инструменты Статьи | Поиск в этой Статье |
|
#1
|
|
Метрополитен
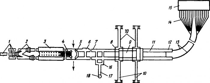
Общие сведения. Метрополитен — это городская внеуличная железная дорога, предназначенная для массовых пассажирских перевозок. Линии метрополитенов могут быть подземными (расположены в тоннелях), наземными или надземными (на эстакадах). Подземные линии метрополитена получили наибольшее распространение, так как они не нарушают исторически сложившейся планировки города, не стесняют движения городского наземного транспорта и пешеходов, способствуют уменьшению шума и вибрации в зданиях от движения электропоездов. Основным видом подземного городского транспорта является метрополитен - скоростная городская внеуличная железная дорога с курсирующими на ней маршрутными поездами для перевозки пассажиров. От других видов городского пассажирского транспорта метрополитен отличается высокой скоростью и регулярностью движения маршрутных поездов, а также большой провозной способностью - до 50-60 тыс. чел./ч в одном направлении. Линии метрополитена разделены на блок-участки и оборудованы системами автоблокировки и автоматического регулирования скоростей. Это обеспечивает безопасность следования нескольких поездов по одному межстанционному перегону с высокими скоростями (на отдельных участках - до 100 км/ч) при коротких интервалах движения (до 1,5-2 мин). На 1 января 1998 г. в 80 городах мира более чем в 30 странах эксплуатируются метрополитены с общей протяженностью линий 4,7 тыс. км и 4,3 тыс. станциями. В метрополитене 1 км линий принято считать в двухпутном исчислении, т. е. в обоих направлениях движения; таким образом фактическая длина тоннелей вдвое больше и составляет 9,4 тыс. км. Ежегодно в мире завершается строительством порядка 160 км линий метрополитена с 175 станциями, а сумма среднегодовых расходов на сооружение и обустройство метрополитенов составляет около 17 млрд долл. США. Наиболее крупные метрополитены построены в Лондоне и Нью-Йорке (по 400 км), Париже (300 км), Москве (264 км). На территории бывш. СССР эксплуатируется 15 метрополитенов, из них: в России - 6, Украине - 3, Белоруссии, Грузии, Армении, Азербайджане и Узбекистане - по 1. Ведутся проектные работы и начато строительство метрополитенов еще в пяти городах России. Краткие сведения о действующих метрополитенах России приведены в табл. 6.1. ![]() Города, в которых эксплуатируются и строятся метрополитены, являются крупнейшими столичными, промышленными и культурными центрами России, численность населения которых составляет от 1,5 до 9,0 млн чел., или около 16 % всего населения России. За один год шестью действующими метрополитенами России перевозятся около 4,2 млрд пассажиров, или 11,5 млн пассажиров в сутки. Вместе с тем Россия серьезно отстала от развитых стран мира в области строительства метрополитенов; например, длина линий метрополитена в РФ в 3 раза меньше, чем в США. Плотность сети метрополитена в Москве составляет 0,26 км на 1 км2 площади города, в то время как в Нью-Йорке этот показатель равен 0,5, в Лондоне -1,2, в Париже - 2,8 [45]. Московский метрополитен эксплуатируется 70 лет и перевозит ежедневно около 9 млн, а ежегодно - 2,7 млрд пассажиров (около 60 % пассажиров, перевозимых всеми видами городского транспорта). Он представляет собой сложнейшее инженерно-техническое сооружение, в состав которого входят разнообразные технические системы - подвижной состав, путь, эскалаторы, СЦБ и связь, электромеханические устройства, система энергоснабжения, тоннельные сооружения и другие системы. Согласно утвержденной правительством Москвы «Схеме развития Московского метрополитена» до 2010 года предстоит соорудить 175 км новых линий. Это отражает огромную роль метрополитенов в городском транспорте. Следует, однако, обратить внимание на имеющийся в настоящее время существенный недостаток финансирования строительства метрополитенов в Москве и других городах России, что весьма негативно сказывается на их развитии. Линии метрополитенов подразделяются на надземные, наземные и подземные. Надземные линии располагаются на эстакадах на высоте, определяемой габаритами наземного транспорта, рельефом местности и условиями городской застройки. Длительное время эти линии проектировались и строились в местах, связанных с рельефом местности: пересечением рек, автомобильных и железных дорог. Однако в последнее время с целью удешевления строительства появились проекты создания так называемого «легкого метрополитена». Метрогипротранс разработал проект такого метрополитена, обеспечивающего подвоз населения из отдаленных районов Москвы к конечным станциям действующей сети метрополитена. Он рассчитан на меньшую провозную способность и меньшие скорости сообщения по сравнению с обычным метрополитеном. Легкий метрополитен имеет в основном наземное или эстакадное проложение вдоль городских улиц или застроенных территорий, параметры его трассы облегчены для возможности вписывания в городскую среду. В настоящее время завершено строительство легкого метрополитена длиной 5,4 км в район Бутово, Москва. Наземные линии метрополитена, т. е. расположенные на поверхности земли, чаще всего проектируют для концевых участков отдельных линий метрополитена. Наземные линии обычно располагают в малонаселенных районах города и на его окраинах. Эти линии размещают в выемках, чтобы в будущем их можно было превратить в подземные. Далее рассматриваются вопросы, относящиеся к подземным линиям метрополитенов, которые содержат основные типы сооружений метрополитена. В комплекс такой линии входят следующие сооружения и устройства (рис. 6.1): станции, тоннели между станциями (перегонные тоннели), камеры съездов, тупики, оборотные устройства, соединительные служебные тоннели (вентиляционные, коммуникационные, сантехнические и др.), инженерный корпус и депо для ремонта и отстоя поездов. Эти сооружения, кроме депо и инженерного корпуса, располагают на глубине от 5-8 до 60 м и более от поверхности земли. Прокладка тоннелей между станциями (перегонных тоннелей) намечается по кратчайшему расстоянию с применением наибольших радиусов кривых в плане. Мелкое заложение тоннелей метрополитена, обеспечивающее максимальные удобства пассажирам и имеющее по сравнению с глубоким заложением лучшие эксплуатационные и экономические показатели, получило особое развитие. На каждой линии метрополитена устраивают съезды для оборота поездов. Пропускную способность линии метрополитена на перспективу принимают равной 40 пар поездов в час, а при обосновании допускается увеличивать ее до 48 пар. Осуществляемое в настоящее время комплексное использование подземного пространства при строительстве метрополитена позволяет значительно повысить его социально-функциональные качества и расширить сферы услуг, предоставляемых пассажирам и всему городскому населению в отношении организации наиболее удобного попутного обслуживания услугами торговли, общественного питания, информации, в устройстве подземных автостоянок и др. В этой связи представляет интерес ряд новых линий метрополитенов в отдельных городах. Эти линии характеризуются совершенными системами безопасности и эвакуации людей при пожарах в подземных сооружениях, новыми системами посадки-высадки людей и управления движением поездов, системами телевизионного контроля движения поездов и потоков пассажиров на станциях, переходах, в кассовых залах. Юбилейную линию Лондонского метрополитена длиной 12,4 км можно отнести к новому поколению метрополитенов. Объемно-планировочные решения приняты с учетом нужд населения и совместимости с местными условиями. Диаметр перегонных тоннелей в свету увеличен на 0,5 м, изменен облик метропо-ездов, введено принципиально новое обустройство систем информирования пассажиров. Применены специальные технические решения, обеспечившие подавление шума и вибрации при движении поездов. Платформы подземных станций имеют прозрачные ограждения из прочного стекла с автоматическими раздвижными дверями, что позволяет значительно улучшить вентиляцию станций, ослабить сквозняки на платформах, создаваемые поршневым эффектом от движущихся поездов, поднять уровень безопасности пассажиров, а также ликвидировать проблему неза-крывающихся дверей переполненных вагонов. На каждой платформе предусмотрено не менее трех эскалаторов, а также по два эвакуационных вертикальных шахтных ствола. На всех платформах метрополитена запроектированы лифты для обслуживания инвалидов и пассажиров с тяжелой ручной кладью или грузовыми тележками. Уровень платформ совпадает с уровнем пола вагонов, все платформы приспособлены к приему 7-вагонных поездов. Во всех перегонных тоннелях предусмотрены боковые пешеходные дорожки для аварийной эвакуации пассажиров; для этой же цели через определенные расстояния имеются шахтные стволы. Проектная долговечность сооружений составит не менее 120 лет. На этой линии станция «Лондон Бридж» образует единый пешеходный узел с железнодорожным вокзалом Северной линии метрополитена, для чего разработана сложная система переходов с 19 эскалаторами и двумя новыми кассовыми вестибюлями. Для существующей станции метрополитена предусмотрен новый платформенный тоннель, а старый преобразуют под распределительный пешеходный тоннель. В Париже на новых линиях метрополитена («Метеор» и др.) введена система управления поездами без машиниста, а вагоны движутся на подрезиненных колесах. На продолжении линии «А» метрополитена в Риме тоннель пройден способом «стена в грунте» с расположением путей один над другим из-за очень стесненных условий строительства. Этим обусловлено и двухъярусное расположение посадочных платформ. В последнее время появилась тенденция создания новых подземных транспортных линий, обеспечивающих связь между собой деловых, культурно-исторических и торговых центров с целью разгрузки центральных территорий города от перенасыщенных людских и автомобильных потоков. Это так называемые линии «мини-метро», имеющие меньшие строительные габариты тоннелей и станций, более короткие расстояния между станциями (до 500-600 м) и автоматизированное управление движением поездов. Преимущества «мини-метро» перед традиционными метрополитенами заключаются в меньшей стоимости его строительства и эксплуатации, сокращении сроков и стоимости строительства. Как дополнение к действующей сети метрополитена, «мини-метро» позволяет создать более удобные связи для перевозок внутри центральной части города. Такие системы существуют во многих крупных городах мира. Разработан проект и ведется строительство «мини-метро» для связи Международного делового центра «Москва-СИТИ» с центром города (Киевский вокзал). В перспективе предполагается построить «мини-метро» в Москве по Бульварному кольцу. Имеются также предложения о создании «метро-трама», соединяющего в себе преимущества, которыми по отдельности обладают метро и трамвай. Посадка пассажиров и их высадка производится как в трамвае - на поверхности земли, а между остановками состав движется по тоннелю [66]. По мнению авторов, «метро-трам» способен повысить скорость, комфортабельность и безопасность поездки по городу. Следует отметить, что транспортные сооружения такого типа - «скоростной трамвай» построены в г. Волгограде (Россия), г. Кривом Роге (Украина) и г. Измире (Турция). ![]() Схема расположения сооружений на участке линии метрополитена: 1 - тупик; 2 - камеры съезда на глубоком заложении; 3 - станция метрополитена глубокого заложения; 4 - наклонный эскалаторный тоннель; 5 - наземный вестибюль станции; 6 - санузел с дренажной перекачкой; 7- перегонные тоннели; 8 - подземный вестибюль станции мелкого заложения; 9 - станция мелкого заложения; 10 - подуличные переходы с лестничными сходами и входами в вестибюль; 11 - камера съезда за станцией на мелком заложении; 12 - участки перехода перегонных тоннелей от мелкого заложения к выходу на поверхность; 13 - выходные пути из тоннелей; 14 - деповские пути на поверхности; 15 - депо метрополитена; 16 - вентиляционные сбойки; 17 - вентиляционный (подходной) тоннель; 18 - вентиляционный (рабочий) ствол Наземные линии метрополитенов, как правило, сооружают в районах города с относительно невысокой плотностью застройки, а также в местах примыкания линий к депо и иногда на крупных пересадочных узлах с другими видами пассажирского транспорта. Надземные линии на эстакадах сооружают на отдельных участках с учетом рельефа местности, главным образом, при пересечении автомобильных и железных дорог, водных и других преград. Строительство метрополитена целесообразно в городах с численностью населения свыше 1 млн. человек. Подъем пассажиров на поверхность земли с платформ станций метрополитена при глубине их заложения, превышающей 5—7 м, осуществляют эскалаторы, т. е. подъемные механизмы непрерывного действия. Подачу, а также вытяжку воздуха в подземных сооружениях метрополитена производят с помощью мощных вентиляционных установок через шахты или эскалаторные тоннели. Для водоотлива метрополитен оснащен мощными насосными и санитарно-техническими установками. Первая внеуличная железная дорога длиной 3,6 км для поездов с паровой тягой была построена в Лондоне в тоннелях мелкого заложения в 1860—1863 гг., а с 1890 г. там же началось строительство тоннелей глубокого заложения. Использование электрической тяги освободило тоннели от дыма и копоти. В 1868 г. в Нью-Йорке была открыта надземная городская железнодорожная линия с канатной тягой, замененной' в 1871 г. на паровую, а в 1890 г.— на электрическую. Старейшими на Европейском континенте являются метрополитен Будапешта, построенный в 1894 г., Вены (1898 г.), а также метрополитен Парижа, пуск первой очереди которого приурочили к открытию Всемирной промышленной выставки в 1900 г. Впоследствии метрополитены были построены в Мадриде, Барселоне, Афинах, Токио, Осло, Стокгольме и других городах. В крупнейших городах различных стран мира развитие и реконструкция существующих, а также строительство новых линий метрополитена осуществлялись, в основном, только после второй мировой войны. Метрополитены функционируют почти в ста городах мира. Начало развитию метростроения в СССР было положено решением Пленума ЦК ВКП (б) от 15 июня 1931 г. «О строительстве Московского метрополитена». Строительство было начато в 1932 г., первая очередь общей протяженностью 11,6 км с 13 станциями была сдана в эксплуатацию 15 мая 1935 г. В нашей стране метрополитены функционируют в Москве, Ленинграде, Киеве, Тбилиси, Баку, Харькове, Ташкенте, Ереване, Минске, Горьком, Новосибирске, Куйбышеве, Свердловске. Развернуты работы по постройке подземных магистралей или ведется подготовка к строительству в Алма-Ате, Днепропетровске, Риге, Уфе, Ростове-на-Дону, Омске и других городах. ![]() Устройства электроснабжения. Снабжение электроэнергией отечественных метрополитенов (рис. 1) осуществляется от энергетических систем города (Мосэнерго, Ленэнерго и т. д.) переменным током напряжением 6 или 10 кВ. Электроэнергия от питающих центров (ПЦ-1, ПЦ-2) городских электрических се- тей, как правило, поступает по двум кабельным линиям на подстанции метрополитена: тяговые, понизительные и совмещенные. На метрополитенах страны (кроме первых четырех линий Московского метрополитена) применяют только совмещенные тягово-понизительные подстанции (СТП-1, СТП-2), которые расположены в пассажирских помещениях станций. Каждая такая подстанция имеет две секции шин высокого напряжения. Первые секции СТП получают питание непосредственно от питающих центров (ПЦ-1, ПЦ-2), а вторые—через шины первых секций смежных подстанций. Основу оборудования тяговой части СТП составляет силовой преобразовательный агрегат, получающий питание от шины первой секции и преобразующий переменный ток напряжением 10 кВ в постоянный напряжением 825 В. Агрегат состоит из трансформаторов ТТр и выпрямительных установок ВУ с кремниевыми вентилями, которые преобразуют переменный ток в постоянный, пропуская его только в одном направлении. Высоковольтные выключатели В служат для подключения агрегата к шинам 10 кВ, а быстродействующие выключатели БДВ — к шинам 825 В; они также обеспечивают защиту соответствующих электрических цепей от токов короткого замыкания (к. з.). От преобразовательных агрегатов ток поступает на шину напряжением 825 В, от нее через быстродействующие выключатели БДВ тяговой сети и питающие линии — фидеры (ПФ) подается на контактный рельс. Последний разделен на изолированные участки, т. е. секционирован. Каждая секция контактного рельса получает питание по двум фидерам от смежных подстанций. Между секциями контактный рельс имеет разрыв — токораздел. Со стороны контактного рельса в каждый фидер вмонтированы продольные разъединители P1, Р2, РЗ, Р4. Между каждой парой фидеров, питающих разные участки одного пути, устанавливают поперечные разъединители Р1-3, Р2-4. Продольные и поперечные разъединители размещают в тоннеле в непосредственной близости от контактного рельса и в совокупности называют постами переключения. Тяговый ток с контактного рельса через токоприемник вагона поступает на его тяговые электродвигатели и аппаратуру вспомогательных цепей, после этого через колесные пары — в ходовые рельсы и по обратному (отсасывающему) кабелю возвращается на тяговую подстанцию. Ходовые рельсы для работы устройств автоблокировки разделяют на отдельные, изолированные один от другого участка (путевые секции). Остальные потребители электроэнергии метрополитенов, такие, как эскалаторы, устройства освещения, сигнализации,централизации, блокировки (СЦБ), связи и другие, 10 получают питание от шин как первой, так и второй секций высокого напряжения СТП через понизительную ее часть с помощью расположенных в ней трансформаторов, понижающих напряжение с 10 кВ до 320 (220) и 127 В. В устройствах электроснабжения широко применяют различные системы автоматики и телемеханики. Низковольтные цепи управления подстанций питают от аккумуляторных батарей. Развитие отечественного метровагоностроения. Одновременно со строительством первой очереди Московского метрополитена Центральное вагоноконструкторское бюро Всесоюзного объединения вагоностроительных заводов под руководством инженера П. П. Травина приступило к проектированию первых вагонов метрополитена, дальнейшую разработку которых проводил Мытищинский вагоностроительный завод. Во второй половине 1934 г. этим заводом была выпущена первая двухвагонная секция электрического подвижного состава для отечественного метрополитена. Она состояла из моторного и прицепного пассажирских вагонов с кабинами управления. Первые вагоны метрополитена, получившие обозначение А, строились для первой очереди Московского метрополитена в 1935—1937 гг. Электрооборудование для вагонов метрополитена изготовлял завод «Дннамо» имени С. М. Кирова, а пневматическое оборудование — Московский тормозной завод. Первоначально поезда метрополитена состояли из двух секций, а начиная с 1937 г. стали формироваться из трех секций, т. е. из шести вагонов. Еще во время серийного выпуска вагонов типа А Мытищинский вагоностроительный завод приступил к созданию для второй очереди Московского метрополитена вагонов типа Г, получивших свое наименование от первой буквы названия линии, на которой им предстояло работать — Горьковской. В отличие от вагонов типа А все вагоны типа Г были моторными; каждый из них имел одну кабину машиниста и мог передвигаться самостоятельно. Это позволяло формировать составы из любого количества вагонов. Коренным образом изменилось и электрооборудование вагонов, которое было дополнено реостатным электрическим тормозом. В дальнейшем принцип построения электрических схем вагонов Г и формирования их в составы был использован для вагонов типа Д, Е и их модификаций. В связи с тем, что изготовление новых вагонов к моменту пуска второй очереди Московского метрополитена в 1938 г. Мытищинским вагоностроительным заводом не было освоено, в период 1937—1939 гг. он выпускал вагоны типа Б, принципиально не отличавшиеся по конструкции от вагонов типа А. Опытные вагоны типа Г были изготовлены только в 1940 г., а серийный их выпуск был организован на Мытищинском заводе (получившем уже в ту пору название машиностроительный — ММЗ) в 1947—1955 гг. Дальнейшее развитие отечественного метровагоностроения шло по пути совершенствования и облегчения механического оборудования электроподвижного состава. В частности, на опытных партиях вагонов типов В-4 и М-5 в 1949— 1950 гг. и УМ-5 в 1955 г. было использовано рамное подвешивание тягового электродвигателя на тележке с передачей вращающего момента на ось колесной пары с помощью карданной муфты вместо ранее применявшегося в вагонах типов А, Б, Г опорно-осевого подвешивания. Опытные вагоны М-5 и УМ-5 после частичной модернизации получили обозначение Д. Вагоны Д серийно изготавливались в период 1955— 1963 гг. и имели массу всего 36,2 т, тогда как у вагонов Г она была 43,7 т. На вагонах Д была установлена комбинированная автосцепка облегченного типа. Резкое увеличение пассажироперевозок, наметившееся в конце 50-х, начале 60-х годов на отечественных метрополитенах, потребовало создания вагонов с более высокими эксплуатационными характеристиками. В 1959—1960 гг. были выпущены опытные образцы вагонов Е, серийный выпуск которых осуществлялся в 1963 — 1969 гг. Максимальная скорость этих вагонов повысилась с 75 до 90 км/ч, а масса составила всего 32,2 т. Вагоны имели тяговые электродвигатели с высокими скоростными характеристиками, совершенное тормозное оборудование и упругие металлические поводки в связи между буксой колесной пары и рамой тележки вместо челюстей. В процессе серийного выпуска вагонов Е в их конструкцию вводились отдельные улучшения и изменения, в результате чего возникли некоторые разновидности вагонов этого типа, выпускавшихся в 1969 — 1980 гг.: Ема—головные, Емх — хвостовые и Ем — промежуточные. Кузов вагонов этих типов обеспечивал возможность их работы на линиях со станциями закрытого типа Ленинградского метрополитена, а электрическая схема позволяла устанавливать на них системы автоведения ПМ-САУП (программно-моделирующая система автоматического управления поездами) и КСАУП (комплексная система автоматического управления поездами), разработанные институтом Гипротранссигналсвязь. Головные вагоны Ема были оборудованы аппаратами автоведения и приемными устройствами сигналов от путевых датчиков, хвостовые вагоны Емх имели только устройства для включения и выключения аппаратов автоведения головных вагонов. В связи с выпуском более совершенной аппаратуры автоведения КСАУЛ вместо ПМ-САУП изготовление вагонов Емх было прекращено. При этом по обоим концам составов стали ставить только головные вагоны Ема. В последующем были выпущены вагоны: Еж — головные и Еж1 — промежуточные для СССР и Ев для Будапештского метрополитена с кузовом как у вагонов Ем, Ема и Емх и электрической схемой вагона Е, а также улучшенной отделкой пассажирского салона и кабины машиниста; ЕжЗ — головные для СССР и Ечс — для Пражского метрополитена с механическим оборудованием как у вагонов Еж, Еж1 и Ев и тиристорно-импульсным регулированием возбуждения тяговых двигателей в тормозном режиме, позволяющем оборудовать эти вагоны системой АРС (автоматическое регулирование скорости). Начиная с 1968 г. все разновидности вагонов Ем выпускал Ленинградский вагоностроительный завод имени И. Е. Егорова (ЛВЗ). Доработав чертежи вагонов ММЗ под технологию своего производства, ЛВЗ с 1959—1970 гг. изготавливал на базе вагонов Ем, Ема, Емх соответственно вагоны типа Ем-501, Ема-502, Емх-503, на базе вагонов Еж, Еж1 — Ем-509, Ем-508Т. С 1971 г. Ленинградский вагоностроительный завод выпускал все вагоны с улучшенной отделкой пассажирского салона и кабины машиниста. Тележки для вагонов Ем этого завода изготовлял Мытищинский машиностроительный завод. Малая мощность тяговых двигателей, особенно при электрическом торможении, недоиспользование объема кузова для размещения пассажиров в промежуточных вагонах из-за сохранения кабин машиниста, используемых только при расцепке состава и его маневровых передвижениях, несовершенство системы управления тяговыми двигателями поезда при переходе с ходового на тормозной режим во время срабатывания системы АРС, а также отсутствие необходимых электрических аппаратов и монтажа на большей части типов вагонов под установку системы автоведения КСАУП послужили причиной создания в 1976 г. на ММЗ опытных вагонов 81-717 — головных (рис. 2) и 81-714 — промежуточных без кабин машиниста со съемным пультом управления, необходимым для маневровых передвижений. ![]() На новых вагонах метрополитена установлены тяговые электродвигатели мощностью 110 кВт; применены лампы люминесцентного освещения пассажирского салона, получающие питание от статического электронного преобразователя мощностью 5 кВт. К серийному производству вагонов 81-717, 81-714 ММЗ приступил с 1979 г., а ЛВЗ —с 1980 г., причем с этого года часть тележек для вагонов Ленинградского завода изготавливал Калининский вагоностроительный завод. Для Пражского и Будапештского метрополитенов ММЗ с 1977 г. соответственно начал выпускать вагоны моделей 81-7171, 81-7141 и 81-712, 81-7142. С целью повышения пожарной безопасности серийно выпускаемых вагонов моделей 81-717, 81-714 в 1987 г. ММЗ изготовил опытный «эталонный» головной вагон модели 81-717, на котором максимально использованы трудносгораемые материалы: металлопласт для отделки потолка, специальная фанера для настила пола, ткань хлопчатобумажная с огнезащитной пропиткой, применяемая в сидениях, и комплект проводов, не распространяющих горение. На этом вагоне были применены также система пожарной сигнализации, предохранители с повышенной коммутационной способностью, усовершенствованная дифференциальная защита силовой электрической схемы; провода под кабиной машиниста были проложены не в кондуитах, а в специальных желобах. Постоянный рост пассажирских перевозок на метрополитенах нашей страны требует более скоростного, экономичного и вместительного подвижного состава. Разрабатывается принципиально новая конструкция подвижного состава для метрополитенов страны с конструкционной скоростью 100 км/ч, состоящего из головных моторных с кабиной машиниста вагонов 81-720 и промежуточных без кабины машиниста: моторных 81-721 и прицепных — 81-722. На этих вагонах намечено применение более экономичной бесконтактной тиристорно-импульсной системы регулирования частоты вращения тяговых двигателей, а также рекуперативного торможения. Дополнительно прорабатывается вопрос о применении на этих вагонах асинхронных тяговых электродвигателей, не требующих больших затрат на техническое обслуживание. Для управления электропоездом, состоящим из вагонов типов 81-720, 81-721, 81-722, предполагается внедрить автоматизированную систему с применением микропроцессоров и бесконтактного контроллера машиниста. Она должна хранить и отражать на дисплее в кабине машиниста информацию о работе всего оборудования. Кузов этих перспективных вагонов будет опираться на тележки через пневматические рессоры; на вагонах намечается блочное размещение пускорегулирующей аппаратуры, применение автоматического тормоза с фиксированным давлением воздуха в тормозной магистрали. Основные технические данные современных и перспективных вагонов: ![]() ![]() Подвижной состав зарубежных метрополитенов. В современных сериях вагонов метрополитенов находят широкое применение пневморессоры между кузовом и тележками, резинометаллические элементы ходовых частей, система тиристорноимпульсного регулирования частоты вращения тяговых двигателей, принудительная вентиляция и люминесцентное освещение пассажирских салонов. В последние годы на подвижном составе ряда стран (преимущественно Западной Европы) все большее распространение получают асинхронные тяговые двигатели с тиристорно-импульсной системой регулирования. Во Франции для Парижского метрополитена фирмой «Альстом — Атлантик» ведется производство вагонов МФ-77М, которые рассчитаны на конструкционную скорость 100 км/ч, с асинхронными тяговыми двигателями и подрезиненными колесными парами. На базе вагонов этого типа разрабатывают и испытывают подвижной состав, имеющий сочлененные между собой кузова на одноосных тележках с самоустанавливающимися колесными парами. На метрополитенах французских городов Лиона, Марселя и Лилля, а также на некоторых линиях Парижского метрополитена применяют вагоны, имеющие пневморезино-вые колеса. Аналогичные ходовые части используют на построенных по проектам и при участии французских фирм метрополитенах других городов мира: Монреаля (Канада), Мехико (Мексика), Сантьяго (Чили). Подвижной состав, предназначенный для французских метрополитенов, с начала 70-х годов выпускается полностью с кузовами, выполненными из алюминиевых сплавов. В ФРГ представляет интерес подвижной состав серии Б для метрополитенов Мюнхена и Нюрнберга, на котором применяется мономоторный привод: продольно расположенный на раме тележки тяговый двигатель через конический редуктор приводит во вращение оси обеих колесных пар тележки. Максимальная скорость вагонов с асинхронными тяговыми двигателями достигает 80 км/ч. В Великобритании ведутся испытания принципиально новых для этой страны трех различных опытных серий поездов для Лондонского метрополитена с тиристорно-импульсным регулированием тяговых двигателей постоянного тока, пневматическим центральным подвешиванием кузова и колесами подрезиненного типа. В Италии за период 1983— 1986 гг. фирмой «Бреда» было выпущено несколько серий вагонов для метрополитенов Рима, Милана (вторая линия) и Вашингтона с использованием тиристорно-импульсного регулирования тяговых электродвигателей постоянного тока, причем для Италии этот электро-подвижной состав производился с мономоторным тяговым приводом. Несмотря на широкое применение алюминиевых сплавов в метровагоностроении, в ФРГ фирмой «Линке — Гофман — Буш» намечено организовать изготовление для метрополитена Гамбурга сочлененных поездов с асинхронными тяговыми двигателями и кузовами из нержавеющей стали. Нержавеющую сталь в конструкциях кузова применяют также на вагонах Лиссабонского метрополитена, изготовленных португальской фирмой «Сорефаме». Колеса подрезиненного типа, изготовленные шведской фирмой «САБ», широко применяются на подвижном составе метрополитенов Стокгольма (Швеция) и Осло (Норвегия). В Японии производством вагонов метрополитена заняты преимущественно две фирмы: «Кавасаки» и «Ниппон Шарио». Первая из них в основном специализируется на изготовлении вагонов с кузовами из алюминиевых сплавов, в частности, серий 8000 и 01 для линий метрополитена Управления Токийским транспортом, 20 — г. Осаки и 6000 — г. Саппоро (с пневморезиновыми колесами); вторая — на изготовлении вагонов из нержавеющей стали, в частности, серий 10 000 и 12 000 линий метрополитена, которые обслуживает транспортное бюро Токийского метрополитена. На вагонах японских метрополитенов передача вращающего момента к колесным парам осуществляется по той же схеме, что и на вагонах СССР; через муфту при рамной подвеске тяговых электродвигателей и опорно-осевой подвеске редуктора. Применяют, как правило, тяговые электродвигатели постоянного тока с тиристорно-импульсным регулированием. Электрооборудование для японских метрополитенов выпускает, в основном, фирма «Мицубиси», в меньшем объеме — фирма «Хитачи». Японское электрооборудование поставляется также на экспорт для подвижного состава метрополитенов Гонконга, Мехико, Барселоны. Особый интерес представляет японское диагностическое оборудование, созданное в связи с началом эксплуатации вагонов мет- рополитена с тиристорно-импульсными регуляторами и поездной автоматикой. Оно состоит из передвижных устройств по проверке тиристорных регуляторов, контактных схем, систем пневматического оборудования и автоматики. Составной частью этих устройств является печатающее устройство и микропроцессор. В депо и на ремонтных заводах имеются специальные диагностические стойла, оборудованные ЭВМ, пультом управления с дисплеем, блоком памяти и печатающим устройством. Ведущие фирмы Японии продолжают научные исследования, направленные на более широкое внедрение асинхронных тяговых двигателей, повышение скоростей движения и улучшение предельных очертаний подвижного состава (габарита) . Для метрополитенов США в последние годы вагоны поставляют в основном иностранные фирмы: Сан-Франциско и Нью-Йорку — французские; Чикаго — португальские; Вашингтону — итальянские. Однако начиная с 1983 года поставку унифицированных между собой серий подвижного состава метрополитенов Майами и Балтимора начала осуществлять Северо-Американская фирма «Бадд», которая в основном специализируется на изготовлении кузовов вагонов из нержавеющей стали. Под эти вагоны подкатывают тележки типа «Пионер-3» с самоустанавливающимися колесными парами. Частота вращения тяговых двигателей постоянного тока изменяется с помощью тиристорно-импульсной системы регулирования. Краткая техническая характеристика вагонов метрополитенов некоторых стран приведена в табл. 1. ![]() Следует отметить, что вагоны зарубежных метрополитенов, как правило, имеют принудительную вентиляцию. Кузова сооружаются из сверхпрочной коррозионностойкой стали или алюминиевых сплавов. Главная задача, которая решается при конструировании вагонов, это снижение расходов электроэнергии и повышение комфортабельности. Повышение пожаробезопасности осуществляется по двум направлениям: во-первых, за счет расширения применения несгораемых и огнестойких материалов на подвижном составе и при оборудовании станций, во-вторых, путем оснащения подвижного состава средствами защиты от токов высокой частоты, которые могут привести к возгоранию вагона. Этим же целям служит оборудование станций и поездов автоматическими, централизованными системами, установка специальных датчиков температурных детекторов и систем автоматического огнетушения. См. также: Трасса линий метрополитена Тоннели метрополитена Станции метрополитена Пересадочные узлы метрополитена |
|
|
||||
| Тема | Автор | Раздел | Ответов | Последнее сообщение |
| =Реферат= Петербургский метрополитен | Admin | Учебные материалы железнодорожной тематики | 0 | 08.08.2011 08:09 |
| Метрополитен | Kurt | Ищу/Предлагаю | 1 | 19.04.2011 18:26 |
| СБОРНИК № 1 постоянно действующих инструктажей для локомотивных бригад (машинистов) электропоездов (Московский метрополитен) | Admin | Тяговый подвижной состав | 0 | 16.04.2011 21:10 |
| Минский метрополитен | Углев Дмитрий | СЦБ в метрополитенах | 4 | 21.07.2010 21:29 |
| В. Гарюгин - Метрополитен Северной Столицы | СЦБист | Книги и журналы | 0 | 22.03.2009 16:03 |
| Возможно вас заинтересует информация по следующим меткам (темам): |
|
,
,
,
|
| Здесь присутствуют: 1 (пользователей: 0 , гостей: 1) | |
|
|




