СЦБИСТ - железнодорожный форум, блоги, фотогалерея, социальная сеть
Ушел из жизни Крупицкий Адольф Зельманович
6 февраля 2026 года ушел из жизни Крупицкий Адольф Зельманович, более шести десятков лет проработавший в институте «Гипротранссигналсвязь». Всю свою трудовую деятельность А.З. Крупицкий посвятил проектному делу. После окончанию обучения в Ленинградском институте инженеров железнодорожного транспорта в 1959 году начал свою профессиональную деятельность в качестве старшего электромеханика дистанции сигнализации и связи на Казахской железной дороге. В 1960 году пришел на работу в институт на должность инженера, работал руководителем группы, главным инженером проектов.

Читать далее
Вернуться   СЦБИСТ - железнодорожный форум, блоги, фотогалерея, социальная сеть > Флудильня > Железнодорожное > Справочная
Справочная Помощь и справочная информация по ж/д транспорту
Описание темы:Трансформатор СТ-3
Закладки ДневникиПоддержка Сообщество Комментарии к фото Сообщения за день
Ответить в этой теме   Перейти в раздел этой темы    
 
В мои закладки Подписка на тему по электронной почте Отправить другу по электронной почте Опции темы Поиск в этой теме
Старый 26.04.2025, 18:47   #16 (ссылка)
Super V.I.P.
 
Аватар для vetal

Регистрация: 27.05.2009
Сообщений: 2,541
Поблагодарил: 644 раз(а)
Поблагодарили 1065 раз(а)
Фотоальбомы: не добавлял
Репутация: 1468
Цитата:
Сообщение от владимир владимирович3
вы чего-то путаете.
золотое правило - если вы в чем-то не уверены то для этого есть омметр.
Нет, не путаю. Лет 20, если не больше, эти СТ-4 так включены и работают в РЦ по нормали РЦ50-17А. Собственно, перемычку, которая стоит между выводами 1-3 переставить на выводы 2-3 физически невозможно. Всего по станции таких СТ-4 штук 3 или 4.

vetal добавил 26.04.2025 в 18:47
Цитата:
Сообщение от vetal
Всего по станции таких СТ-4 штук 3 или 4.
Уточнил. В трёх путевых коробках стоят такие СТ-4.

Последний раз редактировалось vetal; 26.04.2025 в 18:47. Причина: Добавлено сообщение
vetal вне форума   Цитировать 0
Старый 26.04.2025, 18:49   #17 (ссылка)
Опытный пользователь
 
Аватар для владимир владимирович3

Регистрация: 06.07.2017
Сообщений: 233
Поблагодарил: 15 раз(а)
Поблагодарили 46 раз(а)
Фотоальбомы: не добавлял
Репутация: 112
Цитата:
Сообщение от vetal Посмотреть сообщение

Уточнил. В трёх путевых коробках стоят такие СТ-4.
а есть фото шильдика где указано название сих трансформаторов?
владимир владимирович3 вне форума   Цитировать 0
Старый 26.04.2025, 19:30   #18 (ссылка)
Super V.I.P.
 
Аватар для vetal

Регистрация: 27.05.2009
Сообщений: 2,541
Поблагодарил: 644 раз(а)
Поблагодарили 1065 раз(а)
Фотоальбомы: не добавлял
Репутация: 1468
Цитата:
Сообщение от владимир владимирович3
а есть фото шильдика где указано название сих трансформаторов?
Если получится сфоткать шильдик, то выложу. Есть нюансы с работой подъездного пути, где находится данный трансформатор. Если сравнивать СТ-4 из справочника с СТ-4 с перемычкой 1-3, то можно увидеть, что эти СТ-4 отличаются только надписью выводов 1 и 2. Может это какой-то бракованный СТ-4 у которого перепутаны местами цифры возле выводов 1 и 2. Физически перемычка стоит там же, где у СТ-4 из справочника.
vetal вне форума   Цитировать 0
Старый 26.04.2025, 19:42   #19 (ссылка)
Опытный пользователь
 
Аватар для владимир владимирович3

Регистрация: 06.07.2017
Сообщений: 233
Поблагодарил: 15 раз(а)
Поблагодарили 46 раз(а)
Фотоальбомы: не добавлял
Репутация: 112
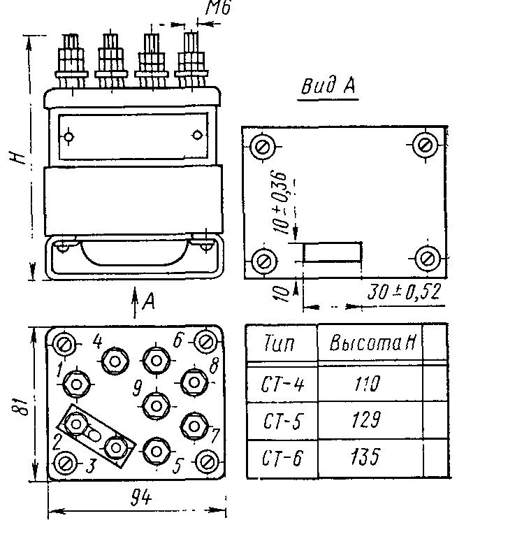
трансформаторы СТ-4 всегда были с 2 полуобмотками на 110В. примерно в начале 2000-х стали появляться с одной обмоткой на 220В. у нас на соседнем околотке нашлись оригиналы, которые стали городить перемычки как на старых СТ-4. сожгли кучу предохранителей и несколько СТшек, пока до них не дошло прозвонить вывода омметром.
владимир владимирович3 вне форума   Цитировать 0
Старый 26.04.2025, 20:45   #20 (ссылка)
Super V.I.P.
 
Аватар для vetal

Регистрация: 27.05.2009
Сообщений: 2,541
Поблагодарил: 644 раз(а)
Поблагодарили 1065 раз(а)
Фотоальбомы: не добавлял
Репутация: 1468
Цитата:
Сообщение от владимир владимирович3
трансформаторы СТ-4 всегда были с 2 полуобмотками на 110В. примерно в начале 2000-х стали появляться с одной обмоткой на 220В. у нас на соседнем околотке нашлись оригиналы, которые стали городить перемычки как на старых СТ-4. сожгли кучу предохранителей и несколько СТшек, пока до них не дошло прозвонить вывода омметром.
Сам такую ситуацию наблюдал, когда у ШНа в руках был СТ-4 с одной первичкой, а он на выводы 2-3 начинал перемычку ставить. Чтобы доказать, что перемычка там не нужна, пришлось открывать в противоположной горловине головку светофора, где стоял единственный на станции такой СТ-4, и показывать, как такой трансформатор подключается)))
А вот, ниже на фотке, СТ-4 который закупила станция на подъездном пути. У данного СТ-4 одна первичная обмотка 1-2, которая промаркирована сверху чёрной краской на выводах. Металлический шильдик отсутствует и вместо него есть бумажный шильдик, на котором написано, что первичная обмотка секционирована. Получается надпись на шильдике не соответствует намотке этого трансформатора.
vetal вне форума   Цитировать 0
Старый 26.04.2025, 21:15   #21 (ссылка)
Опытный пользователь
 
Аватар для apani

Регистрация: 01.07.2018
Сообщений: 5
Поблагодарил: 0 раз(а)
Поблагодарили 0 раз(а)
Фотоальбомы: не добавлял
Репутация: 0
Цитата:
Сообщение от vetal Посмотреть сообщение
Надо смотреть, какой конкретно вам трансформатор попался. По справочнику перемычки 2-3, а есть СТ-3 с перемычками 2-1. Если откроете нормаль РЦ50-17А, то там на релейном конце изначально стоял СТ-3, а потом его заменили на СТ-4. Так вот этой нормали написано перемычка у СТ-3 2-1. Вот на фото ниже СТ-3 с перемычкой 2-1.
На работе попался старый трансформатор СТ-3, год выпуска не смотрел, по справочникам везде смотрел перемычки 2-3. А по факту на нём стояли 2-1 перемычки ( кто то из старых работников так ставил). А в справочниках нет никакой об этом информации. Везде ПО схемам перемычка 2-3. Странно однако просто интересно почему нет конкретной информации
apani вне форума   Цитировать 0
Старый 26.04.2025, 22:36   #22 (ссылка)
Super V.I.P.
 
Аватар для vetal

Регистрация: 27.05.2009
Сообщений: 2,541
Поблагодарил: 644 раз(а)
Поблагодарили 1065 раз(а)
Фотоальбомы: не добавлял
Репутация: 1468
Цитата:
Сообщение от apani
На работе попался старый трансформатор СТ-3, год выпуска не смотрел, по справочникам везде смотрел перемычки 2-3. А по факту на нём стояли 2-1 перемычки ( кто то из старых работников так ставил). А в справочниках нет никакой об этом информации. Везде ПО схемам перемычка 2-3. Странно однако просто интересно почему нет конкретной информации
Открываю альбом РЦ50-17 1969 года - там в качестве релейного трансформатора стоят СТ-3 с перемычкой 2-3.
Открываю альбом РЦ50-17А 1971 года - там СТ-3 стоит с перемычкой 1-2.
В альбоме ТР-47 1962 года - там СТ-3, где 220В подводится к выводам 3-4, значит перемычка 1-2.
В альбоме И-70-74 1974 года - там СТ-3 с перемычкой 2-3.
В альбоме ТР-27 1955 года - СТ-3 с перемычкой 1-2.
Наверное, до начала семидесятых годов выпускались СТ-3 с перемычкой 1-2, а потом стали выпускаться с перемычкой 2-3.
vetal вне форума   Цитировать 0
Старый 27.04.2025, 00:43   #23 (ссылка)
Опытный пользователь
 
Аватар для KVZradist

Регистрация: 09.08.2010
Сообщений: 77
Поблагодарил: 32 раз(а)
Поблагодарили 18 раз(а)
Фотоальбомы: не добавлял
Репутация: 12
А где клеммы на проводах, или облудили многожилку
KVZradist вне форума   Цитировать 0
Старый 27.04.2025, 01:19   #24 (ссылка)
Super V.I.P.
 
Аватар для vetal

Регистрация: 27.05.2009
Сообщений: 2,541
Поблагодарил: 644 раз(а)
Поблагодарили 1065 раз(а)
Фотоальбомы: не добавлял
Репутация: 1468
Цитата:
Сообщение от KVZradist
А где клеммы на проводах, или облудили многожилку
Это подъездной путь и латунные обжимные наконечники я здесь увидел только в электроприводах и в светофорах. На большинстве проводов, колечко из многожильного провода обматывал жилкой от провода 1,5мм.кв. Если правильно помню, то это "оклетнёвкой" называется. Местные работники совершенно не понимали зачем такое делать с проводами)))) Некоторые провода лудил оловом, но расход олова выходил большим и перешёл на обычные обжимные кольцевые наконечники с магазина, но провод кроме обжима ещё и запаивал. Так мне казалось будет надёжнее.
vetal вне форума   Цитировать 0
Старый 27.04.2025, 17:51   #25 (ссылка)
V.I.P.
 
Аватар для Алексий 1974

Регистрация: 11.10.2012
Сообщений: 433
Поблагодарил: 93 раз(а)
Поблагодарили 87 раз(а)
Фотоальбомы: не добавлял
Репутация: 184
Цитата:
Сообщение от apani Посмотреть сообщение
На работе попался старый трансформатор СТ-3, год выпуска не смотрел, по справочникам везде смотрел перемычки 2-3. А по факту на нём стояли 2-1 перемычки ( кто то из старых работников так ставил). А в справочниках нет никакой об этом информации. Везде ПО схемам перемычка 2-3. Странно однако просто интересно почему нет конкретной информации
Есть об этом CТ-3 в справочнике аж 1962 года( автор А.Г. Шмырев " Справочник по железнодорожной автоматике и телемеханике ")
https://disk.yandex.ru/i/WdqvacYnDheEgQ
https://disk.yandex.ru/i/A6PqCmbLYo7g8g

Последний раз редактировалось Алексий 1974; 27.04.2025 в 18:02.
Алексий 1974 на форуме   Цитировать 0
Старый 27.04.2025, 20:37   #26 (ссылка)
Опытный пользователь
 
Аватар для владимир владимирович3

Регистрация: 06.07.2017
Сообщений: 233
Поблагодарил: 15 раз(а)
Поблагодарили 46 раз(а)
Фотоальбомы: не добавлял
Репутация: 112
Цитата:
Сообщение от Алексий 1974 Посмотреть сообщение
в справочнике аж 1962 года( автор А.Г. Шмырев " Справочник по железнодорожной автоматике и телемеханике ")
в моей электронной коллекции книг по ЖАТ такой справочник есть, но он 1970 года.
владимир владимирович3 вне форума   Цитировать 0
Старый 27.04.2025, 21:48   #27 (ссылка)
V.I.P.
 
Аватар для Алексий 1974

Регистрация: 11.10.2012
Сообщений: 433
Поблагодарил: 93 раз(а)
Поблагодарили 87 раз(а)
Фотоальбомы: не добавлял
Репутация: 184
Цитата:
Сообщение от владимир владимирович3 Посмотреть сообщение
в моей электронной коллекции книг по ЖАТ такой справочник есть, но он 1970 года.
В нем неправильно вторичка нарисована и нет о перемычках для первичной цепи . У меня живой экземпляр 1962 года ...
Алексий 1974 на форуме   Цитировать 0
Старый 28.04.2025, 00:36   #28 (ссылка)
Super V.I.P.
 
Аватар для vetal

Регистрация: 27.05.2009
Сообщений: 2,541
Поблагодарил: 644 раз(а)
Поблагодарили 1065 раз(а)
Фотоальбомы: не добавлял
Репутация: 1468
А кто видел СТ-3 с перемычкой 2-3 на первичке? Судя по справочным данным за 1970 год, 1976 год, 1981 год - СТ-3 с перемычкой 1-2 и 2-3 имеют одни и те же габаритные размеры (120х70х105), обмоточные данные и вес тоже одинаковы. Получается в этих трансформаторах должна быть только нумерация выводов 1 и 3 разная. Есть ещё бескорпусные СТ-3А и СТ-3С, которые предназначены для питания стрелочных указателей с перемычкой на первичке 2-3.

Последний раз редактировалось vetal; 28.04.2025 в 00:40.
vetal вне форума   Цитировать 0
Похожие темы
Тема Автор Раздел Ответов Последнее сообщение
Трансформатор ИТ Медет Қазақстан темір жолы 1 20.09.2021 15:57
Трансформатор ing Дипломы, курсовые, лекции, рефераты по СЦБ 2 09.12.2017 16:18
Трансформатор РП4 716 000 Albert Wesker Связь на железнодорожном транспорте 0 05.03.2015 13:10
Трансформатор John Theologian Ремонт электровозов 0 22.02.2013 21:04
Трансформатор СТ Кайдалов Сергей БМРЦ 10 14.03.2012 16:29

Ответить в этой теме   Перейти в раздел этой темы   Translate to English

Возможно вас заинтересует информация по следующим меткам (темам):


Здесь присутствуют: 1 (пользователей: 0 , гостей: 1)
 

Ваши права в разделе
Вы не можете создавать новые темы
Вы не можете отвечать в темах
Вы не можете прикреплять вложения
Вы не можете редактировать свои сообщения

BB коды Вкл.
Смайлы Вкл.
[IMG] код Вкл.
HTML код Выкл.
Trackbacks are Вкл.
Pingbacks are Вкл.
Refbacks are Выкл.



Часовой пояс GMT +3, время: 18:23.

Яндекс.Метрика Справочник 
сцбист.ру сцбист.рф

СЦБИСТ (ранее назывался: Форум СЦБистов - Railway Automation Forum) - крупнейший сайт работников локомотивного хозяйства, движенцев, эсцебистов, путейцев, контактников, вагонников, связистов, проводников, работников ЦФТО, ИВЦ железных дорог, дистанций погрузочно-разгрузочных работ и других железнодорожников.
Связь с администрацией сайта: admin@scbist.com
1 2 3 4 5 6 7 8 9 10 11 12 13 14 15 16 17 18 19 20 21 22 23 24 25 26 27 28 29 30 31 32 33 34 
Powered by vBulletin® Version 3.8.1
Copyright ©2000 - 2026, Jelsoft Enterprises Ltd.
Powered by NuWiki v1.3 RC1 Copyright ©2006-2007, NuHit, LLC Перевод: zCarot