СЦБИСТ - железнодорожный форум, блоги, фотогалерея, социальная сеть
Вернуться   СЦБИСТ - железнодорожный форум, блоги, фотогалерея, социальная сеть > Уголок СЦБИСТа > Книги и журналы > xx3
Закладки ДневникиПоддержка Сообщество Комментарии к фото Сообщения за день
Ответить в этой теме   Перейти в раздел этой темы    
 
В мои закладки Подписка на тему по электронной почте Отправить другу по электронной почте Опции темы Поиск в этой теме
Старый 21.03.2013, 15:58   #1 (ссылка)
Crow indian
 
Аватар для Admin

Регистрация: 21.02.2009
Возраст: 40
Сообщений: 30,062
Поблагодарил: 398 раз(а)
Поблагодарили 5988 раз(а)
Фотоальбомы: 2576 фото
Записей в дневнике: 698
Репутация: 126089

Тема: [01-2013] Перевод стрелок на высокоскоростных магистралях


Перевод стрелок на высокоскоростных магистралях


С.Л. КОНДРАТЕНКО, старший научный сотрудник, канд.техн. наук

На высокоскоростных участках для перевода остряков и подвижного сердечника крестовины стрелок применяют два и более электропривода, которые работают одновременно. В первую очередь эти технические средства должны обеспечивать безопасность движения поездов по стрелке, для чего требуется ограничение совместного уси лия перевода. Для плавного, стабильного перевода стрелки необходима синхронизация работы электроприводов. Решить эти задачи позволят новые отечественные электродвигатели с электронным управлением.

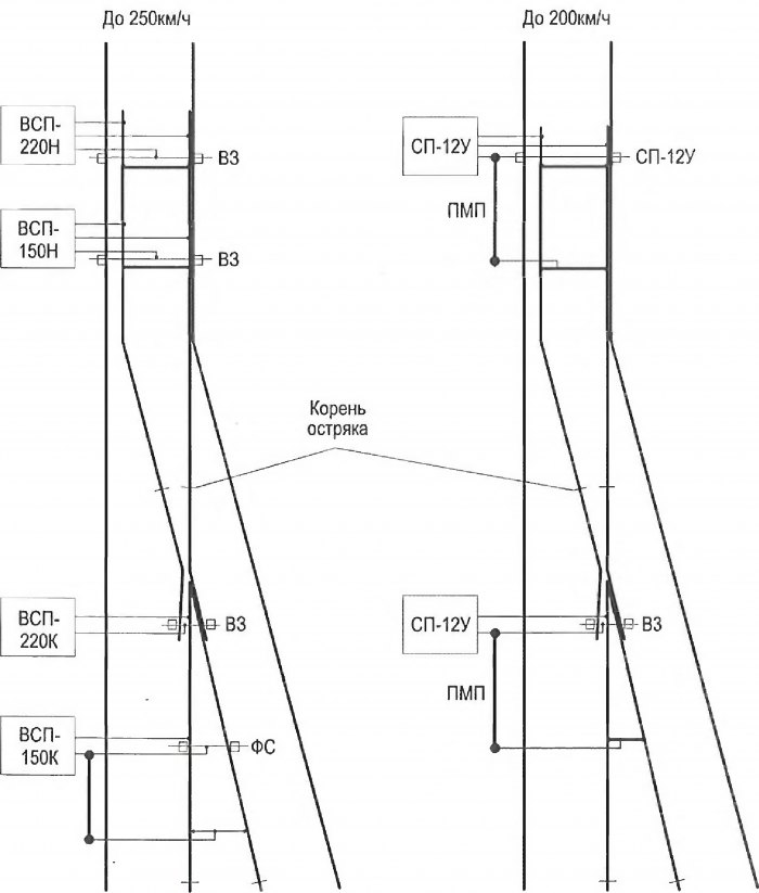
Стрелочные переводы для высокоскоростного движения (ВСД) обеспечивают пропуск поездов со скоростью до 250 км/ч при следовании по прямому пути и 50 км/ч

- на боковой. Они имеют крестовину марки 1/11, длинные гибкие остряки и подвижный сердечник крестовины с непрерывной поверхностью качения.

Схемы стрелочных переводов, применяемые на участке Москва

- Санкт-Петербург Октябрьской дороги при скоростном (до 200 км/ч) и высокоскоростном (до 250 км/ч) движении поездов, представлены на рисунке. На схеме приняты следующие обозначения: ВЗ - внешний замыкатель типа ВЗ-7, ФС - фиксатор (замыкатель) сердечника крестовины, СП-12У и ВСП - электроприводы, Г1МП - продольный рычажный механизм перевода.

Для перемещения гибких остряков и сердечника крестовины длиной соответственно 12,5 и 10 м по подушкам стрелки по заданной эпюре требуется приложить усилие в нескольких точках по длине остряка. Для этого остряки объединяют соединительными тягами и на определенном расстоянии друг от друга устанавливают несколько электроприводов. Их количество зависит от длины остряка (для крестовины марки 1/11 - два, для 1/18 - три, для 1/22 - четыре и т.д.). Электроприводы синхронно перемещают и надежно запирают остряки в конце перевода. 'Го же происходит на подвижном сердечнике крестовины. Здесь в качестве запирающих устройств применяют внешние замыкатели, которые механически управляются электроприводами.

Одна из задач, которую необходимо решить при переводе длинных остряков, - обеспечить синхронную работу электроприводов, имеющих различный ход шиберов, и одинаковое время перевода остряков. Остряк должен быть отведен: в острие (первое сечение) на 150 мм, а в конце острожки (второе сечение) - на 70 мм. Аналогичны требования и к подвижному сердечнику крестовины.


На российских дорогах для синхронизации работы электроприводов стрелочных переводов ВСД применяют асинхронные электродвигатели с различной мощностью и частотой вращения вала. Работа электродвигателей происходит следующим образом. В начале перевода при подаче напряжения питания одновременно на два электродвигателя всю нагрузку принимает первый (первое сечение) за счет большей мощности и частоты вращения вала. В результате частота снижается, а момент на валу и потребляемый ток возрастают. Второй электродвигатель (второе сечение) в это время «догоняет» первый и принимает ту же нагрузку, частично забирая ее на себя. В свою очередь первый двигатель, «освободившись» отчасти нагрузки, снижает момент на валу, увеличивает частоту вращения вала, «вырывается вперед» и опять принимает всю нагрузку на себя. В таком режиме электродвигатели работают на протяжении всего перевода стрелки, поэтому остряки перемещаются не синхронно.

Для синхронной работы двух электроприводов, работающих на одну нагрузку (остряки или крестовину), необходимо добиться, чтобы такие параметры, как момент нагрузки на валу и частота вращения валов электроприводов, имели постоянное заданное значение.

Устойчивая работа асинхронного двигателя с постоянной заданной скоростью вращения вала возможна, если вращающий момент на валу двигателя не менее тормозного момента, который зависит от массы остряков, потерь в редукторе электропривода и сил трения остряков о подушки. Номинальный вращающий момент на валу электродвигателя в этом случае соответствует номинальному усилию перевода остряков.

При увеличении нагрузки на валу асинхронного двигателя от нуля до номинального значения его обороты снижаются не более чем на 5 %. В случае дальнейшего возрастания нагрузки равновесие нарушается, и тормозной момент становится больше вращающего. Это приводит к уменьшению частоты вращения ротора и, следовательно, к увеличению скольжения (относительной разности скоростей вращения ротора и магнитного поля, создаваемого обмотками статора двигателя). С возрастанием скольжения увеличивается вращающий момент на валу двигателя, т.е. на шибер через редуктор и фрикционную муфту передается большее усилие. При этом возрастает и ток в линейных проводах.

При остановке стрелки в среднем положении из-за попадания между остряком и рамным рельсом постороннего предмета, например камня, ток будет увеличиваться до тех пор, пока номинальный вращающий момент на валу не станет равным тормозному. Это равновесие обеспечивает фрикционная муфта.

Фрикционный механизм выполняет очень ответственную функцию

- ограничивает усилие, которое способен развить шибер электропривода. Благодаря этому выполняются требования безопасности, связанные, во-первых, с отжимом рамного рельса, т.е. уширением колеи, и, во-вторых, с возможной деформацией остряка, что происходит и в первом, и во втором случаях при попадании камня между остряком и рамным рельсом. Кроме того, при остановке стрелки в среднем положении, фрикционный механизм предотвращает полную остановку вала, которая приводит к резкому увеличению тока в линейных проводах, перегреву обмоток двигателя, перегоранию предохранителей и другим негативным последствиям.

Если фрикция отрегулирована неправильно (перетянута), тормозной момент на валу превысит норму и вращающий момент увеличится до критического значения, а частота вращения вала уменьшится до нуля. В результате индуктивное сопротивление обмоток двигателя станет равным активному, ток в линейных проводах возрастет. Это приводит к большому падению напряжения в кабельной линии и снижению напряжения на двигателе. Вращающий момент на валу двигателя пропорционален квадрату напряжения на его обмотках. Поэтому снижение напряжения приводит к значительному уменьшению вращающего момента на валу и остановке двигателя. При этом ток становится в 5-7 раз больше номинального значения.

Перегрев ведет к разрегулировке фрикционной муфты, поэтому крайне важно правильно отрегулировать усилие ее срабатывания в каждом электроприводе. Однако при работе одновременно двух электроприводов на одну нагрузку (остряки) отрегулировать фрикцию каждого из них в отдельности в условиях эксплуатации невозможно. Следовательно, регулировку фрикционной муфты на допустимое нормативное значение необходимо выполнять на заводе и не менять при эксплуатации. Если при эксплуатации стрелка не переводится и электроприводы работают на фрикцию, причиной является не привод, а плохое состояние стрелочного перевода.

Величина усилия шибера, при котором уложенный на деревянные шпалы рамный рельс может быть отжат на опасное расстояние, составляет по Нормам безопасности более 5 кН. Для стрелки, уложенной на железобетонные шпалы, это усилие неизвестно. Также нет нормативных значений максимальных усилии перевода электропривода, которые могут деформировать остряк при случайном препятствии между остряком и рамным рельсом. Поэтому для обоснования существующих норм усилия перевода (не более 7,5 кН) необходимо провести дополнительные экспериментальные исследования по отжиму Для электроприводов, работающих одновременно на одни остряки, этих норм вообще не существует.

В случае перевода остряков двумя электроприводами важно равномерно распределить нагрузку. Для этого надо точно знать правильное место установки электропривода на стрелочном переводе и усилие, необходимое для перемещения остряков. Эти данные могли бы предоставить специалисты ВНИИЖТа.

Однако сегодня на стрелках ВС-Д электромеханики регулируют фрикцию каждого электропривода путем постепенного подтягивания гайки фрикционного сцепления до положения, при котором стрелка переводится нормально, не обращая особого внимания на величину усилия перевода. Порой оно оказывается завышенным, что может привести к получению ложного контроля положения стрелки. Такая ситуация возможна при переводе параллельных электроприводов и случайном попадании камня между остряком и рамным рельсом в середине расстояния между соседними электроприводами.

Регулировка механической фрикции достаточно сложная операция, поэтому в мировом практике на стрелочных переводах ВСД, где на остряках и крестовине эксплуатируются по два и более электропривода, в них устанавливают устройства с электронной фрикцией. Они контролируют усилие перевода. Если это усилие превысит норму, двигатель останавливается.

Синхронная работа параллельных электроприводов достигается этими же электронными устройствами, обеспечивающими стабильную частоту вращения вала, постоянную коррекцию момента на валу и заданное единое для параллельных электроприводов время перевода.
Admin вне форума   Цитировать 12
Старый 09.09.2015, 08:14   #2 (ссылка)
Робот
 
Аватар для СЦБот

Регистрация: 05.05.2009
Сообщений: 2,482
Поблагодарил: 0 раз(а)
Поблагодарили 82 раз(а)
Фотоальбомы: не добавлял
Репутация: 0

Тема: Тема перенесена


Эта тема была перенесена из раздела Журнал "Автоматика, связь, информатика".

Перенес: Admin
СЦБот вне форума   Цитировать 0
Похожие темы
Тема Автор Раздел Ответов Последнее сообщение
=Телеграмма= № 363А от 15 марта 2013 г. - Два грубых нарушения безопасности движения поездов с проездами запрещающих показаний выходных светофоров в марте 2013 года Admin Документы Дирекции тяги ОАО "РЖД" 0 20.03.2013 12:25
Уральские «Ласточки» на магистралях Сочи и Москвы появятся в 2013 году Помогала2 Новости на сети дорог 0 14.07.2012 02:20
[Статья] Депо для высокоскоростных поездов Admin Ж/д статьи 0 23.04.2011 23:42
=Книги= Аварии на стальных магистралях. Кто виноват? - А.А. Казаков, В.Н. Алешин, Е.А. Казаков Admin Книги и журналы 0 14.04.2011 21:56
[Движенцу] Перевод централизованных стрелок Admin Движенцы 1 30.10.2010 23:04

Ответить в этой теме   Перейти в раздел этой темы   Translate to English

Возможно вас заинтересует информация по следующим меткам (темам):
, , , , ,


Здесь присутствуют: 1 (пользователей: 0 , гостей: 1)
 

Ваши права в разделе
Вы не можете создавать новые темы
Вы не можете отвечать в темах
Вы не можете прикреплять вложения
Вы можете редактировать свои сообщения

BB коды Вкл.
Смайлы Вкл.
[IMG] код Вкл.
HTML код Выкл.
Trackbacks are Вкл.
Pingbacks are Вкл.
Refbacks are Выкл.



Часовой пояс GMT +3, время: 18:44.

Яндекс.Метрика Справочник 
сцбист.ру сцбист.рф

СЦБИСТ (ранее назывался: Форум СЦБистов - Railway Automation Forum) - крупнейший сайт работников локомотивного хозяйства, движенцев, эсцебистов, путейцев, контактников, вагонников, связистов, проводников, работников ЦФТО, ИВЦ железных дорог, дистанций погрузочно-разгрузочных работ и других железнодорожников.
Связь с администрацией сайта: admin@scbist.com
1 2 3 4 5 6 7 8 9 10 11 12 13 14 15 16 17 18 19 20 21 22 23 24 25 26 27 28 29 30 31 32 33 34 
Powered by vBulletin® Version 3.8.1
Copyright ©2000 - 2026, Jelsoft Enterprises Ltd.
Powered by NuWiki v1.3 RC1 Copyright ©2006-2007, NuHit, LLC Перевод: zCarot