|
|||||||
| Последние сообщения на форуме |
| Последние комментарии к фото |
| Новые записи в дневниках |
| Новые комментарии в дневниках |
| Новое в группах |
| Ссылки сообщества |
| Социальные группы |
| Изображения и альбомы |
| Поиск по форуму |
| Поиск по метке |
| Расширенный поиск |
| Найти все посты, за которые поблагодарили |
| К странице... |
|
#1
|
||
|
ВЛ80К - электровоз, предназначен для работы с грузовыми поездами на магистральных железных дорогах, электрифицированных на переменном токе (25 000 В, 50 Гц).
Все оборудование электровоза рассчитано на надежную работу при напряжении в контактной сети от 19 000 до 29 000 D, а также при изменении температуры окружающего воздуха от —50 до +40° С вне кузова электровоза. ![]()
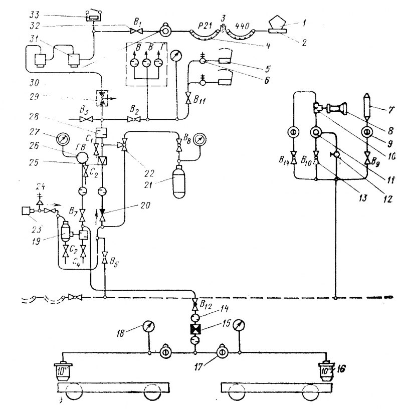
Основные технические данные электровозаНапряжение..................................25000 +16 / -25% Формула ходовой части ..........................2 (20-20) Колея............................................. ...1 520 мм Передаточное отношение............................88 : 21 Мощность часового режима на валах тяговых двигателей ...............6 520 кВт Мощность длительного режима на валах тяговых двигателей ............................................6160 кВт Сила тяги в часовом режиме........................45 100 кГ То же в длительном режиме........................40 900 » Скорость в часовом режиме..........................51,6 км/ч' То же в длительном режиме..........................53,6 » Конструкционная скорость..........................110 » Коэффициент мощности в длительном режиме на 33-й позиции........................................... .0,866 Вес электровоза с 2/3 запаса песка..................184т+ 2% Давление оси на рельс...................23Т ± 2% Разница давлений на рельс колес одной колесной оси не более..........................................0,5 Г Высота оси автосцепки от головки рельса при новых бандажах.................... 1040 — 1 080 ж» Высота от головки рельса до рабочей поверхности полоза токоприемника: в опущенном положении........................5 100 мм в рабочем положении............. 5 500 —7 000 мм Диаметр колес по кругу катания....................1 250 мм Минимальный радиус проходимых кривых при скорости 10 км/ч......................................125 м Электровоз состоит из двух одинаковых секций, работающих по системе многих единиц - СМЕТ . СИЛОВЫЕ ЦЕПИОбщие сведения. В силовые цепи одной секции электровоза входит следующее оборудование: трансформатор 3 (рис. 2), понижающий напряжение контактной сети; кремниевые выпрямительные установки 61 и 62, преобразующие переменное напряжение вторичной обмотки трансформатора в постоянное, необходимое для питания тяговых двигателей; тяговые двигатели I—IV; аппаратура, обеспечивающая регулирование скорости электровоза, изменение направления движения и защиту тяговых двигателей в аварийных режимах. ![]() Первичная обмотка трансформатора 3 соединяется с контактной сетью токоприемником 1 и главным выключателем 4. Силовые контакты с дугогашением главного выключателя шунтированы нелинейным резистором (сопротивлением) для уменьшения перенапряжений, возникающих при их размыкании. Пониженное напряжение вторичной обмотки выпрямляется по двухполупериодной мостовой схеме. Два плеча моста установки 61 разомкнуты и подключены следующим образом: одно к полуобмотке трансформатора а1—01 (вывод 01), другое—к полуобмотке 02—а2 (вывод а2), Аналогично включена и выпрямительная установка 62: разомкнутые плечи подключены одно — к выводу 01, второе — к выводу а2. Пониженное и выпрямленное напряжение подводится к тяговым двигателям. При направлении тока в обмотке al—х1 от вывода х1 к al, а в обмотке х2—а2 от вывода а2 к х2 тяговые двигатели получают питание по цепи: вывод трансформатора al, плечо выпрямительной установки 61, двигатели I, II, сглаживающий реактор 55, плечо выпрямительной установки 61, вывод 1 трансформатора, обмотка трансформатора 1—01 и вывод xl, выводы х2, 02, 5, плечо выпрямительной установки 62, двигатели III, IV, реактор 56, плечо выпрямительной установки 62, вывод а2 обмотки трансформатора х2—а2. Таким образом, каждая обмотка силового трансформатора питает свою группу тяговых двигателей (рис. 3). При направлении тока в обмотке al—xl от вывода al к xl, а в обмотке а2—х2 от вывода х2 к а2 обмотки и группы тяговых двигателей включаются последовательно (рис. 4). ![]() Изменение напряжения в одной ветви трансформатора при такой схеме включения приводит к изменению выпрямленного напряжения на выводах обоих мостов. Пуск и регулирование скорости. На электровозе пуск и регулирование скорости осуществляют ступенчатым изменением выпрямленного напряжения, подводимого к тяговым двигателям. Наименьшее напряжение на тяговых двигателях будет при встречном включении несекционированных обмоток с секционированными обмотками трансформатора. Если в один полупериод в обмотках трансформатора возникает напряжение, которое создает ток, направленный в несекционированной обмотке от xl к al (см. рис. 2), а в секционированной от 01 к 1, то при соединении вывода xl с выводом 01 напряжения этих обмоток будут направлены встречно. Результирующее напряжение, подводимое к тяговым двигателям, будет равно разности напряжений обмоток. Напряжение холостого хода несекционированной обмотки равно 638 в, а напряжение холостого хода всех секций секционированной обмотки 580 в; разность зтих напряжений, равная 58 в, определяет наименьшее напряжение, подводимое к тяговым двигателям на 1-й позиции. Наибольшее напряжение к тяговым двигателям подводится при согласном включении несекционированной и секционированной обмоток, т. е. тогда, когда вывод xl соединен с выводом 1. При этом напряжения обмоток направлены согласно и складываются (напряжение холостого хода обмотки al—01, равное 1 218 б, подводится к двигателям на 33-й позиции группового переключателя). Повышение напряжения на позициях от 1-й до 17-й осуществляется путем последовательного выключения секций 1—2 (рис. 5), 2—3, 3—4, 4—01 обмотки 01—1 встречно с обмоткой a1—x1 и секций 5—6, 6—7, 7—8, 8—02 обмотки 02—5 встречно с обмоткой al—х2. Повышать напряжение на 18—33-й позициях можно, включая в том же порядке ранее выведенные секции. Положение группового переключателя при этом должно соответствовать согласному включению обмоток (замкнуты контакторные элементы 9, 19, 29 и 39). Переключение секций обмоток 1—01 и 5—02 выполняется групповым переключателем типа ЭКГ-8, который имеет 34 силовых контактора, из них 30 без дугогашения (контакторные элементы 9—33, 35—37, 39, 40) и четыре сдугогашением(контакторные элементы А, Б, В и Г). Диаграмма замыкания силовых контакторов группового переключателя (рис. 6) выполнена таким образом, что контакторы 9—33, 35—37, 39, 40 переключаются, не разрывая цепь тока. Разрыв силовой цепи в момент переключения секций обметок трансформатора осуществляется контакторными элементами с дугогашением А, Б, В л Г. Для ограничения переходного тока (в момент одновременного замыкания контакторных элементов начала и конца секции трансформатора, например, элементов 11 и 22) установлен переходный реактор 25 (см. рис. 2). Рассмотрим процесс коммутации тока групповым переключателем при переходе с позиции на позицию. В исходном положении групповой переключатель ступеней трансформатора находится на нулевой позиции, при этом замкнуты контакторные элементы 30, 32, 33 и А, Д, В, Г (см. рис. 5). Однако замкнутой цепи для прохождения тока тяговых двигателей нет. При переходе с нулевой позиции на 1-ю групповой переключатель проходит первую промежуточную позицию П1 (см. рис. 6). В интервале позиций 0—111 сначала размыкается контакторный элемент А, затем замыкается элемент 11, размыкается элемент 30, далее снова замыкается контакторный элемент А (см. рис. 5). В интервале между первой промежуточной и 1-й позициями сначала размыкается контакторный элемент Г, затем замыкаются контакторные элементы 15, 36 и 37, после чего вновь замыкается элемент Г. Таким образом, на 1-й позиции группового переключателя ступеней к тяговым двигателям подводится наименьшее напряжение, соответствующее разности напряжений встречно включенных вторичных обмоток трансформатора. При переходе группового переключателя с 1-й позиции на 2-ю сначала размыкается контакторный элемент Б, затем замыкается элемент 22 и после этого вновь замыкается Б. Когда переключатель переходит со 2-й позиции на 3-ю, сначала размыкается контакторный элемент В, затем замыкается 26, после чего вновь замыкается В. ![]() Переход переключателя с 3-й позиции на 4-ю осуществляется размыканием контакторного элемента А, затем И и замыканием элемента 12, после чего вновь замыкается А. При переходе переключателя с 4-й на 5-ю позицию сначала размыкается контакторный элемент Г, потом 15, а затем замыкается элемент 16, после чего вновь замыкается Г. Дальнейшее переключение секций обмоток трансформатора аналогично описанному выше. Полное выключение обмоток 1—01 и 5—02 происходит на 17-й позиции группового переключателя ступеней: замкнуты контакторные элементы А, Б, В, Г, 10, 20, 30, 40, 32, 33, 36, 37. В интервале между 17-й и 18-й позициями имеются четыре промежуточные позиции группового переключателя, на которых происходит согласное включение обмоток 1—01 с al—xl и 5—02 с а2—х2. В интервале между 17-й и второй переходной (/72) позициями сначала размыкается контакторный элемент Б, потом 20, а затем замыкаются контакторные элементы 21 и 31; после этого вновь замыкается элемент Б. В интервале между позициями П2 — ПЗ сначала размыкается контакторный элемент В, затем 10, 40, 32, 33, после этого замыкаются контакторные элементы 25 и 35, а затем В. В интервале между промежуточными позициями ПЗ—П4 сначала размыкается контакторный элемент Л, затем размыкаются 30, 36, 37, замыкаются элементы 9, 19, 11, после чего вновь замыкается элемент А. При переходе с позиций П4 на П5 сначала размыкается контакторный элемент Г, затем замыкаются элементы 29, 39, 15 и размыкается 21, после чего вновь замыкается контактор Г. В интервале между позициями П5 и 18-й сначала размыкается контакторный элемент Б, затем 25, 31; после этого замыкается контакторный элемент 22 и вновь Б. С 18-й позиции групповой переключатель переключает контакторные элементы в порядке, рассмотренном ранее, что соответствует при согласном включении обмоток дальнейшему повышению напряжения на тяговых двигателях. На 33-й позиции обмотки 1—01 и 5—02 включаются полностью. Повышение скорости движения путем увеличения напряжения на тяговых двигателях прекращается, и дальнейшее повышение ее может быть достигнуто ослаблением поля тяговых двигателей. Скорость вращения якоря тягового двигателя прямо пропорциональна напряжению, подводимому к двигателю, и обратно пропорциональна магнитному потоку главных полюсов. Следовательно, при неизменном напряжении для увеличения скорости вращения двигателя необходимо уменьшить магнитный поток, т. е. ослабить магнитное поле, создаваемое обмоткой возбуждения. Достигнуто это шунтированием обмотки возбуждения резистором. Часть тока якоря при этом ответвляется в шунтирующий резистор. Чем меньше будет сопротивление шунтирующего резистора, тем больше будет ослабляться поле, уменьшаться магнитный поток и тем больше возрастет скорость электровоза. Постоянное ослабление Поля (ПП) составляет 96%. На электровозе предусмотрено три ступени ослабления поля: ОП1 — 70%; ОП2 — 52%; ОПЗ —43%. Это значит, что только 70, 52 и 43% тока якоря проходит по обмотке возбуждения. Ослабление поля выполнено шунтированием обмоток возбуждения резисторами 1Р1—1РЗ; 2Р1—2РЗ; ЗР1—ЗРЗ; 4Р1—4РЗ (см. рис. 2) с помощью электропневматических контакторов 65—76. Порядок шунтирования секций сопротивления следующий: ОП1 — включаются контакторы 65, 66, 71, 72 и подключают соответственно резисторы 1Р1—1РЗ; 2Р1—2РЗ; ЗР1—ЗРЗ; 4Р1—4РЗ и соединенные с ними последовательно индуктивные шунты ИШ; ОП2 — дополнительно к контакторам 65, 66, 71, 72 включаются контакторы 67, 68, 73, 74 и шунтируют соответственно резисторы 1Р1—1Р2; 2Р1—2Р2; ЗР1—ЗР2; 4Р1—4Р2; ОПЗ — дополнительно к контакторам 65—68, 71—-74 включаются контакторы 69, 70, 75, 76 и шунтируют соответственно резисторы 1Р1—1РЗ; 2Р1—2РЗ; ЗР1—ЗРЗ; 4Р1—4РЗ. ![]() Таким образом, для пуска и регулирования скорости электровоза имеется 33 ступени напряжения трансформатора и три ступени ослабления поля. Ходовыми ступенями (позициями) служат 1-, 5-, 9-, 13-, 17-, 21-, 25-, 29- и 33-я, на которых происходит симметричное включение плеч трансформатора; выводы переходного реактора ав и хв подключены к одному выводу регулируемой обмотки трансформатора, а выводы аВ и хв — к Другому. В этом случае по каждой полуобмотке реактора Протекает половина общего тока нагрузки (рис. 7, а). Благодаря встречному включению полуобмоток реактора магнитные потоки, создаваемые токами в них, направлены встречно друг другу. Поэтому индуктивное падение напряжения на обмотках реактора оказывается незначительным. Только на ходовых позициях допустима длительная езда. ![]() На этих позициях переходной реактор и трансформатор будут иметь наименьший нагрев, так как по их цепям протекает только ток тяговых двигателей. На неходовых позициях по переходному реактору, контакторным элементам ЭКГ и обмотке трансформатора, кроме тока тяговых двигателей, будет протекать переменный циркулирующий ток (рис. 7, б). Пусковые и тяговые характеристики электровоза показаны соответственно на рис. 8 и 9. ![]() ![]() Передвижение электровоза от постороннего источника постоянного тока пониженного напряжения. Для ввода электровоза в депо необходимодвухполюсный отключатель 19 или 20 (см. рис. 2) переключить в положение, соответствующее питанию тяговых двигателей от сети депо. Передвигаться электровоз может при работе любого из тяговых двигателей секции (/—IV). Для этого следует оставить включенным только отключатель (0Д1—0Д4) соответствующего двигателя; подключить к розетке 106 гибкий провод, по которому к тяговому двигателю будет подано напряжение 150-—200 в постоянного тока. Реверсивную рукоятку контроллера машиниста установить в положение Вперед или Назад, а главную рукоятку — в положение ФП или ФВ. При этом включается один из линейных контакторов тяговых двигателей. Отключатели 19 и 20 могут быть использованы также при обточке бандажей колесных пар. Для этого необходимо выполнить такие же включения, как и при вводе электровоза в депо каким-либо двигателем. В случае пробоя на «землю» обмотки якоря какого-либо тягового двигателя передвижение и обточку колесной пары неисправным двигателем выполнять запрещено. Отключатель неисправного двигателя должен находиться в отключенном положении. ВСПОМОГАТЕЛЬНЫЕ ЦЕПИНа электровозе вспомогательное оборудование получает напряжение от обмотки собственных нужд силового трансформатора. Напряжение холостого хода обмотки собственных нужд трансформатора равно 232 в на выводах х—а5 (рис. 10), 406 в на выводах х~а4 и 638 в на выводах х—аЗ при напряжении в контактной сети 25 кв. По роду напряжения все вспомогательное оборудование разделено на потребителей однофазного тока 380 в, питание которых осуществлено непосредственно от выводов обмоток х—а4, и потребителей трехфазного тока. К потребителям однофазного тока с номинальным напряжением 380 в относятся: нагревательные элементы печей обогрева кабины машиниста 173—/77; калорифер обогрева лобовых стекол 196; обогреватели санузла 179, 180; трансформаторы напряжения 77, 112; вентиль защиты 104; трансформатор ТРПШ, регулируемый подмагничиванием шунтов; вольтметр 97, контролирующий напряжение контактной сети; катушка отключающего электромагнита ГВ, которая получает питание через размыкающие контакты реле 236, резистор Р41 и размыкающие контакты дифференциальных реле 21, 22; асинхронный расщепитель фаз ФР. Защита от замыканий на землю силовых цепей получает питание через трансформатор напряжения 77, сельсин-датчик 203 и указатель позиций УП от трансформатора напряжения 112. К потребителям однофазного тока с номинальным напряжением 220 в относится счетчик электроэнергии 103. Потребителями трехфазного тока являются асинхронные электродвигатели с короткозамкнутым ротором: МВ1, МВ2 — приводы вентиляторов охлаждения тяговых двигателей/—IV; МВЗ и МВ4 — приводы вентиляторов охлаждения выпрямительных установок, радиаторов силового трансформатора и сглаживающих реакторов; МН — привод масляного насоса системы охлаждения трансформатора; МК, — привод компрессора. Обогреватели санузла 179, 180 (оборудование санузла н-а второй секции) включаются контактором 136, печи обогрева кабины 173— 177 и нагреватели калорифера обогрева лобовых стекол — контакторами 134, 159, 195. Расщепитель фаз включают контактором 125. Запуск расщепителя фаз асинхронный и осуществляется при помощи резистора Р31—РЗЗ, включаемого на время пуска контактором 119. После включения контактора 119 включается контактор 125, который подключает обмотки расщепителя фаз на напряжение 380 е. Обмотка собственных нужд силового трансформатора и генераторная фаза расщепителя фаз образуют трехфазную систему, от которой получают питание цепи вспомогательных машин. Если вышел из строя расщепитель фаз в одной из секций, необходимо снять пломбы и включить разъединители 126 в обеих секциях, отключить обмотку собственных нужд силового трансформатора при помощи переключателя вспомогательных цепей 111 (перевести ножи в нижнее положение) в той секции, где неисправен расщепитель фаз. ![]() В результате этих переключений будет выведен из работы неисправный расщепитель фаз на одной секции, и пуск всех вспомогательных машин возможен от исправного расщепителя фаз и одной обмотки собственных нужд. Все работы по переключению разъединителей и переключателя необходимо выполнять с соблюдением правил техники безопасности. С одним исправным расщепителем фаз разрешается продолжать движение только до ближайшего депо. Нельзя включить разъединители 126, если ножи переключателей 111 находятся в верхнем положении (на обеих секциях электровоза), так как при этом обмотки собственных нужд тяговых трансформаторов будут включены параллельно через межсекционное соединение 380 в. Тогда при отключении одного из главных выключателей, замыкании его ножа на «землю» и включенных аппаратах 111 и 126 может возникнуть короткое замыкание первичной обмотки тягового трансформатора с питанием со стороны обмотки собственных нужд (рис. 11). Возникновение короткого замыкания предотвращается блок-контактами аппаратов 111, 126 и др. Вентиляторы МВ1 —МВ4, насос МН и компрессор МК включаются контакторами 127—130, 133, 124. При включении вентиляторов МВ1—МВ4 и компрессора МК их контакторами также включаются дополнительные емкости 165—168, 171 между линейной и генераторной фазами, облегчающие запуск и условия работы двигателей в результате улучшения симметрии трехфазной системы. Питание вспомогательным цепям при нахождении электровоза в депо можио подать через розетки 108, 109,110 с помощью переключа ’ теля 111. К розеткам подводится напряжение 380 в от сети депо. Это напряжение подается только на вспомогательные машины этой секции. В режиме резервирования расщепителя фаз розетки 108—110 (см. рис. 10) аварийной секции электровоза будут находиться под напряжением. Запрещается открывать замки ящика розеток, чтобы не попасть под напряжение. ![]() Необходимо отметить, что разъединители секций 126 в рабочем режиме должны находиться в отключенном положении и быть запломбированы. Недопустимо при включенных разъединителях секций 126 переключать питание вспомогательных цепей от напряжения депо через подкузовные розетки 108, 109, 110 (ножи переключателя 111 находятся в нижнем положении). В этом случае в результате обратной трансформации силового трансформатора на его первичной обмотке появится высокое напряжение 25 кв. В случае выхода из строя на длительное время одной из питающих тяговых подстанций напряжение контактной сети в зоне этой подстанции будет около 12 /се при номинальном питающем напряжении соседних подстанций. Для обеспечения нормальной работы вспомогательных машин в этом случае у обмотки собственных нужд силового трансформатора предусмотрен дополнительный вывод аЗ, используемый только при снижении напряжения и подключаемый переключателем обмоток трансформатора 105. Нормальное положение переключателя 105 — нижнее. В этом положении он подключает цепи вспомогательных машин к выводу а.4, имеющему номинальное напряжение холостого хода 406 в. При подъезде к зоне с поврежденной подстанцией машинист по сетевому вольтметру следит за снижением напряжения в контактной сети. Если вольтметр показывает менее 19 кв, машинист выключает вспомогательные машины, выключает Г В, опускает токоприемник и, разблокировав шторы высоковольтной камеры (ВВК), переключает переключатель обмоток в верхнее положение. После этого, заблокировав ВВК и собрав нормальные цепи, можно продолжать движение. На вспомогательные машины будет подано напряжение примерно 460 в, которое по мере движения будет снижаться и при напряжении в контактном проводе 12 кв составит около 290 в, что по условиям работы вспомогательных машин достаточно. Показания сетевого вольтметра во время движения с питанием вспомогательных машин от вывода аЗ будут завышенными в 1,6 раза по сравнению с действительными. Поэтому обратное переключение переключателя обмоток в нормальное положение следует выполнять при напряжении (по сетевому вольтметру), равном 30 кв, что соответствует напряжению в контактной сети 19 кв. Все работы по переключению переключателя обмоток трансформатора следует выполнять с соблюдением правил техники безопасности. ЗАЩИТА СИЛОВЫХ И ВСПОМОГАТЕЛЬНЫХ ЦЕПЕЙЗащита силовых цепей от перенапряжений. От атмосферных перенапряжений трансформатор и оборудование, рассчитанное на напряжение 25 кв, защищены разрядником 5 (см. рис. 2). На случай коммутационных перенапряжений вторичная обмотка трансформатора, контакторы ЭКГ и выпрямительные установки защищены разрядниками 7,8 и цепочками RC: конденсатором Е1 с резистором r7, конденсатором Е2 с резистором r8 и конденсаторами ЕЗ, Е4, Е5 и Е8 — Е12. Следует отметить, что цепочки RC совместно с дросселем РП осуществляют также снижение уровня радиопомех. За счет индуктивности обмоток переходного реактора 25 (см. рис. 2) при размыкании контакторов с дугогащением А, Б, В, Г главного переключателя на них возникают коммутационные перенапряжения, приводящие к подгару дугогасительных контактов контакторов. Для уменьшения перенапряжений на контакторах и снижения подгара контактов обмотки переходного реактора шунтированы конденсаторами 163 и 164. Конденсаторы в свою очередь шунтированы разрядными резисторами rll и г12, на которые они и разряжаются в случае перегорания предохранителей 161 и 162. В случае пробоя или короткого замыкания конденсаторов 163 и 164 перегорают предохранители 161 и 162. Защита силовых цепей от коротких замыканий. От коротких замыканий силовые цепи в целом защищены воздушным выключателем 4, который отключается при срабатывании промежуточного реле РМТ при токах в первичной обмотке трансформатора, равных 250 а ± 10%. Защита от замыканий на землю. От замыканий на землю силовые цепи защищены реле заземления 88, действующим на отключение ГВ (рис. 12). Реле заземления 88 срабатывает на всех позициях группового переключателя при замыкании на землю любой точки силовой цепи. Для того чтобы не устанавливать на каждой секции электровоза две защиты от замыкания на «землю» для двух групп тяговых двигателей и силовых выпрямительных установок, а обойтись одной защитой, включают между равнопотенциальными точками два резистора г37, г38 и устанавливают одну защиту. В нормальном режиме без замыкания на «землю» по этим резисторам протекает незначительный уравнительный ток, обусловленный несимметричным включением секционированных и несекционированных обмоток тягового трансформатора (на четных позициях). Защита от замыкания на «землю» имеет еще одну особенность. Начало и конец секционированных и несекционированных тяговых обмоток тягового трансформатора соединены с «землей» через конденсаторы ЕЗ—Е5, Е8—Е12 (см. рис. 2). Силовая схема как бы «привязана» к «земле» для того, чтобы на отдельных точках ее не возникало перенапряжений относительно «земли». Но, с другой стороны, через эти конденсаторы, «землю» и включающую обмотку реле 88 может протекать емкостный ток, который будет вызывать ложные срабатывания реле. Для исключения этого явления в цепь включающей обмотки реле 88 включен дроссель 78, рассчитанный на небольшой ток и имеющий значительную индуктивность. Этим самым предотвращается протекание по включающей обмотке реле емкостных токов. Защита тяговых двигателей. Тяговые двигатели защищены: от перегрузки — реле перегрузки РП1—РП4 (см. рис. 2), отключающими при токе 1500 ±50 а промежуточное реле 264, которое в свою очередь действует на отключение главного выключателя; от боксования — реле боксования 43 и 44, которые, срабатывая, обеспечивают периодическую подачу песка под колесные пары. Защита группового переключателя. При переходе главного переключателя с позиции на позицию переключающиеся силовые контакты кратковременно оказываются под двойным током. Длительное нахождение контактов под таким током недопустимо. Такой же ток действует на контакты при медленном вращении вала главного переключателя или застревании его между позициями. Поэтому, если вал главного переключателя находится между позициями более 2—3 сек, то срабатывает реле времени 204, действующее на отключение главного выключателя. ![]() Защита от коротких замыканий выпрямительных установок. Эта защита осуществляется блоком дифференциальных реле БРД (рис. 13). Токовые катушки дифференциальных реле 21 и 22 вместе с дросселем включены между двумя точками цепи вторичных обмоток силового трансформатора, имеющими равные потенциалы. Поэтому по токовым катушкам нормально не протекает ток. Уравнительный ток в токовых обмотках катушек реле 21 и 22 может возникнуть в следующих режимах: боксование одной или нескольких колесных пар; отключение одного или нескольких тяговых двигателей; отключение выпрямительной установки; движение электровоза на неходовых позициях. Однако в этих режимах дифференциальная защита не срабатывает, так как через магнитопроводы реле пропущены две шины, по которым ток проходит во встречном направлении и практически равномерно делится между обеими шинами (наличие индуктивного шунта в этих режимах не сказывается на распределении тока между шинами). Магнитные потоки от этих токов будут взаимно уничтожаться. В случае короткого замыкания (к. з.) в цепи одной из выпрямительных установок, например 61, через блок дифференциальных реле будет протекать уравнительный ток к. з. Скорость нарастания этого тока настолько велика, что индуктивное сопротивление дросселя начнет задерживать увеличение тока в цепи (шине), где дроссель установлен. Поэтому основная часть тока к. з. будет протекать по цепи тех катушек реле, которые не имеют дросселя. Эти токи создадут магнитные потоки, разные по величине. Возникает результирующий магнитный поток, который в данном примере в цепи реле 21 будет направлен навстречу магнитному потоку, создаваемому удерживающей катушкой реле. Якорь этого реле отпадет, и его блок-контакты разорвут цепь питания удерживающей катушки главного выключателя. При коротком замыкании в выпрямительной установке 62 сработает реле 22. В этом случае машинист должен отключить выпрямительную установку, в цепи которой произошло короткое замыкание, разъединителями (см. рис. 2) вентилей 81, 83 (82, 84). Защита вспомогательных цепей. Вспомогательные цепи защищены от коротких замыканий токовым реле 113 (см. рис. 10), действующим на отключение ГВ. Для защиты двигателей вспомогательных машин от перегрузки применены тепловые реле 137, 139, 141—148, 153—156, которые отключают соответствующие контакторы. При замыкании вспомогательных цепей на землю срабатывает реле 123, в результате загорается сигнальная лампа. Цепи электрических печей кабины, обмотка 380 в трансформатора ТРПШ, трансформатор ТН-1, обогреватели санузла, трансформаторы напряжения 77, 112, счетчик электроэнергии 103 и вольтметр 97 защищены от токов короткого замыкания предохранителями 114—118, 120—122. В зависимости от времени года необходимо изменять уставку тока срабатывания тепловых реле ТРТ при помощи регулировочного рычажка. Весной и осенью регулировочные рычажки тепловых реле 137,139,141—148,153—156, защищающих ФР, МВ1, МВ4, МН и МК, нужно устанавливать на отметке 0 шкалы уставок реле. Зимой регулировочные рычажки тепловых реле 137, 139, 141—148,153—156 должны стоять на отметке —3. Летом все регулировочные рычажки тепловых реле вспомогательных машин следует ставить на отметку + 3 шкалы уставок реле. Запрещено переводить регулировочный рычажок теплового реле за отметки +3 и —3. На вспомогательную обмотку силового трансформатора включена емкость 172, состоящая из двух параллельно включенных конденсаторов. Включение емкости обеспечивает снижение уровня атмосферных перенапряжений, возникающих во вспомогательных цепях электровоза. ИЗМЕРИТЕЛЬНЫЕ ПРИБОРЫНапряжение на тяговых двигателях измеряют вольтметром 91 (см. рис. 2), подключенным через добавочный резистор 87 к одной из групп двигателей. Вольтметр 91 от коммутационных перенапряжений защищен конденсатором Е7. Ток тягового двигателя / измеряют амперметром 93 с шунтом 89. Для правильных показаний прибора суммарное сопротивление соединительных проводов В66 и $67 должно быть 0,16 ом. Поэтому соединительные провода устанавливают строго определенной длины и сечения. Ток тягового двигателя IV второй секции электровоза измеряют амперметром 94, установленным в кабине машиниста первой секции. Провода от шунта 90 к амперметру 94, проходя между секциями, соединяются высоковольтным штепсельным разъемом 95, 96. Общее сопротивление соединительных проводов В76, В77, В78, В79 и контактов штепсельного разъема равно также 0,16 ом. Следовательно, амперметры 93 и 94 взаимозаменяемы. В случае самостоятельной работы секции электровоза необходимо штепсель 95 вставить в розетку 96 этой секции. Тогда амперметр 94 будет измерять ток тягового двигателя IV своей секции. Активную энергию, потребляемую электровозом, определяют по счетчику 103 (см. рис. 10). Токовая обмотка счетчика (рис. 14) получает питание от трансформатора тока 23, включенного в цепь первичной обмотки силового трансформатора. Трансформатор тока имеет коэффициент трансформации 300/5 а. Обмотка напряжения счетчика включена через предохранитель 122 на выводы х и а5 обмотки собственных нужд, имеющей напряжение 220 в при нагрузке. Следовательно, коэффициент трансформации по напряжению равен 25 000/220 в. Для определения расхода электроэнергии в киловатт-часах необходимо показание пяти указателей (барабанчиков) счетчика умножить на коэффициент 100, при этом автоматически учитываются коэффициенты трансформации по току и напряжению. ![]() Напряжение и ток зарядного агрегата контролируют по вольтметру и амперметру, установленным на распределительном щите 210, и вольтметру 98 (см. рис. 24), расположенному на пульте помощника машиниста; за напряжением контактной сети следят по вольтметру 97 (см. рис. 10). Показания вольтметра действительны в случае включения переключателя 105 на вывод обмотки собственных нужд а.4. СОВЕТЫ ЛОКОМОТИВНОЙ БРИГАДЕ ЭЛЕКТРОВОЗА ВЛ80К1. Порядок приведения электровоза в рабочее состояние Подготовка электровоза к работе заключается в проверке технического состоя-ния оборудования и узлов электровоза, подготовке к проверке электрической схемы, проверке электрической схемы при опущенном и поднятом токоприемнике. Проверка технического состояния оборудования и узлов. Перед проверкой технического состояния оборудования и узлов тщательно осматривают состояние механической и ходовой частей. При осмотре тормозной рычажной передачи обращают внимание на нормальное положение и износ тормозных колодок, башмаков, наличие валиков, шайб, шплинтов и гаек. При осмотре рессорной системы обращают внимание на наличие шплинтов, затяжку гаек, на состояние резиновых шайб и листовых рессор. Проверяют состояние буксовых поводков и крепление их к раме и буксе, бандажей колесных пар на отсутствие трещин, раковин и ползунов. Проверяют крепление предохранительных скоб, кронштейнов, поручней и подножек. Осматривают автосцепку и проверяют дату заправки смазкой кожухов зубчатых передач и моторно-осевых подшипников, наличие смазки в боковых опорах, шкворневом узле, в картерах компрессоров (главного и вспомогательного). Проверяют состояние тяговых двигателей. Производят тщательный внешний осмотр крепления всего оборудования, ап-паратов, проводов, труб пневматической системы, вентилей, выпрямительных установок; проверяют состояние изоляторов на отсутствие сколов и трещин; убеждаются в отсутствии касания наконечников между собой и заземленных деталей проверяют уровень трансформаторного масла и наличие всех предохранителей на панелях аппаратов, распределительном щите, кнопочных выключателях в соот-ветствии с принципиальной электрической схемой. Тщательно осматривают аппараты и другое оборудование. В этом случае проверяют состояние дугогасительных камер, отсутствие касания контактов о стенки камер, целостность гибких шунтов и пружин; убеждаются, что на шинах и выводах аппаратов и радиаторах вентилей ВУ отсутствуют посторонние предметы; проверяют четкость работы аппаратов и их блокировок вручную; переводят рукоятки разобщительных кранов в необходимый режим; проверяют на соответст-вующих аппаратах наличие пломб; проверяют заполнение песочниц песком. Подготовка к проверке электрической схемы. Перед проверкой электрической схемы открывают шторы высоковольтной камеры и устанавливают заземляющую штангу на ввод силового трансформатора; включают: рубильники аккумуляторных батарей на обеих секциях, рубильники трансформаторов, регулируемых подмагничиванием шунтов (ТРПШ), и рубильники цепей управления. В темное время суток включают освещение кабин, машинного помещения, высоковольтных камер и ходовых частей. Перед включением рубильников проверяют величину напряжения на аккумуляторной батарее по вольтметру, находящемуся на распреде-лительном щитке. Если напряжение на батарее низкое, то включают (освещение помещений только на период их осмотра. Необходимо убедиться в отсутствии посторонних предметов в высоковольтной камере. После этого включают крышевые разъединители токоприемников 2 (см. рис. 18), разъединитель 6 (на электровозах ВЛ80к с № 624), включают разъединители вентилей 81—84; включают кнопки кно-почных выключателей 226, 227 (см. рис. 16); проверяют рубильники переключателей 19 и 20, которые должны находиться в нижнем положении, а рубильники переключателей 105 и 111 — в верхнем положении; проверяют положение разъе-динителей секции 126 (см. рис. 19), которые должны быть отключены и запломбированы и положение переключателей режимов, которые должны находиться в положении Рабочий режим электровоза; проверяют по указателям позиции на ЭКГ, что их главные валы находятся на нулевых позициях; восстанавливают вы-павшие флажки на реле перегрузки РП1 — РП4, реле 88, 113 сигнальных реле PC блоков защиты выпрямительных установок. Перед подъемом токоприемника снимают заземляющую штангу, закрывают все шторы и двери высоковольтной камеры, заблокировав их механическими бло-кировками, разблокировывают кнопочные выключатели пульта машиниста, включают кнопку Цепи управления. В зависимости от наличия сжатого воздуха в пневматической системе электровоза выполняют следующее. 1. Если в главных резервуарах давление воздуха выше 3,5 кгс/см2, резер-вуаре ГВ ниже 6 кгс/см2, то доводят давление в резервуаре ГВ с помощью вспомо-гательного компрессора до нужной величины. Для этого, перекрыв краны В2, В5, В8 и В12 (рис. 1) и установив рукоятку трехходовых кранов в рабочее положение, включают вспомогательный компрессор. Когда давление в резервуаре ГВ достигнет 6 кгс/см2, выключают вспомогательный компрессор, открывают краны В2, В5, В8 и кран неработающего токоприемника В1. Затем поднимают токоприемник, включают расщепители фаз, основные компрессоры и откачивают воздух в главных резервуарах до 9 кгс/см2. ![]() Рис. 1. Принципиальная пневматическая схема вспомогательных цепей: 1 — токоприемник; 2 и 4 — соединительные рукава; 3— изолятор проходной; 5 — стеклоочиститель; 6 — кран редукторный; 7 — свисток; 8 — тифон; 9, 17 и 30 — кла-паны электропневматические; 10 — клапан переключательный; 11 — клапан пневматический; 12 — клапан сигнала; 13 я 32 — краны разобщительные; 14 — фильтр контакторный; 15 — регулятор давления; 16 — тормозной цилиндр; 18 и 27 — манометры; 19 и 21 — воздушные резервуары; 20 — клапан обратный; 22 — кран трехходовой; 23 — вспомогательный компрессор; 24 — клапан предохрани-тельный; 25 — редуктор; 26 — главный выключатель; 28 — маслоотделитель; 29 — вентиль защитный; 31 — блокировка пневматическая; 33 — пневматический вы-ключатель управления 2. Если отсутствует воздух в системе управления или давление в главных резервуарах ниже 3,5 кгс/см2, то перекрывают краны В2, В5, В8, В12 и кран нерабо-тающего токоприемника В1. Затем вспомогательным компрессором поднимают давление в резервуаре ГВ до 6 кгс/см2, а в цилиндре токоприемника — до 3,5 кгс/см2. После поднятия токоприемника, не прекращая работы вспомогательного компрессора, включают расщепители фаз и основные компрессоры. Как только в главных резервуарах давление поднимется до 4 кгс/см2, краны В2, В5, В8, В12 открывают после этого отключают вспомогательный компрессор и откачивают воздух в главных резервуарах до 9 кгс/см2. Проверка электрических цепей при опущенном токоприемнике. Проверяют последовательность включения аппаратов секций электровоза из кабин маши-ниста от всех кнопочных выключателей, контроллера машиниста в следующих ре-жимах работы: рабочий режим электровоза, отключение секции электровоза. Аварийный режим работы расщепителей фаз проверяют совместно с мастером при приемке электровоза с планового вида ремонта. Проверяют синхронную работу групповых переключателей из каждой кабины, при ручном и автоматическом наборе и сбросе позиций; проверяют работу радио-станции и локомотивной сигнализации и сигнализации на пульте машиниста. Осматривают оборудование, обеспечивающее безопасность обслуживания. Проверяют надежность работы механических и пневматических блокировок штор высоковольтных камер. Токоприемник может быть поднят только при отключен-ном положении отключателей 19, 20 в обеих секциях, включенных вентилях безо-пасности 104 (см рис. 6, а и б), включенных всех пневматических блокировок, за-крытых шторах (высоковольтных камер обеих секций и замкнутых контактах ре-ле давления 232. Включение отключателей 19, 20, открытие любой из штор любой секции, размыкание контакта реле давления 232 (и размыкание контакта блоки-ровочного устройства 235) исключает подъем токоприемника. Проверяют, можно ли ключи щитков ВВК вынуть из замков только при закрытых дверях и шторах, и убеждаются, что при вынутых ключах открытие дверей и штор ВВК невозможно. Проверяют, можно ли этими ключами зашунтировать контакты реле давления 232, для чего вставляют ключи в замки блокировочного устройства 235, поворачивают их на угол 90°, ручку поворачивают в положение Реле давления зашунтировано, а также проверяют, можно ли открыть замки ящика подкузовных розеток. Проверка электрических цепей при поднятом токоприемнике. После про-ведения всех перечисленных работ и устранения обнаруженных неисправностей снимают заземляющую штангу, закрывают все шторы и двери высоковольтной ка-меры и блокируют механическими блокировками. Разблокировав кнопочные вы-ключатели, устанавливают съемную рукоятку блокировочного устройства 367 в рабочее положение, включают кнопки Цепь управления и Сигнализация. При давлении воздуха в главных резервуарах выше 3,5 кгс/ом2, а в резервуаре главного выключателя не ниже 6 кгс/см2 проверку выполняют в следующем порядке. 1. Поднимают токоприемник нажатием кнопок «Пантографы» и «Пантограф задний» или «Пантограф передний». Перед подъемом токоприемника подают пре-дупредительный сигнал. При включенной кнопке «Пантографы» включается реле 236, которое разрывает цепь отключающего электромагнита, главного выключателя на позициях ГПО—3 вала группового переключателя. 2. Включают кнопку «Включение ГВ» и «Возврат реле» (см. рис. 8, а и б). При этом включается реле 204 в обеих секциях электровоза и получают питание удерживающие катушки реле 21, 22 и главных выключателей 4 уд. Нажатием кнопки «Включение ГВ» и «Возврат реле» включаются главные выключатели, реле 264 и дифференциальные реле 21, 22. Включение главных выключателей контролируют по потуханию красных сигнальных ламп ГВ передней и задней секций. Кроме этого, с включением ГВ подается напряжение 380 В на трансформа-тор питания магнитных усилителей блоков защиты от пробоя. Включается реле РПВ. Включение дифференциальных реле 21, 22 и реле РПВ блоков защиты от пробоя контролируется по потуханию красных сигнальных ламп ВУ передней и задней секций. Наличие напряжения на силовом трансформаторе и величину на-пряжения в контактной сети контролируют по вольтметрам 97. По потуханию красной сигнальной лампы ЗБ убеждаются, что аккумуляторная батарея включена на подзарядку. Нажатием кнопки «Фазорасщепители» запускают расщепители фаз. По заго-ранию зеленой сигнальной лампы ФР убеждаются, что запуск расщепителей фаз обеих секций закончен и разрешено включение вспомогательных машин. После включения кнопок вспомогательных машин по потуханию красных сиг-нальных ламп убеждаются, что включены контакторы вентиляторов тяговых двигателей в обеих секциях (по лампе В); контакторы масляных насосов трансформаторов в обеих секциях (по лампе ТР); контакторы вентиляторов охлаждения выпрямительных установок (по лампе ОВУ). Переводят главную и реверсивную рукоятки контроллера машиниста с ну-левого в одно из рабочих положений. При этом по потуханию красных сигналь-ных ламп ТД убеждаются, что включились линейные контакторы 51—54. Затем проверяют работу токоприемников и главного выключателя. При проверке цепи управления вольтметры должны показывать напряжение 50±2,5В, а амперметр — величину тока заряда аккумуляторной батареи. Проверяют также прожектора, бу-ферные и сигнальные фонари с обеих сторон электровоза, песочницы при управ-лении из обеих кабин, автоматический и прямодействующий тормоз в соответствии с действующей Инструкцией ЦВ-ЦТ-ЦЛ ВНИИЖТ №277. В зимних условиях при низкой температуре воздуха для обеспечения четкой работы оборудования принимают ряд дополнительных мер. При температуре воздуха ниже — 35°С возможно застывание масла в систе-ме охлаждения трансформатора, поэтому начинать работу электровоза следует при замкнутой кнопке «Низкая температура масла» и выключенной кнопке «Мотор-насос трансформатора». После нагрева масла в трансформаторе от +20 до +30°C включают кнопку «Мотор-насос трансформатора» и отключают кнопку «Низкая температура масла». Включают кнопкой «Обогрев компрессора» обогреватель его картера; если запуск мотор-компрессора все-таки затруднен, то проворачивают его вал на два-три оборота вручную. Включают кнопкой «Обогрев кранов» на кнопочном выключателе 227 обог-реватели спускных кранов продувки. Включают кнопкой «Обогрев санузла» на кнопочном выключателе 226 второй секции обогреватель бака санузла. Включают «Обогреватель ЭКГ» при температуре окружающего воздуха от —20 до—50°С и оставляют включенными на всевремя работы. Включение нагре-вателя при температуре окружающего воздуха выше —20°С недопустимо. 2. Приемка электровоза локомотивной бригадой В обязанности локомотивной бригады входит систематический осмотр электровоза перед отправлением его с составом, на промежуточных остановках, в пути следования и особенно при приемке электровоза из депо, пункта технического осмотра и смене бригад на станционных путях без отцепки электровоза oт состава. Так как при сменном способе обслуживания локомотивов и работе их на длин-ных тяговых плечах время на смену бригад и приемку электровозов ограничено, то машинисты и их помощники должны рационально использовать время, для опре-деления технического состояния электровоза и подготовки его к дальнейшей работе. Рекомендуется следующий порядок приемки электровоза локомотивной бригадой при безусловном соблюдении положений инструкции по тормозам ЦВ-ЦТ-ЦЛ-ВНИИЖТ № 277 Приемка электровоза на станциях без отцепки от поезда. Перед приемкой электровоза машинист лично просматривает «Журнал технического состояния электровоза» (форма ТУ-152) и проверяет по нему наличие, отметки или штампа о проверке автостопа (АЛСН) и радиосвязи, времени производства последнего технического осмотра, заправки моторно-осевых подшипников, выполнения служебного ремонта сдающей локомотивной бригадой. Машинист знакомится со всеми замеча-ниями по работе электровоза, просматривает скоростемерную ленту прибывшего машиниста, обращает внимание на наличие юза колесных пар, работу АЛСН и эффективность действия автотормозов. Помощник машиниста в это время проверяет исправность и дату проверки защитных средств, комплектность сигнальных принадлежностей. При достижении давления в главных резервуарах 8—9 кгс/см2 выключают все вспомогательные машины, главный выключатель и опускают токо-приемник. Убедившись в том, что токоприемник опустился, блокируют пульт управления, ставят рукоятку крана машиниста в третье положение, а рукоятку крана усл. № 254 — в шестое положение, после чего машинист и помощник выходят в машинное помещение для осмотра оборудования. Не открывая штор и дверей высоковольтной камеры, машинист наружным осмотром через сетки ВВК проверяет положение сигнальных флажков РП1 — РП4, РЗ и реле 113, состояние блоков силовых аппаратов, силового трансформа-тора, аппаратов панелей № 1 — № 4. Особое внимание машинист обращает на состояние изоляторов трансформаторов, шунты контакторов, подводящих шин. Следит, чтобы не было следов подгаров и оплавлений. Помощник машиниста в это время проверяет температуру и уровень масла в силовом трансформаторе, картерах компрессоров, состояние и дату проверки огнетушителей, концевых рукавов, наличие антиаварийной смазки, сверяет количество тормозных башмаков и инструмента с описью. Машинист, убедившись в остановке вспомогательных машин, открывает што-ры высоковольтной камеры, снимает емкостные заряды и навешивает заземляю-щую штангу на высоковольтный ввод трансформатора. В высоковольтной камере продувает резервуар ГВ, для чего закрывает кран В7 и открывает кран С. После этого закрывает кран С и открывает кран В7. В момент наполнения воздухом ре-зервуара ГВ проверяет включение автомата минимального давления (АМД) глав-ного выключателя, осматривает контакторы ЭКГ без дугогашения и проверяет со-стояние узлов и аппаратов, по которым имеются записи в Журнале технического состояния электровоза. Помощник машиниста проверяет уровень смазки в картере компрессора, ко-торый должен быть не ниже контрольной риски. При выходе из высоковольтной камеры проверяется напряжение аккумуляторной батареи, исправность работы вспомогательного компрессора путем его включения, правильность положения, рукояток кранов пневматической цепи и на-личие песка в бункерах. Закончив проверку первой секции, машинист вместе с помощником машиниста аналогичным образом, но при открытых шторах высоковольтной камеры прове-ряют вторую секцию. После проверки обеих секций и устранения обнаруженных неисправностей высоковольтные камеры на обеих секциях закрываются и блокируются. При заблокированных высоковольтных камерах проверяют работу обоих токоприемников на подъем и опускание. После включения главного выключа-теля проверяют работу расщепителей фаз и вспомогательных машин. После вклю-чения компрессоров обращают внимание на их производительность. В тех случаях, когда приемка электровоза на станционных путях совмещена с экипировкой, машинист проверяет состояние крышевого оборудования, обращая особое внимание на исправность полозов токоприемников, чистоту и целостность изоляторов, отсутствие подгаров на ножах разъединителя главного выключателя, крепление шин и шунтов. При достижении давления в главных резервуарах 9 кгс/см2 машинист ставит рукоятку крана машиниста в первое, а затем в поездное положение. Проверяет ра-боту ЭКГ, переключение реверсоров, включение линейных контакторов и дейст-вие песочниц. Помощник машиниста в это время проверяет ток зарядки аккумуля-торных батарей, продувает главные резервуары, отстойники и грязесборники. При осмотре механической части проверяют состояние бандажей колесных пар остукиванием молотком и визуально на отсутствие ослабления, расслоения, рако-вин, ползунов и подрезов гребней; 1. Рессорное подвешивание, обратив внимание на наличие шплинтов, крепление стопорных планок и отсутствие сдвига листов рессор; 2. Крепление буксовых поводков к раме и буксе и отсутствие трещин в их приливах, состояние автосцепки; 3. Тормозную рычажную передачу, обратив внимание на толщину тормозных колодок, выход штоков тормозных цилиндров, наличие валиков, шайб и шплинтов; 4. Крепление предохранительных скоб и поводков, регулировочных болтов и песочных труб, отсутствие течи масла из кожухов, зубчатой передачи и моторно-осевых подшипников, уплотнение смотровых люков тяговых двигателей. После осмотра механической части продувают тормозную магистраль, прове-ряют наличие пломб на ЭПК, ящике дешифратора, скоростемере, локомотивном светофоре и устройстве рукоятки бдительности. Проверяют плотность тормозной, напорной магистрали и действие радиостанции. Обнаруженные в процессе осмотра неисправности устраняют принимающая и сдающая бригады. Приемка электровоза после технического обслуживания (ТО-2) производится так же, как и на путях станции. При этом особое внимание обращается на устранение неисправностей, записанных в «Журнале технического состояния электровоза» (ТУ-152). Например, при замене тормозной колодки проверяют постановку чеки и правильность регулировки тормозной передачи, а при заправке мотор-но-осевых подшипников — закрепление крышек шапок моторно-осевых подшипни-ков. Локомотивная бригада проверяет правильность положения всех рубильни-ков и кранов воздухопроводов, наличие стандартных предохранителей, наличие достаточного уровня смазки t в картерах компрессоров, проверяет, полностью ли заполнены песочные буккеры, регулировку подачи песка под колесные пары и наличие пломб на форсунках песочниц. Кроме этого, машинист электровоза прове-ряет работу электрической схемы при опущенном и поднятом токоприемнике. Приемка электровоза после планового ремонта (ТР) производится в таком же объеме, как и после технического обслуживания (ТО-2) с выполнением ряда до-полнительных работ. Проверяют правильное положение рубильников переключателей 19, 20, 105, 111, 126, ножей разъединителей вентилей 81— 84, а также крышевых разъединителей 2 и 6 (см. рис. 18 и 19). Убеждаются в отсутствии посторонних предметов в высоковольтных каме-рах. Локомотивной бригаде запрещается выезжать из основного депо при не-укомплектованности электровоза исправным инструментом и инвентарем. Машинист электровоза обязан проверить работу компрессоров, пневматической цепи и автотормозов в соответствии с инструкцией ЦВ-ЦТ-ЦЛ ВНИИЖТ № 277, а также работу электрической цепи при опущенном и поднятом токоприем-нике. Приемка электровоза после отстоя по неравномерности движения поездов. В летний период приемка электровоза локомотивной бригадой после отстоя по не-равномерности движения производится так же, как и после планового вида ремонта или осмотра. В зимнее время года проверяют, нет ли снега или льда в тяговых двигателях и инея на коллекторах. Два тяговых двигателя обычно проверяют через верхние смотровые люки. При наличии снега или льда хотя бы в одном из тяговых двигателей проверяют состояние всех тяговых двигателей после постановки электровоза на смотровую канаву. При наличии снега, льда в тяговом двигателе или инея на коллекторе следует действовать так, как установлено техническими указаниями № 364-ЦТЭ от 1971 г. Сдача электровоза. При смене локомотивных бригад на станционных путях сдающая бригада готовит электровоз к сдаче, а при наличии неисправностей или ненормальной работе оборудования электровоза бригада устраняет их, о чем делает запись в «Журнале технического состояния электровоза». Сдающая бригада очищает от грязи и снега ходовые части, внутреннее обору-дование электровоза и выполняет служебный ремонт согласно перечню, установ-ленному службой локомотивного хозяйства. Если в процессе сдачи электровоза обнаруживаются какие-либо неисправности, то они должны быть устранены силами сдающей и принимающей бригад. При постановке электровоза в депо или пункте оборота в резерв по не-равномерности движения затормаживают электровоз ручным тормозом, выключают и блокируют все кнопки кнопочных выключателей в кабинах, выпускают воздух из тормозной системы, а разобщительные краны у крана машиниста перекрывают, закрывают разобщительный кран воздухораспределителя и выпускают воздух из запасного резервуара; перекрывают резервуар токоприемника, предварительно зарядив его до давления напорной магистрали; из резервуаров-сборников выпускают конденсат; выключают рубильники на распределительном щитке. При уходе с электровоза запирают входные двери, а ключи от дверей вместе с реверсивной рукояткой и ключами КУ передают дежурному по депо. См. также Документация по электровозу ВЛ80К Медиа |
|
|
||||
| Тема | Автор | Раздел | Ответов | Последнее сообщение |
| Документация по электровозу ВЛ80К | Admin | Тяговый подвижной состав | 2 | 03.11.2015 14:37 |
| Возможно вас заинтересует информация по следующим меткам (темам): |
|
,
,
,
|
| Здесь присутствуют: 1 (пользователей: 0 , гостей: 1) | |
|
|




