СЦБИСТ - железнодорожный форум, блоги, фотогалерея, социальная сеть
Вернуться   СЦБИСТ - железнодорожный форум, блоги, фотогалерея, социальная сеть > Энциклопедия СЦБИСТа > Wiki
Закладки Поддержка Сообщество Комментарии к фото Сообщения за день
     
 
Translate to English В мои закладки Подписка на тему по электронной почте Отправить другу по электронной почте Инструменты Статьи Поиск в этой Статье
  #1  

По умолчанию ЕДЦУ

ЕДЦУ - автоматизированные центры диспетчерского управления дорог

Внедрение новых технических средств, используемых в управлении поездной работой, потребовало перестройки системы диспетчерского руководства, изменения структуры, форм и методов работы диспетчерского аппарата. В связи с этим в настоящее время на сети дорог создаются десятки центров диспетчерского управления, в состав которых входят диспетчерские участки. Главная цель создания дорожных ЕДЦУ — непрерывное, сквозное диспетчерское руководство поездной и грузовой работой в управлениях дорог. При этом в основу создания ЕДЦУ положены следующие принципы:

1) полное и эффективное использование имеющихся на полигоне технических средств управления;

2) наличие собственной базы для всех видов ремонта и технического обслуживания локомотивов и вагонов;

3) наличие внутри каждого полигона сортировочных и технических станций, обеспечивающих устойчивую переработку вагонопотоков;

4) для качественного и своевременного оперативного планирования поездной работы и формирования вагонопотоков расстояние от центра диспетчерского управления до сортировочных станций целесообразно устанавливать в пределах 150—200 км;

5) удлинение гарантийного участка проследования вагонов без технического обслуживания до 500—600 км;

6) максимальное освоение грузового потока, зарождающегося внутри полигона, обслуживаемого ЕДЦУ, то есть обеспечение погрузки собственными ресурсами;

7) обеспечение максимально возможного совмещения границ полигона, обслуживаемого ЕДЦУ, и участков работы локомотивов и локомотивных бригад.

Уже сегодня ЕДЦУ успешно функционируют на Восточно-Сибирской, Горьковской, Северной, Приволжской, Московской, Куйбышевской дорогах. Они позволили не только сконцентрировать управление таким большим полигоном, как дорога, в едином центре, но и дали возможность изучить и проанализировать этот процесс, сформулировать и на практике проверить требования, предъявляемые к программным средствам, системам передачи данных, оборудованию станционных устройств, разработать прикладные программы.

Вся система ЕДЦУ отличается высокой надежностью в эксплуатации и экономичностью по энергопотреблению.

Автоматизация управления обеспечивает поддержание заданной участковой скорости, введение и отмену поездов в плановом графике движения, соблюдение ограничений скорости движения по участкам и повышение безопасности движения поездов. Вся поездная обстановка на любом участке четко вырисовывается на экране монитора. На него можно вывести схему конкретной станции с указанием занятости путей. Цифровая диспетчерская связь позволяет четко передавать команды, принимать информацию от машинистов, дежурных по станциям. В результате сокращается диспетчерский аппарат, высвобождаются ДСП ряда станций. Новая вычислительная техника и современные виды связи на 30 % снижают напряженность в работе диспетчера и более надежны с точки зрения обеспечения безопасности движения поездов.

В настоящее время идет становление системы ЕДЦУ и каждая дорога проверяет свои методы совершенствования управления движением поездов на участке. Так, на Северо-Кавказской железной дороге в 2000 г. принята комиссией МПС в опытную эксплуатацию информационно-управляющая система ДЦ-Юг. Она предназначена для решения задач диспетчерской централизации стрелок и сигналов раздельных пунктов управления в пределах диспетчерских участков, автоматизации основных функций ДНЦ и повышения эффективности управления на основе применения современных средств телемеханики. Органически интегрированы автоматическая система управления и автоматизированная информационная система. ДЦ-Юг построена по иерархическому принципу и представляет собой двухуровневую систему, включающую диспетчерский пункт управления на верхнем уровне и контролируемые пункты управления на промежуточных станциях и разъездах (нижний уровень).

Информационно-управленческая система разработана с участием специалистов дороги и НПП «Промавтоматика». Система обеспечивает регистрацию, отображение, учет и анализ движения поездов, а также диспетчерское руководство и управление на участках и станциях.

Системный журнал обеспечивает восстановление произошедших событий, хранит и расшифровывает информацию о свершившихся событиях с устройствами СЦБ и подвижными единицами.

Информация из системного журнала используется для построения графика исполненного движения.

Перед передачей маршрутной команды телеуправления в канал ТУ АРМ проверяет правильность задания команды и выдает предупреждение ДНЦ при ошибочных действиях. После выдачи предупреждения ДНЦ остается возможность либо отменить задание, либо продолжить его выполнение. В АРМ ДНЦ решена проблема подачи ответственных команд. Разработана система диагностики технических средств. Она позволяет прогнозировать выход из строя даже тех из них, которые еще функционируют.

Ныне действующие средства СЦБ не позволяют обеспечить стопроцентное ведение ниток графика исполненного движения (ГИД) поездов по перегонам и станциям, поэтому создан удобный интерфейс для ликвидации пропусков ведения движения поездов.

Предусмотрен ручной способ взятия под контроль подвижных единиц в неконтролируемой зоне.

Разработанная система ДЦ-Юг может стать основной для дальнейшего развития и совершенствования ЕДЦУ.

На данном этапе развития ЕДЦУ рабочее место главного диспетчера дороги оснащено информационным табло, видеотерминальным оборудованием, которое позволяет вводить необходимые запросы в АСОУП, АСУСС и другие информационные системы. Главный диспетчер может получить в любой момент на дисплей или в распечатанном виде график исполненного движения (ГИД) любого диспетчерского участка, данные о положении в парках сортировочных станций, работе горок, размещении локомотивов и т.п. С помощью компьютерных средств можно планировать и организовывать работу локомотивов и локомотивных бригад на полигонах дороги, контролировать использование локомотивов, а также рабочего времени локомотивных бригад, оперативно регулировать дислокацию локомотивного парка на полигонах дороги и в районах управления с учетом обращения локомотивов и депо их приписки. На новом уровне рассчитывается сменно-суточный план эксплуатационной работы дороги, то есть осуществляется составление сменно-суточного плана для районов управления и дороги; введен оперативный контроль за его выполнением. Информационное обеспечение сменно-суточного планирования направлено на организацию взаимодействия поездных диспетчеров при выполнении плана эксплуатационной работы.

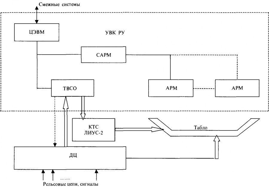
Сменно-суточное планирование предусматривает составление плана работы дороги и районов управления на смену и сутки; контроль за выполнением планов погрузки-выгрузки, обмена вагонами и поездами, развоза местного груза; обеспечение взаимодействия диспетчеров ЕДЦУ (рис. 7.1.1).

Комплекс технических средств ЕДЦУ обеспечивает слежение за поездной ситуацией, полноту и конкретность получаемой информации и отслеживает перемещение поездных единиц в пределах обслуживаемого полигона. На основе функционирующей в реальном масштабе времени динамической модели перевозочного процесса в автоматическом режиме ведется и отображается на цветном дисплее график исполненного движения (ГИД). Анализ выполнения ГИД автоматизирован, и результаты анализа выдаются в конце смены или в любой момент по запросу.

Ведущую роль в предоставлении диспетчерам визуальной информации играет табло-мнемосхема. Номера поездов в управляющий информационно-технический комплекс в полуавтоматическом режиме вводят смежные системы (технические средства других районов центра; АСОУП, взаимодействующая с АСУСС; операторы и диспетчеры).

Концепция управления эксплуатационной работой на дороге в ЕДЦУ полностью соответствует принятой новой схеме управления железнодорожным транспортом. Для дальнейшего развития этого перспективного направления разработаны единые требования к ЕДЦУ и задания на их проектирование.


Рис. 7.1.1. Конфигурация управляющего информационно-вычислительного комплекса УВК района управления РУ

Уровень оперативного управления перевозочным процессом в ЕДЦУ во многом определяется эффективностью использования средств информатизации. Переход от информационных систем к управляющим должен предусматривать последовательное наращивание функциональных возможностей и включает такие этапы, как:

1) автоматизация сбора информации и отображения поездной ситуации;

2) прогнозирование поездной ситуации на 3, 4, 6, 12 часов вперед;

3) автоматизация принятия решений по недопущению затруднений в поездной работе;

4) оптимизация регулировочных мер, система поддержки принятия решений.

Первый этап обеспечивает диспетчеру контроль и отображение состояния устройств СЦБ, отслеживание поездной ситуации, автоматизацию задания маршрутов следования поездов, ведение ГИД и приложений к нему, анализ выполнения графика, слежение за местонахождением и режимом работы локомотивов и локомотивных бригад.

Задачи второго этапа — построение прогнозного графика движения поездов, выявление затруднений в пропуске поездов и приеме их станциями, обеспечение локомотивами и локомотивными бригадами составов, готовых к отправлению, на основе имитационного моделирования поездной работы.

Третий этап — выдача рекомендаций по вводу поездов в ГИД, оптимальному скрещению и обгону поездов, регулировочным мерам по недопущению или ликвидации затруднений в пропуске поездов.

Для дорожного диспетчера решение задач первого этапа должно обеспечивать ведение сокращенного графика (ГИД), определение поездного положения непрерывно и по трехчасовым периодам на полигоне дороги и прилегающих участках; второго этапа — прогнозирование поездного положения на 3, 4, 6, 12 часов вперед, выявление затруднений в пропуске поездов, приеме их на станции, вывозе со станции готовых к отправлению поездов, своевременное обеспечение составов локомотивами и бригадами; третьего этапа — выдачу рекомендаций по распределению поездопотоков на разветвленных полигонах в соответствии с пропускной способностью участков и регулирование парка локомотивов и локомотивных бригад, а также регулировочным мерам для недопущения или ликвидации затруднений в поездной и грузовой работе.

В связи с перечисленными задачами диспетчерского управления на дороге важная роль отводится узловому диспетчеру. Обязанностью узлового диспетчера является планирование составообразования на 3—12 часов вперед, подвод поездов к узлу, обеспечение вывоза поездов из узла локомотивами и локомотивными бригадами и обеспечение беспрепятственного пропуска поездов. Узловой диспетчер осуществляет планирование на основе сокращенных графиков ГИД, которые заполняют схему поездного положения на участках, протяженность которых позволяет планировать подвод поездов к узлу на 12 часов вперед. На глубину прогноза не должно влиять близкое расположение стыкового пункта с соседней дорогой. При этом необходимо обмениваться с соседней дорогой сведениями о поездном положении на прилегающих направлениях. Такой опыт накоплен на дорогах Сибири и Дальнего Востока. Например, Восточно-Сибирская дорога по трехчасовым периодам получает информацию о поездном положении с соседних Красноярской и Забайкальской дорог.

Дорожные центры управления позволяют повысить достоверность, наглядность и ускорить получение данных о поездном положении на рабочем месте ДСГ. Узловой ДСГ на основании поездного положения каждые 3 часа планирует подвод поездов к узлам на 12 часов вперед. Такая глубина прогноза необходима для своевременного принятия регулировочных мер. Планирование подвода поездов к узлу позволяет определить объем предстоящей переработки транзитных вагонов и сопоставить ее с техническими возможностями станций. Это дает возможность при необходимости своевременно отклонить часть поездопотока на параллельные и кружные ходы и установить очередность подвода к узлу поездов разных категорий с вагонами различных направлений. По каждому направлению планы подвода поездов к узлу и поездообразования должны быть сбалансированы на планируемый период времени. Для своевременного обеспечения составов локомотивами целесообразно иметь в узле неснижаемое их количество по каждому участку обращения, которое определяется произведением времени оборота локомотивов в узле на число поездов, отправляемых в этот период. На основе потребности в локомотивах определяется число локомотивных бригад.

Для контроля за обеспечением поездов локомотивными бригадами нарядчик депо должен передавать ДСГ наряд явки бригад на предстоящую смену с разбивкой на трехчасовые периоды. Исходя из прогноза подхода поездов, поездообразования, обеспечения составов локомотивами и локомотивными бригадами ДСГ дает указания ДНЦ прилегающих участков о порядке и очередности подвода поездов различных назначений к узлу.

Таким образом, создание ЕДЦУ на дороге — это новое направление технического прогресса на железнодорожном транспорте, позволяющее внедрять интенсивную технологию перевозочного процесса.




ЕДИНЫЙ ДИСПЕТЧЕРСКИЙ ЦЕНТР УПРАВЛЕНИЯ перевозочным процессом (ЕДЦУ) введен в эксплуатацию в 2000-м году. Основная задача ЕДЦУ (в обиходе его называют ЦУП - центр управления перевозками) - централизация управления движением поездов в пределах всей дороги. Структура ЦУПа предусматривает управление всеми диспетчерскими кругами по организации движения поездов и участками энергоснабжения всех трех отделений из единого центра. Такая централизация немыслима без соответствующего технического обеспечения. В ЦУПе применена самая современная техника для оперативно-технологической связи и для оснащения рабочих мест диспетчеров, где задействованы информационные технологии с применением локальных вычислительных сетей и компьютеров. Основным условием диспетчерской работы является качественная связь со всеми раздельными пунктами, станциями, локомотивными депо, отделениями. Для оперативного управления центром смонтирована телефонная станция емкостью 500 номеров. Рабочие места всех диспетчеров оснащены компьютерными системами телеконтроля за состоянием объектов управления (а это стрелки, сигналы, пути, переезды, разъединители, участки контактной сети и ЛЭП, трансформаторы и т.д.) и телеуправления этими объектами. Высокое качество и надежность связи обеспечил ввод в эксплуатацию волоконнооптической линии связи (ВОЛС). С вводом ЕДЦУ в эксплуатацию решаются следующие задачи: автоматизированное ведение графика исполненного движения поездов, сокращение обслуживающего персонала, снижение эксплуатационных расходов на обслуживание.


Редакторы: Admin
Создано Admin, 13.02.2012 в 17:05
Последнее редактирование Admin, 06.02.2013 в 15:57
1 Комментария , 13520 Просмотров
Похожие темы
Тема Автор Раздел Ответов Последнее сообщение
Защита сегментов СПД ОТН при взаимодействии ЕДЦУ железных дорог Admin xx3 0 03.06.2011 19:52

 

Возможно вас заинтересует информация по следующим меткам (темам):
,


Здесь присутствуют: 1 (пользователей: 0 , гостей: 1)
 

Ваши права в разделе
Вы можете создавать новые темы
Вы не можете отвечать в темах
Вы не можете прикреплять вложения
Вы можете редактировать свои сообщения

BB коды Вкл.
Смайлы Вкл.
[IMG] код Вкл.
HTML код Выкл.
Trackbacks are Вкл.
Pingbacks are Вкл.
Refbacks are Выкл.



Часовой пояс GMT +3, время: 00:26.

Яндекс.Метрика Справочник 
сцбист.ру сцбист.рф

СЦБИСТ (ранее назывался: Форум СЦБистов - Railway Automation Forum) - крупнейший сайт работников локомотивного хозяйства, движенцев, эсцебистов, путейцев, контактников, вагонников, связистов, проводников, работников ЦФТО, ИВЦ железных дорог, дистанций погрузочно-разгрузочных работ и других железнодорожников.
Связь с администрацией сайта: admin@scbist.com
1 2 3 4 5 6 7 8 9 10 11 12 13 14 15 16 17 18 19 20 21 22 23 24 25 26 27 28 29 30 31 32 33 34 
Powered by vBulletin® Version 3.8.1
Copyright ©2000 - 2026, Jelsoft Enterprises Ltd.
Powered by NuWiki v1.3 RC1 Copyright ©2006-2007, NuHit, LLC Перевод: zCarot