СЦБИСТ - железнодорожный форум, блоги, фотогалерея, социальная сеть
Вернуться   СЦБИСТ - железнодорожный форум, блоги, фотогалерея, социальная сеть > Уголок СЦБИСТа > Распоряжения и приказы, стандарты > Указания ГТСС
Закладки ДневникиПоддержка Сообщество Комментарии к фото Сообщения за день
Ответить в этой теме   Перейти в раздел этой темы    
 
В мои закладки Подписка на тему по электронной почте Отправить другу по электронной почте Опции темы Поиск в этой теме
Старый 04.08.2013, 23:11   #1 (ссылка)
Crow indian
 
Аватар для Admin

Регистрация: 21.02.2009
Возраст: 40
Сообщений: 30,063
Поблагодарил: 398 раз(а)
Поблагодарили 5988 раз(а)
Фотоальбомы: 2580 фото
Записей в дневнике: 698
Репутация: 126089

Тема: № 1247/1817 - Дополнение к указанию 1247/1814 «О включении повторителей в схеме реле ЧРУ»


№ 1247/1817 - Дополнение к указанию 1247/1814 «О включении повторителей в схеме реле ЧРУ»


18 июня 2013

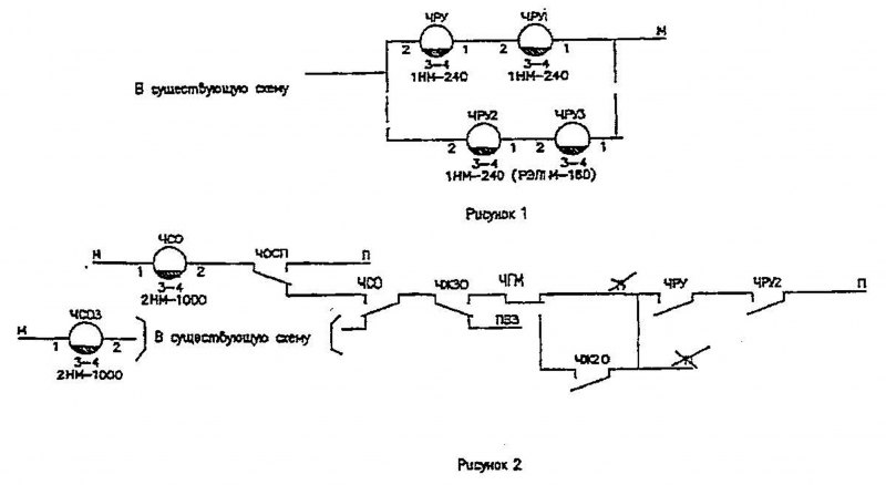
1. В связи с поступающими запросами с дорог о включении повторителей в схеме реле ЧРУ (НРУ), если их число превышает одно реле, институт разъясняет, что при включении повторителя ЧРУ (НРУ) следует стремиться, чтобы число дополнительных реле не превышало одно ЧРУ1 (НРУ1) и тогда их следует включать по указанию 1247/1814.

Однако, в тех случаях, когда число повторителей реле ЧРУ (НРУ) превышает одно реле ЧРУ2(НРУ2),ЧРУЗ(НРУЗ) и т.д., тогда в действующих устройствах их следует включать параллельно - рисунок

1 и проверять в схеме включения реле ЧСО (НСО) - рисунок 2 и реле ЧС (НС) - рисунок 3.


Схема приведена для ТМП МРЦН-10 альбома 3, а для альбомов ЭЦ-12-90, ЭЦ-12-2000, ЭЦ-12-2003 тип реле ЧС (НС) - 1Н-1350.

Кроме того для ЭЦ, выполненных по альбомам ЭЦ-12-90, ЭЦ-12-2000, ЭЦ-12-2003, в этом случае надо изменить схему включения и тип реле ЧОСЩНОСП) на АНШМ2-310, а для ТМП МРЦН-10 альбом 3 включать реле ЧОСЩНОСП) через контакт ЧС1 (НС1) , ЧС2 (НС2) повторителя основного сигнального реле - рисунок 4


В тех случаях, когда повторители реле ЧРУ(НРУ), ЧРУ1 (НРУ1) и другие включены в действующих устройствах по отдельной схеме или параллельно основному реле , то чтобы не заменять тип реле и не менять тип штепсельной розетки, разрешается сохранять существующую схему включения основного реле и его повторителей, но при этом проверить срабатывание этих реле в схеме реле ЧСО (НСО) - рисунок 2 и реле ЧС (НС) - рисунок 3.




2. В случае, если повторитель (повторители) реле ЧРУ (НРУ) включены в другом модуле (здании), то следует из другого модуля включить реле повторитель ЧРУ2(НРУ2) - рисунок 5 и проверить его в схеме включения реле ЧСО (НСО) - рисунок 2, ЧС (НС) - рисунок 3.


3. При новом проектировании институт рекомендует включать низкоомные повторители ЧРУ (HPУ) последовательно с резистором С5-35В мощностью не менее 10Вт (рисунок 6) . Номиналы сопротивлений для различного количества повторителей реле ЧРУ (HP У) приведены в таблице 1,


В случае, если повторитель (повторители) реле ЧРУ (НРУ) включены в другом модуле (здании), то следует повторители включать по рисунку 5 и проверять в схеме включения реле ЧСО (НСО) -рисунок 2 и реле ЧС (НС) - рисунок 3.
Указание утверждено Управлением автоматики и телемеханики ЦДИ филиала ОАО «РЖД» письмом ХгЦШТех- 12/87 от 03.06.2013г.
Admin вне форума   Цитировать 12
Похожие темы
Тема Автор Раздел Ответов Последнее сообщение
Работа по указанию ГТСС 1247/1707 ШНС СЦБ Схемная группа 43 28.09.2022 19:50
2010 год (1247/1717 ÷ 1247/1725) savage Указания ГТСС 3 24.01.2016 16:45
РАБОТА ПО УКАЗАНИЯМ 1247/1780, 1247/1789, 1247/1788 ШНС СЦБ Лаборатория СЦБ 16 30.04.2012 06:29
1994 год (1247/1306 ÷ 1247/1331) Толян Указания ГТСС 0 03.08.2010 23:22
1993 год (1247/1281 ÷ 1247/1305) Толян Указания ГТСС 0 03.08.2010 12:16

Ответить в этой теме   Перейти в раздел этой темы   Translate to English


Здесь присутствуют: 1 (пользователей: 0 , гостей: 1)
 

Ваши права в разделе
Вы не можете создавать новые темы
Вы не можете отвечать в темах
Вы не можете прикреплять вложения
Вы не можете редактировать свои сообщения

BB коды Вкл.
Смайлы Вкл.
[IMG] код Вкл.
HTML код Выкл.
Trackbacks are Вкл.
Pingbacks are Вкл.
Refbacks are Выкл.



Часовой пояс GMT +3, время: 06:48.

Яндекс.Метрика Справочник 
сцбист.ру сцбист.рф

СЦБИСТ (ранее назывался: Форум СЦБистов - Railway Automation Forum) - крупнейший сайт работников локомотивного хозяйства, движенцев, эсцебистов, путейцев, контактников, вагонников, связистов, проводников, работников ЦФТО, ИВЦ железных дорог, дистанций погрузочно-разгрузочных работ и других железнодорожников.
Связь с администрацией сайта: admin@scbist.com
1 2 3 4 5 6 7 8 9 10 11 12 13 14 15 16 17 18 19 20 21 22 23 24 25 26 27 28 29 30 31 32 33 34 
Powered by vBulletin® Version 3.8.1
Copyright ©2000 - 2026, Jelsoft Enterprises Ltd.
Powered by NuWiki v1.3 RC1 Copyright ©2006-2007, NuHit, LLC Перевод: zCarot