СЦБИСТ - железнодорожный форум, блоги, фотогалерея, социальная сеть
Вернуться   СЦБИСТ - железнодорожный форум, блоги, фотогалерея, социальная сеть > Техника > Уголок радиолюбителя
Уголок радиолюбителя Форумы любителей электроники. См. также Железнодорожная связь, Электронная аппаратура ЖАТ
Закладки ДневникиПоддержка Сообщество Комментарии к фото Сообщения за день
Ответить в этой теме   Перейти в раздел этой темы   Translate to English    
 
Translate to English В мои закладки Подписка на тему по электронной почте Отправить другу по электронной почте Опции темы Поиск в этой теме
Старый 08.10.2015, 00:41   #1 (ссылка)
V.I.P.
 
Аватар для poster333

Регистрация: 14.05.2015
Сообщений: 255
Поблагодарил: 0 раз(а)
Поблагодарили 8 раз(а)
Фотоальбомы: не добавлял
Репутация: 0

Тема: [07-2015] Индикатор настройки передатчика на основе "зелёного глаза"


Индикатор настройки передатчика на основе "зелёного глаза"

С. КОМАРОВ, г. Москва

Одна из задач при конструировании радиопередатчика — разработка удобного индикатора настройки. Далеко не всегда для этого нужен стрелочный прибор, чаще вполне достаточно индикатора типа "Больше — Меньше", функцию которого с успехом может выполнить вакуумный электронно-световой индикатор. Вторая задача — как максимально просто оценить ток антенны, не "отъедая" при этом мощности от выходного сигнала? В статье описан изящный вариант решения этих задач.

Предлагаемыи индикатор предназначен для радиопередатчиков диапазонов НЧ, СЧ и нижней части ВЧ (приблизительно до 10 МГц), преимущественно работающих на открытые проволочные антенны, которые подключаются непосредственно к антенной клемме без фидерного тракта. Помимо тока антенны, при эксплуатации передатчика представляет интерес уровень сигнала модуляции. Особенно это актуально для АМ-передатчиков.

Схема устройства представлена на рис. 1. Оно состоит из датчика тока антенны (элементы Т1, R7, 04, VD2) и собственно индикатора (все остальные), который, в свою очередь, содержит два канала индикации ("Ток модуль антенны" и "Модуляция"), переключаемые тумблером SA1. Модулирующее напряжение на индикатор можно взять с отвода модуляционного трансформатора или с экранирующей сетки лампы выходного каскада передатчика.

Резисторами R4 и R5 подбирают чувствительность каналов индикации. В канале тока антенны максимальные показания индикатора должны соответствовать рабочему току при минимальном значении активного сопротивления нагрузки, на которое рассчитан передатчик. Как правило, у самых плохих используемых в любительской практике антенн ("верёвка") это значение лежит в пределах 10... 18 Ом (для примера, четвертьволновый наклонный луч имеет активное сопротивление приблизительно 30 Ом, а сопротивление полуволнового, повешенного в реальных условиях городского квартала между домами, может доходить до 300 Ом и более). Перехлёст индикатора говорит об аварии антенны (падение или замыкание на местные предметы) либо о значительной расстройке (на провод антенны уселась стая птиц). В канале модуляции смыкание лепестков должно соответствовать 100 % глубине модуляции, а перехлёст указывает на появление искажений на пиках модуляции.

Впрочем, этот же индикатор, но лишь с одним каналом, может быть с успехом использован для индикации уровня сигнала в ламповых УМЗЧ. Подробное описание принципа работы и особенностей схемотехники включения электронносветовых индикаторов приведено в статьях [1,2].


Размещение индикатора на передней панели передатчика и конструкция крепления к ней должны быть подчинены удобству его эксплуатации. Начнём с того, что для удобства пользования индикатор следует разместить слева-сверху, чтобы при работе с органами управления правой рукой не загораживать себе обзор (для левшей — наоборот). При этом через окошко в передней панели (его форма и размеры для 6Е1П показаны на рис. 2,а) должен быть виден светящийся экран в широком углу наблюдения. Лампу индикатора следует размещать как можно ближе к панели (идеально — вплотную), совместив нижнюю границу видимости экрана внутри лампы с низом окошка.

Переключатель SA1 желательно установить в непосредственной близости к окошку индикатора (желательно снизу или справа от него), причём так, чтобы переключение индицируемых каналов происходило при переводе рукоятки тумблера из левого положения в правое и наоборот, мнемонически соответствуя расположению на передней панели органов управления модулятора и настройки выходного контура передатчика.

Монтаж индикатора в подвале шасси (рис. 3) — навесной вокруг ламповой панели с использованием в качестве опор её лепестков и выводов тумблера. Резисторы — МЛТ или С2-23, конденсаторы С1, СЗ — К40П-2, С2 — КБГ-И. Переключатель SA1 — тумблер Т2 или аналогичный.

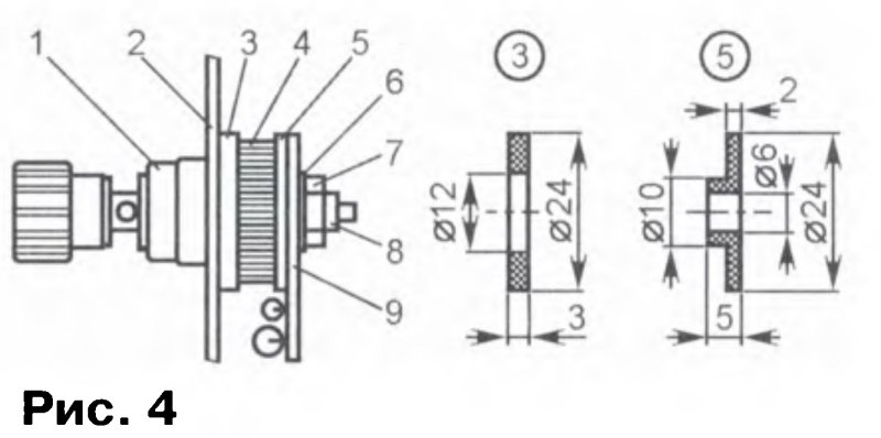
Датчик тока антенны состоит из трансформатора тока Т1 и ВЧ-детектора. Он выполнен в виде единой конструкции с закреплённой в задней стенке шасси 2 клеммой 1 (рис. 4) для подключения антенны. На её винт 8 надето ферритовое (М600НН) кольцо 4 типоразмера К20х12х6 с обмоткой. Таким образом, винт клеммы выполняет функцию первичной обмотки трансформатора. Перед намоткой вторичной обмотки острые кромки кольца скругляют наждачной бумагой. Обмотку (80...90 витков провода ПЭЛШО 0,25) наматывают непосредственно на кольце в один слой хт1 виток к витку. Во избежание обламывания выводов при монтаже их выполняют в виде жгутиков из сложенного втрое и скрученного обмоточного провода, которыми выполняют первый и последний витки. Для предотвращения самопроизвольного разматывания обмотки их завязывают одиночным узлом на внешней цилиндрической поверхности кольца.


Шайбы 3 и 5 вытачивают на токарном станке из фторопласта.
Применение именно этого материала обусловлено не только его прекрасными диэлектрическими свойствами, но ещё и тем, что он относительно мягкий, и зажатая между шайбами вторичная обмотка трансформатора не испытывает на себе разрушающего сдавливания, которое было бы при использовании, например, шайб из стеклотекстолита.

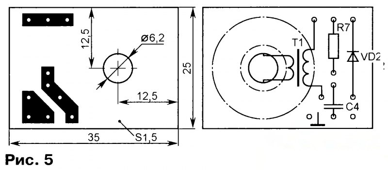
Остальными цифрами на рис. 4 обозначены: 6 — шайба, 7 — гайка Мб, 9 — печатная плата ВЧ-детектора. Её чертёж показан на рис. 5. Резистор R7 — МЛТ, С2-23, конденсатор С4 — К10-17-16 или КМ6 с номинальным напряжением не менее 100 В. Размеры отверстия под клемму антенны в задней стенке шасси 2 указаны на рис. 2,6, а внешний вид узла датчика тока в сборе показан на рис. 6.


С индикатором плату детектора соединяют экранированным проводом (например, МГТФЭ0,12) с надетой поверх оплётки ПВХ трубкой. Оплётку соединяют с общим проводом передатчика только в одном месте — непосредственно у панели лампы индикатора.

Радиолампу 6Е1П можно заменить её зарубежным аналогом ЕМ80, подойдут также 6ЕЗП, ЕМ84 или даже 6Е5С с соответствующим изменением формы окна в передней панели. Оригинально будет смотреться глазок радиолампы ЕМ71 благодаря логарифмической характеристике отклонения её лепестков, с ней удобно будет работать как при малых, так и больших уровнях сигналов.

Германиевые диоды Д2Е, способные работать на частотах до 150 МГц при обратном напряжении 100 В, к сожалению, не имеют аналогов в современной элементной базе, но в своё время, в 50—60-е годы прошлого века, их было выпущено столько, что и сегодня найти их в продаже не составляет труда.

В маломощных передатчиках можно попробовать заменить их диодами Д311 (в одном из авторских макетов такой диод успешно работает).


Для трансформатора тока в индикаторе передатчика ВЧ-диапазона лучше использовать магнитопровод из феррита М400НН. Следует избегать применения в этом узле колец из ферритов марок ВЧ, ВН, ВНП, поскольку при импульсных разрядах атмосферного электричества, которые неизбежно имеют место при использовании протяжённых проволочных антенн, особенно при сильном ветре и во время грозы, возможна необратимая потеря магнитных свойств магнитопроводов из этих материалов. Ферриты НН и НМ такого недостатка не имеют.

Чистого эфира и приятного прослушивания музыки на АМ-радио!

ЛИТЕРАТУРА

1. Комаров С. "Зелёный глаз" — хорошо забытое старое. — Радио, 2010, № 8, с. 64 и 3-я с. обл.

2. Комаров С. "Зелёный глаз" — хорошо забытое старое. Авторский вариант статьи. URL: — http://www.radiostation.ru/home/ greeneye.html (10.02.15).
poster333 вне форума   Цитировать 0
Похожие темы
Тема Автор Раздел Ответов Последнее сообщение
[Новости РЖД] Первый вице-президент ОАО "РЖД" Александр Мишарин принял участие в экономическом форуме "Владимирская область - территория динамичного развития". rzd.ru Новости на сети дорог 0 02.06.2014 16:04
"принцып работы трёх значного светофора" и "тех процесс трёх значного сфетофора" Shadow 4444 Поиск документации 11 30.11.2012 15:22
помогите мне надо дипломку сдавать а я ни могу найти тему "принцып работы трёх значного светофора" и "тех процесс трёх значного сфетофора" Анонимный Поиск документации 3 29.11.2012 11:59
Нужна инструкция прибора "Индикатор места заземления" petrov1ch Лаборатория СЦБ 1 15.02.2012 11:31
Увязка с системой автоматического пожаротушения на основе приборов "БАРС-5И" Углев Дмитрий Поиск документации 3 06.07.2010 14:39

Ответить в этой теме   Перейти в раздел этой темы   Translate to English


Здесь присутствуют: 1 (пользователей: 0 , гостей: 1)
 

Ваши права в разделе
Вы не можете создавать новые темы
Вы не можете отвечать в темах
Вы не можете прикреплять вложения
Вы не можете редактировать свои сообщения

BB коды Вкл.
Смайлы Вкл.
[IMG] код Вкл.
HTML код Выкл.
Trackbacks are Вкл.
Pingbacks are Вкл.
Refbacks are Выкл.



Часовой пояс GMT +3, время: 19:35.

Яндекс.Метрика Справочник 
сцбист.ру сцбист.рф

СЦБИСТ (ранее назывался: Форум СЦБистов - Railway Automation Forum) - крупнейший сайт работников локомотивного хозяйства, движенцев, эсцебистов, путейцев, контактников, вагонников, связистов, проводников, работников ЦФТО, ИВЦ железных дорог, дистанций погрузочно-разгрузочных работ и других железнодорожников.
Связь с администрацией сайта: admin@scbist.com
1 2 3 4 5 6 7 8 9 10 11 12 13 14 15 16 17 18 19 20 21 22 23 24 25 26 27 28 29 30 31 32 33 34 
Powered by vBulletin® Version 3.8.1
Copyright ©2000 - 2026, Jelsoft Enterprises Ltd.
Powered by NuWiki v1.3 RC1 Copyright ©2006-2007, NuHit, LLC Перевод: zCarot