СЦБИСТ - железнодорожный форум, блоги, фотогалерея, социальная сеть

СЦБИСТ - железнодорожный форум, блоги, фотогалерея, социальная сеть (https://scbist.com/)
-   Связь на железнодорожном транспорте (https://scbist.com/svyaz-na-zheleznodorozhnom-transporte/)
-   -   антенны КВ диапазона. (https://scbist.com/svyaz-na-zheleznodorozhnom-transporte/20553-antenny-kv-diapazona.html)

Вы просматриваете версию для печати. Если вы хотите увидеть статью полностью - перейдите по ссылке

HNS 21.01.2013 12:19

Если бы я этого не делал, тогда бы не советовал. Всю жизнь занимаюсь поездной радиосвязью и антеннами. И поверьте мне......

kissoleg 21.01.2013 15:04

Возможно ли сделать антенну для 2.130 Мгц длиной 8 м. в формуле расчета используется только 1/4 длины волны. можно ли брать 1/8 или 1/16 и как при этом расчитать длину снижения?
нужно ли снимать изоляцию с провода ПВ-3 для использования его в качестве антенны кв?
как сильно изменится качестко радиосвязи если р/станция соединена с АСУ 75Ом-ным кабелем вместо 50 Ом-ного?

Adagumer 21.01.2013 18:08

Цитата:

Сообщение от kissoleg (Сообщение 133690)
Возможно ли сделать антенну для 2.130 Мгц длиной 8 м

Антенну можно сделать размером с отвёртку и даже согласовать её с минимальным КСВ, но пользы от такой антенны будет мало. Короткие антенны получаются уж очень узкополосными и малоэффективными. Нормальной антенной является полуволновый диполь в любой из принятых форм представления.

Adagumer добавил 21.01.2013 в 20:08
Цитата:

Сообщение от Adagumer (Сообщение 133717)
Нормальной антенной является полуволновый диполь

Вот обычный полуволновый диполь подвешенный на высоте 15м. Как видите результаты не ахти, высота подвеса слишком мала и из-за влияния близко расположенной земли антенна излучает в зенит. Вот диаграмка:
[IMG]http://morepic.ru/images3/213_5175.png[/IMG]

А вот если поднять на высоту в пол волны:
[IMG]http://morepic.ru/images3/2132_3210.png[/IMG]

kissoleg 21.01.2013 21:22

Спасибо за ответы. Скоро попробую на практике на одной подопытной антенне. если уровни поднимутся, то буду остальные переделывать
повторюсь еще раз.
нужно ли снимать изоляцию с провода ПВ-3 для использования его в качестве антенны кв?
как сильно изменится качестко радиосвязи если р/станция соединена с АСУ 75Ом-ным кабелем вместо 50 Ом-ного?

Adagumer 21.01.2013 21:46

Цитата:

Сообщение от kissoleg (Сообщение 133778)
нужно ли снимать изоляцию с провода ПВ-3 для использования его в качестве антенны кв?

Если делаете антенну изолированным проводом, то должен учитываться коэффициент укорочения, но обычно очень мал и им можно пренебречь, для надежности можно взять кусок проводе чуть длиннее расчетного, а потом лишнее по кусочку отрезать настраивая антенну в резонанс.
Цитата:

Сообщение от kissoleg (Сообщение 133778)
как сильно изменится качестко радиосвязи если р/станция соединена с АСУ 75Ом-ным кабелем вместо 50 Ом-ного?

Разница в сопротивлении кабелей 50 % ну и КСВ соответственно возрастёт. А высокий КСВ это не отданная мощность.

kissoleg 21.01.2013 22:07

У нас нету в магазинах переходников для рк-кабеля. можно только под заказ. Может кто знает как называются правильно переходники для кабеля РК 50-7-11?

HNS 22.01.2013 22:11

В принципе антенну можно изготовить из всех тех материалов, которые есть в ШЧ или в РЦСах. Это как биметаллический провод, типа БСМ или БСА как его называют, установочный или монтажный провод типа ПВ 3. Сечение его выбираем примерно
6-10 мм2. Изоляцию с провода снимать, ни какой необходимости нет. Потому что она ни какой роли в ухудшении свойств антенны не играет.
По поводу длины антенны восемь метров.
На локомотиве, она длиной восемь метров сорок сантиметров и настраивается неплохо
(противоположный конец антенны заземлен)!!!
Вся сложность стационарных антенн, заключается в их изготовлении. Всегда нужно попасть в лямбду на четыре, на восемь и даже на шестнадцать. Мы постоянно ставимся в непонятно какие условия, а Р/СВЯЗЬ нужно дать. Так вот, длину антенны, восемь метров можно поднять вертикально, это не сложно, такие антенны я встречал. Только в этом случае, нужно сделать хороший противовес. Его роль может выполнить хорошее заземление, им не стоит пренебрегать, как некоторые здесь пытаются представить, мол кинул кусок провода под антенной и все.
Реагирование АСУ (или же, начальные изменения) наблюдается при земле равной, где то
3-2 и по убывающей. У меня на станциях, противовес или земля от одного Ома и ниже.
Советую прочитать вот это.

http://www.mirradio.info/2008/04/28/...-linijakh.html

Adagumer 23.01.2013 19:04

Вот полезная статья для понятия принципа работы заземления!

http://dl2kq.de/ant/kniga/4171.htm

kissoleg 04.04.2014 16:09

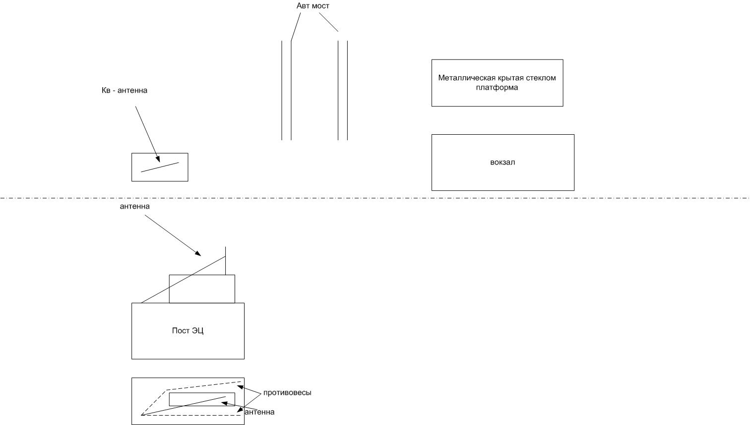
сделал антенну как показано на рисунке. с одной стоторы вокзала на растоянии 2 км еще норма уровня. а со стороны крытой платформы на локомотиве прием от стационара есть, а на передачу даже ответа стац. рст нет. противовес сделан из пв 4мм, каждый кусок по 35 метров. антенна 35 метров.
даже не представляю как можно поднять уровень от локомотива. волновод на такой большой разветвленной станции особо не построиш.
есть у кого какие идеи?
http://morepic.ru/images3/imi_9541.jpg

Adagumer 04.04.2014 19:35

Как я понял из рисунка полотно антенны расположено параллельно оси станции, а верёвочные антенны излучают максимум перпендикулярно своему полотну. Стало быть антенну нужно разворачивать так, чтобы максимум излучения приходился вдоль оси станции.

Rustmaker 05.04.2014 13:57

Цитата:

Сообщение от kissoleg (Сообщение 200188)
есть у кого какие идеи?

Магнитная антенна.

radist_ss 06.04.2014 13:49

Цитата:

Сообщение от kissoleg (Сообщение 200188)
есть у кого какие идеи?
http://morepic.ru/images3/imi_9541.jpg

естественно связи не будет, крытая металическая платформа - это же экран, попробуйте в качестве противовеса использовать волновод, который должен проходить под мостом и вдоль крытой платформы, желательно кратный длине волны(если у вас расстояние 2 км, то волновод должен быть 2100 м) и антенное полотно поднимите выше моста

kissoleg 07.04.2014 20:48

антенна натянута вдоль путей станции. станция немного кривовата, но поворот на рисунке справа от поста ЭЦ.
волновод врятли дадут протянуть, только с большим боем и после согласований проекта - у нас главное эстетика. по крытой платформой (ее еще не сдали в эксплуатацию) точно не дадут протянуть - максимум волновод до и после платформы, а под ней кабельный переход.
Сегодня оставил нижний противовес и соединил его еще врозле асу с землей молниеприемника (решетчатая сетка на крыше, 4 спуска в землю) и связь появилась, только между мостом и платформой неахти, а с другой стороны платформы отличная, по показаниям РС-46МЦВ мож даже уровень есть. связь проверялась с мотовоза (маленькая П-формы). Платформа небольшая может всетаки будет сигнал доходить?

kissoleg добавил 07.04.2014 в 21:48
Что за магнитная антенна?

Старик Хоттабыч 07.04.2014 21:44

kissoleg добавил 07.04.2014 в 21:48
Что за магнитная антенна?[/quote]

пригодна только для приема- так что ищи пути обхода препятствий....

Adagumer 07.04.2014 21:57

Цитата:

Сообщение от kissoleg
Что за магнитная антенна

В транзисторный радиоприёмник загляни, тока старый в современных наверно и ныма!:net:


Часовой пояс GMT +3, время: 07:52.

Powered by vBulletin® Version 3.8.1
Copyright ©2000 - 2026, Jelsoft Enterprises Ltd. Перевод: zCarot


Яндекс.Метрика