СЦБИСТ - железнодорожный форум, блоги, фотогалерея, социальная сеть
Вернуться   СЦБИСТ - железнодорожный форум, блоги, фотогалерея, социальная сеть > Уголок СЦБИСТа > Книги и журналы > Статьи по СЦБ
Закладки ДневникиПоддержка Социальные группы Поиск Сообщения за день Все разделы прочитаны Комментарии к фото Сообщения за день
Ответить в этой теме   Перейти в раздел этой темы    
 
В мои закладки Подписка на тему по электронной почте Отправить другу по электронной почте Опции темы Поиск в этой теме
Старый 08.09.2010, 11:52   #1 (ссылка)
Создатель
 
Аватар для Толян

Регистрация: 19.12.2009
Адрес: Россия
Возраст: 44
Сообщений: 1,267
Поблагодарил: 37 раз(а)
Поблагодарили 1415 раз(а)
Фотоальбомы: 2972 фото
Репутация: 60

Тема: [Статья] Стрелочные централизаторы


Стрелочные централизаторы


Назначение и принцип действия. Стрелочные централизаторы устанавливаются на стрелочных постах станций с ручным управлением стрелками однопутных и двухпутных линий. Они служат для контроля положения и замыкания стрелок в устанавливаемых маршрутах.

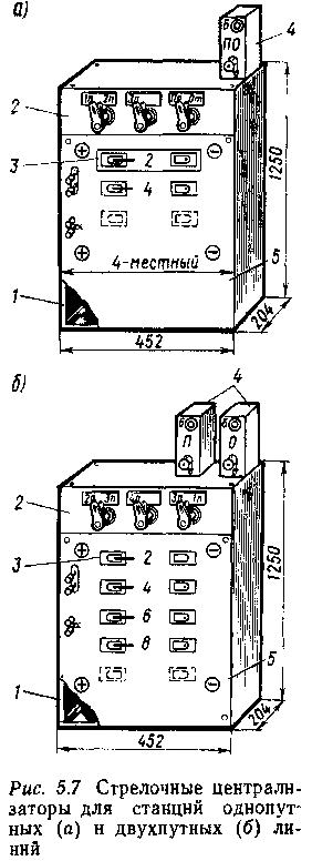
Основными частями стрелочных централизаторов (рис. 5.7, а и б) является корпус 1 с кнопкой размыкания маршрутов /См, горизонтальный ящик зависимости с маршрутными рукоятками 2, аппаратные сдвоенные замки 3 для ключей от стрелочных контрольных замков, электрозащелки 4 для замыкания и размыкания маршрутных рукояток и вертикальный ящик зависимости 5.

Централизатор станции однопутной линии для маршрутов приема (Я) и отправления (О) имеет одну электрозащелку ПО, рукоятку направления, оп ределяющую категорию устанавливаемого маршрута «Прием» или «Отправление» и несколько рукояток с номерами путей станции, для которых задается маршрут. Централизатор станции двухпутной линии (см. рис. 5.7, б) имеет раздельные электрозащелки для маршрутов приема (Я) н отправления (О).

После установки стрелок по маршруту следования поезда и замыкания их стрелочными замками, извлеченные ключи вкладывают в соответствующие скважины аппаратных замков и поворачивают. Поворотом рукоятки номера пути с установленным маршрутом контролируются вложенные ключи и их замыкание. Якорем электрозащелки замыкается повернутая рукоятка. При повороте рукоятки направления определяется прием или отправление поезда (в централизаторе станции двухпутной линии эта рукоятка отсутствует). Маршрут считается установленным правильно, а стрелки по маршруту —- замкнутыми.

Конструкция. Корпус централизаторов представляет собой сварной каркас, закрываемый со всех сторон металлическими щитами (с лицевой стороны металлический щит съемный, укрепляемый винтами). В малогабаритном централизаторе на переднем щите против аппаратных замков расположены два вертикальных ряда скважин для вкладывания ключей в аппаратные замки. Две скважины, расположенные по одной горизонтали, относятся к одному аппаратному замку и между ними ставится номер стрелки.

Аппаратный замок состоит из двух механизмов: левого (или верхнего) для ключа от замка стрелки, запирающего ее в нормальном положении, и правого (нижнего) для ключа от замка, запирающего ту же стрелку в переведенном положении.

На рис. 5.8, а показан аппаратный замок, размещенный горизонтально в малогабаритном централизаторе. Его левый и правый механизмы имеют одинаковые детали: четыре цугальты 3, расположенные на осях 2 и находящиеся в исходном положении под действием проволочных пружин; квадратные стержни 4; цугальты с двумя фигурными вырезами (один для бородки ключа и другой для квадратного стержня 4) собраны так, что левый механизм отличается от правого радиусами отверстий для выступов бородки ключа (рис. 5.8, б).

Оба механизма размещаются на основании 7, которое укрепляется на корпусе аппарата. Общий замыкающий ригель 5 с двумя вырезами для бородки ключа передвигается в направляющих 6 влево или вправо. Круглый стержень 8 укреплен одним концом на ригеле 5, а другим — на замковой линейке 9 с квадратными штифтами 10. Механизмы закрываются крышкой 1 со скважинами для ключей.

При отсутствии ключа замыкающий ригель 5 находится в среднем положении и замкнут, так как цугальты обоих механизмов препятствуют перемещению квадратных стержней 4.


Замок работает так. Когда ключ плюсового положения вставляют в левую скважину и поворачивают против часовой стрелки на 180°, левые цугальты 3 под действием бородки ключа, преодолевая сопротивление пружин, приподнимаются и устанавливаются так, что образуют проход квадратному стержню 4. Замыкающий ригель 5 передвигается влево на 14 мм и круглым стержнем 8 перемещает влево замковую линейку 9, квадратные штифты 10 которой дают возможность маршрутной рукоятке централизатора при переводе замкнуть повернутый ключ в аппаратном замке. В конце поворота ключа левые цугальты под действием пружин опускаются вниз и замыкают квадратный стержень 4, ригель 5 и линейку 9. Если в правую скважину положить ключ минусового положения и повернуть его по часовой стрелке на 180°, то замыкающий ригель 5 и стрелочная линейка будут передвигаться на 14 мм вправо.

Если ключ минусового положения ошибочно вложить в левую плюсовую скважину замка, то повернуть его не позволят цугальты 3 (серия левого механизма иная, чем у ключа минусового положения).


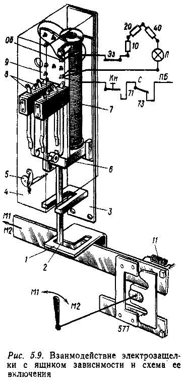
Электрическая защелка на горизонтальном ящике зависимости замыкает повернутую рукоятку централизатора, которая осуществляет запирание в аппаратных замках всех ключей от стрелок, входящих в маршрут.

Основными частями электрозащелки (рис. 5.9) является: основание 3, укрепляемое на корпусе аппарата, катушка 7 с сердечником, якорь 6 со штангой 2, контактные пружины 8, колодки 9 с контактными винтами для монтажных проводов и индикаторная лампочка Л. Штанга 2 взаимодействует с угольником 1 линейки горизонтального ящика зависимости. К линейке приклепана ведущая (левая) и замыкающая замыч-ка 577, установленная на оси рукоятки М1/М2.

При отсутствии тока в катушке якорь 6 прижат к сердечнику, так как штанга 2 находится на передней грани выреза угольника 1. Если рукоятка повернута вправо или влево, ведущая замычка 577 перемещает линейку с угольником всегда влево и якорь 6 электрозащелки отпадает. Происходит автоматическое замыкание рукоятки и, значит, замыкание в аппаратных замках всех ключей от стрелок, входящих в маршрут.

Рукоятка и ключи от стрелок отмыкаются после проследования поезда и возбуждения электрозащелки. Дежурный стрелочного поста нажимает кнопку Кн. В электрозащелку поступает ток по цепи: ПБ, контакты 71-73 реле С (сигнал закрыт), контакты нажатой кнопки Кн, катушка электрозащелки, ОБ. Якорь б электрозащелки притягивается, и штанга 2 переходит к передней части выреза угольника. Замыкается контакт Эз, включается индикаторная лампочка с добавочным резистором 10, 20 или 40 Ом параллельно катушке электрозащелки. После перевода рукоятки в нормальное положение линейка с угольником 1 передвигается вправо пружиной 11 и штанга опирается на переднюю грань угольника. Якорь электрозащелки остается прижатым к сердечнику и при отпущенной кнопке Кн.


В случае несрабатывания электрозащелки при проходе поезда по маршруту рукоятку и ключи можно разомкнуть искусственно, для чего следует сорвать пломбу с рычажка 5 на кожухе 4 и повернуть рычажок против часовой стрелки. На лампочку необходимо подавать напряжение 5,6 В.

В централизаторе имеются горизонтальный и вертикальный ящики зависимости.

Горизонтальный ящик зависимости имеет горизонтально расположенные оси с резьбовыми отверстиями для крепления замычек. На концах осей закрепляются вертикально расположенные маршрутные рукоятки. Над осями перпендикулярно к ним устанавливаются металлические линейки, поставленные на ребро.

Ящик зависимости обеспечивает исключение поворота рукояток с враждебными маршрутами, а также замыкание электрозащелкой повернутой маршрутной рукоятки.

Вертикальный ящик зависимости имеет вертикальные маршрутные линейки, взаимодействующие с горизонтальными замковыми линейками, с целью замыкания повернутых в аппаратном ящике ключей от стрелок.


Основной замычкой горизонтального ящика зависимости, исключающей установку враждебных маршрутов, является замыкающая замычка 31, изображенная на рис. 5. 10. Замычка имеет два изогнутых в виде рогов плеча с креплением на оси в центре с помощью резьбового винта. На горизонтальной линейке, расположенной над осью, укрепляются в определенном порядке 10 штифтов: 0,1,2,3,9, по пять штифтов над каждым рогом замычки.

В исходном состоянии над рогами замычки находятся штифты 3 и 8, исключающие поворот рукоятки с осью как вправо, так и влево. Если эти штифты будут отсутствовать, то рукоятку можно повернуть. При повороте рукоятки с осью влево на 40° (в сторону Ml) правый рог, занимая место отсутствующего штифта 8, будет находиться между штифтами 7 и 9, запирая линейку в исходном положении. Если рукоятку с осью повернуть вправо, то левый рог окажется между штифтами 2 и 4 и также замкнет линейку.

При движении линейки вправо или влево будут перемещены и штифты. Так, при перемещении линейки влево на 21 мм на место штифта 2 встанет штифт 4, а на место штифта 3 — штифт 5 (перемещение, равное по длине двум штифтам), и тогда рукоятка будет замкнута от поворота вправо (замкнут левый рог замычки). Назначение штифтов замычки 31 приводится в табл. 5.1.

Взаимодействие элементов горизонтального и вертикального ящиков зависимости стрелочного централизатора изображено на рис. 5.11, а. Маршрутная рукоятка М1/М2 обеспечивает запирание вложенных в аппаратные замки ключей от стрелок, рукоятка Пр/От определяет направление движения: «Прием» или «Отправление». Рукоятки могут занимать одно из трех фиксируемых положений: нормальное (среднее) и повернутое вправо или влево на 40°. На оси маршрутной рукоятки укрепляются поводок 5046 для связи с вертикальной маршрутной линейкой 13, имеющей квадратный штифт 7, и трехпозиционный переключатель 9. Замычки 577 установлены на рукоятке для связи с линейкой 16, которая имеет штифты 2, 3,4 и 7, 8, 9, относящиеся к замыкающей замычке 31 на оси рукоятки направления Пр/От. Электрозащелка ПО при помощи угольника взаимодействует с блокировочной линейкой, которая замычкой 577 также связана с рукояткой направления.





Ригель аппаратного замка, расположенного горизонтально, круглым стержнем 11 соединяется с замковой линейкой 12, на которой имеется верхний ряд квадратных штифтов 1, 3, 5 и нижний — 2, 4, 6. Между штифтами 3 и 4 размещается квадратный штифт 7 вертикальной маршрутной линейки 13. Толщина замковой линейки 5 мм, ширина 40 мм и длина (при четырех рукоятках) 348 мм. Рабочий ход 14 мм.

При отсутствии ключей в аппаратном замке 8 маршрутная рукоятки N Р замкнута в среднем положении, так как штифт 7 вертикальной маршрутной линейки 13 располагается между штифтами 3 и 4 замковой линейки 12. В аппаратном замке ключ запирается маршрутной рукояткой. После установки и замыкания стрелки в плюсовом положении ключ от стрелочного замка переносится на стрелочный пост и вкладывается в плюсовую скважину аппаратного замка 8 централизатора. При повороте ключа против часовой стрелки ригель 10 замка перемещается влево, как показано на рисунке стрелкой со знаком плюс, и при помощи круглого стержня 11 перемещается замковая линейка 12 в направляющих 14. Штифты 3 и 4 замковой линейки перемещаются влево, и их место занимают штифты 5 и 6.


Для замыкания ключа необходимо повернуть маршрутную рукоятку MP, но это возможно только в том случае, если штифты 5 или 6 будут отсутствовать. Например, при повороте маршрутной рукоятки MP влево, в сторону Ml, поводком 5046 на оси 15 маршрутная линейка 13 поднимается вверх и штифт 7 устанавливается на место отсутствующего штифта 5 рядом со штифтом 3. Таким образом, извлечь стрелочный ключ из аппаратного замка невозможно, так как обратному перемещению замковой линейки 12 препятствует штифт 3, упирающийся в штифт 7 маршрутной линейки 13.

Следовательно, в рассмотренном примере для замыкания плюсового ключа в замке на замковой линейке 12 должны быть в верхнем ряду штифты 1 и 3, а в нижнем — 2, 4 и 6. Если рукоятка будет повернута вправо, то для замыкания плюсового ключа на замковой линейке 12 должны быть в верхнем ряду штифты /, 3 и 5, а в нижнем — 2 и 4. Штифт 6 в этом случае не устанавливают. Для замыкания ключа от минусового положения стрелки при повороте рукоятки влево на замковой линейке в верхнем ряду размещаются штифты 3 и 5, а в нижнем — 2, 4 и 6. Штифт 1 в этом случае отсутствует. Если же рукоятка будет переводиться вправо, то на замковой линейке в верхнем ряду должны быть штифты 3 и 5, а в нижнем — 4 и 6.

Различные комбинации штифтов в зависимости от поворота рукоятки и положения стрелки приведены в табл. 5 2.

При повороте маршрутной рукоятки MP влево или вправо в горизонтальном ящике зависимости происходит следующее: ведущая замычка 577 на оси 15 передвигает влево линейку 16 в направляющих 17 и штифты 2, 3, 4 и 7,8,9 отмыкают замычку 31. Появляется возможность повернуть рукоятку направления.

При ее повороте влево, в сторону Пр (прием), или вправо, в сторону От (отправление), будут работать две замычки 31 и 577.

Замычка 31, поворачиваясь на 40°, своим рогом замыкает линейку 16 и, значит, маршрутную рукоятку MP. Замычка 577 передвигает влево блокировочную линейку с угольником, и якорь электрозащелки ПО, отпадая, замыкает ее.

На рис. 5.11, б показано условное обозначение рассмотренных элементов в виде схемы ящиков зависимости централизатора. Полное описание схем ящиков зависимости приводится ниже.

Работа стрелочного централизатора при установке и размыкании маршрутов. Взаимодействие элементов аппарата рассматривается для станции, представленной на рис. 5.12, а. Станция, расположенная на однопутном участке, имеет три обезличенных пути In, lln, Зп и две стрелки 2 и 4. На стрелочном посту № 2 установлен малогабаритный централизатор. Рукоятки его замкнуты, так как ключи от стрелок находятся в их контрольных замках. При установке маршрута приема, например, на путь In, стрелку 2 замыкают в плюсовом положении, а стрелку 4 — в минусовом. Ключи от этих стрелок вкладывают в соответствующие аппаратные замки централизатора (рис. 5.12, б).

При повороте в аппаратном замке ключа +2, замковая линейка 2 (Стр. 2) передвигается влево, а при повороте ключа — 4 замковая линейка 4 (Стр.4)— вправо. Штифты 3 и 4 замковых линеек освобождают от замыкания штифты 7 маршрутной линейки, связанной поводком 5046 с рукояткой путей ln, 2n.


При повороте ее влево, в сторону In, маршрутная линейка вертикального ящика зависимости поднимается вверх, и штифты 7 переходят в верхний ряд и устанавливаются рядом со штифтами 3.

Штифты 7 будут препятствовать перемещению штифтов 3 при попытке возвращения замковых линеек 2 (Стр.2) и 4 (Стр. 4) в исходное положение. Так замыкаются ключи от стрелок 2 и 4 в маршруте на путь 1п. Одновременно в горизонтальном ящике зависимости замычка 577 передвигает влево общую маршрутную линейку и штифтами 2, 3, 4 и 7, 8, 9 отмыкает замычку 31 оси рукоятки направления. При ее повороте влево замычка 577 передвигает влево линейку с угольником, и электрозащелка своим якорем замыкает повернутую рукоятку и ключи от стрелок 2 и 4. Маршрут приема на путь In считается установленным. Отмыкание стрелок в маршруте происходит после срабатывания электрозащелки. Тогда линейка с угольником отмыкается и появляется возможность возвратить в нормальное положение рукоятку направления. Замычка 31 своим правым рогом отмыкает общую маршрутную линейку. Затем в исходное положение возвращается маршрутная рукоятка ln/2n. При этом общая маршрутная линейка спиральной пружиной передвигается вправо, а вертикальная маршрутная линейка передвигается вниз. Штифты 7 из верхнего ряда переходят в средний ряд и замковые линейки 2 (Стр. 2) и 4 (Стр. 4) и, следовательно, ключи стрелок 2 и 4 отмыкаются.

При установке маршрута отправления аппараты работают аналогично. Отличительной особенностью является поварот рукоятки направления не влево, а вправо, в сторону отправления От. При этом линейка с угольником передвигается .так же влево, как и прн установке маршрута приема.

В проектной документации стрелочный централизатор изображается в виде схемы ящиков зависимости (рис. 5.12, в); маршрутные рукоятки показываются в средней части схемы, над ними — элементы горизонтального ящика зависимости, а под ними — элементы вертикального ящика зависимости. Замычки обозначаются своими номерами в точках пересечения линеек к осями. Электрозащелка условно изображается угольником с Г-образным вырезом, а аппаратные замки — замковыми линейками.
__________________

Зарегистрируйтесь, чтобы скачивать файлы.
Внимание! Перед скачиванием книг и документов установите программу для просмотра книг отсюда. Примите участие в развитии ж/д вики-словаря / Журнал "АСИ" онлайн



Если не можете скачать файл... / Наше приложение ВКонтакте / Покупаем электронные версии ж.д. документов

Последний раз редактировалось Толян; 08.09.2010 в 12:10.
Толян вне форума   Цитировать 0
Похожие темы
Тема Автор Раздел Ответов Последнее сообщение
Стрелочные централизаторы sunserone Купля-Продажа 12 19.11.2019 11:42
[Статья] Стрелочный контрольный замок Толян Статьи по СЦБ 3 20.10.2015 17:25
[Статья] Анализ отказов основных элементов стрелочных переводов с определением показателей надежности Admin Ж/д статьи 0 16.04.2011 10:18
[Статья] Проверка состояния электропривода и стрелочной гарнитуры Толян Статьи по СЦБ 0 04.06.2010 13:12
[Статья] Аппаратура дополнительного контроля и диагностики стрелочных переводов АБАКС-КС Толян Статьи по СЦБ 0 27.05.2010 14:56

Ответить в этой теме   Перейти в раздел этой темы   Translate to English

Возможно вас заинтересует информация по следующим меткам (темам):
, , , , ,


Здесь присутствуют: 1 (пользователей: 0 , гостей: 1)
 
Опции темы Поиск в этой теме
Поиск в этой теме:

Расширенный поиск

Ваши права в разделе
Вы не можете создавать новые темы
Вы не можете отвечать в темах
Вы не можете прикреплять вложения
Вы не можете редактировать свои сообщения

BB коды Вкл.
Смайлы Вкл.
[IMG] код Вкл.
HTML код Выкл.
Trackbacks are Вкл.
Pingbacks are Вкл.
Refbacks are Выкл.



Часовой пояс GMT +3, время: 08:01.

Яндекс.Метрика Справочник 
сцбист.ру сцбист.рф

СЦБИСТ (ранее назывался: Форум СЦБистов - Railway Automation Forum) - крупнейший сайт работников локомотивного хозяйства, движенцев, эсцебистов, путейцев, контактников, вагонников, связистов, проводников, работников ЦФТО, ИВЦ железных дорог, дистанций погрузочно-разгрузочных работ и других железнодорожников.
Связь с администрацией сайта: admin@scbist.com
1 2 3 4 5 6 7 8 9 10 11 12 13 14 15 16 17 18 19 20 21 22 23 24 25 26 27 28 29 30 31 32 33 34 
Powered by vBulletin® Version 3.8.1
Copyright ©2000 - 2026, Jelsoft Enterprises Ltd.
Powered by NuWiki v1.3 RC1 Copyright ©2006-2007, NuHit, LLC Перевод: zCarot