Топливная система
Топливная система служит для хранения, фильтрации и подвода топлива к топливному насосу дизеля. Она включает в себя: топливный бак И (рис. 33), фильтр грубой очистки 5, вспомогательный топливный насос 4, перепускной клапан 19, топливо-подкачивающий насос 18, фильтр тонкой очистки 17 и систему трубопроводов.
Одним из условий нормальной работы дизеля является бесперебойная подача топлива к топливному насосу. Для этой цели служит топливоподкачивающий насос 18, установленный на дизеле. Вследствие того что топливный бак расположен ниже дизеля, для подвода топлива к топливоподкачивающему насосу перед его пуском, а также для поддержания во всасывающей трубе его необходимого напора в топливную систему включен вспомогательный насос 4 с электродвигателем 3.
При включении кнопки «Топливный насос», расположенной на лульте управления, включается электродвигатель 3 вспомогательного топливного насоса, который засасывает топливо из бака И и подает его к топливоподкачивающему насосу 18. При этом топливо проходит фильтр 5 первичной (грубой) очистки и расположенный в масляном баке 25 змеевик, омываемый горячим маслом. Подогрев топлива несколько снижает его вязкость, что способствует

Рис. 33. Схема топливной системы:
/—кнопка включения вспомогательного топливного насоса; 2 — провод от электросети; а —электродвигатель насоса; 4 — вспомогательный топливный насос; 5 —фильтр грубой очистки; 6 — отстойник; 7—мерная рейка; 8 — пробка для слива топлива; ■9 — крышка промывочного люка; 10 — наливная горловина; //—топливный бак;
12 — трубка отвода воздуха из фильтра тонкой очистки; 13—трубки слива топливаиз насоса и форсунок; 14 — кран отвода воздуха из фильтра тонкой очистки;
15 — манометр давления топлива; 16 — компенсатор манометра; /7 —фильтр тонкой очистки; 18 — топливоподкачивающий насос БНК-12ТК; 19 — перепускной клапан;
20, 22 — краны; 21 — котел-подогреватель; 23 — вестовая труба; 24— топливный бак котла-подогревателя; 25 — масляный бакповышению надежности работы топливной системы при низких температурах наружного воздуха. Вследствие того что производительность вспомогательного насоса превышает потребление топлива дизелем при его работе, на нагнетательном трубопроводе предусмотрен перепускной клапан 19, через который избыток его сливается в бак 11. Топливоподкачивающий насос подает топливо к фильтру тонкой очистки 17 и затем в коллектор топливного насоса дизеля. Для контроля давления топлива, подводимого к топливному насосу, установлен манометр 15 с компенсатором 16.
Накапливающийся в фильтре тонкой очистки воздух периодически выпускается через кран 14 в спускной трубопровод, сообщающийся с баком )/. К этому трубопроводу присоединяется трубка, отводящая топливо, просочившееся через плунжерные пары насоса и иглы форсунок дизеля. К нагнетательному трубопроводу через кран 20 подводится трубопровод для наполнения расходного топливного бака котла-подогревателя.
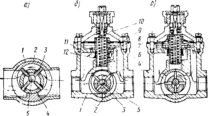
Вспомогательный топливный насос с электродвигателем установлен на общей чугунной плите. Насос состоит из корпуса 1 (рис. 34), крышки 5, ведущей втулки (шестер-

Рис. 34. Вспомогательный топливный насос: / — корпус; 2, 4 — штуцеры; 3 — звездочка; 5 —крышка корпуса с сегментом; 6 — валик; 7—ведущая втулка (шестерня с внутренними зубьями); 8 — опорная втулка; 9 — накидная гайка; 10 — втулка; // — пружина; /2 — гофрированная трубка; 13 — упорно-уплотнительная втулка; / 4 — серповидный выступ крышкини) 7, звездочки 3, сидящей на валике 6, и уплотнительного устройства, состоящего из гофрированной трубки 12, втулок 10 и 13, опорной втулки 8, пружины И и накидной гайки 9. Внешние торцы зубьев звездочки 3 и внутренние торцы зубьев ведущей втулки 7 отстоят на 0,02—0,06 мм от соответствующих поверхностей серповидного выступа 14 крышки 5.
Работа вспомогательного топливного насоса происходит следующим образом: при вращении ведущей втулки 7 по часовой стрелке звездочка 3 также вращается по часовой стрелке. При этом топливо, заполняющее впадины между зубьями из полости всасывания (правой по чертежу), перегоняется в полость нагнетания (левую по чертежу). В полости нагнетания зубья ведущей втулки и звездочки входят в зацепление между собой и выдавливают из впадин топливо, которое по штуцеру 2 идет в нагнетательный трубопровод и далее к дизелю.
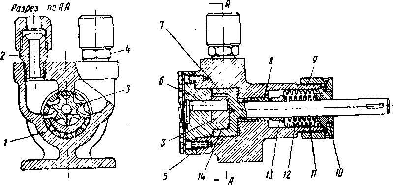
Топ ливо подкачивающий насос БНК-12ТК — коловратного типа и состоит из корпуса 1 (рис. 35) с запрессованным в него стаканом 2, ротора 4, четырех лопастей 3 и стержня 5. В корпусе имеются приемное и отводящее отверстия. Ротор рас положен эксцентрично относительно отЕерстия стакана 2. В продольных пазах его помещаются четыре лопасти. При вращении ротора против часовой стрелки объем справа от него увеличивается, а объем слева уменьшается. В увеличивающемся объеме создается разрежение и топливо поступает в него через входное отверстие. Из уменьшающегося объема топливо вытесняется через отводящее отверстие и поступает далее к фильтру тонкой очистки. В корпусе насоса помещен редукционный клапан, предназначенный для перепуска топлива из нагнетательной полости в приемную полость при превышении давления топлива в нагнетательной полости выше нормального. Он состоит из двойного клапана 7 и 8 и мембраны 9.

Рис. 35. Топливоподкачивающий насос БНК-12ТК:
а — схема насоса; б—действие насоса при неработающем дизеле; в — действие иасоса при работающем дизеле; 1— корпус; 2— стакан; ,ї — лопасть; 4 — ротор; 5 —стержень; 5 —полый стержень; 7, в —двойной клапан; 9 — мембрана; 10 —-крышка; 11— пружина; 12 — шайба
Двойной клапан включает в себя тарельчатый клапан 8, опирающийся на седло в корпусе насоса, и перепускной клапан 7, свободно сидящий на полом стержне 6, запрессованном в клапан 8. Перепускной клапан прижимается к нижней плоскости тарельчатого клапана спиральной пружиной 11, опирающейся другим концом на шайбу 12, укрепленную на стержне 6. Двойной клапан центрируется в корпусе с одной стороны мембраной 9, а с другой— полым стержнем 6, входящим в корпус.
Тарельчатый клапан установлен для поддержания постоянства давления топлива перед фильтром тонкой очистки, а перепускной— для обеспечения прохода топлива через насос при заполнении топливоподающей системы перед пуском дизеля.
При неработающем дизеле перед его пуском топливо поступает внутрь корпуса через приемное отверстие (рис. 35, б), поднимается но каналу, проходит через отверстия в тарельчатом клапане и нажимает на перепускной клапан. При давлении топлива от
0,2 до 0,3 кг/см2 перепускной клапан открывается и оно поступает в левую часть корпуса и далее к отводящему отверстию.
При работающем дизеле (рис. 35, в), если давление в нагнетательной полости превышает нормальное, топливо, преодолев сопротивление пружины редукционного клапана и отжав его вверх, возвращается обратно в приемную полость. Затяжка пружины редукционного клапана устанавливается такой, чтобы во время работы давление топлива после фильтра тонкой очистки было в пределах 0,6 — 0,8 кг/см2 (при чистом фильтре). Насос имеет привод от коленчатого вала через нижний вертикальный валик механизма передачи с передаточным отношением 0,786. Производительность насоса при скорости вращения коленчатого вала дизеля 1 400 об/мин составляет около 1,4 л/мин.
Топливные фильтры служат для очистки топлива, подаваемого к топливному насосу дизеля, от механических примесей. При недостаточной очистке топлива происходит заедание и повышенный износ прецизионных пар (плунжер-гильза и распылитель-игла), что вызывает неравномерную подачу топлива по цилиндрам, потерю мощности и увеличение расхода топлива.
В топливной системе установлено два фильтра, включенных последовательно. Один фильтр первичной (грубой) очистки, установленный перед вспомогательным и топливоподкачивающим насосами, задерживает сравнительно крупные механические примеси. Этот фильтр находится на всасывающем трубопроводе вспомогательного топливного насоса и должен иметь незначительное сопротивление проходу топлива из бака. Другой фильтр — вторичной (тонкой) очистки, установленный перед топливным насосом двигателя, очищает топливо от мельчайших механических примесей.
Корпус фильтра первичной очистки (рис. 36) представляет собой цилиндрический корпус 1, в дно которого упирается штуцер 3 с трубкой 2, предназначенной для скрепления основных деталей фильтра между собой. Гофрированный стакан 6 имеет гофрированную цилиндрическую поверхность, покрытую в два слоя металлической сеткой: наружный слой выполнен из сетки № 08 (ГОСТ 6613—53) с размером ячейки 0,8 мм, внутренний — из сетки № 008 (ГОСТ 6613—53) с размером ячейки 0,08 мм. Топливо,

Рис. 36. Топливный фильтр первичной (грубой) очистки:
/ — корпус; 2 — трубка; 5—штуцер; 4—пробка; 5 — нижняя крышка; 6 — гофрированный стакан; 7— обмотка гофрированного стакана; 8— верхняя прокладка; 9—крышка корпуса; 10 — верхняя пробкапроходя через сетки, очищается от механических примесей и поступает по каналам между впадинами гофрированной поверхности стакана в полость крышки 9 фильтра. Нижняя крышка 5 гофрированного стакана и верхняя прокладка 8 предотвращают просачивание неотфильтрованного топлива в полость отфильтрованного. Пробка 4 служит для слива отстоя загрязненного топлива, а пробка 10 — для выпуска воздуха из полости отфильтрованного

Рис. 37. Фильтр вторичной очистки:
/ — корпус; 2—фильтрующий элемент; 3 — шелковый чехол; 4 —сетчатый стакан; 5 — приемная трубка; 6 — штуцер для отвода воздуха из полости очищенного топлива и присоединения манометра; 7 —прокладка; 8 — крышка; 9 —прокладка сетчатого стакана; 10 — гайка; //— стяжной стержень; 12 — сальник: 13 — колпачок сальника; 14 — пружина; 15 — пробка спуска воздуха из полости неочищенноготопли ватоплива. Топливный фильтр первичной очистки должен промываться при каждом контрольно-техническом осмотре тепловоза.
Топливный фильтр вторичной очистки состоит из корпуса / (рис. 37), фильтрующего элемента 2 и крышки 8, скрепляемых стяжным стержнем 11, для чего нижний конец его ввернут в пробку, а на верхний навернута гайка 10, с помощью которой корпус стягивается с крышкой фильтра.
Фильтрующий элемент включает в себя металлический сетчатый стакан 4, шелковый чехол 3 и набор войлочных пластин. Из 15 пластин семь более тонких по сравнению с остальными, они изготовлены из плотного войлока. Тонкие и толстые пластины установлены на сетчатом стакане поочередно и зажаты гайкой между фланцем сетчатого стакана и стальной пластинкой, надетой на буртик дна последнего.
На крышке фильтра имеется три прилива, в которые ввертываются зажимы, присоединяющие поворотные угольники трубокподвода А и отвода В топлива, и штуцер 6 выпуска воздуха из полости отфильтрованного топлива. Пробка 15 служит для выпуска воздуха из полости неочищенного топлива. С внутренней стороны крышки фильтра запрессована приемная трубка 5, соединяющая внутреннее пространство сетчатого стакана с угольником отвода топлива. Пониженное расположение приемного отверстия трубки предусматривает забор топлива из средней части фильтра, что уменьшает возможность попадания в топливо воздуха, скапливающегося в верхней части фильтра под крышкой.
При работе дизеля топливо из приемной полости фильтра, охватывающей фильтрующий элемент с внешней его стороны, проходит через войлочные пластины и шелковый чехол в сетчатый стакан, откуда по приемной трубе поступает к топливному насосу.
К приливу крышки для спуска воздуха из полости очищенного топлива присоединены поворотные угольники двух трубок. Первая трубка служит для спуска воздуха через краник 14 и далее в бак // (рис. 33); вторая — сообщает полость очищенного топлива с манометром 15. Падение давления, замеченное по показанию этого манометра, в первую очередь указывает на загрязненность топливного фильтра тонкой очистки. Для смягчения пульсации топлива в фильтре тонкой очистки предусмотрен компенсатор 16, который представляет собой резервуар цилиндрической формы, установленный в вертикальном положении перед манометром. Трубка подвода топлива заканчивается у нижнего днища, а трубка, сообщающая полость компенсатора с манометром, опущена до половины высоты компенсатора. Компенсатор заполнен топливом на 3/4 своего объема таким образом, что в верхней части его оставлен замкнутый объем воздуха. При пульсации топлива в трубопроводе гидравлические удары смягчаются воздушной псдушкой, что способствует уменьшению колебаний стрелки манометра и повышению срока его службы.
Для обеспечения нормальной работы топливного насоса через каждые 100 ч работы дизеля фильтр тонкой очистки следует промывать с разборкой фильтрующего элемента. Для этого необходимо: отвернуть верхнюю гайку на крышке фильтра и отнять корпус фильтра с фильтрующим элементом от крышки, укрепленной на кронштейне; вынуть из корпуса сетчатый стакан с фильтрующими пластинами и промыть их в собранном виде в чистом керосине или дизельном топливе; извлечь из корпуса сальник с пружиной и тщательно очистить и промыть корпус внутри; снять войлочные пластины; шелковый чехол с сетчатого стакана не снимать; каждую войлочную пластину тщательно промыть в керосине и выжать в руке; сетчатый стакан с шелковым чехлом промыть, опустив несколько раз в чистое дизельное топливо так, чтобы не загрязнить его внутри.
Сборку фильтра производят в такой последовательности. Сначала собирают фильтрующий элемент. Если после промывки общаявысота набранных пластин уменьшается, то добавляют одну или йесколько пластин. Затем в корпус фильтра устанавливают пружину, сальник и собранный фильтрующий элемент и прикрепляют к крышке. Прокладку между корпусом и крышкой заменяют при ее повреждении. Чистый фильтр тонкой очистки должен быть проверен на герметичность при давлении 3 кг/см2, а также на проходимость топлива; через фильтр должно проходить не менее 2—2,6 л/мин.
Топливопроводы должны соответствовать следующим требованиям:
1) обеспечивать герметичность системы;
2) быть устойчивыми против коррозии (особенно внутренние ііоверхности);
3) иметь оцинкованные наружные поверхности соединений;
4) надежно укрепляться для предохранения от вибрации при работе тепловоза.

Рис. 38. Штуцерное соединение и и поворотньй угольник б:
У —штуцер; 2- наконечник; 3--накидная гайка; 4- труГа; 5 — поворотный угольник; в —прижим; 7 —прокладка
Соединение труб и их подсоединение к корпусам выполнено посредством арматуры, состоящей из штуцеров / (рис. 38, а) с конусным гнездом, наконечника 2 с шаровой головкой и накидных гаек 3 или поворотных угольников 5 с прижимами 6 и двух асбесто-медных прокладок 7 (рис. 38, б).
В системе топливопровода перед, топливоподкачивающим насосом установлен перепускной клапан, предназначенный для слива избытка топлива, поступающего к насосу, в топливный бак. Он состоит из корпуса / (рис. 39), шарового клапана 2, пружины 3 я регулировочного винта 4. Затяжка пружины под клапаном устанавливается такой, чтобы во время работы вспомогательного топливного насоса давление топлива перед топливоподкачивающим насосом не превышало 0,2 кг/см".
Топливный бак, расположенный под средней частью рамы тепловоза вместимостью 700 кг, служит для хранения запаса дизельного топлива. Бак 11 сварной конструкции (рис. 33), имеет Две горловины 10 с сетчатыми фильтрами для наполнения топливом. Расположение горловины позволяет набирать топливо с обеихсторон тепловоза. В отстойнике 6 имеется спускная пробка 8 для слива загрязненного топлива и воды. Над отстойником расположены две трубы: всасывающая — для забора топлива из бака и сливная — для слива избытка его при работе вспомогательного топливного насоса. Приемное отверстие всасывающей и выходное отверстие сливной труб сообщаются между собой через приемник, который имеет отверстие для поступления в него топлива из бака. При указанном расположении труб и приемника при работе вспомогательного топливного насоса в системе создается циркуляция топлива с многократным проходом его через фильтр грубой очистки перед поступлением в дизель, что способствует лучшей его очистке. Для промывки бака предусмотрены люки 9 в боковых его стенках, закрываемые пробками на резьбе. Слой теплоизоляции из войлочных щитов толщиной 8—10 мм на боковых стенках и днище бака предохраняет находящееся в нем топливо от сильного охлаждения при низких температурах окружающего воздуха.
Мерная рейка 7 служит для определения степени заполнения бака. При наборе топлива необходимо следить, чтобы в бак не попадали грязь, снег и вода. Нельзя допускать наполнение бака без фитьтра в горловине и оставлять горловину открытой после набора топлива. Набор неотстоявшегося топлива не разрешается.

Рис. 39. Перепускной клапан:
/—корпус; 2 — ш і ро вой клапан; S —пружина; 4 — регулировочный винт










