Воздухоподающая и выпускная системы

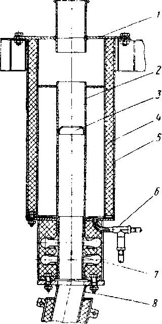
Рис 30- Воздушный фильтр:
1—сетка фильтра; 2 — головка воздухофильтра; 3—канитель проволочная; 4—уплотннтельное кольцо; 5 —патрон фильтра; 6—кассета фильтра; 7 — корпус воздухофильтра; 8— трубы со спиральными направляющими; 9 — пылесбрасывающие конусы; 10 — уплотннтельное кольцо; 11 — бункер для пыли; 12 — окно для входа воздуха; 13 — заслоика; 14 — ноздуховод
Воздух к каждому блоку цилиндров дизеля подводится через отдельный воздушный фильтр, в котором предварительная очистка его производится инерционным способом при помощи циклонов, а окончательная — посредством фильтрующих пакетов увлажненной маслом проволочной канители. Забор воздуха осуществляется через боковые отверстия в съемной крыше кузова и брезентовые воздуховоды, соединяющиеся с приемными отверстиями корпусов, или непосредственно из машинногоотделения через окно в корпусах, закрываемых поворотными заслонками.
Воздушный фильтр состоит из головки 2 (рис. 30), корпуса 7 и бункера //. В головке установлены две кассеты 6, заполненные проволочной канителью 3. В корпусе расположены:

Рис. 31. Глушитель:
/ —корпус; 2 — выхлопная труба; 3 — диафрагма трубы; 4— изоляция; 5 — кожух;
5 —спускная труба; 7— вставка; « — патрубок

Рис. 32. Сапун:
/ — корпус сапуна: 2 —диск; 3 — крышка; 4 — пружинный замок; 5 — фильтрующая набив-ка;_6 — стяжная шпилькаокно 12 для входа воздуха и семь пылесбрасывающих конусов 9 с цилиндрическими трубами 8, имеющими на наружной поверхности винтовые лопатки.
Корпус с бункером Л и головкой 2 соединяется откидными стяжными болтами и уплотнительными кольцами 4 и 10 из войлока. Воздух, поступающий в воздушный фильтр снаружи тепловоза по воздуховоду 14 или из машинного отделения через заслонку 13, движется по спиральным направляющим труб 8 в сторону бункера, а затем резко меняет направление и поднимается по трубам 8 к головке; при этом крупные частицы пыли осаждаются в бункере. Проходя через кассеты, воздух освобождается от мельчайших частиц пыли, остающихся на увлажненной маслом канители. Кассета и патрон головки заполняются канителью равномерно по всему объему так, чтобы не было утолщений или просветов. Канитель укладывается по 6—-7 слоев поровну в патрони кассету и уплотняется деревянным инструментом. Общий вес уложенной канители 1,8 ± 0,1 кг.
При сборке воздушного фильтра после очистки следует обращать особое внимание на надежность уплотнения стыков между головкой и корпусом, а также между корпусом и бункером, для чего необходимо обильно смазывать солидолом войлочные кольца и надежно затягивать стяжные болты.
Тщательная очистка воздуха имеет большое значение для долговечности работы дизеля, так как частицы пыли, попадая на трущиеся поверхности, вызывают абразивный износ их.
К головке блока прикреплены всасывающий и выхлопной коллекторы. К всасывающему коллектору присоединяется воздушный фильтр, а к выхлопному — колено глушителя. Всасывающий коллектор сваривается из двух штампованных стальных половин и имеет толщину стенки 1,5 мм. Выхлопной коллектор отлит из алюминиевого сплава и для предохранения обслуживающего персонала от ожогов имеет водяную рубашку, включенную в систему охлаждения дизеля. От каждого выхлопного коллектора отработавшие газы отводятся через отдельные глушители (рис. 31). Последние прикреплены верхними фланцами к съемной крыше кузова, а нижними к патрубкам 8 выхлопных коллекторов. Между фланцами ставятся уплотняющие асбестовые прокладки. Для спуска несгоревшего топлива внутренняя полость корпуса 1 глушителя сообщается с атмосферой спускной трубой 6, которую необходимо периодически очищать и промывать. Корпус глушителя и выпускные трубы снаружи изолируются листовым асбестом 4 и покрываются металлическим кожухом 5.
Сапун (рис. 32) служит для сообщения полости картера с атмосферой и прикреплен к верхней части картера двумя шпильками. Сапун состоит из корпуса 1 и крышки 3 с фильтрующей набивкой 5 из проволочной канители. В зимнее время для подогрева дизеля через сапун в картер заливается горячее масло.










