Топливоподающие аппараты
Сгорание топлива в дизеле происходит вследствие его самовоспламенения в среде сжатого воздуха, имеющего к концу такта сжатия давление около 35 кг/см2 и температуру 500—600°С. Частицы топлива, поступившие в камеры сгорания, подогреваются, частично испаряются и смешиваются с воздухом.
Повышение степени использования воздушного заряда, необходимого для полного сгорания топлива, в значительной мере зависит от качества приготовления рабочей смеси топлива с воздухом. Улучшению качества смесеобразования способствует тонкое и однородное распыливание топлива и равномерное его распределение в объеме камеры сгорания.
Распыливание — процесс раздробления на мельчайшие капли топлива, впрыскиваемого в цилиндр, происходит под действием перепада давлений перед соплом форсунки и в камере сгорания. Высокое давление топлива создается топливным насосом; ввод его в цилиндры и распыливание в камерах сгорания производятся форсунками.
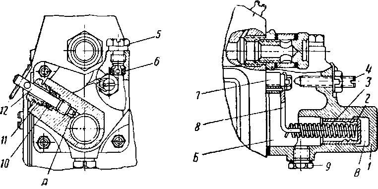
Топливный насос (рис. 22) служит для подвода к форсункам при определенном положении поршня в цилиндре порций топлива, точно соответствующих нагрузке дизеля. На дизеле 1Д12 применен топливный насос плунжерного типа с постоянным ходом плунжеров и регулированием подачи топлива поворотом плунжеров. Он состоит из 12 отдельных насосных секций (соответственно числу цилиндров дизеля), размещенных в корпусе 2 (рис. 22), отлитом из алюминиевого слава.
Кулачковый вал установлен на двух шарикоподшипниках 14, расположенных по его концам, и пяти промежуточных опорах с подшипниками скольжения. На конусный конец вала на шпонке посажена кулачковая муфта // привода насоса. Кулачки 22 вала, расположенные соответственно порядку работы секций насоса, действуя на ролики толкателей 21, приводят в движение плунжеры 4 (рис. 23) насосных секций, обратный ход которых осуществляется пружинами 9, постоянно прижимающими толкатели к поверхности кулачков. Насосные пары секции состоят из плотно пригнанных друг к другу гильз 12 и плунжеров 4, имеющих постоянный ход.
По всей длине верхней части корпуса насоса расположен топливный канал, соединенный двумя поперечными всасывающими отверстиями а и б (рис. 24) в гильзах плунжеров с рабочими камерами насосных пар. Отверстие б с продольным пазом на наружной поверхности гильзы — перепускное. Каждый плунжер имеет продольный паз в, соединяющий торец его со спиральной отсечной кромкой г, предназначенной для изменения величины подачи топлива. Подача топлива начинается при перекрытии отверстий а и б кромкой верхнего торца плунжера при движении его вверх. Давление топлива в этот момент равно 210 ± 3 кг/см2. Окончание

Рис. 22. Топливный насос:
/ — рейка регулирующая: 2 — корпус насоса; з— нагнетательный клапан; 4—секция насоса; 5 — стопорная пластина; 6—пломба фиксирующего винта гильзы; 7 —пробка маелозаливного отверстия; 8 — вннт для спуска воздуха; 9 — штуцер подвода топлива; 10 — винт упора регулирующей рейки; //—кулачковая муфта; 12 — крышка; 13 — сальник; 14 —шарикоподшипник; 15—крышка корпуса; 16 — стопорный винт подшипника скольжения; 17—штуцер спускного отверстия; 18 — средняя опора корпуса; 19 — поворотная гильза; 20 — регулировочный винт; 21 —толкатель; 22 — кулачок; 23 — подшипник скольжения; 24 — пробка с войлочной подушкойподачи происходит при совмещении отсечной кромки г с перепускным окном б гильзы. Над плунжером находится нагнетательный клапан 2,(рис. 23), корпус которого тщательно притерт к торцу гильзой 12 совместной доводкой и прижат к ней через уплотни-тельную прокладку нажимным штуцером, ввернутым в корпуснасоса. Внутри штуцера помещены пружина / и ограничитель подъема клапана. Вверху штуцер имеет резьбовой наконечник с отверстием, расширяющимся на конус, к которому присоединяется топливная трубка высокого давления.
Нагнетательный клапан имеет четыре направляющих пера, разгрузочный поясок и запорный конус. При подаче топлива клапан приподнимается, пропуская его в напорный трубопровод. При открытии перепускного отверстия плунжером давление в рабочей камере насоса быстро снижается, и под действием пружины клапан резко садится на гнездо. При этом напорный трубопровод разобщается от рабочей камеры насоса с момента, когда нижняя кромка разгрузочного пояска войдет в седло. При дальнейшей посадке клапана разгрузочный поясок полностью входит в отверстие седла, вследствие чего объем трубопровода высокого давления увеличивается на величину объема разгрузочного пояска. Поэтому происходит резкое снижение давления в трубопроводе к форсунке, что дает четкое окончание впрыска и устраняет опасность подтекания.
Одновременный поворот плунжеров производится общей зубчатой рейкой 5, в зацеплении с которой находятся зубчатые венцы //, закрепленные на поворотных гильзах плунжеров стяжными винтами. По вертикальным пазам нижних торцов гильз скользят прямоугольные заплечики плунжеров, которые поворачивают плунжер при повороте гильзы. Регулировка на одинаковую подачу топлива разными плунжерами производится при заводских испытаниях путем поворота венчика, удерживающегося

Рис. 23. Насосная секция:
/—пружина нагнетательного клапана; 2 — нагнетательный клапан; з — всасываю-£щее отверстие: 4— плунжер; 5 —рейка; 6 — заплечик плунжера; 7—тарелка плунжера; 8—толкатель; 9 — пружина плунжера; 10 — поворотная гнльза; //—зубчатый венец; 12 — гнльза плунжерана втулке трением, создаваемым зажимом винта. При повороте плунжера по часовой стрелке (если смотреть сверху) подача топлива увеличивается, а при повороте против часовой стрелки_
уменьшается.
Начало подачи в градусах угла поворота коленчатого вала дизеля остается постоянным при любом ее изменении поворотом плунжера. Если рейка переместится настолько, что продольные канавки плунжеров постоянно сообщаются с перепускными отверстиями гильз, то все вытесняемое топливо вытекает через эти канавки обратно в топливный канал. При таком положении плунжеров топливо в форсунки не поступает (нулевая подача). Положение рейки, соответствующее максимальной подаче топлива

Рис. 24. Различные положения плунжера:
а —полная подача: / — н.м.т., // — начало подачн, /// — конец подачи; б —частичная подача:/V — н.м.т., V—конец подачи; в —нулевая подача: VI — н.м.т.
определяется упором ее в винт 10 (рис. 22), регулировка которого производится при контрольном испытании дизеля на стенде. Регулировочные винты 20 толкателей предназначены для установки начала подачи топлива в насосе отдельными плунжерами. Для этой цели зазор между торцом седла нагнетательного клапана и плунжером в его верхнем положении регулируется в пределах, указываемых в формуляре на дизель.
Начало подачи топлива насосом зависит от установки его кулачкового вала по отношению к коленчатому валу. Кулачковый вал соединяется с валом привода посредством муфты с текстолитовой шайбой таким образом, чтобы обеспечивался впрыск топлива в нужный момент. Регулировка установки вала производится на заводе с занесением необходимых данных в формуляр дизеля. В процессе эксплуатации эти данные периодически проверяются. Нарушение регулировки может произойти из-за ослабления стяжного болта регулировочной муфты.
У топливного насоса спуск воздуха из топливоподающего канала насоса и топливного фильтра объединенный. На дизелях, имеющих устройство для их остановки при падении давления масла в главной магистрали, в зажиме угольника, крепящего трубкуотвода воздуха из канала, со стороны регулятора предусмотрен обратный клапан, который предотвращает поступление топлива в канал насоса из топливного фильтра. При отсутствии обратного клапана топливо будет поступать в канал насоса, помимо устройства, нарушая действие последнего.
Смазка кулачкового валика и толкателей топливного насоса производится маслом, залитым в корпус, уровень которого следует постоянно проверять. Расточенные в корпусе вертикальные отверстия закрываются снизу резьбовыми пробками 24 с войлочной подушкой. Смазка плунжера и гильзы осуществляется топливом, просачивающимся между ними. Разбавление масла в картере кулачкового вала топливом, проникшим через элементы насоса, вреда не приносит. Излишек этого масла сливается по трубке в сборный бак.
Регулятор числа оборотов дизеля (рис.25) предназначен для поддержания в определенных пределах заданного числа оборотов коленчатого вала дизеля, а также ограничения изменения числа оборотов в допустимых пределах при резко меняющейся нагрузке. Регулятор — центробежного типа, всережимный, прямого действия, с катарактом (рис. 26) и механизмом переменной степени неравномерности. Размещается он в корпусе, прикрепляемом к торцу корпуса насоса, и составляет с насосом один узел. На коническом хвостовике кулачкового вала насоса на шпонке сидит крестовина 2; в шести ее пазах, расположенных радиально под углом 60° друг к другу, помещается по одному шаровому грузу 3. Со стороны насоса грузы упираются в неподвижную коническую тарелку У, а с другой стороны — в плоскую тарелку 4, которая может свободно вращаться и передвигаться вместе со втулкой вдоль оси по хвостовику крестовины 2.
При увеличении числа оборотов кулачкового валика топливного насоса шаровые грузы под действием центробежных сил перемещают плоскую тарелку, которая через шарикоподшипник, плоский упор и ролик поворачивает рычаг 8 относительно его

Рнс. 25. Регулятор числа оборотов дизеля:
/ — коническая тарелка; 2 — крестовина; Н — шаровой груз; 4 — тарелка плоская; 5 —ось рычага; 6 — пробка спускного отверстия; 7 —пробка контрольного отверстия; 8 — рычаг; 9 — маслоподводящий щиток; 10 — винт; 11 — хомут; 12 — пружины; 13 — крышка корпуса; 14 — пробка смотрового отверстия; 15 — чашка винта; 16 — рычаг; 17 — корпус регулятора; 18 — тяга рейки; 19 — пробка заливного отверстиянеподвижной оси 5. При повороте рычага растягиваются две пружины 12 регулятора и одновременно тяга 18 передвигает рейку насоса в сторону уменьшения подачи топлива.
При уменьшении числа оборотов происходит обратное явление. Пружины вторыми концами закреплены на рычаге, сидящем на одном валике с наружным рычагом регулятора. Число оборотов коленчатого вала дизеля зависит от затяжки пружин регулятора, т. е. от положения наружного рычага, управляемого электропневматическим механизмом управления дизелем.
Наружный рычаг регулятора имеет два упора 2 (рис. 27), ограничивающих максимальный угол поворота его. Нижний упор устанавливается на заводе при работе дизеля в режиме номинальной мощности и положение его определяет максимальное число оборотов дизеля. Верхний упор ограничивает поворот наружного рычага при прекращении подачи топлива. Подача топлива изменяется регулятором автоматически. Положение рейки (а следовательно, и подача топлива) непосредственно связано с положением грузов регулятора относительно оси вращения, но не связано непосредственно с оборотами коленчатого вала. Так, например, на режиме максимальной мощности при предельных оборотах дизеля подача топлива будет наибольшей, хотя грузы будут находиться в ближайшем к оси положении. На малых оборотах холостого хода подача будет минимальной, а грузы будут удалены от оси вала насоса.
Регулятор имеет механизм переменной степени неравномерности, состоящий из рычага 16, в приливах которого вращается винт 10, и хомута 11, соединенного пружинами 12 с рычагом подачи топлива 20 и перемещающегося по резьбе винта 10. От осевых перемещений винт застопорен планкой. На головку винта напрессована чашка, обеспечивающая удобное вращение винта отверткой. Крышка корпуса 13 имеет прилив с отверстием, закрываемым пробкой 14. Вращая винт отверткой, можно на работающем дизеле менять степень неравномерности регулятора. Для уменьшения степени неравномерности необходимо винт 10 вращать против часовой стрелки, а для увеличения — по часовой. После изменения степени неравномерности регулятора возможно изменение числа оборотов дизеля, которое восстанавливается подрегулировкой натяжения пружин 12 наружным рычагом регулятора. Следует иметь в виду, что такая регулировка может производиться достаточно квалифицированными лицами, снабженными необходимыми измерительными приборами.
Смазка регулятора осуществляется разбрызгиванием, для чего в его корпус заливается авиационное масло. Для обеспечения хорошей смазки упора плоской тарелки и втулки регулятора, предусмотрен маслоподводящий щиток 9.
Катаракт предназначен для обеспечения устойчивой работы дизеля на всех режимах; он (рис. 26) представляет собой пневматический амортизатор, поршень 2 которого соединен с кон цами рейки топливного насоса с помощью пружины 3. При неподвижной рейке 7 (установившийся режим работы без колебания оборотов) катаракт бездействует, а при колебании рейки пружина 3, деформируясь, воздействует на рейку, увеличивая тем самым жесткость пружин регулятора, чем и повышает стабильность оборотов. Перепуск воздуха из-под поршня 2 осуществляется через отверстие А, выходящее в полость катаракта. Торможение воздухом достигается поворотом регулирующей конусной иглы 12, которая постепенно закрывает отверстие своим концом, изменяя

Рис. 26. Катаракт:
/ —корпус катаракта; 2 — поршень; 3 — пружина; 4 — винт упора рейки; 5 —пробка для заливки масла; 5 —сетчатый фильтр; 7 — рейка топливного насоса; в —планка пружины; 9 — сливная пробка: 10 — сальник; 11—гайка: 12 — регулирующая конусная игла; Л —отверстие, соединяющее цилиндр катаракта с полостью; Б — полость катаракта; В —полость под поршнемпроходное сечение. Катаракт устанавливается на корпусе топливного насоса со стороны привода, крепится к нему четырьмя шпильками и фиксируется двумя контрольными штифтами. В корпус катаракта заливается профильтрованное дизельное топливо в количестве не более 10 см9. Отсутствие смазки на поршне вызывает неустойчивую работу дизеля, а заедание поршня — завышенные или заниженные обороты коленчатого вала при изменении нагрузки.
Управление регулятором числа оборотов дизеля осуществляется с обоих постов управления тепловозом рукояткой контроллера, которая связана электрическими приводами с электропневматическим механизмом. Последний при помощи рычажной системы воздействует на всережимную пружину регулятора числа оборотов дизеля, изменяя ее затяжку. Каждой позиции контроллера машиниста соответствует определенное число оборотов дизеля.
Электропневматический механизм (рис. 27) с рычажной системой установлен с левой стороны дизеля на сварном кронштейне, прикрепленном к раме тепловоза, и связан с на ружным рычагом регулятора. Он состоит из пневматического привода и управляющих этим приводом трех электромагнитных включающих вентилей типа ВВ1.
Пневматический привод представляет собой блок 1 (рис. 28} из трех пневматических цилиндров, в которых перемещаются поршни 4 с кожаными манжетами. Штоки 12 поршней имеют головки с плоскими опорными поверхностями, на которых лежат

Рис. 27. Схема механизма управления регулятором:
/ — плоская тарелка регулятора; 2 —винты упора, ограничивающие поворот наружного рычага; 3 — винт упора рейки насоса; 4 — муфта наклонной тяги; 5 — рукоятка ручного управления; 6 — подвижной хомут рукоятки; 7 —двуплечий рычаг рукоятки; «—фиксатор рукоятки; 9 — муфта вертикальной тяги; 10 — главный рычаг; //— прямой рычаг; 12 —изогнутый рычаг; 13 — наружный рычагтекстолитовые сухари 10 опорных точек рычажной системы привода. Последняя состоит из трех рычагов: главного одноплечего 7, шарнирно закрепленного в приливе корпуса привода, и двух двуплечих 8 и 9, соединенных шарнирно между собой. Фигурный рычаг 9 шарнирно связан также с главным рычагом 7. Крышка 3 закрывает нижнюю поверхность блока и образует под поршнями 4 рабочие полости цилиндров. Пружины 14 служат для возврата поршней в нижнее положение.
Сжатый воздух от магистрали под давлением 3,5 кг/см2 подводится к блоку пневматического привода, в котором для этого предусмотрено продольное сверление. Рабочая полость каждого цилиндра может сообщаться со сверлением подвода сжатого воздуха или с атмосферой только через электромагнитные вентили ВВ1.
Шарнирные соединения валиков рычажной системы выполнены на игольчатых подшипниках для предохранения их от износа. В собранной рычажной системе люфты не допускаются. Рычажная система уравновешивается цилиндрической пружиной 6.
Вентили включающего типа ВВ1 осуществляют впуск сжатого воздуха в цилиндры при возбуждении электромагнитных катушек (прохождении тока по катушкам) и выпускают воздух из цилиндров в атмосферу при прекращении возбуждения (обесточивании) катушек.
Включение и выключение различных электромагнитных вентилей пневматического привода происходит в зависимости от по-

Рис. 28. Электропневматический механизм управления регулятором:
/ — блок; 2 —заглушка воздушного отверстия; 3 — крышка; 4 —поршень; 5 — воздушные отверстия, соединяемые с вентилем; 6 — пружина главного рычага; 7 —главный рычаг; 8 — прямой рычаг; 9 — фигурный рычаг; 10 — сухарь текстолитовый: //—масленка; 12 — шток поршня; 1о — направляющая втулка; 14 — пружина поршняложения рукоятки контроллера на одном из двух постов управления тепловоза. Путем последовательного возбуждения катушек одного из вентилей, одновременно двух из них или всех трех, осуществляется впуск сжатого воздуха в цилиндры соответственно включенным вентилям. Под действием сжатого воздуха, преодолевая усилие пружин 14, поршни 4 поднимаются вверх, при этом штоки 12 приводят в действие рычажную систему, которая изменяет затяжку всережимной пружины. Ход каждого поршня до упора равен 13,5 мм и может быть отрегулирован прокладками, установленными между заточками штоков и опорными поверхностями ступиц поршней. Ход поршня измеряют по зазору между нижней поверхностью головки штока и торцом направляющей втулки, запрессованной в блок. Путем изменения хода поршня можно увеличивать или уменьшать величину подъема рычагов,
а следовательно, и главного рычага по отдельным позициям контроллера. Регулировка подъема главного рычага по позициям дает возможность, изменяя затяжку всережимной пружины регулятора, получать заданное число оборотов коленчатого вала дизеля. Включение трех цилиндров пневматического привода в различных их сочетаниях позволяет осуществлять семь ступеней подъема главного рычага и соответственно этому семь ступеней изменения числа оборотов коленчатого вала дизеля (табл. 1).
Величины подъема главного рычага 7 и соответствующие им ступени изменения чисел оборотов коленчатого вала приведены в табл. 1.
Таблица 1

Примечание. На нулевой позиции контроллера после включения кнопки «Управление общее» вентиль цилиндра № 1 включается и осуществляет подъем поршня первого цилиндра, который создает предварительный подъем главного рычага для первоначальной затяжки пружины регулятора оборотов двигателя, обеспечивающий его запуск.
В эксплуатации число оборотов по позициям контроллера должно выдерживаться в соответствии с заводской регулировкой.
Регулировка механизма изменения затяжки пружины регулятора производится путем изменения:
а) длины вертикальной и наклонной тяг муфтами 9 и 4 (рис. 27);
б) нулевого положения двуплечего рычага 7;
в) радиуса поворота подвижного хомута 6 рукоятки.
Перед началом регулировки необходимо поставить двуплечий рычаг 7 так, чтобы ось шарнира вертикальной тяги располагалась ниже оси вращения двуплечего рычага на 10—-11 мм (это положение двуплечего рычага фиксируется стяжной муфтой вертикальной тяги), а подвижной хомут 6 установить так, чтобы ось его шарнира находилась от оси вращения двуплечего рычага на расстоянии около 55 мм. Промежуточный рычаг на валике подачи топлива, соединенный с рычагом затяжки пружины регулятора, устанавливается вертикально.
Тяга рукоятки пневматического привода должна быть отрегулирована муфтой таким образом, чтобы система рычагов не имела люрга при положении наружного рычага регулятора на упореминимальных оборотов. Перед регулировкой необходимо прогреть дизель, пользуясь для изменения числа оборотов рукояткой ручного управления.
После этого необходимо проделать следующее:
1) установить рукоятку контроллера машиниста в 8-е положение и определить максимальное число оборотов холостого хода дизеля, которое должно быть 1 560 об/мин. При меньшем числе оборотов необходимо хомут 6 сдвигать по стержню рукоятки вверх, пока число оборотов не достигнет 1 560 в минуту;
2) установить рукоятку контроллера в нулевое положение (первый вентиль пневматического привода должен быть при этом включен) и, изменяя длину вертикальной тяги, установить число оборотов дизеля 750 об/мин. Допускается установка с отклонением от номинальных чисел оборотов на 20 сб/мин при условии надежной остановки дизеля при выключенной кнопке «Управление общее»;
3) установить рукоятку контроллера в 8-е положение и, если число оборотов дизеля соответствует 1 560 в минуту, провести контроль чисел оборотов по промежуточным положениям рукоятки контроллера;
4) убедившись в том, что после проделанных операций по регулировке числа оборотов коленчатого вала дизеля в диапазоне 730—1 560 об/мин соответствуют положениям рукоятки контроллера от нулевого до восьмого, необходимо надежно закрепить хомут и зашплинтовать стяжной болт;
5) проверить отрегулированную систему рычагов механизма затяжки пружины регулятора в диапазоне 730—1 560 сб/мин на предмет определения числа оборотов по каждому положению рукоятки контроллера. При необходимости изменения числа оборотов по отдельным положениям рукоятки контроллера необходимо снять привод и заменить регулировочную шайбу под ступенчатой втулкой соответствующего поршня. После этого проверить обороты дизеля на всех положениях рукоятки контроллера.
После регулировки привода необходимо произвести пятикратную проверку правильности установки числа оборотов по положениям рукоятки контроллера и четкость остановки при нулевом положении рукоятки контроллера и выключении кнопки «Общее управление». Регулировку механизма управления по показаниям электротахометра дизеля нужно контролировать механическим тахометром. Контрольную проверку регулировки привода по всем позициям контроллера необходимо провести путем запуска и остановки дизеля со второго поста управления. На отрегулированном механизме привода стяжные муфты вертикальной и наклонной тяг должны быть закреплены контргайками и опломбированы.
Для пуска дизеля при отсутствии сжатого воздуха в магистрали тепловоза рычажную систему можно привести в действие при помощи рукоятки 5 (рис. 27) с зубчатым сектором, которыйставится на зуб пружинного фиксатора 8. При действии электропневматического привода фиксатор рукоятки выводится из зацепления с зубчатым сектором и не препятствует работе механизма.
Рычажная система уравновешивается цилиндрической пружиной .
Впускные и выпускные отверстия, соединяющие вентили с рабочими полостями цилиндров, имеют жиклеры, предназначенные для увеличения времени наполнения цилиндров с целью плавного перехода рычага из одного положения в другое, чем достигается более мягкая работа электропневматического механизма. Для этой же цели управление рукояткой контроллера должно осуществляться с выдержкой на каждом положении, т. е. переход на последующую ступень должен производиться по достижении дизелем чисел оборотов, соответствующих данной ступени как при повышении, так и при снижении скорости вращения коленчатого вала.
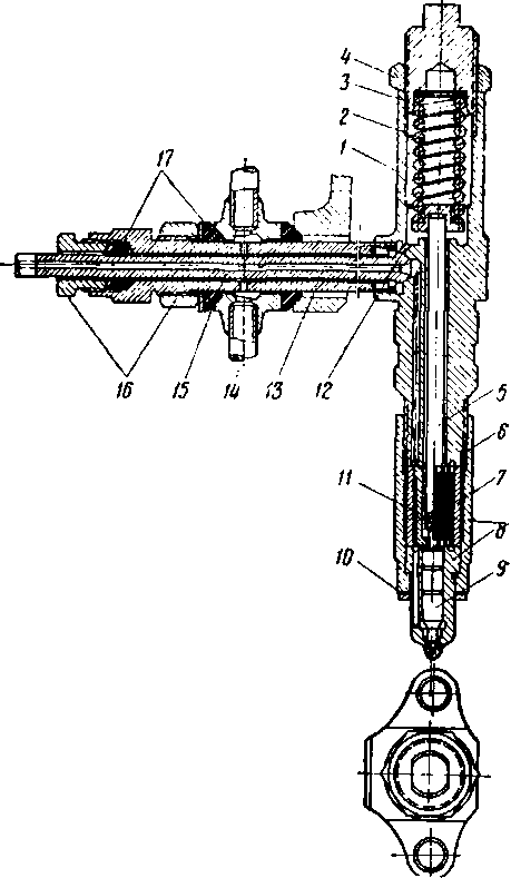
Форсунка служит для впрыскивания топлива в камеру сгорания в распыленном виде; она состоит из корпуса и распылителя. В верхней части пустотелого корпуса 1 (рис. 29) размещена пружина 2, которая одним торцом упирается в регулиро вочную гайку 3, а другим в тарелку, напрессованную на штангу 5. Штанга нижним концом нажимает на штифт иглы распылителя 9. Топливо, просочившееся вдоль штанги в корпус форсунки, через отверстие сливается в штуцер и далее в отводящую трубку, которая выводится в топливный бак. Внутри штуцера размещается напорная трубка. В корпусе распылителя 8 скользит притертая к нему игла 9, спаренные вместе они представляют собой прецизионную пару. Игла имеет два конуса. Меньший конус, притертый к гнезду, закрывает сопловые отверстия, сообщающие внутреннюю полость распылителя с камерой сгорания; большой конус является торцовой поверхностью, на которую действует давление топлива при подъеме иглы. Распылитель к корпусу форсунки крепится при

Рис. 29. Форсунка:
/—корпус: 2 — пружина; 3 — регулировочная гайка; * —контргайка; 5 — штанга с тарелкой. 6 — накидная гайка распылителя; 7 —наружная втулка щелевого фильтра; В — корпус распылителя; 9—игла распылителя; 10— уплотняющее кольцо; // — внутренняя втулка щелевого фильтра;
12 — отверстие для выхода просочившегося топлива;
13 — нажимной штуцер;
14 — трубка для отвода топ-лиса; 15 — нагнетательнаятрубка: 16 — нажимные гайки; /7 —сальникипомощи накидной гайки 6. Между торцами распылителя и форсунки устанавливается дополнительный щелевой фильтр тонкой очистки топлива. Внутренняя втулка 11 щелевого фильтра, на наружной поверхности которой имеются несквозные продольные канавки, поочередно идущие от противоположных торцов, входит с зазором в 0,02—0,04 мм в наружную втулку 7 так, что между канавками образуются щели для прохода топлива.
Игла распылителя прижимается к седлу пружиной, воздействующей через штангу. Предварительная затяжка пружины, производимая регулировочной гайкой, определяет начало подъема иглы, после чего топливо впрыскивается через семь отверстийдиаметром 0,25 мм, расположенных так, что угол между их осями составляет 140°.
Нагнетательная топливная трубка предназначена для соединения секции насоса с форсункой. Она изготовляется из толстостенной стальной трубы с наружным диаметром 7 мм и толщиной стенки 2,5 мм, на концах которой при помощи холодной высадки с последующей полировкой образуется конусная (под углом 60°) головка, служащая для присоединения к штуцерам. Внутренняя поверхность трубки тщательно обрабатывается при помощи пескоструйного аппарата, наружная поверхность оцинковывается. Внутреннее отверстие при выходе разделывается на конус под углом 20°.










