Механизм газораспределения
Механизм газораспределения предназначен для управления подачей воздуха в цилиндры и удаления из них отработавших газов. Механизм состоит из клапанов и распределительных валов. Клапаны служат для периодического сообщения рабочей полости цилиндров с воздушным и выхлопным коллекторами. Каждый цилиндр обслуживается четырьмя клапанами, из которых два впускных и два выпускных.
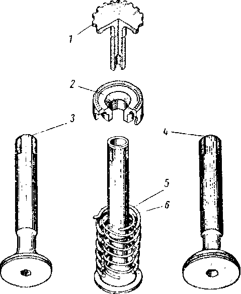
Клапаны состоят из головки и стержня. Впускные клапаны изготовляются из хромистой стали, выпускные — из специальной жаростойкой стали. Диаметр головки всасывающего клапана (54 мм) несколько больше диаметра выхлопного (50 мм) для обеспечения лучшего наполнения цилиндров воздухом. Стержень заканчивается резьбовым отверстием, в которое ввертывается хвостиктарели / (рис. 20). Тарель воспринимает усилие от кулачка, а также служит для регулировки зазора между ее рабочей поверхностью и тыльной частью кулачка. Положение тарели фиксируется

Рис. 20. Клапаны:
/—тарель клапана; 2 —замок тарели клапана; 3 — клапаи выпуска; 4 —клапан впуска; 5 — большая пружина; 6 — малая пружиназамком 2, который, передвигаясь по шлицам стержня, входит радиальными шлицами в шлицы тарели. В закрытом положении клапаны удерживаются двумя соосными пружинами 5 и 6, которые служат также для прижатия замка. Наружные пружины на крайних витках имеют усики, один из которых входит в углубление головки блока, а другой в прорезь замка, чем предотвращается вращательное движение клапанов, вызывающее износ кулачков распределительных валов.
Распределительные валы (рис. 21). Управление закрытием и открытием клапанов каждой головки блока производится от двух распределительных валов, из которых вал / предназначен для управления впускными, а вал 2 — выпускными клапанами.
Валы изготовляются из качественной углеродистой стали и имеют семь опорных шеек и двенадцать кулачков одинакового профиля с закаленной поверхностью. Для подвода масла к опорным подшипникам и тарелям клапанов валы выполнены полыми. Укладываются они на алюминиевые подшипники 3 и соединяются между собой цилиндрическими шестернями 4 и 5. Приводные шестерни монтируются на распределительных валах при помощи регулировочных втулок //, которые для этой цели имеют разное количество шлиц на внутренней и наружной поверхности. Поворачивая регулировочные втулки, можно изменять положение валов Относительно коленчатого вала с целью регулировки газораспределения. Цилиндрическая шестерня распределительного вала впуска выполнена заодно с конической шестерней, которая зацепляется с шестерней вала передачи к топливному насосу. При вращении валов кулачки в определенной последовательности набегают на тарели клапанов, заставляя их открываться и увеличивать при этом сжатие пружин. При сбегании кулачков пружины плотно прижимают клапаны притертыми поверхностями к гнездам. Распределительные валы вращаются вдвое медленнее коленчатого вала.
Масло для смазки механизма подается из полости верхнего подшипника валика передачи к топливному насосу, по трубке поступает к штуцеру на головке блока и по каналу в нем подводится к упорному подшипнику распределительного вала. Из полости в подошве подшипника по двум вертикальным каналам масло поступает к выточкам упорных подшипников, из которых по отверстиям в валах входит в их полости, откуда по радиальным отверстиям поступает на остальные шейки, а также на кулачки и тарели клапанов. Смазка направляющих втулок производится разбрызгиванием в пространстве, ограничиваемом крышкой клапанного механизма. Масло, вытекающее из зазоров в подшипниках, а также стекающее с тарелей клапанов, собирается под крышкой и сливается в картер по кожуху валика привода распределительных валов и по сливной трубе, присоединенной к головке блока со стороны маховика.










