§ 26. ГЛАВНЫЙ ГЕНЕРАТОР
Главный генератор предназначен для питания тяговых электродвигателей соединённых зубчатой передачей с движущими осями тепловоза, и пуска двигателя внутреннего сгорания; при пуске генератор работает электродвигателем и питается от аккумуляторной батареи.
На тепловозе ТЭ2 установлен главный генератор типа МПТ 84/39 мощностью 700 кет при токе 1 ООО а. В тепловозной схеме мощность генератора устанавливается 620—630 кет.
Генератор:
5 — задняя лабиринтная крышка; б — отражательные кольца; 7 — гайка подшипника; // — роликовый подшипник; 12 — миканитовый цилиндр; 13 — шайба корпуса коллектора; 14 — корпус 18—щёткодержатель; 19 — болты для крепления щёткодержателей; 20 — уравнительные соединения; еочного полюса; 25 — обмотка добавочного полюса; 26 — площадка для установки турбовоздуходувки; лобовые части); 30 — болты для крепления вентилятора;,?/— отверстия под втулки и болты крепления 34 — ступица корпуса якоря; 35 — сетки отверстий для выхода охлаждающего воздуха; 36 — лапы; 40— вентиляционные каналы в железе якоря'. 41 — пазы в железе якоря; 42 — сердечник главного каркаса катушки главного полюса; 46 — обмотка катушки главного полюса; 47 — трубка для запрес-пружинный замок; 50 — крышка коллекторного люка; 51— кабельные выводы
Главный генератор тепловоза представляет собой восьмиполюсную машину постоянного тока с независимым возбуждением.
Конструктивно генератор состоит из станины с укреплёнными на ней главными и добавочными полюсами, якоря, щёткодержателей и подшипникового щита.
Станина / (фиг. 172) является одновременно и магнитопроводом генератора, а поэтому изготовляется из толстой стальной полосы с хорошей магнитной проводимостью; полосу загибают на вальцах, после чего сваривают. К станине прикреплены внутри 8 главных и 8 дополнительных полюсов, вверху слева — площадка 26 для установки турбовоздуходувки. По бокам к станине привариваются лапы 36, а с передней стороны шестнадцатью болтами 2 прикрепляется подшипниковый щит 4. В задней своей части станина имеет центрирующий бурт 38, который входит при сборке в расточку рамы двигателя, и 10 отверстий для постановки крепящих шпилек.
Главные полюсы генератора предназначены для создания магнитного потока. Каждый полюс состоит из сердечника 42 и катушки 39. Сердечники полюсов для уменьшения вихревых токов набираются из 380 лакированных листов толщиной 1 мм. Пакеты сердечников прессуются под давлением 6 т и скрепляются семью длинными заклёпками с потайными головками. Катушка главного полюса состоит из каркаса 9 (фиг. 173) и двух обмоток. При изготовлении катушки металлический каркас изолируют прессшпаном толщиной 0,2 мм и тремя слоями миканита 4 толщиной 0,5 мм, а по краям его ставят изо-литовые рамки 3 и 10. Непосредственно на изоляцию каркаса наматывают 3 витка пусковой обмотки из полосовой меди размером 1,95x90 мм. Для изоляции между витками прокладывают миканит 6 толщиной 0,5 мм, а по краям для заполнения всей ширины катушки ставят деревянные колодки 2 и рамки //.
Последний виток пусковой обмотки изолируют миканитом толщиной 0,5 мм и прессшпаном толщиной 0,8 мм. На эту изоляцию наматывают 105 витков обмотки независимого возбуждения в 9 слоев. В первых четырёх слоях укладывают по 14 витков, а в последующих слоях — 13, 12, 10, 8 и 6 витков сбмотки из прямоугольной меди марки ПБД размером 4,1 X 6,9 мм.
Для улучшения изоляционных свойств катушку подвергают пропитке и окраске серой эмалью.
Готовую катушку в нагретом состоянии надевают на сердечник. При постановке полюса под катушку нодкладывают пружинящую рамку и несколько прессшПановых прокладок.
Добавочные полюсы предназначены для улучшения коммутации генератора. Они состоят из сердечников и катушек. Сердечники добавочных полюсов 5 (фиг. 174) изготовляют из литой стали Ст. 2 размером 50 X 150 х 350 мм.
Катушка дополнительного полюса состоит из семи витков голой меди 1 размером 19,5 X 14 мм. Между витками ставят деревянные прокладки 2, а крайние витки изолируют миканитовой лентой 6 толщиной 0,15 мм в два слоя внахлёстку и тафтяной лентой в один слой внахлёстку.
Каркас 8 катушки изготовляют из стальной пластины и изолируют миканитом толщиной 0,35 мм в три слоя и прессшпаном толщиной 0,2 мм.
При сборке катушки по концам сердечника ставят деревянные колодки 9, а зазоры заполняют специальной замазкой 10.
Фиг. 173. Катушка главного полюса:
/ — медь ПБД; 2 —деревянная колодка; 3, 10, //—рамки; 4 — миканитоЕая изоляция каркаса; 5 — прессшпановая изоляция каркаса; б —миканит; 7 —изоляция между пусковой и независимой обмоткой; 8 — медь голая пусковой обмотки; 9 — каркас
Якорь генератора состоит из корпуса с коротким валом, пакета железа коллектора и обмотки.
Корпус якоря состоит из стальной втулки 32 (см. фиг. 172) с приваренным фланцем, двенадцати рёбер 33 и ступицы 34. В шлифованное отверстие ступицы запрессовывается вал якоря 8, который вторым своим концом опирается на внутреннюю обойму двухрядного самоустанавливающегося роликового подшипника 11 типа ГПЗ № 3620.
Фланец втулки корпуса якоря имеет 12 отверстий 31 под постановку специальных втулок и болтов, которыми якорь прикрепляется к фланцу коленчатого вала двигателя внутреннего сгорания.
Сердечник железа якоря 23 состоит из 370 листов, выштампованных из электротехнической стали марки Э1А. Листы после штамповки.и лакировки свободно набирают на корпус якоря, а затем спрессовывают усилием 45—100 т. Листы железа имеют по 76 пазов 41 размером 13,5 X 46 мм и 76 вентиляционных каналов 40 диаметром 34 мм, расположенных по двум окружностям.
Фиг. 174. Катушка дополнительного полюса:
i — медь голая; 2 —деревянная прокладка; 3 — шпагат; 4 и 7 —рамки изоляционные; 5 — сердечник; 6 — миканитовая лента; 8 — каркас; 9 — деревянные колодки; 10 — замазка
Коллектор генератора служит для" выпрямления переменного тока в постоянный и состоит из 380 коллекторных пластин (ламелей) 15, изолированных друг от друга прокладками из коллекторного миканита толщиной 1 мм.
Верхние концы коллекторных пластин, (петушки) имеют прорези, в которые впаивают концы обмотки якоря 21. Нижняя часть коллекторных пластин, имеющая форму ласточкина хвоста, служит для удержания пластин между упорной шайбой корпуса коллектора 14 и нажимной шайбой 13, которые стягиваются 18 болтами. Изолирование пластин от упорной и нажимной шайб производят миканитовыми манжетами (конусами), а от корпуса— миканитовым цилиндром. Выступающий конец миканитовой манжеты прижимают к шайбе верёвочным бандажом, покрытым эмалью.
Обмотка якоря генератора петлевая с уравнительными соединениями.
Обмотка якоря состоит из отдельных секций — катушек. Каждая секция (фиг. 175) состоит из пятнадцати медных проводников 1 сечением 1,81 X 5,5 мм марки ПДА. Отдельные проводники изолируют друг от друга миканитовыми прокладками 2 размером 0,15 х 20 X 650 мм. Секцию изолируют микален-той № 4509 размером 0,1 X 20 мм в три слоя вполуперекрышу, а затем телефонной бумагой № 3111 размером 0,5 х 20 мм и стеклянной лентой № 1412 размером 0,15 X 26 мм в один слой, впритык. Стеклянная лента № 1412 предварительно пропитывается лаком № 2102.
В пазу якоря на дне и между секциями располагают миканитовые прокладки 6 толщиной 0,5 мм. Под крепящие изолитовые клинья укладывают пресс-шпановые прокладки толщиной 0,5 мм.
Шаг обмотки по пазам 1 — 10, шаг по коллектору 1 — 2.
Фиг. 176. Щёткодержатель с подвеской:
/—подвеска; 2—щётка; 3—корпус; 4 — болт; 5—винт; 5 —храповик; 7—винт; 8— контактный болт; 9 — фасонный болт; 10— втулка пружины; // —пружина; 12 — рычаг", 13 — изоляционная масса; 14 — фасонная гайка; 15 — болт
Уравнительные соединения 20 (см. фиг. 172) выполнены из голой меди размером 1,81 X 6,9 мм, изолированы шёлковой лентой толщиной 0,2 мм впо-луперекрышу и расположены под передними лобовыми частями обмотки якоря в углублении его нажимной шайбы. Шаг уравнительных соединений 1—96, 6 — 101, т. е. уравнительные соединения располагают через каждые пять коллекторных пластин.
Щёткодержатель генератора состоит из стальной подвески / (фиг. 176) и трёх корпусов 3.
Подвеска / специальным держателем прикреплена к подшипниковому щиту Держатель состоит из фасонного болта 9, которым крепится подвеска 1, изоляционной массы 13 и фасонной гайки 14. В гайку 14 входит болт 15, удерживающий держатель на подшипниковом щите. Головка болта 9 и гайка 14 имеют выступы высотой 3 мм и шириной 38 мм. Эти выступы входят в углубления подвески и подшипникового щита, не допуская тем самым поворачивания скобы. Каждый корпус 3 прикрепляется к подвеске 1 болтом 4 и имеет два паза ллс установки щёток 2. Щётки 2 устанавливаются не перпендикулярно к поверхности коллектора, а под углом 30° (набегающая щётка) и 10° (сбегающая щётка), что обеспечивает хороший контакт щёток с коллектором. Нажатие щёток обеспечивается пружинами И, свободно надетыми на втулки 10. Концы пружин 11 можно переставлять по зубьям храповика 6, чем и производится регулировка нажатия щёток. Для возможности регулировки зазора между коллектором и корпусом щёткодержателя отверстия под болты 4 сделаны в корпусах 3 овальными. Этот зазор должен быть в пределах 2,8—3,2 мм.
Для отвода электрического тока наконечники витых шунтов щёток крепятся винтами 5 и 7 к корпусам 3 или к подвеске /. От подвесок ток отводится собирательными шинами, которые присоединяются к подвескам контактными болтами 8.
Соединение обмоток полюсов и якоря главного генератора показано на фиг. 177-
Вентиляция генератора, предназначенная для охлаждения его греющихся частей, осуществляется вентиляторным колесом 28 (см. фиг. 172), прикреплённым болтами 30 к корпусу якоря. Вентилятор прогоняет засасываемый воздух через вентиляционные отверстия в подшипниковом щите между полюсами и якорем, а также по каналам, имеющимся в железе якоря.
Технические данные
- Тип ....................МПТ 84/39, восьмиполюсный, постоянного тока
- Номинальная мощность при 740 об/мин . . 620 кет
- Длительный ток при ^=25° ........ 1 200 а
- Вес .................... 4 500 кг
- Характеристические кривые ........ См. фиг. 178
- Количество смазки в подшипнике ..... 475 г
Воздушные зазоры:
- а) под главными полюсами........* 4 мм
- б) под дополнительными полюсами .... 6,5—7 мм
Щётки:
- а) сорт.................. ЭГ-14
- б) размер ................ 9x38 мм
- в) нажатие................ 860 г
Сопротивление обмоток при 20°:
- а) главных полюсов ........... . 0,69 ом
- б) дополнительных полюсов ....... 0,00325 ом
- в) пусковой ............... 0,003 ом
Уход. Главный генератор тепловоза является основным силовым агрегатом, а поэтому за ним должен быть установлен особенно тщательный контроль и уход.
Профилактический осмотр генератора должен производиться не реже одного раза в два дня. Кроме того, должен быть установлен график более тщательных осмотров в эксплуатации.
При контрольных технических осмотрах через 6—7,5 тыс. км пробега, но не реже одного раза в месяц нужно очистить крышки коллекторных люков от грязи, снять их и продуть генератор ■ чистым, сухим сжатым воздухом. После этого протереть коллектор безволокнистой тряпкой,смоченной чистым авиационным бензином. Поверхность коллектора не должна иметь царапин, забоин или раковин. Если же на коллекторе имеются названные дефекты, то его нужно прошлифовать. Биение коллектора допускается не более 0,04 мм.
Глубина продорожи-вания коллектора должна быть 1,2 мм. Если производится продороживание, то после этого нужно удалить заусеницы, не скашивая кромок ламелей, а затем произвести полировку коллектора мелкозернистой-стеклянной бумагой.
При осмотре бандажей следует убедиться, что на их поверхности нет масла и грязи. В случае необходимости бандажи следует покрыть серой эмалью (Л2260 ХЭМЗ).
Во время осмотра щёткодержателей необходимо уделять особое внимание состоянию щёток и лёгкости их перемещения в корпусах щёткодержателей. Короткие или сколотые щётки должны быть заменены новыми той же марки.
При осмотре катушек возбуждения следует обращать внимание на состояние изоляции и надёжность крепления контактов.
Смазка подшипника генератора производится шарикоподшипниковой смазкой 1-13 по ГОСТ 1631—42 или оссоголином III. После полной очистки и промывки подшипника для его заполнения требуется 475 г смазки. Через каждые 6 месяцев нужно добавлять по 85 г той"же смазки. Закладка большего количества смазки может нарушить работу генератора, так как излишек её будет разбрызгиваться и может попасть на щётки и коллектор.
Неисправности. При эксплуатации тепловозов чаще всего имеют место следующие неисправности главного генератора: выход из строя роликоподшипника, искрение под щётками, перебросы по изоляторам и коллектору, выработка коллектора, ослабление крепления внутренних соединений, обрыв лап подшипникового щита.
Ремонт генератора производится в заводских условиях, так как разборка генератора при деповских ремонтах тепловоза не предусматривается.
При разрушении роликового подшипника необходимо разобрать муфту привода компрессора, снять ремни привода двухмашинного агрегата и вентилятора электродвигателей передней тележки, спрессовать шкив и подложить фи-боовые или картонные прокладки под якорь генератора.
Фиг. 179. Эскиз приспособления для спрессовки подшипника генератора:
/ — вал; 2 — подшипник; з—задняя лабиринтная крышка; 4 — шпилька; 5—диск; 6 — винт
Затем необходимо удалить стопорные винты гайки 7 (см. фиг. 172), отвернуть гайку 7 и болты 10, снять переднюю лабиринтную крышку 9, отвернуть болты 2 и отнять подшипниковый щит 4 от станины 1.
Для спрессовки подшипника удобно пользоваться приспособлением, показанным на фиг. 179. Для этого в отверстия задней лабиринтной крышки подшипника ввинчивают длинные шпильки 4 и на концы их надевают съёмный диск 5. Вращая винт 6, спрессовывают подшипник вместе с отражательными кольцами и задней крышкой 3.
Новый подшипник очищают от антикоррозийной смазки, для чего подогревают его в течение 3—5 мин. сухим воздухом, имеющим температуру 30—40°, и затем промывают в машинном масле. Очищенный подшипник подвергают тщательному осмотру и проверке щупом зазора между роликами и внутренним кольцом.
Сборка подшипника ведётся в обратном порядке. Подшипник может быть напрессован в холодном состоянии под давлением около 1 т или же надет лёгкими ударами деревянного молотка в нагретом состоянии. Нагрев подшипника производят в чистом минеральном масле при температуре 110° в течение 40 мин. Класть подшипник на дно ванны не разрешается, а потому она должна иметь специальную полку или сетку.
Ремонт коллектора генератора в деповских условиях заключается в проточке и продорожке
Проточить коллектор генератора можно без разборки генератора при вращении его двигателем тепловоза. Для этого используется специальное приспособление, состоящее из плиты, которая крепится к лапе подшипникового щита, и малогабаритного суппорта токарного станка.
Для удобства работы следует снять один щёткодержатель, а для устранения возможности попадания медной стружки внутрь генератора вдоль петушков заложить полосу картона.
Перед проточкой коллектора следует прогреть двигатель, иначе будет затруднён его запуск на шести щёткодержателях, и выключить компрессор, чтобы обороты двигателя были более устойчивыми. Выключить компоессоо можно подводом воздуха к выключающему устройству или вывернув один из его клапанов.
Чтобы полностью снять возбуждение генератора, необходимо отключить сопротивление, шунтирующее контактор возбуждения генератора.
Для получения гладкой поверхности коллектора ведётся проточка с малой продольной подачей резца и на холостых оборотах двигателя.
После проточки коллектор продороживают на глубину 1—1,2 мм. При продороживании уделяют особое внимание тому, чтобы не снимать медь пластин и не скашивать их края.
Продороженный коллектор подвергают шлифовке мелкой стеклянной шкуркой № 000, укреплённой на деревянной колодке, имеющей выточку диаметром, равным диаметру коллектора генератора. После шлифовки коллектора генератор продувают сухим сжатым воздухом давлением 3—4 am и протирают вначале тряпкой, смоченной спиртом или авиационным бензином, а затем сухой безворсовой тряпкой.
Катушки полюсов могут быть сняты без разборки генератора. Для этого снимают три ближайших щёткодержателя, разъединяют все собирательные шины и перемещают их так, чтобы можно было снять полюс с катушкой через окно в подшипниковом щите.
Если должен быть снят дополнительный полюс, то вначале необходимо снять главный полюс. Катушка главного полюса легко снимается с сердечника, а катушка дополнительного полюса смонтирована на сердечнике наглухо и не снимается.
После окончания ремонта все межкатушечные соединения, поверхности катушек и внутренние стенки станины генератора, а также бандажи и лобовые соединения якоря окрашивают серой эмалью (Л2260 ХЭМЗ), а конус коллектора— лаком № 1201.
После сборки генератор подвергают сушке и проверяют сопротивление изоляции. Сушку генератора производят обычно током короткого замыкания величиной до 1 300 а.
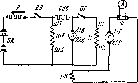
Принципиальная электрическая схема сушки генератора током короткого^ замыкания дана на фиг. 180.
После сушки сопротивление изоляции проверяют мегомметром; оно должно быть не менее 1 мгом при температуре 25°. Проверка генератора на пробой током высокого напряжения производится одновременно с испытанием всей силовой электрической цепи по требованиям ГОСТ 183—41.
Фиг. 180. Принципиальная электрическая схема сушки генератора током короткого замыкания










