§ 27. ДВУХМАШИННЫЙ АГРЕГАТ
Двухмашинный агрегат представляет собой механическое объединение двух электрических машин: вспомогательного генератора и возбудителя. Якори обеих машин расположены на одном валу 47 (фиг. 181), а станины 1 и 3 болтами 25 соединяются в одно целое.
Агрегат располагают под высоковольтной камерой. Привод агрегата осуществляется через клиноремённую передачу. При 740 об/мин коленчатого вала двигателя вал двухмашинного агрегата делает 1 776 об/мин. Агрегат защищенного исполнения с самовентиляцией, вес его 385 кг. Агрегат должен удовлетворять ГОСТ 2582—44 на электрические машины.
Вспомогательный генератор тина МВГ 25/11 предназначен для питания цепей управления, освещения, возбуждения возбудителя и зарядки аккумуляторной батареи.
Мощность вспомогательного генератора —5 кет при напряжении 75 в.
Особенностью данной машины является то, что она начинает вырабатывать док не от самовозбуждения (т. е. от остаточного магнетизма главных полюсов), а от первоначального возбуждения током аккумуляторной батареи.
Напряжение вспомогательного генератора поддерживается регулятором напряжения, равным примерно 75 в, независимо от его нагрузки и числа оборотов двигателя. Постоянство напряжения достигается изменением величины тока в обмотке главных полюсов за счёт подключения в их цепь различного сопротивления.
Вспомогательный генератор имеет шесть главных и шесть дополнительных полюсов.
Фиг. 181. Двухмашинный агрегат:
! — станина вспомогательного генератора; 2 —вентилятор; 3 — станина возбудителя; 4 — лапы; 5 —коллектор возбудителя; 6 — подшипник возбудителя; 7 —гайка подшипника; в —крышка подшипника; 9 — болты наружного ряда кольца подшипника; 10 — болты внутреннего ряда кольца подшипника; 11 — капсюль подшипника возбудителя; 12 — крышка для осмотра коллектора возбудителя; 13 — гайка коллектора возбудителя; 14 — нажимная шайба коллектора возбудителя; 15 — изолятор щёткодержателя; 16 — щеткодержатель возбудителя; 17 — шпонка коллектора; 18 — обмотка якоря возбудителя; 19 — шунтовая обмотка; 20 — железо якоря возбудителя; 21 — противокомпаундная обмотка; 22 —сердечник полюса возбудителя; 23 — латунные листы якоря; 24— задняя шайба якоря возбудителя; 25 —соединительные болты; 26 — железо якоря вспомогательного генератора (сердечник); 27 —сердечник полюса вспомогательного генератора; 28 — шунтовая обмотка полюса вспомогательного генератора; 29 — обмотка якоря вспомогательного генератора; 30 — корпус коллектора вспомогательного генератора; 31 —коллекторные пластины; 32 — щёткодержатель вспомогательного генератора; 33 — нажимная шайба коллектора вспомогательного генератора; 34 — крышка для осмотра коллектора вспомогательного генератора; 35 — гайка коллектора; 36 — капсюль подшипника; 37 — болты внутреннего ряда; 38 — кольцо подшипника; 39 — болты наружного ряда; 40 — передний отражатель; 41 — крышка подшипника; 42 — втулка; 43 — гайка подшипника; 44 — подшипник вспомогательного генератора; 45 — задний отражатель; 46 — шпонка коллектора; 47 — вал
Главный полюс вспомогательного генератора состоит из сердечника 27, набранного из листовой стали и прикреплённого двумя болтами к остову, и катушки (шунтовой обмотки) 28.
Катушка главного полюса (фиг. 182) состоит из 394 витков круглой меди диаметром 1,56 мм с изоляцией ПБО. Длина проволоки одной катушки 165 м.
При намотке катушки после первого слоя витков укладывается прессшпа-новая прокладка толщиной 1 мм, а после каждого последующего — бумага 3109 ГОСТ 2104—41 толщиной 0,03 мм. После намотки катушка скрепляется киперной лентой и компаундируется. После компаундировки и испытания на междувитковое замыкание киперную ленту удаляют, а катушку изолируют микалентой 4510 ГОСТ 4268—48 размером 0,13 X 25 х 19 000 мм в три слоя вполуперекрышу и киперной лентой 3308 ГОСТ 4514 —48 размером 0,47 х X 20 X 10 000 мм вполуперекрышу.
Под выводными зажимами укладывают в два слоя микаполотно 4602 размером 0,25 х 40 X 150 мм и прессшпановую прокладку размером 2,0 X 20 X X 75 мм с прорезами 1 х 20 мм на расстоянии 20 мм друг от друга. Зажимы прибаидажируются киперной лентой.
После полной изоляции катушку покрывают серой эмалью № 2211, а выводы припаивают припоем ПОС-30.
Дополнительный полюс (фиг. 183) состоит из стального сердечника 10, двухъярусной катушки, рамки / и специального винта 2.t
Катушка дополнительного полюса имеет 19 витков из голой меди сечением 0,8 X 30 мм.
При намотке катушки между витками укладывается миканит 4 размером 0,2 X X 31 х 310 мм, а между ярусами — специальная миканитовая рамка 8. В месте перехода из яруса в ярус проложен прессшпан 12 размером 0,2x60x61 мм. Свободное пространство в первом ярусе заполняется замазкой 9, и вся катушка скрепляется временной киперной лентой и подвергается компаундировке.
После компаундировки временная ки-перная лента снимается, внутри, сверху и снизу катушка изолируется микаполот-ном 5 размером 0,25 х 98x230 мм в два слоя и миканитом 6 такого же размера, а затем вся катушка изолируется кругом киперной лентой 7 размером 0,47 х 20 X X 4 000 мм в один слой вполуперекрышу.
После полной изоляции катушка густо покрывается серой эмалью, а контактные поверхности выводов 11, выполненные из собственной меди катушки, лудятся припоем ПОС-30.
Якорь вспомогательного генератора состоит из железа 26 (см. фиг. 181), набранного из отдельных штампованных листов электротехнической стали, обмотки 29, уложенной в 46 пазов сердечника, и коллектора.
Обмотка якоря вспомогательного генератора волновая с двумя параллельными ветвями выполнена из прямоугольной меди 4 (фиг^ 184) сечением 1,56x5,1 мм с изоляцией ПБД. Между парой витков обмотки прокладывается миканит размером 0,2 х 4 х 120 лш.Пакет обмотки изолируется одним слоем вразбежку телефонной бумаги 7 размером 0,05 X 20 х 250 мм и микабума-гой 6 размером 0,2 X 70 X 120 мм, а затем скрепляется батистовой лентой 5 размером 0,18 X 16 X 1 200 мм.
Головка витка секции изолируется батистовой лентой вполуперекрышу с заходом на 2/з лобовой части. Концы витка изолируются батистовой лентой вполуперекрышу с заходом на лобовую часть на 20—30 мм.
Обмотка укладывается в изолированные пазы. Изоляция паза выполнена из прессшпана и состоит из прокладки 1 и желобка 2.
Задняя нажимная шайба якоря и корпус коллектора 30 (см. фиг. 181) перед укладкой обмотки изолируются миканитом и прессшпаном толщиной по (3,5 мм, а затем киперной лентой вполуперекрышу и покрываются серой эмалью.
Обмотка удерживается в пазах проволочным бандажом, состоящим из 9 витков проволоки* диаметром 1,2 мм. Лобовые части обмотки удерживаются ■бандажами из 15 витков.
Под все бандажи укладывается дополнительная изоляция из миканита и прессшпана толщиной по 0,03 мм.
Коллектор вспомогательного генератора состоит из корпуса 30, нажимной шайбы 33 и 92 медных коллекторных пластин 31, разделённых миканитовыми прокладками.
Концы секций обмотки якоря припаиваются к петушкам коллекторных пластин. На каждую пластину приходится по два витка обмотки якоря. Шаг обмотки якоря по пазам 1—8, шаг по коллектору 1 — 32. Схема внутренних соединений вспомогательного генератора дана на фиг. 185.
Фиг. 185. Схема внутренних соединений вспомогательного генератора
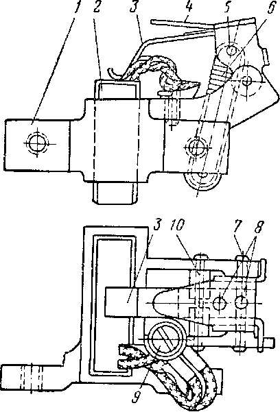
Щёткодержателей у вспомогательного генератора четыре. Каждый из них состоит из корпуса 1 (фиг. 186) и нажимного устройства.
Корпус щёткодержателя крепится через изолятор одним болтом к станине и имеет одно тщательно обработанное отверстие для установки щётки 2 размером 44 X 12,5 мм сорта ЭГ-4. Гибкий шунт щётки крепится винтом 9 с пружинящей и обыкновенной шайбами к корпусу щёткодержателя.
К выступам корпуса стальным валиком 7 шарнирно прикреплена скоба 4, к которой медными заклёпками 8 приклёпана пластинчатая пружина 3, опирающаяся на щётку 2. Нажатие на щётку создаётся витой пружиной 6 и должно составлять 1 ООО—1 100 г.
Возбудитель типа МВТ 25/9 предназначен для возбуждения главного генератора.
Мощность возбудителя 3,6 кет при напряжении 55 е. Основной конструктивной особенностью возбудителя являются его четыре поперечно расщеплённых полюса. Расщеплённый полюс состоит из сердечника 22<(рл. фиг. 181), разделённого латунной проставкой на две части, и катушки, состоящей из шунтовой 19 и противокомпаундной 21 обмоток. Шунтовая обмотка катушки (фиг. 187) наматывается из круглой меди / диаметром 1,95 (изолированной ПБО) и имеет 242 витка в 13 слоев. В первых двух слоях уложено по 21 витку, в 3—5 -м слоях — по 20 витков, в 6—8-м слоях — по 19 витков, в 9—11-м слоях — по 18 витков, в 12-м слое уложено 17 витков и в 13-м—12 витков. При намотке катушки между её слоями прокладывается оклеечная бумага толщиной 0,03 мм. Изоляция от корпуса шунтовой катушки выполнена из ми-каленты 3 толщиной 0,13 мм в один слой вполуперекрышу и киперной ленты 4 в три слоя вполуперекрышу. Противокомпаундная обмотка наматывается из мягкой голой меди сечением 2,63 X 47 мм с межвитковой изоляцией 7 из миканита размером 0,25x48 Х2 ООО мм. Снаружи обмотка изолирована мика-лентой 9 размером 0,13 X 20 X 12 000 мм в три слоя вполуперекрышу, миканитом 10 размером 0,25 X 50 X 80 мм в три слоя и обмотана в один слой вполуперекрышу киперной лентой 11 размером 0,52 X 20 X 3 000 мм.
Фиг. 186. Щёткодержатель:
/—корпус; 2 —щётка; 3 — пружина пластинчатая; 4— скоба; 5 — валик; 6 — пружина спиральная; 7—валик; 8 — заклёпки медные; 9 — винт с пружинящей шайбой; 10 — трубка медная
Фиг. 187. Катушка полюса возбудителя:
/ и 2 — медь ПБО шунтовой катушки и прокладки между слоями; 3 и 4 — изоляция; 5 — сердечник; 6 — медь голая противокомпаундной катушки; 7 — изоляция между витками; 8 — латунная прокладка; 9, Юнії—изоляция; 12 — лента ки-перная; 13 — сердечник; 14 — прокладка под выводы; 15 — прокладка; /6 —вывод; 17 и 18 — изоляция выводов; 19 — колодка; 20 — вывод; 2/ —прокладка под вывод
При сборке катушки углы заполняются изоляционной замазкой, под выводы 16 противокомпаундной обмотки подкладываются три прокладки 15 из миканита размером 0,25 X 60 X 100 мм, и катушка скрепляется киперной лентой 12 размером 0,45 X 20 X 8 000 мм. Собранная катушка компаундируется, снаружи густо покрывается серой эмалью, а контактные поверхности выводов лудятся ПОС-30.
Шунтовая обмотка катушки получает питание от вспомогательного генератора и от якоря возбудителя (самовозбуждение). Противокомпаундная обмотка питается током силовой цепи. За счёт подбора числа витков шунтовой и противокомпаундной обмотки получается гиперболическая характеристика возбудителя, обеспечивающая машинное автоматическое управление тепло-' возом.
Якорь возбудителя состоит из сердечника, набранного из штампованных листов электротехнической стали и разделённого 25 латунными листами 23 (см. фиг. 181) толщиной 0,5 мм.
Сердечник якоря имеет 45 пазов размером 6,6 X 22 мм. В пазах уложена волновая обмотка якоря с двумя параллельными цепями из прямоугольной меди 3 (фиг. 188) сечением 1,16 X 6,9 мм с изоляцией ПБД. Пакет обмотки из трёх проводников изолируется телефонной бумагой 4 размером 0,05 х 20 X 200 мм в один слой вразбежку и микабума-гой 5 размером 0,2 X 60 х X ПО мм в 2,5 оборота, а затем скрепляется батистовой лентой 6 размером 0,18 х X 16 х 1 000 мм в один слой впритык. При укладке обмотки в пазы пакеты изолируются прессшпаном 8 и прокладкой 9, а между пакетами обмотки укладываются мика-нитовые прокладки 7 толщиной 0,5 мм. Задняя нажимная шайба якоря и корпус коллектора от обмотки изолируются миканитом толщиной 0,5 мм и киперной лентой в один слой вполуперекрышу с последующим покрытием серой эмалью.
Обмотка якоря возбудителя удерживается в пазах гетинаксовыми клиньями /, а лобовые части—бандажами из проволоки диаметром 1,2 мм. Усилие затяжки проволоки бандажей 60—70 кг. Под клинья укладывается дополнительная изоляция из прессшпана и из миканита и прессшпана — под бандажи.
Средний виток в головке секции изолируется батистовой лентой 10 в один слой вполуперекрышу. Концы обмотки изолируются шёлковой лентой // в два слоя вполуперекрышу.
Концы секций обмотки якоря припаиваются к петушкам пластин коллектора 5 (см. фиг. 181).
Шаг обмотки якоря по пазам 1—11, шаг по коллектору 1—68. Схема внутренних соединений возбудителя приведена на фиг. 189.
Щёткодержатели 16 (см. фиг. 181) у возбудителя такие же, как и у вспомогательного генератора. Расстояние щёткодержателей от коллектора 1,6—2,4 мм.
Двухмашинный агрегат охлаждается воздухом, засасываемым вентилятором 2.
Фиг. 188. Секция якоря возбудителя:
/ — клин; 2— п-одкладка под клин; 3 — медь секции; 4 — телефонная бумага; 5 — микабумага; 6 — батистовая лента; 7 — ми-канитовая прокладка; 8 — прессшпан; 9 — прессшпановая прокладка; Ю — батистовая лента; II — шёлковая лента
Вал якоря двухмашинного агрегата лежит в двух шарикоподшипниках ГПЗ № 309 и 311, укреплённых в капсюлях подшипниковых щитов 11 и 36.
Уходи ремонт. При ежедневном осмотре тепловоза и особенно при контрольно-техническом осмотре необходимо проверить надёжность действия и состояние двухмашинного агрегата, проверить, хотя бы приблизительно, нажатие щёток, убедиться в наличии хорошего контакта в межкатушечных соединениях, тщательно протереть возбудитель и вспомогательный генератор.
При деповских ремонтах тепловоза необходимо проверить и отрегулировать величину зазора между нижней кромкой щёткодержателя и коллектором в пределах 1,6—2,4 мм, разобрать и промыть подшипники, покрыть серой эмалью катушки и внутреннюю поверхность станины.
Для полной разборки двухмашинного агрегата необходимо удалить все щётки с обоих коллекторов и обвернуть их толстой бумагой, снять шкив и штуцеры для смазки. Затем вывёртываются соединительные болты 25 к болты внутреннего ряда 10, под станину вспомогательного генератора подкладыва-ются деревянные подкладки; якорь поддерживается тросом тали, пропущенным через отверстия вентилятора, и в нарезанные отверстия кольца подшипника возбудителя ввёртываются выжимные болты. После удаления станины возбудителя якорь остаётся в станине вспомогательного генератора. Затем таким же образом вывёртываются болты 37 из капсюля 36, ввёртываются выжимные болты в нарезанные отверстия кольца 38 и снимается станина /. Если необходимо разобрать только один подшипник двухмашинного агрегата, то следует вывернуть болты и снять кольцо и крышку подшипника. После этого можно будет отвернуть гайку подшипника и снять наружный отражатель. Капсюль вместе с подшипником и внутренним отражателем можно спрессовать при помощи винтового приспособления, подобного изображённому на фиг. 179.
Если необходимо снять вентиляторное колесо, то для этого надо снять станину возбудителя, вывернуть болты, крепящие вентилятор к фланцу нажимной шайбы якоря, и снять вентилятор через якорь возбудителя.
В основном ремонт узлов двухмашинного агрегата соответствует ремонту узлов главного генератора и тягового электродвигателя.
После ремонта двухмашинный агрегат проходит окраску, сушку и испытания на холостом ходу и под нагрузкой.
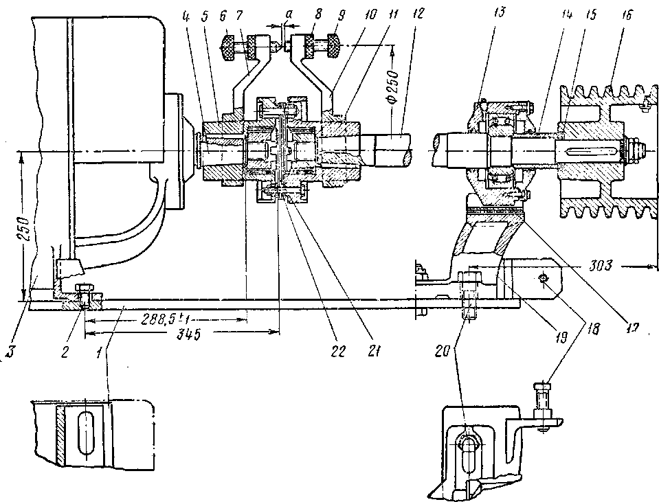
Установка и центровка привода. После крупного ремонта, когда все агрегаты и детали были демонтированы со ^ своих мест на тепловозе, перед сборкой и центровкой привода двухмашинный агрегат устанавливают на фундаментную плиту / (фиг. 190) и укрепляют болтами 2. На конические части валов 4 и 12 надевают полумуфты 5 и И и проверяют прилегание сопрягаемых поверхностей по краске. Прилегание должно составлять не менее 75% общей поверхности. При недостаточном прилегании поверхностей их притирают карборундовым или наждачным порошком с маслом. Далее на фундаментную плиту / устанавливают кронштейн 19 и предварительно укрепляют его болтами. На кронштейн 19 устанавливают вал привода 12 с роликовым подшипником 13 и полумуфтой //, которую через набор пластинчатых колец соединяют с полумуфтой 5 болтами 22. В таком состоянии двухмашинный агрегат, кронштейн 19 и вал привода 12 устанавливают на фундаментные плиты рамы тепловоза и укрепляют болтами 20. Затем на ступицы полумуфт 5 и 11 надевают разъёмные хомуты, к поверхностям которых приварены рычаги 7 и 10, снабжённые винтами 6 и 9 с установочными гайками 8. Проворачивая валы 4 и 12, производят замер зазора а в четырёх положениях вала. Центровку валов осуществляют перемещением корпуса подшипника 13 по плоскости кронштейна 19 в горизонтальном направлении и подбором толщины регулировочных прокладок 17, уложенных под корпус подшипника 13 в вертикальном направлении. При этом добиваются, чтобы разность торцовых зазоров а для верхнего, нижнего, правого и левого положений рычагов с винтами 6 и 9, установленных на расстоянии 125 мм от оси вала, была не более 0,25 мм. После окончания центровки корпус подшипника 13 фиксируют на плоскости кронштейна 19 штифтами.
Фиг. 189. Схема внутренних соединений возбудителя
Фиг. 190. Центровка вала двухмашинного агрегата:
1—фундаментная плита; 2 — болты; :1 — двухмашинный агрегат. 4 — вал; 5 и //—полумуфты; 6 н Р — винты; 7 и 10— рычаги; 8— установочные гайки; 12 — вал привода; 13 — роликовый подшипник; 14 — распорная втулка; 15 и 17 — прокладки; 16 — шкив; 18 и 22 — болты; 19 — кронштейн; 20 — крепёжные болты; 21 — набор колец; а — зазор
Шкив 16 устанавливают наружным торцом относительно торца шкива главного генератора. Регулировку совпадения торцов шкивов производят уменьшением или увеличением толщины набора прокладок 15,' надетых на вал между распорной втулкой 14 и ступицей шкива 16. Совпадение торцов шкивов проверяют линейкой; несовпадение допускается не более 2 мм
Натяжение приводных ремней осуществляется болтами 18 при слегка отпущенных крепёжных болтах 20; натяжение проверяется динамометром.
При приложении усилия в 3 кг к середине одного ремня стрела прогиба этого ремня должна быть в пределах 10—18 мм.










