ГЛАВА V ЭЛЕКТРИЧЕСКОЕ ОБОРУДОВАНИЕ
§ 25. ОБЩЕЕ ПОНЯТИЕ ОБ ЭЛЕКТРИЧЕСКОЙ ПЕРЕДАЧЕ
Электрическая передача состоит из генератора, превращающего механическую энергию двигателя в электрическую, тяговых электродвигателей, которые в свою очередь превращают электрическую энергию в механическую, и комплекта вспомогательных машин и аппаратов.
Электрическая передача на тепловозах получила исключительно широкое применение. Это объясняется тем, что тепловозы с электропередачей имеют к. п. д. на ободе колёс 28—29%, хорошую тяговую характеристику и плавное трогание с места. Кроме того, электрическая передача позволяет легче, чем любая другая (механическая, гидромеханическая, воздушная, газовая), автоматизировать управление, обеспечить хорошую уравновешенность, надёжность в работе и плавное вписывание тепловоза в кривые.
Одним из больших преимуществ электрической передачи является возможность работы нескольких секций по системе многих единиц, управляемых с одного поста машиниста. Это позволяет удваивать, утраивать и даже учетверять мощность тепловоза, обслуживаемого практически одной бригадой.
Но электрическая передача имеет и ряд существенных недостатков. Прежде всего она уступает по к. п. д. механической передаче; требует для изготовления электрического оборудования весьма дефицитных цветных металлов и является более тяжёлой и дорогой. Указанные недостатки заставляют совершенствовать существующие и искать новые типы передач.
Электрическое оборудование тепловоза ТЭ2 состоит из электрических машин, аккумуляторной батареи и электрических аппаратов (фиг. 170). Все электрические машины и аппараты соединены проводами и кабелями так, что обеспечивается их нормальная работа в установленном порядке. Такое целесообразное соединение называют схемой электрических соединений, или просто электрической схемой.
Полная схема электрических соединений тепловоза ТЭ2 сложна. Поэтому предварительно будет рассмотрена принципиальная схема электрических соединений тепловоза, на которой удобнее проследить принцип автоматического управления.
Известно, что существуют две'системы автоматического управления: аппаратная и машинная.
В аппаратной системе автоматическое управление обеспечивается специальным электрическим аппаратом, который воздействует на реостат возбуждения таким образом, что мощность генератора, а следовательно, и двигателя остаётся постоянной независимо от режима работы тяговых электродвигателей.
Аппаратная система управления получила применение в дизельпоездах с электрической передачей.
В тепловозах большой мощности получили распространение машинные системы автоматизации управления. Эти системы характеризуются тем, что внешняя характеристика генератора, т. е. зависимость напряжения от тока силовой цепи (посредством применения возбудителей со специальной характеристикой) подбирается так, чтобы напряжение на зажимах генератора было обратно пропорционально величине тока в силовой цепи.
На тепловозе ТЭ2 применён возбудитель с расщеплёнными полюсами.
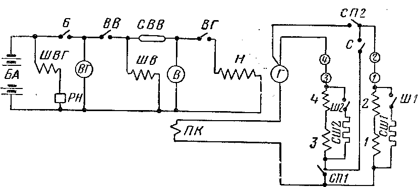
Из принципиальной схемы электрических соединений (фиг. 171) видно, что шунтовой вспомогательный генератор ВГ*, напряжение которого поддерживается регулятором напряжения РН постоянным, питает после включения контактора ВВ обмотку возбуждения возбудителя ШВ. Эта обмотка возбуждения охватывает обе части расщеплённых полюсов возбудителя.
Фиг. 170. Расположение электрического оборудования на тепловозе:
; —тяговый электродвигатель; 2 —главный генератор; 3 — двухмашинный агрегат; 4 — буферный фонарь; 5 — зуммер; 6 — пульт управления; 7— выключатель реле переходов; « — выключатели управления жалюзи и муфтой вентилятора холодильника; 9 — плафон освещения кабины машиниста; 10 — прожектор; // — высоковольтная камера; /2 —выключатель освещения машинного помещения; 13 — розетка переносной лампы в машинном помещении; 14 — электропневматический механизм регулятора двигателя; /5 —плафон освещения машинного помещения; 16 — блокировочный магнит регулятора двигателя; 17 — плафон освещения холодильного помещения; /« — розетки межтепловозного соединения; 19 — электропневматнческий вентиль правых жалюзи; 20 — электропневматический вентиль муфты вентилятора холодильника; 2/—электропневматический вентиль верхних жалюзи; 22 —электропневматический вентиль левых жалюзи; 2,3—отсеки в раме для установки аккумуляторной батареи; 24 — реле давления масла; 25 — подкузовная розетка переносной лампы; 26 — электродвигатель вспомогательного топливного насоса; 27 —фонарь подкузовного освещения; 23 — лампы освещения высоковольтной камеры; 29 — предохранители освещения и электродвигателя вентилятора калорифера; 30 — выключатели освещения и электродвигателя вентилятора калорифера; 31—электродвигатель вентилятора калорифера
Заметим, что эта обмотка возбуждения питается ещё и током самовозбуждения через сопротивления СВВ, а поэтому обычно называется шунтовой.
Вторая обмотка возбуждения возбудителя ПК питается током силовой цепи и охватывает лишь одну часть расщеплённых полюсов. Магнитный поток её противоположен потоку шунтовой обмотки ШВ, а поэтому она называется противокомпаундной, или дифференциальной (разностной).
При большой скорости движения тепловоза, когда величина тока в силовой цепи мала, обе части расщеплённого полюса перенасыщены под действием шунтовой обмотки. При таком режиме напряжение возбудителя мало зависит от изменения тока в силовой цепи.
* При описании принципиальной схемы электрических машин и аппаратов использованы принятые условные обозначения завода-изготовителя. Эти же обозначения приведены на схеме электрических соединений (фиг. 244 и 245).
При понижении скорости движения тепловоза ток в противокомпаундной обмотке увеличивается, следовательно, в части расщеплённого полюса, охватываемой противокомпаундной обмоткой, магнитный поток уменьшается Это приводит к понижению напряжения возбудителя и главного генератора. Машинная система автоматического управления в том и заключается, что обмотки возбуждения подобраны таким образом, чтобы при увеличении тока в силовой цепи напряжение уменьшалось, но произведение величины тока на напряжение оставалось постоянным.
При дальнейшем понижении скорости движения магнитный поток в части полюса, охваченной противокомпаундной обмоткой, уменьшается до нуля, затем приобретает противоположное значение, что также ведёт к уменьшению напряжения возбудителя, а значит — и главного генератора.

Фиг. 171. Принципиальная схема электрических соединений:
Г — главный генератор; В —возбудитель; ВГ —вспомогательный генератор; /, 2, 3, 4 — тяговые электродвигатели; Б Л— аккумуляторная батарея; С, СП 1 и СП2 — электропневматические контакторы; Ш1. Ш2, Б, ВВ и ВГ— электромагнитные контакторы; РН — регулятор напряжения; ЩВГ ШВ, Н, ЯЛ —обмотки; СВВ, СШ1, СШ2 — сопротивления
Если скорость движения тепловоза будет падать и дальше, то при некотором значении тока в силовой цепи наступит магнитное насыщение в части полюса, на которой располагается противокомпаундная обмотка, а поэтому при дальнейшем увеличении тока напряжение уменьшаться не будет,
Трогание с места и увеличение скорости движения тепловоза ТЭ2 производят изменением числа оборотов и возбуждения главного генератора.
Дальнейшее увеличение скорости движения тепловоза достигается не только увеличением напряжения главного генератора, но и переключением тяговых электродвигателей с последовательного (сериесного) на последовательно-параллельное (сериес-параллельное) соединение, для чего включаются контакторы последовательно-параллельного соединения 677/ и СП2 и выключается контактор последовательного соединения электродвигателей С. Более высокая скорость движения тепловоза достигается ослаблением поля тяговых электродвигателей, т. е. включением контакторов шунтировки поля U11 и Ш2.
Переключение электродвигателей с последовательного соединения на последовательно-параллельное, а также включение и выключение шунтировки поля электродвигателей производится автоматически при помощи реле переходов.
Схеме автоматического управления тепловоза ТЭ2 присущи следующие недостатки: независимость характеристик от режима работы двигателя (при неизменном числе оборотов) и зависимость их от температуры обмоток возбуждения. При нарушении режима работы двигателя нарушается равновесие между двигателем и генератором.
Значительный нагрев обмоток возбуждения генератора приводит к недоиспользованию полной мощности двигателя. При холодных обмотках, наоборот,
мощность генератора стремится стать выше мощности двигателя и обороты последнего для восстановления равновесия уменьшаются.
Устранение названных недостатков машинных схем достигается добавлением элемента аппаратного автоматического управления в виде регулятора мощности ЦНИИ МПС, карбонстата, ваттметрового или скоростного реле, машинного или электромагнитного усилителя. Введение нового элемента не понижает надёжности схемы, так как при неисправности его автоматическое управление не нарушается.
Фиг. 172. Главный
/ — станина; 2 — болты для крепления подшипникового щита; 3 — вентиляционные отверстия; 4 — под-8 — вал; 9 — передняя лабиринтная крышка; 10 — болты для крепления лабиринтных крышек; коллектора; 15 — коллекторные пластины; 16 — болты коллектора; 17 — миканитовые манжеты; 21 —обмотка якоря (передние лобовые части); 22 — бандажи; 23 — железо якоря; 24 — сердечник доба-27 — болты для крепления добавочных полюсов; 28 — вентиляторное колесо; 29 — обмотка якоря {задние якоря с коленчатым валом двигателя; 32 — втулка корпуса якоря; 33 — рёбра корпуса якоря; 37 — болты для крепления главных полюсов; 38 — центрирующий бурт; 39 — катушка главного полюса; полюса; 43 — отверстие для подъёма генератора; 44 — каркас катушки главного полюса; 45 — изоляция совки смазки в подшипник; 48 — проушина для подъёма генератора; 49 —
Учитывая отсутствие в электрической схеме серийного тепловоза ТЭ2 дополнительного корректирования, приходится наладку характеристик машин производить при той температуре обмоток, какая бывает у них при нормальной работе тепловоза, а при поступлении тепловоза в новое депо, при смене одной из машин и в зависимости от времени года снова производить ре-
Регулировку тепловоза. Если же на тепловозах будут установлены элементы дополнительного корректирования, то надобность в сезонных регулировках отпадёт.










