§ 24. УПРАВЛЕНИЕ ХОЛОДИЛЬНИКОМ
Управление холодильником, а следовательно, всей системой охлаждения двигателя может осуществляться двумя способами.
Электропневматическим механизмом, смонтированным на лобовой стенке шахты холодильника внутри кузова и снабжённым дистанционным управлением, расположенным на посту управления тепловозом.
При управлении электропневматическим механизмом открытие и закрытие жалюзи может быть или минимальным или максимальным без промежуточных положений. При ручном управлении створки жалюзи могут занимать любое промежуточное положение.
Механизм управления холодильником показан на фиг. 168.
Щиток с четырьмя переключателями 29, 30, 31, 32 установлен с правой-стороны около пульта управления тепловозом. Переключатели 29, 30, 31 и 32 при включённом положении замыкают цепи питания катушек вентилей электропневматических приводов правых, верхних и левых жалюзи и муфты включения вентилятора. Соответствующие надписи сделаны под каждым переключателем. При срабатывании электропневматического клапана открывается доступ воздуху из трубы воздушной системы // под поршень воздушного цилиндра 4, 19, 21 или 27 жалюзи или муфты.
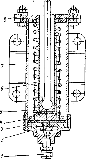
Пневматический привод жалюзи состоит из цилиндра 5 (фиг. 169), в котором перемещается поршень 4. В одну сторону поршень перемещается под действием сжатого воздуха, в другую — под действием пружины, имеющей предварительную затяжку 24,5 кг для верхних и 55 кг для боковых жалюзи. Усилие, необходимое для сжатия пружины 6 при полном ходе поршня 4, составляет 87 кг для верхних и 105 кг для боковых жалюзи.
Воздушный цилиндр 27 (см. фиг. 168) включения муфты вентилятора холодильника внутри пружины не имеет, и возвращение поршня в исходное положение осуществляется усилием пружины, находящейся вне цилиндра.
Ручной привод управления жалюзи холодильника применяется при неисправности электропневматического привода, а также в холодное зимнее время, когда полного открытия жалюзи производить нельзя. Ручной привод представляет собой рычаг 5 с рукояткой, имеющей защёлку. Защёлка фиксирует положение рычага относительно зубчатого сектора 6.
Для перехода на ручное управление холодильником необходимо отсоединить тягу от штока поршня. В этом случае пружина воздушного цилиндра будет отключена, что облегчит перемещение рычага 5 по зубчатому сектору 6. При обратном переходе на электропневматическое управление необходимо ■подсоединить к тягам штоки поршней всех воздушных цилиндров. Открытие жалюзи происходит при движении рычага 5 вниз, а закрытие — при движении его вверх, причём верхние жалюзи закрываются усилием пружин, действующих на тягу створок. Поэтому при закрывании верхних жалюзи следует немного нажать на рычаг вниз, вывести защёлку из зуба и удерживать её до того момента, пока рычаг не подойдёт до требуемого положения на зубчатом секторе. Кроме того, при закрывании верхних жалюзи следует всегда правой рукой ограничивать движение рычага 18 во избежание сильного удара створок 12.
Верхние люки шахты холодильника 9 и 16 служат для вентиляции помещения двигателя в летнее время и для просасывания тёплого воздуха через секции холодильника в зимнее время. Верхние люки расположены между створками жалюзи и секциями холодильника как с правой, так и с левой стороны кузова. Открытие или закрытие люков 9 и 16 фиксируется барашками 10.
Нижние люки шахты холодильника 1 я 26 имеют то же назначение, что и верхние. Они расположены внизу на обшивке шахты холодильника между створками жалюзи и секциями холодильника и представляют собой обычные дверцы на петлях, удерживаемые барашками.
Боковые люки 2 и 22 сделаны внутри шахты холодильника и служат для монтажа и демонтажа секций холодильника и для наблюдения за работой секции, шарикоподшипников пяты вентиляторного колеса и для наблюдения за положением верхних жалюзи. Кроме того, в зимнее время при длительных стоянках открытые боковые люки 2 и 22 шахты позволяют тёплому воздуху проходить из машинного помещения в шахту, чем устраняется возможность замерзания секций холодильника тепловоза. Регулирование температуры воды и масла в летнее время следует производить при помощи электропневматического управления. Летом ручное управление применяется только при неисправном электропневматическом управлении. Перед каждой поездкой следует убедиться, что все штоки воздушных цилиндров соединены с тягами привода жалюзи. Защёлка рычага ручного включения муфты привода вентилятора должна быть поставлена в положение включения воздушного привода. Кроме того, следует проверить положение краника трубы //. который должен сообщать воздушную систему тепловоза с пневматическим управлением (ручка крана должна стоять вдоль трубы), проверить работу всех электропневматических вентилей, убедиться, что они включаются с любого поста управления.
Фиг. 167. Подпятник вентилятора-
1— фланец; 2— шплинт;^ — нижняя гайка; 4— шпонка; 5— нижний конус вала; в — гайка: 7— шайба; 8 — прокладка: 9 — шайба; 10— подшипник; //— распорная втулка; 12 — прокладка; 13 — крышка; І4— сальниковое уплотнение; 15 — верхние конус вала; 16— верхняя гайка; П—подшипник верхний; 18—корпус; 19 — гайка; 20 — крышка нижняя; 21—замковое кольцо; 22 — самоуплотняющийся сальник; 23 — шайба; а. б, в — каналы
Регулирование температуры воды и масла при следовании тепловоза с поездом необходимо производить открытием боковых жалюзи. Верхние жалюзи всегда должны быть в открытом положении. При повышении температуры воды и масла следует включать вентилятор. При этом нужно следить, чтобы температура воды не снижалась ниже 65° и была выше температуры масла на 7-10°.
Фнг. 168. Система управления холодильником:
/— нижний люк шахты холодильника; 2 —боковой люк; 3 — створки боковых жалюзи; 4 — воздушный цилиндр включения жалюзи; 5—рычаг; 6 — зубчатый сектор; 7 —рычажный механизм; 3 — электропневматический клапан; 9. 16 — верхние люки шахты; 10 — барашки; //—труба воздушной системы, тепловоза; 12 — створки верхних жалюзи; 13 — тяга к верхним жалюзи; 14 и 15 — электропневматические клапаны; /7 —зубчатый сектор; 13 — рычаг; 19— воздушный цилиндр включения верхних жалюзи; 20 — зубчатый сектор; 2/—воздушный цилиндр включения боковых жалюзи; 22 —боковой люк шахты; 23 — створки боковых жалюзи; 24— секция холодильника; 25 — нижний коллектор секций; 26 — нижний люк шахты; 27 —воздушный цилиндр включения муфты; 28 — рычаг; 29, 30, 31 и 32 — переключатели на щитке у поста управления; 33 — секция холодильника
В зимнее время необходимо с особой осторожностью относиться к регулировке температуры воды и масла, помня, что на тепловозе установлен мощный вентилятор, который при полностью открытых жалюзи и низкой температуре окружающего воздуха может привести к замораживанию воды и застыванию масла в секциях.
Для того чтобы не было подмораживания секций в нижней части, необходимо в зимнее время люки 1 я 26 всегда держать открытыми. Они открывают доступ тёплому воздуху из кузова в полость между жалюзи и секциями холодильника. В зимнее время при температуре окружающего воздуха ниже минус 10° жалюзи, как правило, должны быть всё время закрыты, и открывать их .следует в том случае, когда температура воды и масла начинает превышать допустимые значения, причём открывать правые, левые или верхние жалюзи следует с учётом температуры масла и воды. Если открытие жалюзи не даёт снижения температуры, то необходимо включить вентилятор на короткий промежуток времени. При этом следует внимательно наблюдать за понижением температуры воды и масла и не снижать её более чем на 4—5°.
Если и при включении вентилятора температура не снижается, а продолжает быстро повышаться, то это показывает, что в секциях вода замёрзла. В этом случае необходимо быстро закрыть все жалюзи, открыть нижние 1 и 26, верхние 9 и 16, средние 2 и 22 люки шахты холодильника. Тогда работающий вентилятор будет просасывать через секции холодильника тёплый воздух, который постепенно отогреет их. Ощупыванием можно определить момент отогревания секций холодильника, после чего можно снова перейти на прежнее регулирование.
При температуре окружающего воздуха ниже минус 10— 15° на боковые жалюзи необходимо надеть утеплительные чехлы, а регулирование температуры воды и масла производить, открывая верхние и нижние люки шахты. При включении вентилятора необходимо создать приток воздуха к секциям через верхние люки на крыше холодильника. Это сделает более эффективной работу холодильника и, следовательно, уменьшит время работы вентилятора и значительно снизит разрежение в 'машинном помещении. При включённом вентиляторе верхние жалюзи должны быть открыты.
При длительных стоянках тепловоза с неработающим двигателем необходимо создать доступ тёплого воздуха к секциям радиатора из кузова, для чего следует открыть верхние, нижние и боковые люки шахты холодильника.
Фиг. 169. Воздушный цилиндр включения жалюзи:
; — штуцер; 2 — нижняя крышка; 3 — пространств под поршнем; 4—поршень; 5 —цилиндр; 6 — пружина; 7 — фланец для крепления; 5 — крышка цилиндра










