§ 17. РЕГУЛИРОВКА двигателя
О бщ ие положения. Регулировка двигателя направлена к тому, чтобы рабочий процесс в его цилиндрах протекал наиболее совершенно, а износ деталей был наименьшим. Любая неточность, допущенная при регулировке двигателя, ведёт к снижению мощности, ухудшению экономичности, перегреву отдельных деталей и преждевременному выходу двигателя из строя.
двигатель регулируют при периодических осмотрах, среднем и капитальном ремонтах.
При сборке нового двигателя на заводе производится полная его регулировка с нанесением соответствующих меток на сопрягаемых деталях.
Однако сборка двигателя, вышедшего из ремонта, по старым меткам обеспечивает только ту регулировку, которая была произведена на новом двигателе. В процессе эксплуатации детали изнашиваются, и поэтому сборка двигателя по старым меткам является далеко не совершенной и не рекомендуется.
Даже при точном изготовлении деталей и при тщательно произведённой регулировке двигателя при сборке при реостатных испытаниях не удаётся получить нормального протекания рабочего процесса во всех цилиндрах без дополнительной подрегулировки. Поэтому при сборке двигателя устанавливают газораспределение и угол опережения подачи топлива, а при испытании регулируют число оборотов коленчатого вала двигателя, равномерность нагрузки цилиндров и устанавливают упоры ограничения подачи топлива секциями насоса.
Установка газораспределения. Для нормальной работы двигателя впускные и выпускные клапаны его должны открываться и закрываться в определённой последовательности и в строго установленные моменты. Задачей регулировки газораспределения и является подбор моментов открытия и закрытия впускных и выпускных клапанов в соответствии с установленной для двигателя диаграммой фаз газораспределения.
Для регулировки газораспределения необходимо проделать следующее:
1) определить в. м. т. поршня шестого цилиндра;
2) установить распределительные шестерни;
3) проверить правильность установки распределительного вала;
4) отрегулировать зазоры между бойками ударников и колпачками клапанов газораспределения.
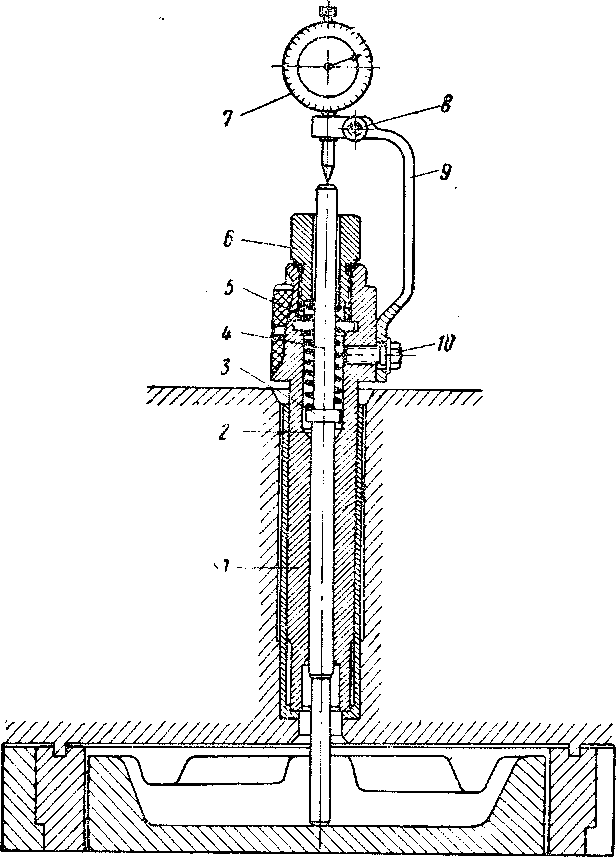
Определение в. м. т. поршня шестого цилиндра. Шпоночный паз на конусной части распределительного вала расположен точно по оси, проходящей через вершину кулачка выпускного клапана шестого-цилиндра, взаимно увязан с разметкой шпоночного паза шестерни привода распределительного вала и положением поршня этого цилиндра. Поэтому необходимо определить в. м. т. шестого цилиндра, являющуюся исходной при установке и дальнейшей проверке всего газораспределения двигателя. Для этого определения отнимают промежуточный вал привода регулятора вентилятора холодильника и закрепляют на конце вала привода масляного насоса градуированный диск (фиг. 120). После постановки диска нужно укрепить неподвижный указатель на корпусе привода масляного насоса, направив стрелку указателя на деления диска.
При невозможности установить градуированный диск на горизонтальном валу привода масляного насоса или компрессора можно приближённо пользоваться делениями и цифрами, нанесёнными на ободе поворотного диска, где выбиты отметки, соответствующие в. м. т. поршней каждого цилиндра. Указателем в этом случае служит горизонтальное ребро (прилив) в корпусе привода с левой стороны около боксовочного лючка. Кроме того, определение в. м. т. может быть произведено индикатором до постановки крышки цилиндра или после постановки её через отверстие для форсунки.
Для точного определения в. м. т. удобно использовать специальное приспособление — регляж.
Регляж представляет собой простое приспособление, состоящее из корпуса 1 (фиг. 121), в средней части которого имеется отверстие с выточкой 2. Внутри корпуса 1 установлен стержень 4 с буртом 3, необходимым для ограничения движения стержня вниз. В верхнюю плоскость буртика упирается пружина 5, зажатая сверху гайкой 6.
Такой регляж можно легко изготовить в любом депо, использовав для этой цели корпус негодной форсунки. Регляж устанавливают в отверстие для форсунки и крепят в крышке шестого цилиндра шпильками форсунки. На регляж ставят индикатор 7. Затем вал двигателя боксуют по ходу до момента начала движения стрелки индикатора (при этом поршень ещё не дошёл до в. м. т.). Замечают деление на градуированном диске. Продолжают боксовать коленчатый вал до момента возвращения стрелки индикатора к ранее отмеченному делению на циферблате индикатора и отмечают при этом соответствующее деление на градуированном диске.
Число градусов, полученное по градуированному диску от начала движения стрелки индикатора до возвращения её в начальное положение, делят пополам и находят среднее деление. Вращая коленчатый вал, устанавливают отмеченное деление на диске против стрелки указателя. Это положение и будет соответствовать в. м. т. поршня шестого цилиндра. Повторив описанное выше определение и убедившись в правильности найденной в. м. т. поршня шестого цилиндра, не проворачивая коленчатого вала, подводят нулевое деление градуированного диска точно к стрелке указателя, закрепляют диск и приступают к установке шестерён.
Порядок установки шестерён следующий: вводят любой зуб паразитной шестерни 6 (фиг. 122) в зацепление с ведущей шестерней 7, установленной на восьмой шейке коленчатого вала; устанавливают шестерню ,5 привода распределительного вала клапанов на шпонку, вводят её в зацепление •с паразитной шестерней 6 так, чтобы метка 2, нанесённая на ободе шестерни, точно располагалась в плоскости разъёма корпуса привода и его крышки.
Фиг. 120. Градуированный диск
где также выбита метка 2. В это время метка 3, выбитая на шестерне 5, должна располагаться вверху, влево от вертикальной оси.
Установка шестерни / вала привода топливного насоса осуществляется таким образом, чтобы метка 3, нанесённая на её ободе, располагалась точно в плоскости разъёма корпуса привода (с левой стороны), а метка 2, выбитая на ободе этой же шестерни, была вправо от вертикальной оси.
Конец вала привода топливного насоса, противоположный конусному его концу с шестерней 1, должен быть соединён с кулачковым валом топливного насоса также по рискам.
Для этой цели на ободе соединительного фланца кулачкового вала выбиты две риски с цифрами 3 и 2, а на торце картера насоса нанесена риска с цифрой 0.
При совмещении риски 2, выбитой на фланце кулачкового вала,с риской О, выбитой на корпусе насоса, кулачковый вал должен находиться в положении, при котором начинает происходить подача топлива шестой секцией насоса. Это проверяется одновременным совмещением рисок на стакане пружины плунжера и на стенке смотрового окна шестой секции насоса.
После того как будет установлено совмещение-указанных двух пар рисок, производится соединение фланцев кулачкового и приводного валов.
При соединении должно быть обеспечено одновременное совпадение риски 3 на ободе шестерни вала привода топливного насоса с риской 3 на плоскости разъёма корпуса привода и риски 3 на фланце кулачкового вала насоса с риской 0 на торце картера насоса. При совмещении рисок 3 и 0 (на фланце вала и на корпусе топливного насоса) несовпадение рисок 3 и 3 на шестерне вала привода топливного насоса и на корпусе привода допускается не более ± 1° (± 5 мм по длине окружности шестерни).
После установки шестерён газораспределения приступают к регулированию зазоров между их зубьями. Боковой зазор между зубьями ведущей шестерни 7 и паразитной 6 должен быть в пределах 0,10—0,30 мм и регулируется смещением корпуса привода 7 (см. фиг. 62) вправо или влево относительно рамы двигателя. Боковой зазор в зацеплении зубьев шестерён 6, 5 и 1 должен быть 0,10—0,30 мм.
Боковой зазор в зацеплении шестерён 5 и 6 регулируют смещением блока вправо или влево относительно рамы двигателя. Для этого необходимо предварительно отпустить гайки сшивных и анкерных болтов.
Фиг. 121. Приспособление для определения в. м. т. поршня (регляж): /—корпус; 2 — выточка; 3 — бурт; 4 — стержень; 5 — пружина; 6 — зажимная гайка; 7 —индикатор; « — винт; 9 — скоба; 10 — болт
Зазор в зацеплении шестерён / и 6 регулируют смещением фланца с подшипником промежуточного вала вправо, влево или по вертикали относительно крышки корпуса и увеличением или уменьшением количества прокладок между блоком двигателя и картером топливного насоса.
Шестерни привода распределительного вала и топливного насоса не должны иметь торцового и радиального биения, превышающего 0,20 мм. Это биение должно быть проверено индикатором, ножку которого устанавливают соответственно или на боковую поверхность обода или на вершину зуба. Торцовое смещение одной шестерни относительно другой (ступенчатость) допускается не более 2 мм. Касание зубьев (блик) каждой пары шестерён должно быть не менее 60%, что определяют нанесением на боковых (рабочих) поверхностях зубьев одной из шестерён тонкого слоя краски лазури и пробок-совкой двигателя на 2 — 4 полных оборота коленчатого вала. При удовлетворительном состоянии зацепления зубьев шестерни могут быть закрыты кожухом после того, как водяной насос будет установлен на своё место и отрегулирован зазор в зацеплении зубьев его шестерни, о чём будет сказано несколько ниже.
Проверка установки распределительного вала. После установки шестерён производят проверку правильности монтажа распределительного вала клапанов. Для этого при снятых штангах в отверстие 7 рычага 8 толкателя (фиг. 123) впускного клапана шестого цилиндра ввёртывают до упора болт 6. На головку болта 6 устанавливают индикатор 5, который через стойки 4, 3 и 2 прикрепляют шпилькой 1 к блоку цилиндров. Проворачивают коленчатый вал по ходу двигателя до положения, когда стрелка индикатора покажет, что болт 6 поднялся на 5 мм. При этом угол поворота коленчатого вала, отсчитываемый по градуированному диску, должен быть 32± 3° до в. м. т.
Затем болт устанавливают таким же образом в пяту рычага толкателя выпускного клапана того же шестого цилиндра, ставят индикатор, проворачивают коленчатый вал опять до подъёма болта 6 на 5 мм и отсчитывают угол поворота кривошипа коленчатого вала, который должен соответствовать' и. м. т. поршня шестого цилиндра с допуском -Ь 3°.
Регулировка зазоров между бойками ударяй-ков и колпачками клапанов. После описанной выше проверки устанавливают зазоры между бойками ударников рычагов и колпачками клапанов. При этом важно, чтобы не было зазора между колпачками и торцами стержней, клапанов, но имелся бы зазор между нижними торцами колпачков и фибровыми прокладками.
При сборке нового двигателя, а также после ремонта регулировку зазоров между бойками ударников и колпачками клапанов следует производить пссле постановки всех деталей механизма привода клапанов.
Фиг. 122. Схема установки шестерён привода распределительного вала клапанов и привода топливного и водяного насосов;
/—шестерня вала привода топливного насоса; 2, 2, 2 и 3, 3. 3 — монтажные метки; 4 — шестерня привода водяного иасоса; 5 — шестерня распределительного вала клапанов; 6—паразитная шестерня; 7— ведущая шестерня коленчатого вала
При установке зазора ролик рычага толкателя любого клапана вращением коленчатого вала по ходу двигателя ставят на цилиндрическую часть кулачка распределительного вала (см. фиг. 67). Затем отпускают контргайку 12 толкателя // и зажимают толкателем штангу 16 до тех пор, пока она не будет с трудом проворачиваться рукой вокруг своей оси, а ролик будет плотно опираться на затылок кулачка распределительного вала. При этом ударники 6 одного рычага должны плотно прилегать к горизонтальной плоскости колпачков своих клапанов. Если разность зазоров у одноимённых клапанов одного цилиндра будет превышать 0,05 мм, то необходимо уравнять зазоры. Устранение разности в зазорах необходимо для того, чтобы обеспечить одновременное открытие одноимённых клапанов и установить одинаковые рабочие зазоры. После этого вывёртывают толкатель примерно на 1,5 грани и устанавливают между бойками 4 и колпачками 5 (см. фиг. 56) рабочие зазоры, которые на холодном двигателе должны быть 0,5 ± 0,05 мм. Затем толкатель крепят контргайкой. Таким образом проверяют и устанавливают зазоры между бойками рычагов и колпачками впускных и выпускных клапанов всех цилиндров двигателя. Установленные зазоры необходимо проверить на горячем двигателе. Они должны быть в пределах 0,4 ±_ 0,15 мм, а разность для одноимённых клапанов одного и того же цилиндра не должна превышать 0,05 мм.
Фиг. 123. Проверка установки распределительного вала:
/—шпилька; 2, 3, 4—стойки штатива индикатора; 5—индикатор; 6—болт М5х15; 7 — отверстие в пятнике; 8 — рычаг; 9 — ролик; 10— кулачок распределительного вала
Проверку углов открытия и закрытия впускных и выпускных клапанов в эксплуатации производят следующим образом. Устанавливают градуированный диск, как было описано выше. Для удобства отсчётов его нулевое деление должно соответствовать в. м. т. поршня проверяемого цилиндра. Далее проворачивают коленчатый вал по ходу двигателя до положения, при котором штангу выпускных клапанов можно будет проворачивать. вокруг оси рукой только с трудом. При этом определяют угол, на который провернулся градуированный диск. Этот угол будет соответствовать углу начала открытия выпускного клапана и должен быть равен 50 ±10° до н. м. т. (фиг. 124). Продолжая вращать коленчатый вал, устанавливают его в положение, при котором ролик рычага толкателя начнёт сбегать с кулачка распределительного вала и штангу можно будет проворачивать рукой. Это по-
ложение будет соответствовать закрытию выпускного клапана того же цилиндра.
Соответствующий угол должен быть в пределах 54 ± 10° после в. м. т. Общая продолжительность открытия выпускного клапана должна составлять 284 ± 10°.
Для определения начала открытия впускного клапана продолжают проворачивать коленчатый вал по ходу двигателя до положения, при котором штангу рукой проворачивать вокруг оси можно будет только с трудом. Угол, замеренный по градуированному диску, будет соответствовать началу открытия впускного клапана и должен быть в пределах 80 -Ъ 10° до в. м. т. Для определения закрытия впускного клапана продолжают проворачивать коленчатый вал до положения, при котором штангу опять можно будет проворачивать вокруг оси рукой. Соответствующий угол должен составлять 35 ± Ю° после н. м. т. Если в депо имеется угломер с уровнем, то отпадает надобность в градуированном диске. В этом случае углы закрытия и открытия клапанов определяют уровнем, прикладывая его к щеке кривошипа коленчатого вала проверяемого цилиндра для тех положений вала, когда штанга соответствующих клапанов проворачивается с трудом.
Для того чтобы приходилось меньше проворачивать коленчатый вал, проверку газораспределения ведут в соответствии с порядком работы цилиндров: 1—3—5—6—4—2.
В случае несоответствия углов открытия клапанов техническим условиям устраняют это поворотом шестерни распределительного вала относительно паразитной шестерни. При этом следует помнить, что при повороте шестерни вместе с распределительным валом против часовой стрелки (по ходу) на один зуб клапан начнёт открываться на 6° раньше и, наоборот, при повороте шестерни с распределительным валом на один зуб по часовой стрелке начнёт открываться на 6° позже. Это условие в равной степени относится к впускным и выпускным клапанам.
Регулировка топливного насоса производится для установки необходимого угла опережения подачи топлива в цилиндр, а также для обеспечения подачи одинакового количества топлива отдельными секциями насоса при постоянной нагрузке и неизменном числе оборотов двигателя.
Необходимость такой регулировки насоса вызвана тем, что от момента подачи и от количества подаваемого топлива в цилиндр двигателя зависят процесс и характер сгорания топлива в цилиндре. Так, например, завышенный угол опережения подачи вызывает резкое повышение давления вспышки и снижение температуры отработавших газов. Совершенно очевидно, что высокое давление вспышки вызывает преждевременный износ и часто является причиной неритмичной работы двигателя. Далее следует заметить, что завышенное давление вспышки часто служит причиной пригорания поршневых колец, в особенности на холостом ходу двигателя. При пригоревших поршневых кольцах не только теряется мощность двигателя, но и возможен весьма нежелательный пробой газов в картер.
При запаздывании ввода топлива в цилиндр получается догорание топлива в процессе расширения, что влечёт за собой повышение температуры отработавших газов, увеличение удельного расхода топлива, потерю мощности двигателя и т. д. При неодинаковой подаче топлива в цилиндры вследствие неправильной регулировки топливного насоса одни цилиндры будут перегружены, а другие недогружены.
Разная подача топлива по цилиндрам и, следовательно, разная нагрузка цилиндров определяются по температурам отработавших газов каждого цилиндра, замеряемым термопарами.
Предварительная регулировка насоса на начало подачи топлива по меткам производится следующим образом.
Отнимают крышку люка (фиг. 125) в раме двигателя против поворотного диска для возможности ручного боксования коленчатого вала двигателя. Отнимают крышки смотровых лючков на всех секциях насоса (фиг. 126).
Боксовочным ломом вращают коленчатый вал по ходу двигателя до совмещения рисок / и 2 в окне секции насоса. При этом положении коленчатого вала необходимо, чтобы риска 3 (см. фиг. 125), нанесённая на поворотном диске и соответствующая началу подачи топлива секцией насоса, совпала с риской 2 (верхней кромкой горизонтального ребра корпуса привода). Несовпадение рисок 3 и 2 не должно быть большим ±3 мм. При несовпадении риски 3 на поворотном диске с указательной риской 2 более чем на ± 3 мм коленчатый вал проворачивают обратно, против хода (по часовой стрелке, если смотреть со стороны генератора) на 25—30° и затем, вращая вал опять по ходу, подводят риску 3 на поворотном диске до совпадения с риской 2 (допускаемое несовпадение не более ± 1 мм) Отнимают крышку 10 (см. фиг. 75) люка картера насоса и при помощи регулирующего винта 3 толкателя совмещают среднюю риску 2 (см. фиг. 126) на направляющем стакане с риской 1, нанесённой на корпусе секции; закрепляют винт 3 (см. фиг. 75) контргайкой и ставят на место крышку 10. Для контроля произведённой регулировки проверку следует повторить.
Ряд выпущенных двигателей не имеет меток на поворотном диске вала. 3 этом случае перед проверкой правильности момента начала подачи топлива необходимо установить в. м. т. шестого цилиндра, как указано выше, и по градуированному диску определить фактическую величину угла опережения начала подачи топлива, который должен быть в пределах 29 ± 1,5°. При необходимости подрегулировки установить углы в соответствии с указанными в формуляре двигателя. »
Проверка углов опережения подачи топлива по мениск у. Если на насосе будет сменена одна из его секций или заменены плунжерные пары в нескольких секциях при их ремонте, то по указанному методу регулировку на начало подачи топлива насосом производить нельзя. В этом случае регулировку насоса на начало подачи необходимо производить описанным ниже наиболее распространённым, хотя и не вполне совершенным, методом. Предварительно выполняют следующие операции.
Отсоединяют промежуточный вал привода редуктора вентилятора холодильника от горизонтального вала привода масляного насоса и устанавливают на заднем его конце (или на хвостовике вала компрессора) градуированный диск. Находят точно при помощи регляжа или индикатора в. м. т. поршня шестого цилиндра и закрепляют градуированный диск на горизонтальном валике привода масляного насоса таким образом, чтобы нулевое деление диска находилось точно против указательной стрелки. Отнимают от секций насоса нагнетательные трубки и на штуцер секции шестого цилиндра устанавливают «мениск». Мениском условно названо приспособление, состоящее из наконечника нагнетательной трубки 3 (фиг. 127) длиной 25—30 мм с конической головкой и гайкой 4, которыми мениск устанавливают на секцию насоса. На верхний конец стальной трубки плотно надета резиновая трубка 2 длиной 40—50 мм. В верхний конец резиновой трубки также плотно вставлена стеклянная трубка / длиной 50—60 мм.
Включают электродвигатель вспомогательного топливного насоса и поднимают давление в коллекторе топливного насоса до 2—2,5 ати. Вспомогательный топливный насос должен работать до конца проверки.
Вынимают валик, соединяющий шток сервомотора регулятора с рычагом, и выдвигают рейки секций топг ливного насоса до упора.
Для удаления воздушных мешков проворачивают коленчатый вал боксовочным ломом на 3—4 полных оборота.
Выжимают топливо из резиновой трубки мениска настолько, чтобы стеклянная трубка была заполнена им примерно наполовину.
После этих подготовительных операций начинают медленно проворачивать коленчатый вал по ходу двигателя, замечая начало подъёма уровня топлива в стеклянной трубке. Этот момент (в который прекращают боксование коленчатого вала) и будет соответствовать началу подачи топлива плунжером секции насоса шестого цилиндра. По делениям градуированного диска и указательной стрелке определяют полученный угол геометрического опережения подачи, который должен быть равен 29 + 1,5° до в. м. т. в такте сжатия. Если полученный угол не будет укладываться в указанные пределы, то следует произвести дополнительную регулировку винтом толкателя, а затем снова проверить угол опережения описанным выше способом. Однако при регулировке начала подачи болтом толкателя следует помнить, что эта регулировка ограничена высотой надплунжерного пространства, которое всегда должно быть в пределах 11—12,5 мм. Проверку размера от торца гильзы плунжера до верхней кромки плунжера можно производить непосредственным замером штангенциркулем (глубиномером) при снятом штуцере и нагнетательном клапане.
При невозможности одновременно получить требуемый угол опережения (29 + 1,5°) и линейный размер надплунжерного пространства переставляют на один зуб большую шестерню вала привода топливного насоса относительно паразитной шестерни. Перестановка шестерни на один зуб по ходу (поворот против часовой стрелки, если смотреть со стороны генератора) ускоряет момент начала подачи топлива на 6° и, наоборот, при перестановке шестерни на один зуб по часовой стрелке момент начала подачи топлива будет происходить на 6° позднее.
После перестановки шестерни в ту или другую сторону на один зуб (если в этом была необходимость) следует проверить, как эта перестановка отразилась на правильности соответствующих углов опережения подачи другими секциями насоса.
Фиг. 127. Мениск для. определения начала подачи топлива насосом:
1 —стеклянная трубка; 2 — резиновая трубка; 3 — наконечник нагнетательной трубки; 4 — накидная гайка; 5 — штуцер
Проверка и регулировка остальных секций топливного насоса производятся описанным выше порядком.
Полученные углы опережения подачи топлива каждой секцией насоса должны быть занесены в формуляр двигателя.
Изложенный выше метод регулировки секций топливного насоса на начало подачи топлива по мениску является приблизительным в связи с тем, что он не учитывает влияния давления впрыска топлива, длины трубопровода высокого давления, скорости вращения кулачкового вала, при которой осуществляется впрыск, и прочих условий действительного процесса подачи топлива секцией насоса при работе на двигателе.
При помощи мениска устанавливают не момент впрыска топлива форсункой, а лишь приблизительно момент начала подачи топлива секцией насоса. В данном случае не учитывается потеря времени на сжатие топлива, на прохождение волн давления топлива по трубопроводу высокого давления и на преодоление сопротивлений.
На топливном насосе двигателя Д50 угол опережения начала подачи топлива секцией, установленный при помощи мениска, составляет 29 ± 1,5° поворота кривошипа коленчатого вала до в. м. т., в то время как угол опережения впрыска топлива в цилиндр форсункой составляет примерно 18 ±1° поворота кривошипа коленчатого вала до в. м. т. Таким образом, разность (в градусах поворота кривошипа) между моментом подачи топлива секцией насоса и моментом впрыска топлива в цилиндр форсункой составляет 11—15°*, поэтому угол, соответствующий началу подъёма плунжера или началу подачи им топлива, нельзя сравнивать с углом опережения впрыска форсункой, тем более для изношенных насосных элементов, когда разность этих углов возрастает.
В связи с указанным окончательная регулировка насоса на начало подачи производится подавлениям горения (вспышки) топлива в цилиндрах двигателя, определяемым индикатором. На двигателе Д50 давление горения при полной мощности равно 54 ± 4 кг/см2.
Регулировка равномерности нагрузки по цилиндрам двигателя. Равномерная нагрузка цилиндров является важнейшим условием надёжной работы двигателя. Перегрузка отдельных цилиндров сопровождается повышением температуры в этих цилиндрах, появлением необычных стуков в сочленениях деталей кривошипно-шатунного механизма, дымным выхлопом; детали кривошипно-шатунного механизма перегруженного цилиндра получают повышенную динамическую нагрузку, что в свою очередь приводит к повышенным износам. Увеличенные тепловые напряжения могут вызвать задир поршней и цилиндровых втулок. Поэтому каждый двигатель после ремонта, а также после замены секций топливного насоса должен быть тщательно отрегулирован на равномерность нагрузки цилиндров.
Прежде чем приступить к регулировке, необходимо убедиться в нормальной работе топливной аппаратуры (форсунок, секций топливного насоса), я также исправности трубопроводов высокого давления.
Проверка регулировки равномерности нагрузки цилиндров производится на режиме полной мощности двигателя, а также на минимальных оборотах под нагрузкой 10 — 15 кет.
Показателем равномерного распределения нагрузки по цилиндрам служат одинаковые величины температур выпускных газов и максимальных давлений сгорания в цилиндрах двигателя. В условиях завода-изготовителя топливной аппаратуры регулировка секций насоса на равномерность подачи осуществляется на специальном стенде с применением эталонных форсунок, снабжённых распылителями с одним центральным отверстием диаметром 1 мм. Стенд снабжён шестью стаканчиками-мензурками одинакового объёма и механическим отключением сливных трубок. Секции насоса соединены эталонными трубками высокого давления с форсунками. Форсунки с эталонными одно-дырчатыми распылителями отрегулированы на 275 кг/см2. Контроль состояния этих форсунок производится периодически (не реже чем через испытание каждых пяти насосов) на отсутствие зависания игл распылителей и равную производительность. Для регулировки подачи топлива секцией топливного насоса рейку в каждой секции устанавливают так, чтобы при оборотах кулачкового вала насоса п, равных 370 ± 2 об/мин, была обеспечена подача в 585 ± 8 сма топлива в минуту, а разность между подачами отдельных секций не превышала 16 см". При этом устанавливают указатель 26 (см. фиг. 78) точно против двадцатого деления, нанесённого на рейке. Одновременно стяжным болтом 25 (см. фиг. 77) закрепляют рычаг 26 на валу подачи топлива //.
* Разница в 4° объясняется различной длиной трубопроводов высокого давления у различных цилиндров двигателя Д50.
Для обеспечения нулевой подачи топлива насосным элементом, т. е. для возможности остановки двигателя, рейку 29, соединённую с рычагом 26, устанавливают на девятое деление, а шток силового поршня масляного сервомотора — в нижнее крайнее положение и укрепляют рычаг 10 на концевой части вала подачи 11 стяжным болтом и коническим штифтом.
При минимальных оборотах кулачкового вала насоса, равных 135 ± 2 об/мин, каждая секция должна обеспечивать подачу 150—120 смь топлива в минуту с разницей, не превышающей 36 см'".
Так производится регулировка равномерности подачи топлива секциями топливного насоса в условиях завода при испытании насоса на стенде.
В условиях тепловозных мастерских изложенный метод также может быть с успехом применён. Что же касается тепловозных депо, где производятся частичные регулировки секций топливных насосов без снятия всего насоса с тепловоза, то нет необходимости производить подобную регулировку, тем более, что все детали насоса установлены и закреплены на своих местах. Проверку же количества топлива, подаваемого каждой секцией, можно осуществить более простым способом. Так, подача может быть определена на стенде (см. фиг. 87 и 93) вручную. Для этой цели необходимо освободить груз 19 от удерживающей защёлки 17 (см. фиг. 87) и прокачать секцию вручную, сделав-20 равномерных подач; рейка при этом должна быть установлена на двадцатом делении. При новой плунжерной паре с плотностью, не меньшей 35 сек., однодырчатом распылителе с отверстием диаметром 1 мм и форсунке, отрегулированной на давление открытия иглы 275 ± 5 кг/см2, секция за 20 равномерных ходов должна подать не менее 29 см3 топлива. Конечно, следует иметь-в виду, что действительная подача топлива на двигателе будет несколько отличаться от определённой таким образом. При самых точных предварительных регулировках на стендах окончательное регулирование подачи топлива секциями по времени (опережение) и по количеству (равномерность) производится непосредственно на двигателе. Вызывается это рядом специфических условий, в которых работает двигатель. Например, применение другого сорта дизельного топлива вызовет необходимость изменения регулировки двигателя.
Регулировка температ у р ы отработавших газов. Если разность температур отработавших газов по цилиндрам одного двигателя превышает 30°, то для выравнивания температур следует производить-подрегулировку количества подаваемого топлива соответствующими секциями топливного насоса.
При регулировке на двигателе в патрубки выпускных коллекторов устанавливают термопары дистанционного типа и соответствующую корректировку подачи производят по температурам отработавших газов. На двигателе Д50, установленном на тепловозе ТЭ2, температура отработавших газов по всем цилиндрам при холостом ходе должна быть в пределах 80—110° (см. также-стр. 311—312).
В условиях эксплуатации значительную часть времени двигатель работает на режиме холостого хода. Между тем на холостом ходу распыл топлива получается вялый, недостаточно чёткий, опережение впрыска топлива (по -времени) получается значительным, равномерность подачи ухудшается. Часть топлива попадает на стенки цилиндра, где оно не воспламеняется, и на поршневые кольца, вызывая их пригорание в ручьях поршней. Пригорание колец приводит к потере мощности, снижению экономичности двигателя и при несвоевременном устранении этого недостатка ведёт к проникновению газов в картер двигателя. Поэтому в тепловозных двигателях исключительно высокие технические требования предъявляются как к точности изготовления топливной аппаратуры, так и к совершенству её регулировки на равномерность подачи топлива, обеспечивающим бесперебойную работу всех цилиндров двигателя на холостом ходу.
Дополнительная регулировка секций при неодинаковой температуре отработавших газов в цилиндрах осуществляется серьгой 27 (см. фиг. 77), которая связывает рейку 29 с рычагом 26, укреплённым на валу подачи. Увеличение расстояния между валиком 28 и гайкой при вывёртывании хвостовика серьги 27 увеличивает подачу топлива в цилиндр, отчего нагрузка на цилиндр, а следовательно, и температура отработавших газов возрастают. Наоборот, при ввёртывании хвостовика серьги в отверстие валика рычага 26, т. е. как бы при укорочении серьги 27, подача топлива уменьшается, нагрузка на цилиндр снижается и температура отработавших газов также понижается.
Опытом установлено, что при завёртывании или отвёртывании гайки хвостовика серьги на пол-оборота (180°) температура отработавших газов в цилиндре изменяется примерно на 8—10°. Для снижения температуры следует уменьшить количество подаваемого топлива при соответствующем увеличении количества подаваемого топлива для цилиндров с более низкой температурой отработавших газов.
При неудовлетворительной работе топливной аппаратуры может получиться такое явление, когда температура отработавших газов отдельных цилиндров одинакова, а двигатель всё же работает на холостом ходу неравномерно, с отдельными стуками или неровным выхлопом. В этом случае необходимо проверить давления вспышек при холостом ходе и попытаться их уравнять.
Регулировка давлений сгорания. Максимальное давление сгорания определяется и регулируется углом опережения подачи топлива. Поэтому в том случае, когда максимальное давление сгорания в отдельных цилиндрах превышает 58 кг/см2 или ниже 54 кг/см2, а также в том случае, когда разность давлений сгорания в отдельных цилиндрах двигателя превышает 2 кг/см2, необходимо прежде всего произвести подрегулировку величины угла опережения подачи топлива.
Подрегулировку угла опережения подачи топлива производят за счёт изменения длины регулировочного болта толкателя топливного насоса. При этом для снижения величины давления сгорания нужно уменьшить угол опережения подачи топлива, а для повышения — увеличить.
Регулировка давлений сгорания на режиме 270 об/мин и нагрузке 10— 15 кет обычно производится изменением количества подаваемого в цилиндр топлива.
Для снижения величины давления сгорания необходимо ввернуть вилку на конце регулирующей рейки топливного насоса, а для повышения — вывернуть (удлинить).
Если после регулировки давлений сгорания двигатель при полном сборе нагрузки рукояткой контроллера останавливается или не снижает обороты вала до 270 ± 15 об/мин, то следует равномерно изменить подачу топлива во все цилиндры, поворачивая на одинаковое количество граней гайки крепления вилок регулирующих реек.
Установка упоров. Для ограничения максимальной подачи топлива в цилиндры на регулирующих рейках первой и шестой секций топливного насоса установлены упоры.
Установка упоров производится на заводе-изготовителе при стендовых испытаниях двигателя.
Сама установка упоров разделяется на предварительную и окончательную.
Предварительная установка упоров производится на работающем двигателе иа режиме 740 об/мин и мощности 680 кет при испытании на стенде (620 кет ± 3% при испытании двигателя, установленного на тепловозе).
При предварительной установке упор 2 (фиг. 128) на рейке / передвигают до плотного соприкосновения с корпусом секции и закрепляют гайкой 5 болтика 4. Для контроля за положением упора на рейке стальной чертилкой вплотную к торцу упора 2 (со стороны двигателя) наносят риску.
Окончательная установка упоров производится после проведённого испытания при снятых выпускных коллекторах и крышках цилиндров.
Для этого, проверив правильность положения упоров по рискам на рейках 1 первой и шестой секций топливного насоса, выдвигают рейки в сторону уменьшения подачи топлива, смазывают их со стороны секций солидолом и закрывают бумагой во избежание засорения стружкой при сверлении отверстий под конические штифты ,5.
Просверлив и развернув отверстия в рейках под конические штифты, снимают бумагу, стирают солидол, проверяют плавность хода реек (при сверлении и развёртке они могут быть погнуты) и устанавливают штифты.
Если в условиях эксплуатации необходимо было заменить первую или шестую секцию, то установку упора на вновь установленной секции следует производить по упору той секции (первой или шестой), которая не снималась с двигателя.
Одновременное снятие с двигателя первой и шестой секций топливного насоса категорически запрещается.
Фиг. 128. Установка упора:
/ — рейка насоса; у. — упор; £— конический штифт; 4—за жимной болтик; 5—гайка: 6 — пломба










