§ 16. МАСЛЯНЫЙ НАСОС И ЕГО ПРИВОД
Масляный насос и его привод смонтированы на торцовой части рамы и блока двигателя со стороны первого цилиндра. Масляный насос предназначен для принудительной подачи смазки ко всем трущимся деталям двигателя.
Привод смонтирован в чугунном корпусе 7 (фиг. 115), имеющем каналы для прохода масла и полости, в которых размещены щелевые масляные фильтры. Кроме того, на корпусе имеются приливы для фланцев подводящих и отводящих масляных трубопроводов.
Корпус 7 привода масляного насоса укреплён к профрезерованной плоскости рамы и блока шпильками и двумя коническими призонными штифтами.
С правой стороны в корпусе 1 имеется специальный люк, открываемый при пробоксовке (проворачивании) коленчатого вала двигателя вручную.
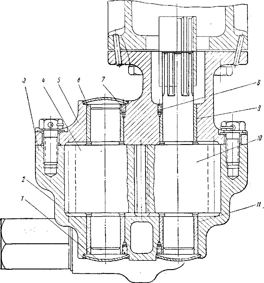
На центральной части корпуса 1 на 13 шпильках установлен второй чугунный корпус 2, в котором в основном и смонтирован привод (редуктор масляного насоса). В выточку корпуса 2 центрирующим буртом с натягом 0,55 мм установлен фланец 27 и прикреплён к корпусу четырьмя болтами. В центральное отверстие фланца 27 с натягом 0,10 мм запрессована отлитая из бронзы марки Бр. ОЦС 3-12-5 ГОСТ 613—50 втулка 28, которая является подшипником горизонтального вала 6. С другой стороны в выточку корпуса 2 центрирующим буртом с натягом 0,05 мм установлена на восьми шпильках 3 крышка 8. В отверстие крышки 8 с натягом 0,10 мм запрессована втулка 4, также отлитая из бронзы, но залитая баббитом. В крышке 8 со стороны шкива привода вентилятора охлаждения тяговых электродвигателей задней тележки имеется специальная выточка, в которой установлен сальник 5, предохраняющий от утечки масла из корпуса 2.
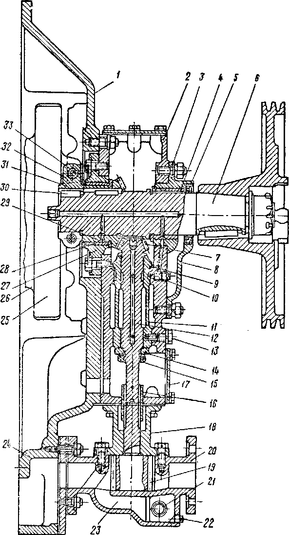
В бронзовые втулки 4 и 28 с диаметральным зазором 0,08—0,16 мм уложен горизонтальный вал 6, на концевой части которого установлен на шпонке 30 и укреплён' болтом поводок 31. На поводке выфрезерован кулачок, имеющий закалённую поверхность с твёрдостью Н^с = = 48. Кулачок входит в кронштейны 32, отштампованные вместе с поворотным диском 25. Диск 25 укреплён двумя призонными и четырьмя свободными болтами к малому фланцу коленчатого вала двигателя. В отверстия кронштейнов диска установлены специальные болты 33, имеющие зацементированные и закалённые головки твёрдостью Нр>с = 42. На новом двигателе кулачок поводка 31 установлен между головками болтов с зазором 0,2—0,3 мм; браковочный зазор — 1 мм. Рядом с поводком 31 на вал 6 с зазором 0,00 — 0,005 мм на шпонке установлена коническая шестерня 29, имеющая спиральные зубья. Эта шестерня входит в зацепление с малой шестерней 7. Шестерня 7 имеет также спиральные зубья и составляет одно целое с валом 12. Для обеспечения нормального зацепления зубьев шестерён вал 12 установлен в бронзовую втулку 11 с зазором 0,06—0,12 мм.
Фиг. 115. Привод масляного насоса:
/ — корпус; 2— корпус редуктора; з — шпилька; 4, 28— втулки (подшипники); 5— сальник; 6 — горизонтальный вал; 7— малая коническая шестерня; 8 — крышка; 9 — прокладки для регулировки зазора в зацеплении зубьев шестерён; 10 — штуцер; 11— бронзовая втулка; 12 — вертикальный вал привода; 13 — стопорный болт; 14 — проставочное кольцо; 15 — гайка; 16 — муфта; 17 — люк с крышкой; 18 — крышка корпуса насоса; 19 — ведущая шестерня масляного насоса; 20 — корпус масляного насоса; 21—редукционный клапан; 22 — заглушка; 23 — перепускной канал; 24 — всасывающий канал; 25 — поворотный диск; 26 — коленчатый вал; 27 — фланец; 29 — коническая шестерня; 30 — шпонка; 31 — поводок; 32 — кронштейн; 33 — болт
Шестерня 7 своей затылочной поверхностью упирается в верхний торец втулки 11. Проставочное кольцо 14, закреплённое на валу 12 гайкой 15, ограничивает вертикальное перемещение вала вверх. Зазор в зацеплении зубьев шестерён устанавливается 0,10—0,30 мм и регулируется кольцевыми прокладками, устанавливаемыми под буртик шестерни 29 и под упорный бурт бронзовой втулки 11. Для обеспечения нормальной работы конических шестерён необходимо малую шестерню 7 устанавливать таким образом, чтобы образующие конусов обеих шестерён пересекались с геометрическими осями валов 6 и 12 в одной точке. Однако после постановки валов на свои места в корпус 2 такое положение шестерён 7 и 29 определить весьма затруднительно. Поэтому при монтаже для определения указанного положения шестерён пользуются двумя способами, а именно:
1. При изготовлении шестерён, корпуса 2 и втулки 11 на заводе - изготовителе на торце шестерни 7 набивают цифрами монтажный размер А, равный расстоянию от затылочной поверхности, которой шестерня 7 опирается на торец втулки 11, до геометрической оси горизонтального вала 6. По этому размеру и производятся монтаж шестерён и регулировка зазоров в зацеплении зубьев.
Монтажный размер А определяется при помощи специальных втулок 2 и 6 (фиг. 116) и станка, имеющего два суппорта, расположенных один относительно другого под углом 90°. Шестерни 3 и 8 устанавливаются во втулки 2 и 6, которые в свою очередь установлены в суппортах станка. Перемещением одного суппорта относительно другого добиваются бокового зазора в зацеплении зубьев шестерён в пределах 0,10—0,30 мм и определяют монтажный размер А по формуле
А = ф + К + Щ — 6,15 j мм,
где d—диаметр втулки (приспособления), в которой укреплена большая шестерня привода масляного насоса; К — измерительный калибр диаметром 17,50 мм; Щ — толщина набора пластин щупа; 6,15 •— высота упорного бурта втулки 6 в мм.
Зная величину А, можно перед сборкой конической пары шестерён определить толщину прокладок 9 (см. фиг. 115), которые необходимо поставить под бурт бронзовой втулки 11.
Фиг. 116. Схема определения монтажного размера А, выбитого на стержне или торце малой шестерни привода масляного насоса:
/ и 5 —суппорты станка; 2 и 6 — специальные втулки; 3 и 8 — большая и малая конические шестерни привода масляного иасоса; 4 — калибр диаметра К; 5 —набор пластин щупа (толщины Щ); 7 —опорный бурт на втулке 6; А — монтажный размер; й — диаметр втулки 2
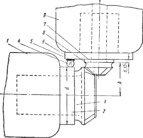
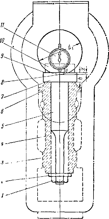
Для этого бронзовую втулку 77 устанавливают на своё место в корпус редуктора 2. Затем в отверстие втулки устанавливают приспособление 5 (фиг. 117), которое закрепляют снизу гайкой 7. Приспособление 5 сверху снабжено прямоугольной головкой (плиткой) 7, имеющей пришабренные верхнюю и нижнюю поверхности.
На верхнюю поверхность 9 плитки 7 устанавливают индикатор 77, монтированный на пришабренной плитке 10. Индикатор устанавливают таким образом, чтобы ножка его опиралась на плитку 7, с предварительным подъёмом около 2 мм, а стрелка на циферблате занимала нулевое деление. Затем индикатор 77 перемещают по плитке 7 так, чтобы его ножка встала на внутреннюю цилиндрическую поверхность отверстия для вала в корпусе в нижней точке 8, и точно определяют максимальное отклонение стрелки индикатора от ранее установленного нулевого деления.
Зная диаметр ёх отверстия в корпусе 3, толщину /г плитки 7 и отклонение х стрелки индикатора 11, определяют размер А\ — расстояние от опорной поверхности бронзовой втулки 4 (для малой шестерни) до геометрической оси горизонтального вала:
Толщина 6 прокладок определится при этом как разность Аг—А.
После определения толщины прокладок приспособление 5 снимают, втулку 4 удаляют из корпуса, укладывают прокладки найденного размера под бурт втулки 4 и окончательно устанавливают её на своё место в корпус редуктора.
2. При отсутствии на торце шестерни 7 (см. фиг. 115) монтажного размера положение шестерён обычно определяют промером радиального зазора в зацеплении зубьев. Для этой цели во впадины трёх-четырёх зубьев подряд укладывают свинцовую проволоку диаметром 1—1,5 мм и проворачивают шестерни. Затем вынимают сплюснутые кусочки проволоки, замеряют их толщину и таким образом определяют положение шестерни. При монтаже новых шестерён в корпусе 2 осевой разбег вала 6 должен быть 0,05— 0,08 мм, а осевой разбег вала 12—не более 0,10—0,25 мм. Максимальный боковой зазор в зацеплении зубьев должен быть 0,30 мм. Шестерни 7 и 29 изготовлены из стали 12ХНЗА ГОСТ 4543—48 и подвергнуты термообработке. Твёрдость их Нцс = 58 -г- 62. После термообработки зубья шестерён подвергаются шлифовке и обкатке на специальных станках.
На нижнем конце вала 12 имеются шлицы, которыми он соединён муфтой 16 с ведущей шестерней 19 масляного насоса.
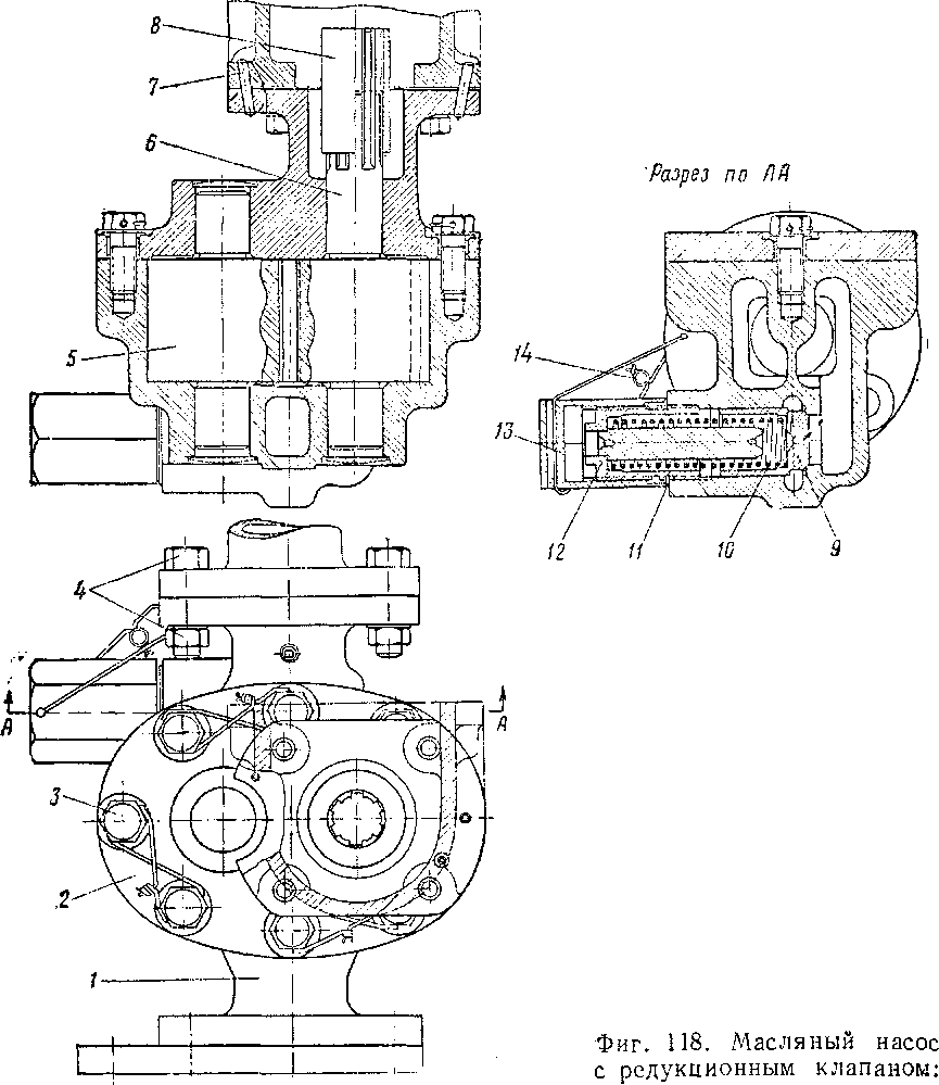
Масляный насос шестерёнчатого типа состоит из бронзового корпуса 20, внутри которого размещены две цилиндрические стальные шестерни 19, имеющие 11 косых зубьев с нормальным модулем 7 мм. В нижней части корпуса масляного насоса отлит канал 23, соединяющий всасывающую и нагнетательную полости насоса и предназначенный для перепуска масла через редукционный клапан 21, отрегулированный на 5,3 ати. Редукционный клапан состоит из клапана 9 (фиг. 118), пружины 10, гайки 12 и кол-пачковой гайки 13, служащей одновременно и контргайкой. При давлении 5,3 ати клапан 9, преодолевая усилие пружины 10, открывается и перепускает масло из нагнетательной полости по каналу 23 (см. фиг. 115) обратно во всасывающую полость насоса. Такое действие редукционного клапана предохраняет масляный насос от перегрузки.
Фиг. 117. Приспособление для определения толщины прокладок под бурт бронзовой втулки:
/—гайка; 2— шайба; 3— корпус редуктора; 4— бронзовая втулка; 5 — приспособление; 6 — определяемая толщина прокладок; 7— прямоугольная головка (плитка) приспособления; 8 — нижняя точка на поверхности отверстия диаметром 9 — верхняя поверхность плитки; 10— плитка крепления индикатора; //—индикатор; й,—диаметр оперстия в корпусе редуктора 3', х — отклонение стрелки индикатора; к—толщина плитки 7

/ — корпус масляного насоса; 2—крышка корпуса; 3—болт; 4—болт с гайкой; 5—ведомая шестерня; 6 — ведущая шестерня с хвостовиком; 7—фиксирующий штифт; 8 — муфта шлицевого соединения; 9 — редукционный клапан: 10 — пружина клапана; / — уплотнн-тельная прокладка; 12 — гайка затяжки пружины; 13 — колпачковая гайка; 14 — пломба
Шестерни насоса установлены в корпус с радиальным зазором 0,08 мм и торцовым зазором (между крышкой 18 насоса и шестернями) 0,04—0,18-лш. З'азор в зацеплении зубьев шестерён устанавливается в пределах 0,18—0,30 мм. Для обеспечения постоянства зазора в зацеплении зубьев шестерни своими осями установлены во втулки корпуса 20 и крышки 18 с зазором 0,03—0,08 мм. При увеличении зазоров до 0,16 мм бронзовые втулки цапф шестерён^заменяются новыми. При увеличении торцового зазора до 0,3 мм, который оказывает существенное влияние на производительность масляного насоса, зазор уменьшают шабровкой плоскости крышки 18 в месте соединения её с корпусом насоса.
На некоторых двигателях тепловозов корпус масляного насоса вместо бронзы изготовлен из чугуна СЧЦ2 ГОСТ 1585—42. Для обеспечения нормальной работы шестерён 4 и 10 (фиг. 118а) и их осей в корпус 3 и крышку 5 насоса запрессованы с натягом 0,04—0,09 мм втулки 2, 6, 9 и 11, изготовленные из высокооловянистой бронзы Бр. ОС 8-12. Для предохранения от проворачивания каждая из втулок, кроме тугой посадки, застопорена винтами 7 и 8. Оси шестерён 4 и 10 установлены в бронзовые втулки с монтажным зазором 0,06—0,09 мм. Для обеспечения нормальной производительности и устранения задиров шестерни 4 и 10 установлены в корпус насоса с радиальным зазором 0,065—0,102 мм и торцовым зазором 0,13—0,22 мм.
Фиг. 118а. Масляный насос с чугунным корпусом:
/ — заглушка; 2, 6, 9, // — бронзовые втулки; 3 — чугунный корпус насоса; 4 — шестерня ведомая; Л —чугунная крышка корпуса; 7 и 8 — винты крепления втулок; 10— ведущая шестерня
Собранный масляный насос испытывают на производительность которая должна составлять 18 000 л/час. Для испытания насос отдельно или со своим приводом устанавливают на стенд и приводят во вращение от электродвигателя. Шестерни насоса должны иметь 1 680 об/мин.
Стенд должен быть оборудован необходимыми вентилями и трубопроводами, обеспечивающими давление в нагнетательном трубопроводе' не менее 5 ати. Правильно собранный насос при давлении 5 ати, температуре масла 80° и при 1 680 об/мин должен перекачать в течение 3 мин. не менее 900 л масла. На верхней части корпуса 2 (см. фиг. 115) имеется лючок, закрытый горизонтальной крышкой, который служит для периодического осмотра состоялия конических шестерён 7 и 29 и для разборки всего привода. Для проверки состояния шлицевого соединения или подтяжки гайки 15 при необходимости уменьшения зазора между нижним кольцом 14 и гайкой 15 предусмотрен люк с крышкой 17, укреплённой четырьмя болтами.
Центровка привода насоса при постановке его на двигатель производится при помощи временной центрирующей втулки 9 (фиг. 119), которая с зазором 0,02—0,04 мм по наружному диаметру устанавливается в центральное отверстие поворотного диска 14.
Затем на хвостовик 8 навивают два витка свинцовой проволоки диаметром 0,5 мм и устанавливают корпус привода 1 на шпильки рамы двигателя так, чтобы хвостовик 8 вошёл в отверстие втулки 9. Перемещая корпус 1 на шпильках рамы, центрируют ось вала 10 с осью коленчатого вала 13 двигателя и закрепляют попарно шпильки 2, расположенные с обеих сторон корпуса привода. После центровки и закрепления 8—10 шпилек сверлят два отверстия диаметром 12,9 мм и развёртывают их конусной развёрткой 1 : 50 под контрольные штифты 3. Затем корпус привода масляного насоса отнимают от двигателя и удаляют втулку 9. По снятой с хвостовика 8 свинцовой проволоке контролируют совпадение геометрических осей вала 10 и коленчатого вала 13; несовпадение осей допускается не более 0,25 мм. Для контроля торцового зазора между торцом вала 10 и поворотным диском перед центровкой привода масляного насоса на левый торец вала 10 укладывают кольцо свинцовой проволоки 8—9 мм. При снятии привода по сплющенной проволоке производят замер этого зазора, который должен быть в пределах 7 ±_ 0,5 мм.
Фиг. 119. Центровка привода масляного насоса:
/ — корпус; 2 —шпилька крепления корпуса; 3 —контрольный (конический) штифт; 4 — кольцевые прокладки; 5 — малая шестерня; 6 — большая шестерня; 7 — прокладки; 8 — хвостовик горизонтального вала привода; 9 — временная центрирующая втулка; 10 — вал привода; // — внутренний фланец с бронзовым подшипником; 12 — прокладки для регулирования осевого зазора вала привода; 13 — коленчатый вал; 14 — поворотный диск
При удовлетворительных результатах проверки центровки и торцового зазора привод окончательно устанавливают на место, забивают контрольные штифты 3 и попарно закрепляют гайки шпилек крепления привода.
Привод масляного насоса смазывается из общей масляной системы двигателя. Масло подводится по трубке к штуцеру 10 (см. фиг. 115), от которого оно распределяется по двум каналам. По вертикальному каналу, имеющемуся в корпусе 2, масло подводится для смазки подшипника 4. От этого подшипника масло по радиальным и осевому отверстиям в валу 6" и по отверстию в конической шестерне 29 подводится для смазки подшипника 28. Разбрызгивающимся маслом смазываются зубья конической пары шестерён. По горизонтальному каналу от штуцера 10 масло подводится по отверстию во втулке 11 для смазки верхней части вала 12. По верхнему радиальному и осевому отверстиям в валу 12 масло поступает к нижнему радиальному отверстию и смазывает нижнюю часть вала и направляющую часть втулки //, откуда сливается вниз, смазывает шлицевое сочленение и уходит в' полость корпуса /ив маслосборник рамы двигателя.










