ГЛАВА III ТРУБОПРОВОДЫ И ВСПОМОГАТЕЛЬНОЕ ОБОРУДОВАНИЕ ТЕПЛОВОЗА
§ 18. СХЕМА И ОБОРУДОВАНИЕ ТОПЛИВНОЙ СИСТЕМЫ
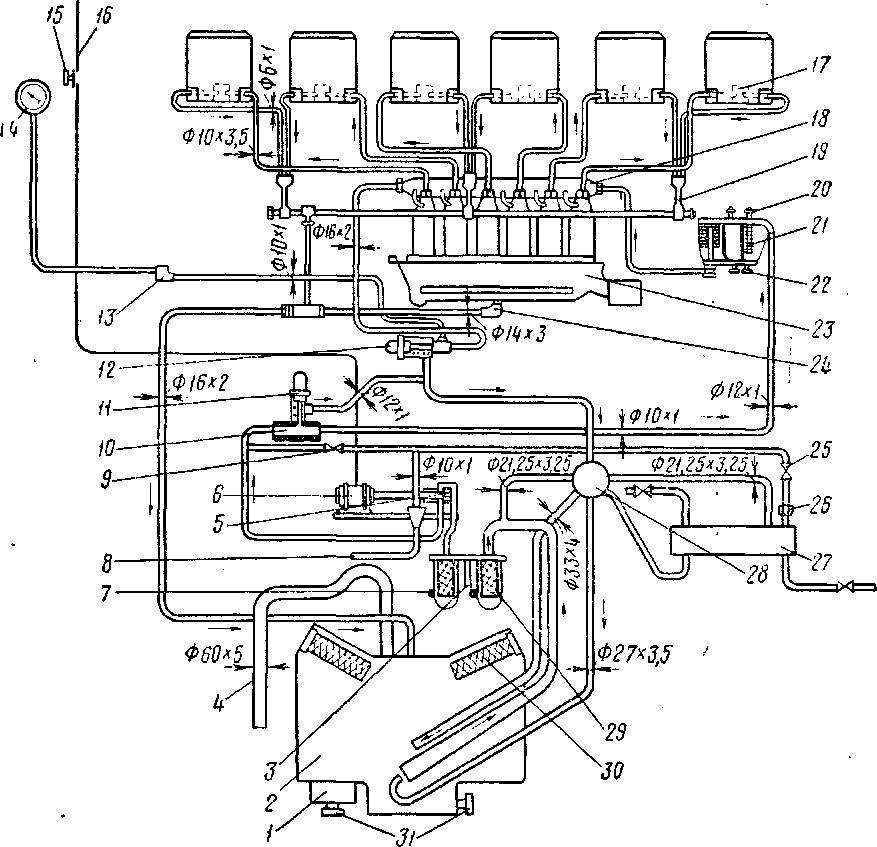
К вспомогательному оборудованию топливной системы относятся вспомогательный топливный насос 5 (фиг. 129) с электродвигателем 6, фильтры грубой очистки 29, комбинированный фильтр тонкой очистки 21, топливоподогреватель 27 с переключательным краном 28, топливный бак 2 и система трубопроводов. Вспомогательная топливная система служит для фильтрации, подогрева и подвода топлива к топливному насосу двигателя.
Запас топлива1 на каждой секции тепловоза составляет 3 500 кг и хранится в топливном баке 2. Бак оборудован двумя горловинами 30, отстойниками 1 и вентиляционной трубой 4.
При включении кнопки «Топливный насос» электродвигатель 6 через резиновый проставок (буфер) и муфту приводит во вращение шестерни вспомогательного топливного насоса 5, который засасывает топливо из бака 2. Топливо проходит через двойной фильтр грубой очистки 29, чем обеспечивается первичная фильтрация топлива. Из насоса 5 топливо по трубопроводу диаметром 12 мм поступает в распределительную коробку 10, а из неё в комбинированный фильтр тонкой очистки 21. Если давление топлива по какой-либо причине поднимется выше 5,3 кг/см2, то разгрузочный клапан //, установленный на распределительной коробке 10, откроется и будет перепускать топливо в бак 2.
При исправном действии системы топливо, пройдя комбинированный фильтр 21, поступает в топливный коллектор 18 топливного насоса. Из коллектора топливо поступает в секции насоса, а из них по трубкам высокого давления в форсунки двигателя. Топливо, просочившееся между направляющей частью иглы и стенками цилиндрического отверстия распылителя, по трубкам диаметром 6 мм стекает в капельницы, из них через сливную магистраль 19 в сливную коробку, откуда вместе с топливом, просочившимся через плунжерные пары топливного насоса, стекает в бак.
Вспомогательный топливный насос 5 подаёт топлива больше, чем потребляет двигатель. Поэтому коллектор 18 топливного насоса соединён трубопроводом с регулирующим клапаном 12, установленным на-2,5 ати, а через-него — с баком 2, куда сливается излишнее топливо.
На новых тепловозах ТЭ2 топливная система несколько изменена.
Вместо специального переключательного клапана 28 применён обыкновенный трёхходовой кран 3 (фиг. 130). Это значительно упрощает ремонт и эксплуатацию тепловоза.
1 дизельное топливо марок ДЛ, ДЗ ГОСТ 4749—49 или марок Л, 3 ГОСТ 305—42-
• Вместо комбинированного фильтра 21 (см. фиг. 129) применён новый фильтр / (см. фиг. 130), обеспечивающий лучшую очистку топлива от механиА ческих примесей. | Вентиляционная труба 4 на всех тепловозах ТЭ2, начиная с номера 149, делается укороченной.
Вспомогательный топливный насос установлен с электродвигателем на общей чугунной плите. Вместе с насосом на плите устанавливают двойной фильтр грубой очистки и переключательный кран топливоподогревателя.

Фиг. 129. Схема топливной системы:
/ — отстойник; 2 — топливный бак; 3 — рукоятка переключения фильтров;'./ — вентиляционная труба; 5 — вспомогательный топливный насос; 6 — электродвигатель привода насоса; 7 —сливная пробка фильтра; « — сливная трубка с воронкой; 9 —кран спуска воздуха; 10 — распределительная коробка; // — разгрузочный клапан на 5,3 ати; 12 — регулирующий клапан на 2,5 ати; 13 — приёмник топливного манометра; 14 — манометр давления топлива; 15— кнопка включения вспомогательного топливного насоса; /« — провод от электросети; 17 —форсунка; /« — топливный коллектор;,/Э^сливйая магистраль; 20—рукоятки комбинированного фильтра; 21 —комбинированный фильтр тонкой очистки; 22— пробки в поддоне фильтра; 23-картер насоса; 24 — угольник слива топлива из .насосаW2'5'^¥№V спуска воздуха; 26 — накидная гайка; 27 — подогреватель топлива; 28 — переключательный, кран; -У— двойной фильтр грубой очистки; 30 — горловины с сетками для заливки топлива; 31 — кран для
слива топлива . ,- ...
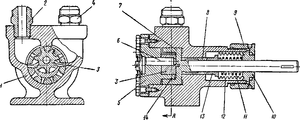
Насос состоит из корпуса 1 (фиг. 131), крышки 5, ведущей втулки (шестерни) 7, звёздочки 3, сидящей на валике 6, и уплотнительного устройства, .состоящего из гофрированной трубки 12, втулок 10 и 13, опорной втулки пружины // и накидной гайки 9. ,,. .\ * '
Внешние торцы зубьев звёздочки 3 и внутренние торцы 'зубьев^ведущей .втулки 7 отстоят на 0,02—0,06 мм от соответствующих поверхностей -серповидного выступа 14 крышки 5.
Работает вспомогательный топливный насос следующим образом: при вращении ведущей втулки 7 по часовой стрелке звёздочка 3 также вращается по часовой стрелке. При этом топливо, заполняющее впадины между зубьями, из полости всасывания (правой по чертежу) перегоняется в полость нагнетания (левую по чертежу). В полости нагнетания зубья ведущей втулки и звёздочки входят в зацепление между собой и выдавливают из. впадин топливо, которое по штуцеру 2 идёт в трубопровод.
Топливные фильтры. В системе топливного трубопровода установлены два топливных фильтра (двойной фильтр грубой очистки и комбинированный фильтр тонкой очистки), которые служат для очистки топлива, нагнетаемого в цилиндры двигателя, от механических примесей.

Фиг. 130. Схема новой топливной системы:
J — новый фильтр тонкой очистки; 2 — топливоподогреватель; 3—трёхходовой кран: 4 — вентиляционная труба; 5 — вентиль
Двойной фильтр установлен на всасывающем трубопроводе и состоит из двойного корпуса 1 (фиг. 132), закрытого общей крышкой 2.
Крышка прикреплена к корпусу / болтами 3 и имеет трёхходовой переключательный кран с рукояткой 4. Кран служит для переключения фильтра на работу одной или обеими секциями одновременно.
Корпус имеет фланец 5, которым фильтр крепится к стойке.
Внутри каждой секции корпуса 1 поставлены сетки 10 и 14 с ячейками диаметром 1,2 мм у наружной и 0,75 мм у внутренней сетки. Наружная сетка 10 с обеих сторон закрыта сетчатыми крышками, через центральное отверстие которых проходит труба 13 с отверстием 12. На трубу 13 надета сетка 14, закрытая сверху крышкой 11. Верхняя часть трубы 13 упирается в конусную выточку в крышке 2. К конусной выточке труба 13 с сетками 10 и 14 прижимается пружиной 15.
Пространство между сетками 10 и 14 заполнено хлопчатобумажными концами. Топливо засасывается в полость крышки по каналу 8, проходит далее через сетки и набивку, а затем попадает в трубу 13, из которой по каналу 7 поступает к вспомогательному топливному насосу.
Разрез по ЙД

Фиг. 131- Вспомогательный топливный насос:
/ — корпус; 2, 4 —штуцеры; і' —звёздочка; 5 — крышка корпуса с сегментом; 6 — валик; 7 —ведущая втулка (шестерня с внутренними зубьями); 8 — опорная втулка; 9 — накидная гайка; 10 — втулка; // — пружина; / 2 — гофрированная трубка; 13 — упорно-уплотнительная втулка; 14 — серповидный
выступ крышки
Комбинированный фильтр состоит из двух щелевых (пластинчатых) и одного войлочного фильтров. Для удобства обслуживания фильтров они смонтированы в одном корпусе, хотя по своей конструкции, принципу и качеству фильтрации топлива существенно отличаются друг от друга.
Корпус фильтра имеет перегородки, благодаря которым в нём образуются четыре изолированные друг от друга камеры 1,2,3 и 4 (фиг. 133).
Камера 1 служит для монтажа в ней войлочного фильтра, камера 2 — свободная, камеры 3 и 4 служат для размещения в них щелевых фильтров.
На корпусе фильтра установлена на прокладке и укреплена болтами полая крышка, по которой топливо перетекает последовательно от первого щелевого фильтра к последнему— войлочному.
В днище корпуса установлены на резьбе пробки 22, служащие для слива грязного топлива при осмотре и чистке фильтров.
Щелевые фильтры состоят из большого количества пластин 23, набранных на стержень 8 поочерёдно с проставками 25 толщиной 0,1 мм. Благодаря этому между пластинами 23 образуются зазоры, также равные 0,1 мм, через которые протекает топливо. Посторонние частицы величиной более 0,1 мм через указанные щели не проходят и остаются на поверхности пластин.
Фиг. 132. Двойной фильтр грубой очистки:
/—корпус; 2 —крышка; 3 — болт крепления крышки; 4 — рукоятка переключения; 5 -фланец; 6 — болт; 7 и 8 — каналы; 9 — ьабивка из хлопчатобумажных концов; /О —наружная сетка; //—крышка; 12 — отверстие в трубе; 13 — труба; 14 — внутренняя сетка; 15 — пружина
При помощи рукоятки 9 стержень 8 с пластинами 23 и проставками 25 может поворачиваться. При этом между пластинами 23 скользят неподвижные пластины 24 гребёнки, счищающие грязь, задержанную на поверхности фильтра.
Войлочный фильтр состоит из набора пластин, изготовленных из высококачественного фильтрующего войлока. Войлочные пластины надеты на стальную сетку с шёлковым чехлом и прижаты друг к другу нажимными пластинами 19 и 26. Фильтр в собранном виде надевается на стержень 18, ввёрнутый снизу в тело корпуса, и прижимается к штуцеру 12 пружиной 20.
Фиг. 133. Комбинированный фильтр:
/ —камера войлочного фильтра; 2— свободная камера; 3, 4 — камеры щелевых (пластинчатых) фильтров. 5 —корпус фильтра; 6 — штуцер подвода топлива к фильтру; 7 —крышка; 8 —стержень; 9 — рукоятка стержня; 10— зажимная гайка с сальником; 11 — прокладка; 12 — упорный штуцер; 13 — болт; 14 — сетка; 15 — прокладка; 16, 17 — войлочные пластины; 18 — стержень; 19 — нижняя нажимная пластина; 20 — пружина; 21— штуцер отвода топлива от фильтра; 22 — пробки для очистки полостей фильтра; 23 — рабочая пластина фильтра; 24 — пластина гребёнки; 25 — проставка; 26 — верхняя нажимная пластина
При работе вспомогательного насоса топливо, пройдя первый щелевой фильтр, через отверстие в крышке 7 подходит к другому щелевому фильтру и после него поступает в камеру 1 к наружной поверхности войлочных пластин. Пройдя через войлочные пластины, топливо по стержню 18 проходит к штуцеру 21 и далее нагнетается в коллектор секций топливного насоса.
Новый топливный фильтр состоит из чугунного корпуса / (фиг. 134), в котором расположены две фильтрующие секции, закрытые колпаками 11. Колпаки 11 крепятся к корпусу 1 стяжными болтами 10, торцовые поверхности корпуса и колпаков уплотняются паронитовыми прокладками 12. Каждая фильтрующая секция представляет собой пакет войлочных пластин 9, набранных на сетчатый каркас 8. На каркас предварительно надевается шёлковый чехол 7, который препятствует попаданию в топливный трубопровод оставшихся ворсинок войлока. Войлочные пластины гайкой 5 зажаты между верхней 15 и нижней 6 стальными пластинами.
Неочищенное топливо поступает в фильтр через штуцер 14. Под давлением, создаваемым топливоподкачивающим насосом, топливо проходит через войлочные пластины, очищаясь при этом от механических примесей, и по каналу через штуцер 2 отводится к топливному насосу.
Пробка 17 предназначена для выпуска воздуха из фильтра; две пробки 3— для спуска отстоя.
Подогреватель топлива. На тепловозе установлен водяной подогреватель топлива, предназначенный для поддержания температуры топлива в топливном баке в зимнее время в пределах 30—50°.
Фиг. 134. Новый топливный фильтр: /—корпус; 2 и /-/ — штуцер; 3 — пробка для.спуска отстоя; 4 — сальник; 5 —гайка; 6 — пластина нижняя; 7 —шёлковый чехол; 8 — сетчатый каркас; 9 — войлочные пластины; 10 — стяжной болт; //—колпак; /2 — прокладка; 13 — стержень; 15 — пластина верхняя; 16 — пружина; 17 — пробка для выпуска воздуха
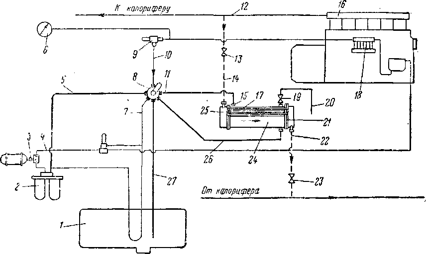
Система топливоподогревательного устройства состоит из водяного подогревателя 24 (фиг. 135), переключательного крана 8, топливного и водяного трубопроводов. Топливоподогреватель представляет собой цилиндрический корпус, с двух сторон которого приварены две концевые решётки 21. В решётки установлено 126 стальных трубок 17. С обеих сторон цилиндр закрыт крышками 25, снабжёнными штуцерами, предназначенными для подсоединения водяного трубопровода.
Вспомогательный топливный насос подаёт топлива больше, чем потребляет двигатель даже при максимальной нагрузке. Из коллектора топливного насоса 18 избыточное топливо по трубопроводу 10 подводится к корпусу переключательного крана 8, а от него (при включённом подогревателе) по трубопроводу 26 направляется в корпус подогревателя 24 Одновременно от водяного коллектора 16 (после охлаждения двигателя) горячая вода по трубопроводу 12 через открытый вентиль 13 и трубопровод 14 поступает в полость левой крышки 25, а затем проходит по трубкам в правую крынку, отдавая своё тепло топливу, омывающему трубки подогревателя снаружи.
Подогретое топливо по трубопроводу // вновь возвращается к корпусу переключательного крана 8, а от него, в зависимости от положения золотника крана 8, может поступать по трубопроводу 27 в топливный бак 7 или по трубопроводу 5 в двойной фильтр 2, откуда вспомогательным насосом 3 топливо будет нагнетаться в коллектор топливного насоса.
Фиг. 135. Топливоподогревательное устройство:
/ — топливный бак; 2 —двойной фильтр; Я — вспомогательный топливный насос; 4 — нагнетательный-трубопровод; 5—трубопровод подвода подогретого топлива к фильтру помимо бака.; 6—аэротермометр; 7 — трубопровод эжекции; 8 — переключательный кран; 9 — регулирующий клапан; 10 — трубопровод подвода топлива от насоса; //— трубопровод подвода топлива к подогревателю; 12 — трубопровод горячей воды; 13 — вентиль; 14 — водяной трубопровод; 15 — штуцер отвода топлива нз подогревателя; 16 — водяной коллектор; 17—стальные трубки; 18 — топливный насос; 19 — вентиль; 20 — труба для спуска воздуха; 21— концевая решётка; 22 —водяной трубопровод; 23 — вентиль; 24 — водяной топливоподогревагель; 25 — крышки; 26, 27 — трубопровод
Вода, пройдя по трубкам подогревателя, по трубопроводу 22 и через открытый вентиль 23 поступает в общий трубопровод охлаждения двигателя. При необходимости топливоподогреватель может быть отключён. Для этого
следует закрыть два вентиля 13 и 23, установленных на водяном трубопроводе.
Переключательный кран 8 золотникового типа служит для управления системой топливоподогрева. Состоит он из корпуса, внутри которого помешен золотник, снабжённый переключательной рукояткой. На корпусе крана размещены штуцеры /, 2, 3, 4, 5, 6 (фиг. 136), необходимые для присоединения соответствующих трубопроводов. Рукоятка 7 золотника может за-н мать четыре положения: /, //, /// и IV. Штуцер 1 соединён трубопроводом с топливным баком. По этому трубопроводу топливо может сливаться в бак (трубопровод 27 на фиг. 135). Штуцер 2 служит для подсоединения трубопровода, по которому топливо от переключательного крана подводится к топливоподогрева-телю (трубопровод 26, фиг 135). Штуцер 3 соединён с трубой, подводящей подогретое топливо от топливоподогревателя (трубопровод 11 на фиг. 135). Штуцер 4 служит для подсоединения трубопровода (трубопровод 10 на
Фнг. 136. Переключательный кран топливоподогрева геля:
1 — 6 — штуцеры переключательного крана; 7 — рукоятка; /— положение рукоятки для подогрева всего топлива; II—-со же для создание эжекции во всасывающей трубе; /// — то же, сопливо идёт к двойному фильтру; IV — то же, топливо минует подогреватель
фиг. 135), подводящего избыточное топливо от коллектора топливного т.-coca. Штуцер 5 предназначен для подсоединения трубопровода (трубэпр^*-вод 7 на фиг. 135), отводящего топливо от переключательного крана в топ1 л'ивный бак к эжекционной воронке трубы, идущей к фильтру. Штуцер 6 соединён трубопроводом (трубопровод 5 на фиг. 135) с фильтром.
Управление переключательным краном и, следовательно, топливоподогре-вателем осуществляется рукояткой 7. На корпусе крана установлена табличка, на которой нанесены следующие четыре возможные положения рукоятки 7:
Положение /—«Бак». При установке рукоятки 7 в положение / подогретое топливо от крана сливается в бак, благодаря чему осуществляется общий подогрев всего топлива в баке.
Положение // — «Эжек.». При установке рукоятки 7 в положение // подогретое топливо от переключательного крана идёт в бак по трубе, имеющей на конце эжекционное устройство.
Фиг. 137. Трёхходовой кран новой топливной системы: / — корпус; 2 —пробка; 3 — штуцер
Положение /// — «Фильтр». При постановке рукоятки 7 в положение /// подогретое топливо от переключательного крана поступает непосредственно к двойному фильтру.
Положение IV — «Выключен». При установке рукоятки 7 в положение IV подогреватель выключен и избыточное топливо от коллектора топливного насоса по трубопроводам подводится к переключательному крану, а от него, минуя подогреватель, поступает в бак.
Конструкция топливоподогревателя выполнена таким образом, что при эксплуатации тепловоза корпус подогревателя ёмкостью 50 л всегда заполнен топливом. При сливе из системы топливо из корпуса подогревателя не сливается. Это даёт возможность произвести запуск холодного двигателя даже при застывшем в топливном баке топливе. Для этого необходимо закрыть вентили 13 и 23 (см. фиг. 135) и заполнить двигатель горячей водой. При- этом нужно несколько приоткрыть вентиль спуска воды из двигателя.
После подогрева двигателя и заполнения всей системы горячей водой вентили 13 и 23 необходимо открыть и в течение 10—15 мин. продолжать прогрев двигателя. Открыть спускной вентиль необходимо для обеспечения циркуляции воды в подогревателе в период нагрева топлива, после чего вентиль следует закрыть.
После прогрева топлива в подогревателе следует установить рукоятку крана в положение «Фильтр», открыть вентиль 19, включить вспомогательный топливный насос и запустить двигатель для работы на холостом ходу, прогревая его до момента, когда температура воды и масла достигнет 45—65°. Затем нужно перевести рукоятку крана в положение «Эжек.». Тогда топливо из топливного коллектора насоса начнёт заполнять корпус подогревателя и вытеснит воздух через открытый вентиль 19. Как только корпус подогревателя будет заполнен и из конца трубы 20 начнёт вытекать топливо, вентиль 19 надо закрыть.
После прогрева топливной системы рукоятку 7 (см. фиг. 136) нужно переключить из положения // — «Эжек.» в положение / — «Бак». Положение / обеспечивает наиболее эффективное использование топливоподогревателя и поэтому является основным рабочим положением, особенно в зимних условиях.
Трёхходовой кран новой топливной системы состоит из корпуса / (фиг. 137) и пробки 2 с тремя каналами. Корпус крана имеет три штуцера 3 для присоединения труб от регулировочного клапана к подогревателю и к эжектор-ному устройству. К последней трубе присоединена ещё одна труба с вентилем. После вентиля труба разделяется на две: одна идёт в бак, другая — в подогреватель.










