§ 13. ФОРСУНКА
На двигателе Д50 установлена форсунка закрытого типа с дифференциальной иглой, разобщающей внутреннюю полость форсунки от камеры сгорания.
Форсунка состоит из стального штампованного корпуса 7 (фиг. 95), в котором смонтированы все её детали. С нижней частью корпуса накидной гайкой 4 скреплён корпус распылителя 5. Торцовые поверхности корпуса форсунки 7 и корпуса распылителя 5 тщательно отшлифованы и притёрты друг к другу при помощи паст ГОИ, чем достигается надёжное уплотнение сопрягаемых поверхностей. Снизу корпус распылителя заканчивается сферическим носиком 24, по окружности которого просверлены на равных расстояниях девять отверстий диаметром 0,35 мм. Через эти отверстия происходит впрыск топлива в камеру сгорания. Игла 6 распылителя в нижней части снабжена опорным конусом, который притирочным пояском прижимается к конусному седлу корпуса 5. На верхний торец иглы 6 опирается сферическая поверхность торца штанги 8. На верхнем хвостовике штанги установлена шайба 9, которая является опорой пр)жииы 10. Пружина зажата через центрирующую шайбу // регулирующим винтом 13, закреплённым контргайкой 14. Для устранения перекосов при передаче усилия по оси пружины торен регулирующего винта 13 и шайба 11 имеют сферические поверхности. В последнее время с той же целью между шайбой и болтом устанавливают центрирующий шарик 25.
В верхней части корпуса форсунки имеются два штуцера. Верхний штуцер 16 ввёрнут в корпус на резьбе и уплотнён медной прокладкой 15. Этот штуцер соединён с внутренней полостью корпуса форсунки и служит для отвода топлива, просачивающегося через неплотности сопрягаемых поверхностей (иглы 6 и корпуса распылителя 5). Нормальный отвод топлива от форсунки не должен превышать 60 капель в минуту, что можно контролировать по капельницам, установленным на блоке со стороны топливного насоса. Другой штуцер 17 ввёрнут и приварен к корпусу форсунки и служит для подсоединения нагнетательной трубки, подводящей топливо от секции насоса. В отверстие штуцера 17 установлен щелевой фильтр 18. Фильтр 18 представляет собой стальной стержень, вдоль оси которого профрезеровано шесть прямоугольных канавок, поочерёдно не доходящих до одного из торцов на 15 мм. Из шести канавок три принимают топливо, поступающее от насоса, а по остальным трём топливо нагнетается в форсунку. При этом топливо перетекает из подводящих канавок в отводящие по щелям (зазорам) между цилиндрической поверхностью перемычек и штуцером. Для устранения осевого перемещения^ фильтр 18 выполнен изогнутым со стрелой прогиба 0,18—0,24 мм.
Пройдя щелевой фильтр 18, топливо по каналу 19 поступает в кольцевую выточку 20, а затем по трём наклонным каналам 21 в колодец 22. Топливо, поступающее под давлением, поднимает иглу и по отверстиям носика 24 с большой скоростью впрыскивается в цилиндр. За счёт большого сопротивления сжатого воздуха топливо сильно раздробляется и в туманообразном состоянии перемешивается с воздухом.
Форсунка устанавливается в центральное отверстие крышки / цилиндра и крепится к пей двумя шпильками при помощи нажимного фланца. Носик распылителя после установки и крепления форсунки должен выступать на 4,8—5,6 мм от нижней плоскости днища (крышки).
Основные детали форсунки показаны на фиг. 96, 97 и 98.
Проверка и регулировка форсунки. Работа форсунки на двигателе протекает в исключительнотяжёлых условиях. С одной стороны,
форсунка подвержена действию высоких температур и давлению газовдак как носик распылителя находится непосредственно в камере сгорания. С другой стороны, при впрысках через рабочий конус распылителя форсунки протекает топливо под высоким давлением (до 550 кг 1см2) со значительной скоростью. В связи с этим к форсункам предъявляют исключительно высокие технические требования. Под действием высоких температур и давлений распылители несколько деформируются, отчего нарушаются их геометрические размеры. Это влияет, с одной стороны, на ухудшение качества распыла и, с другой,— на износоустойчивость сопрягаемых поверхностей, в особенности уплотнитель-ного конуса иглы и седла распылителя.
Фиг. 97. Игла распылителя
При оценке качества работы форсунок обычно исходят из ряда общих показателей работы двигателя. Например, если двигатель не дымит и даёт нормальную мощность, то считают, что топливная аппаратура находится в хорошем состоянии и форсунка подаёт топливо в цилиндре хорошим распылом. Но если двигатель после непродолжительного срока развивает заниженную мощность, имеет повышенную дымность, а иногда и не даёт необходимых оборотов, заданных положением рукоятки контроллера, то это будет указывать на плохую работу топливной аппаратуры. В таком случае необходимо снять форсунки с двигателя п подвергнуть проверке качество распыла и давление впрыска. При этом следует помнить, что хороший или плохой распыл топлива определяется не только плотностью сопрягаемых поверхностей или герметичностью притирочных поверхностей конусов иглы и седла корпуса распылителя, но и определённым сочетанием отдельных элементов форсунки и их взаимных сопряжении, которые нередко играют решающую роль и оказываются главной причиной плохой работы форсунки.
Для снятия форсунки применяется приспособление, показанное на фиг. 99.
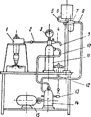
На снятой форсунке необходимо проверить наличие уплотннтельного медного кольца. При отсутствии кольца на форсунке его следует вынуть из крышки для осмотра и при необходимости заменить новым. Снятую форсунку необходимо подвергнуть испытанию на специальных стендах (фиг. 100 и 101). Так, испытание на плотность и проверка затяжки пружины форсунки производятся на ручном стенде (см. фиг. 100). Проверку на чёткость работы предпочтительнее производить на стенде с механическим приводом (см. фиг. 101). Стенд с механическим приводом состоит из секции топливного насоса 14, имеющей плунжер диаметром 10 мм. Кулачок насоса приводится во вращение электродвигателем 15. Топливо поступает из бачка 6 через фильтр 7 и трубку 8.
<
p>Фиг. 100. Схема ручного стенда для испытания и регулировки форсунок:
/ — распылитель форсунки; 2 —форсунка; Л —нагнетательная трубка; 4 — распределитель; 5 —нанометр; б —трубка; 7 —бачок с топливом; 8 — фильтр; 9 — трубка, подводящая топливо к секции; 10 — нагнетательная трубка; // — регулирующая рейка секции насоса; /2 —секция насоса; 13 — неподвижная ось качания рычага; 14 — рукоятка
Фиг. 101. Схема стенда с механическим призодом для испытания и регулировки форсунок:
/ — форсунка; 2 — нагнетательная трубка; 3 — манометр; 4 — вентиль; 5 — трубка; 6 — бачок с топливом; 7 —фильтр; 8— трубка, подводящая топливо к секции; 9— спускная трубка; 10 — нагнетательная трубка; //—аккумулятор; 12 — стрелка, показывающая положение рейки: 13 — рейка секции насоса; 14—насос; 15 — электродвигатель
Из насоса топливо под давлением нагнетается по трубке 10 в аккумулятор 11, имеющий объём около 2 л. От аккумулятора по нагнетательной трубке 2 топливо поступает к форсунке /, установленной на стенде. Давление дизельного топлива в аккумуляторе и его нарастание контролируются манометром 3. Количество топлива, подаваемого насосом 14, и скорость нарастания давления в системе регулируются рейкой 13. Поднятие давления в аккумуляторе от нуля до 265 кг/см2 осуществляется насосом 14 при полной подаче со скоростью 10 кг'см2 за 1'0—12 сек. Дальнейшее нарастание давления происходит медленно, и это необходимо для того, чтобы точно определить, при каком давлении осуществляется впрыск, что позволит проверить затяжку пружины форсунки. Впрыск должен происходить при давлении 275 ± 5 кг/см2; при этом, после впрыска давление в аккумуляторе и во всей системе должно снижаться па величину 40—60 кг'см2, что определяется по манометру 3.
После проверки затяжки пружины рейку 13 насоса 14 устанавливают таким образом, чтобы впрыск осуществлялся 1 раз в 1 сек., а затем ещё несколько уменьшают подачу с таким расчётом, чтобы впрыск осуществлялся 1 ран в 3—5 сек. По этим впрыскам и определяют качество распыла и действие форсунки. Распылённое топливо должно иметь туманообразиое состояние и равномерно распределяться по поперечному сечению струи. Факелы топлива не должны иметь вылетающих капель; сплошных струек или сгущений. При медленном нарастании давления, примерно до 265 кг/см2, распылитель не должен давать подтекания топлива, капель или дугообразных струй в виде «усов».
Начало и конец впрыска должны быть чёткими, резкими и сопровождаться своеобразным звонким звуком. Угол распыла (угол между осями противоположно лежащих сопловых отверстий) должен быть в пределах 154—156°. После проверки распылителя на качество распыла следует ещё раз проверить затяжку пружины. При снятии форсунки со стенда необходимо при помсщи вентиля 4 понизить давление во всей системе и лишь затем приступать к отсоединению нагнетательной трубки.
Кроме проверки качества распыла на стенде с механическим приводом, форсунку проверяют и на ручном стенде. При этом испытании форсунку укрепляют на' столе стенда, соединяют с нагнетательной трубкой и рукояткой 14 (см. фиг. 100) нагнетают топливо в форсунку, пока не произойдёт 1—2 резких впрыска, затем той же рукояткой 14 медленно повышают давление в системе. При этом впрыск должен осуществляться в виде прерывистых струй. При таком протекании процесса впрыска форсунка издаёт характерный звук. Такой впрыск носит название «дробящего впрыска».
Для проверки распылителя на герметичность на стенде должна быть установлена форсунка, имеющая вполне исправный механизм.
При испытании рейка Л секции ручного насоса 12 должна быть установлена на полную подачу топлива, а пружина форсунки 2 отрегулирована на давление 400 ат. Рукояткой 14 создают давление в сети не менее 390 ат и наблюдают по манометру 5 падение давления. При прохождении стрелкой манометра деления, соответствующего давлению топлива 380 ат, включают секундомер и удерживают его включённым до тех пор, пока давление не снизится до 330 ат. Падение давления происходит вследствие просачивания дизельного топлива по зазору между иглой и корпусом распылителя. У нормально работающего распылителя падение давления от 380 до 330 ат, т. е. на 50мт, должно происходить за 18—25 сек. Указанная плотность (18—25 сек.) относится к новым или капитально отремонтированным распылителям. Что же касается распылителей, проверяемых при периодических осмотрах тепловозов, то их плотность может быть допущена меньшей, но не ниже 8 сек.
При плотности менее 8 сек. распыливание топлива будет неудовлетворительным, что нарушит процесс сгорания, увеличит расход топлива и приведёт к быстрому загоранию поршневых колец.
Испытание распылителя на гидравлическую плотность производится на тщательно профильтрованном дизельном топливе при окружающей температуре помещения 15—25°. При этом полученная плотность сравнивается с плотностью эталонной пары, отобранной при вязкости дизельного топлива 1,43— 1,45 по Энглеру при температуре 20—21°.
При испытании форсунка должна удовлетворять всем указанным выше условиям. Внешними признаками отсутствия резкой отсечки являются бесшумный и нечёткий впрыск топлива форсункой (при нормальной затяжке пружины на давление открытия иглы' форсунки, равное 275 кг/см2) и отсутствие снижения давления на 40—60 кг/см2 после впрыска. Причинами, обусловливающими недостаточно резкую отсечку, могут быть: •
1) загрязнённость колодца в корпусе распылителя;
2) отсутствие герметичности или увеличение ширины притирочного пояска иглы более 0,5 мм;
3) зависание иглы или неплотность сопрягаемых поверхностей иглы и отверстия в корпусе распылителя.
Загрязнённость колодца распылителя может быть вызвана попаданием в распылитель газов или вследствие расщепления углеводородов топлива.
Увеличение ширины притирочного пояска иглы и распылителя чаще всего вызывается частой или неправильной притиркой иглы. Игла, как известно, имеет большую твёрдость, а поэтому при притирках быстро изнашивает цементированный слой в распылителе.
Зависание иглы или перекос деталей форсунки обычно ведёт к так называемым затяжным впрыскам. Внешним признаком затяжного впрыска является чрезмерное падение (занижение) давления, получающееся после впрыска в системе стенда. Как уже указывалось, нормальное падение давления после впрыска должно составлять 40—60 ж/см1. При затяжных впрысках падение давления обычно достигает 85 кг/см2 и более.
Внешним признаком подтекания распылителя служит появление спадающих или неопадающих капель топлива до или после впрыска. Причинами подтекания могут быть:
1) неудовлетворительная притирка иглы к седлу распылителя;
2) увеличение притирочного пояска иглы по ширине более 0,5 мм;
3) образование второго пояска на рабочем конусе иглы, расположенного на 1—1,5 мм ниже притирочного пояска;
4) односторонняя притирка пояска;
5) волнообразность и риски на уплотнителыюм конусе седла распылителя. Все эти недостатки форсунки отрицательно влияют не только на резкое снижение экономичности двигателя, но и приводят к быстрому изнашиванию его частей, в особенности шатунно-поршневой группы, поршневых колец, шеек коленчатого вала и т. д.
Следовательно, такие форсунки должны быть подвергнуты соответствующему ремонту.
Ремонт. После разборки форсунки все детали её должны быть тщательно очищены от нагара медными скребками, а каналы в корпусе форсунки и распылителе очищены медной проволокой, промыты в чистом керосине и бензине и хорошо продуты сжатым воздухом. Если игла зависла в распылителе, то не следует пытаться вынимать её силой или расшатывать ударами. Это может привести только к окончательной порче распылителя. Рекомендуется в этом случае положить распылитель на несколько часов в ванну с керосином и затем вынуть иглу.
После тщательной промывки все детали форсунки должны быть подвергнуты тщательному осмотру для определения объёма ремонта. Детали, имеющие удовлетворительное состояние по внешним признакам (отсутствие односторонних натиров, забоин и т. д.) и имеющие геометрические размеры, соответствующие чертежу, могут быть установлены в форсунку для дальнейшей работы.
Наиболее частой причиной плохой работы форсунки является неудовлетворительная работа распылителя. Распылитель является основным элементом форсунки. При работе на двигателе он подвергается значительно большему изнашиванию, чем какие-либо другие детали форсунки. При этом износу подвергаются те части распылителя, которые оказывают наиболее существенное влияние на характеристику и качество распыливания топлива. Известно, что при изготовлении форсунки распылитель выполняется с большой точностью по всем его геометрическим размерам и подразделяется по группам с точностью ±0,001 мм. Кроме того, игла и корпус подбираются в индивидуальном порядке для сопряжения и притирки. Однако, несмотря на принятую точность, диаметр центрального отверстия отдельных корпусов распылителей и, следовательно, сопряжённые сними иглы выполнены с допусками ±0,1 мм.
Это даёт возможность в случае необходимости производить при ремонте перекомплектование распылителей подбором игл с последующей их притиркой и доводкой.
Наиболее распространённым дефектом распылителя является подтекание топлива по притирочному пояску.
Восстановление уплотнительного конуса седла в корпусе распылителя осуществляется при помощи чугунного притира (фиг. 102) с применением паст ГОИ № 10, 8, 4 и 2, предварительно разведённых керосином, и пасты, изготовленной из окиси алюминия.
При восстановлении уплотнительного конуса распылителей чугунный притир 5 зажимают во вращающуюся цангу токарного станка или патрон электродвигателя. В процессе восстановления конусную часть притира 6 следует несколько раз проверить специальным угольником, надеваемым на цилиндрическую часть притира.
При этом, придерживая одной рукой угольник, совмещают его срезанную закалённую и проверенную по плитке плоскость с образующей конусной поверхности притира. Прижимая другой рукой бархатный напильник к срезанной плоскости угольника и к конусу притира, добиваются полного совпадения указанных поверхностей. Эта операция обеспечивает правильность угла конуса притира, который должен быть равен 59° ± Ю'.
После того как при очередной проверке угольником конуса притира будет обнаружено, что конус прилегает по всей ширине седла корпуса распылителя и нет отдельных выделяющихся кольцевых рисок, можно быть уверенным в правильности ремонта седла.
Дополнительная проверка производится двумя специальными калибрами, которыми контролируется точность указанного выше угла конусной поверхности седла распылителя.
Фиг. 102. Приспособление (угольник; для проверки конуса притира гнезда распылителя;
/ — хвостовик; 2 —направляющая часть; 3 —винт; 4 — отверстие для смазки; 5 —притир; « — конус притира
Конусная запорная поверхность иглы распылителя восстанавливается в условиях депо также при помощи специального угольника. Отличается этот угольник от описанного выше тем, что его закалённая и проверенная по плитке плоскость срезана под углом, который должен обеспечивать конусность запорной поверхности иглы, равную 60° 1зо>.
Процесс восстановления угла конуса происходит следующим порядком.
Хвостовик иглы зажимают во вращающуюся цангу или патрон токарного станка; надевают на цилиндрическую часть иглы угольник и совмещают его срезанную плоскость с образующей конуса запорной поверхности иглы; прижимают к срезанной плоскости угольника мелкозернистый брусок и, слегка перемещая его, добиваются полного совпадения образующей конуса иглы со срезанной плоскостью угольника.
После этого, не вынимая иглы из патрона, приступают к взаимной притирке запорного конуса иглы и седла распылителя. Притирку и доводку производят на пасте, изготовленной из окиси алюминия, а после образования притирочного пояска — на чистом масле.
Так как угол конуса иглы несколько больше угла конуса седла распылителя, то в результате притирки и доводки у основания конуса иглы должен получиться притирочный поясок шириной 0,2—0,4 мм.
"Для определения ширины притирочного пояска покрывают конус иглы тонким слоем копоти. Иглу вставляют в корпус и проворачивают на угол не более 30°, затем вынимают и по образовавшемуся отблеску определяют размер пояска.
Следует заметить, что при восстановлении конуса седла никакими райбе-рами или фрезами пользоваться нельзя, так как это приведёт к образованию глубоких рисок и к невозможности восстановления распылителя.
При проведении описанных работ необходимо следить, чтобы на цилиндрические поверхности иглы и корпуса распылителя не попала притирочная паста, а после восстановления конуса седла распылителя последний необходимо тщательно промыть в чистом керосине и продуть сжатым воздухом.
После притирки производят проверку подъёма иглы в корпусе; величина подъёма должна быть не более 0,5 мм; замер её производится обычно микрометрическим прибором, имеющим вид стойки, установленной ножками на торец распылителя. В центре скобы установлен микрометрический винт. Нижний торец винта имеет отверстие, в которое входит верхний хвостовик иглы. Предварительно стойку ставят на плиту, торец винта также доводят до плоскости плиты и отмечают при этом положение мерительной головки, затем стойку устанавливают на торец распылителя, зажимают иглу винтом до упора и определяют положение мерительной головки. Разность между первым и вторым замерами определит величину подъёма иглы.
При чрезмерно большой величине подъёма иглы торец корпуса распылителя шлифуют и притирают по плите, а затем совместно с торцом корпуса форсунки.
После окончания всех операций по ремонту распылителя производят описанную выше проверку на стенде.
При заниженной плотности и наличии задиров или натиров на сопрягаемых поверхностях ремонт распылителей выполняют подбором (перекомплектованием) игл и корпусов от нескольких распылителей с последующей их притиркой и доводкой. Эти операции выполняются таким же порядком, как и при перекомплектовании плунжерных пар. Качество доводки цилиндрических поверхностей иглы и корпуса распылителя, кроме указанных выше испытаний на стендах, определяется также следующей проверкой: игла, установленная в корпус распылителя на 1/з своей длины, должна равномерно без задержек опуститься на седло под действием собственного веса. Распылитель при этом должен быть наклонён под углом 45° к горизонту.
Нагнетательная трубка высокого давления, соединяющая секцию насоса с форсункой, представляет собой толстостенную трубку, оба конца которой снабжены специальными конусными головками {фиг. 103), полученными в холодном состоянии при помощи штампа.
Так как трубки во время работы топливной системы должны выдерживать переменные нагрузки от высокого давления, доходящего до 500 — 600 кг/см2, то при эксплуатации тепловозов имеются случаи обрыва головок трубок, а также образование трещин по цилиндрической части.
При обрыве конусной концевой головки её следует отрезать ножовкой, тщательно зачистить торец и произвести в штампе обсадку новой головки.
При образовании трещин на цилиндрической части трубки последнюю необходимо заменить новой. При отсутствии новой трубки, как исключение, лопнувшую трубку можно отремонтировать следующим способом. Трубку разрезают ножовкой посередине трещины на две части. Тщательно зачищают торцы, удаляют заусеницы, в особенности по внутреннему отверстию. Затем тщательно промывают отверстие в обеих частях трубки и продувают сильной струёй сжатого воздуха. Торцы трубок следует зачистить так, чтобы они плотно прилегали друг к другу, насадить муфту из толстостенной трубки и приварить кругом концы насаженной муфты к ремонтируемой трубке. В зависимости от квалификации сварщика обварку соединительной муфты можно производить газовой или электрической сваркой, применяя электроды из мягкой стали диаметром не более 3 мм.
Фиг. 103. Головка нагнетательной грубки высокого давления
После ремонта трубку подвергают гидравлическому испытанию под давлением 750 кг/см2 в течение 5 мин.










