§ 12. РЕГУЛЯТОР БЕЗОПАСНОСТИ
Регулятор безопасности служит для предохранения двигателя от разноса при неисправной работе регулятора оборотов двигателя или при заедании регулирующей рейки секции насоса при полной подаче топлива, при зависании плунжера в гильзе и других случайностях.
С регулятором безопасности связаны рычажная система выключения и выключающее устройство топливного насоса.
Регулятор безопасности (фиг. 94) состоит из корпуса /, соединённого с цилиндрической шестерней 13 и крышкой 14 двумя призонными и четырьмя свободными болтами 15 с фланцем кулачкового вала насоса. В корпусе / на конической оси 6 укреплён сердечник 2, на стержни которого надеты грузы 3 с пружинами 4, затянутые гайками 5. На цилиндрической поверхности грузов имеется канавка //, а в тело корпуса запрессованы направляющие ограничители 12, хвостовики которых входят в канавки и тем предохраняют грузы от проворачивания на стержне и ограничивают их движение под действием центробежной силы. Для обеспечения одновременного перемещения грузов 3 они связаны между собой зубчатыми рычагами 9, горизонтальные выступы которых входят в пазы грузов 3, а противоположные выступы (в виде зубьев) сцеплены между собой. Рычаги 9 могут свободно вращаться на осях 8, установленных в корпусе 7.
Фиг. 93. Схема стенда для опрессовки секции топливного насоса:
/ — заглушка; 2 —штуцер секции; 3 — штуцер подвода топлива к секции; 4 — регулирующая рейка; 5—плунжер секции насоса: о -корпус секции; 7 — фланец с Г-образпыми соединительными вырезами н выступами для крепления секции к втулке стенда; 6' -второй толкатель; 9 — втулка стенда; 10— толкатель; //— ролик иа рычаге
Рычажная система регулятора размещена в корпусе топливного насоса. В корпусе 13 (см. фиг. 77) установлены два зубчатых сектора—верхний 8 и нижний 4, соединённые между собой и стянутые пружиной. Нижний сектор 4 имеет два выступа — вертикальный и горизонтальный. В последний упирается валик 7, а вертикальный выступ при нормальных оборотах вала двигателя никаких усилий не воспринимает. На оси верхнего сектора 4? укреплена рукоятка 4 (см. фиг. 75). Потянув рукоятку на себя, можно остановить двигатель.
Фиг. 94. Регулятор безопасности: / — корпус регулятора; 2 —сердечник регулятора; 3— грузы регулятора; 4—пружина; 5 — гайка; 6 — коническая ось сердечника; 7 — шплинт; 8—ось рычага; 9 — зубчатый рычаг; 10 — кулачковый вал; // — прямоугольная канапка в теле груза; 12 — направляющие ограничители; 13 — цилиндрическая шестерня; 14 — крышка шестерни; 15 — болт; а — масляный каиал в кулачковом валу; б —канал в корпусе регулятора
Выключающее устройство смонтировано на крышке 35 (см. фиг. 77) и состоит из тяги 36 и рукояток выключения секций насоса. Тяіа 36 установлена в отверстия трёх приливов, в которых она имеет возможность перемещаться в осевом направлении. С правой стороны тяга нагружена спиральной пружиной, стремящейся переместить тягу влево.
Рукоятка выключения секций имеет головку с трапециевидным зубом 37 и прямоугольным торцом и стержень 38, сточенный на конус и предназначенный для удержания корпуса толкателя 24 с плунжером секции ш соса в верхнем положении. Пружина тяги 15 (см. фиг. 76) сжата рукояткой 23, поворачивающейся вокруг неподвижной оси 22. Торец рукоятки 23 упирается в тягу 15, а вильчатая часть рукоятки входит в пазы валика 24. Валик 24 опирается своим торцом в горизонтальный выступ 25 нижнего зубчатого сектора.
При нормальном числе оборотов коленчатого вала двш атсля регулятор безопасности не срабатывает. При увеличении числа оборотов вала до 840—870 об/мин грузы 24 (см. фиг. 75) под действием центробежной силы, преодолевая усилие пружин 28, выдвинутся из корпуса 21 настолько, что ударят по вертикальному выступу зубчатого сектора 4 (см. фиг. 77). При этом горизонтальный выступ сектора освободит валик 24 (см. фиг. 76), и он усилием пружины сместится внутрь картера насоса. Рукоятка 23 при этом повернётся по часовой стрелке вокруг оси 22, тяга 15 переместится влево и повернёт зубья и головки рукояток выключения секций против часовой стрелки. При этом головки всех рукояток повернутся таким образом, что их прямоугольные торцы попадут в пазы 19 выступов крышки 18. Тогда стержни рукояток 17 под действием пружин переместятся внутрь картера насоса, конические концы их войдут в отверстия 16 и застопорят корпуса толкателей в верхнем положении. Вследствие этого секции топливного насоса прекратят подачу топлива в цилиндры и двигатель остановится.
Для приведения насоса в рабочее состояние необходимо все рукоятки выключения 20 вытянуть из отверстий в толкателях и повернуть на себя рукоятку 23. Далее необходимо все рукоятки 20 установить таким образом, чтобы их зубья вошли в трапециевидные гнёзда тяги 15.
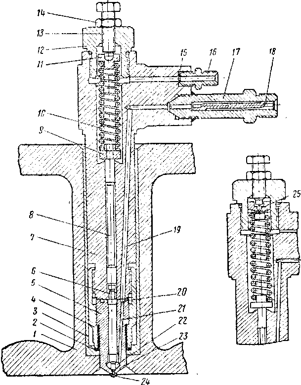
Фиг. 95. Форсунка:
/ — крышка цилиндра; 2 —медное уплотннтелыюе кольцо; в — стальпая втулка., установленная в крышке; 4 — гайка крепления распылителя; 5 —корпус распылителя; 6 — нгла распылителя; 7 —корпус форсунки; « — штанга; 5 опорная шайба пружины; /0 —пружина форсунки; // — шайба пружины; /г —колп чковая гайка; 13 —регулирующий винт; 14 - контргайка; /5 —медная прокладка; 16 — штуцер отвода топлива от форсунки; /7 —штуцер подвода топлива к форсунке; 18- щелевой фильтр; 19 — канал подвода топлива к"корп\чг распылителя; 20—кольцевая выточка; 21— каналы в корпусе распылителя; 22— -кождец; 23 — седло конуса иглы; 24 - носик корпуса распылителя; 25 — центрирующий шарик










