§ 14. РЕГУЛЯТОР ЧИСЛА ОБОРОТОВ ВАЛА двигателя
На двигателе Д50 установлен восьмирежимный регулятор центробежного типа с гидравлическим сервомотором и собственной масляной системой. Назначение регулятора состоит в том, чтобы поддерживать заданное число оборотов вала двигателя независимо от изменения внешней нагрузки и устанавливать новое число оборотов вала двигателя по желанию машиниста. Для этого контроллер машиниста связан электрическими проводами с электропневматическим механизмом, который при помощи рычажной системы изменяет затяжку всережимной пружины регулятора. При затяжке или ослаблении всережимной пружины изменяется соотношение между усилиями, развиваемыми грузами и пружиной регулятора, в результате чего устанавливаются новые числа оборотов вала двигателя.
ОСНОВНЫЕ ТЕХНИЧЕСКИЕ ДАННЫЕ РЕГУЛЯТОРА
Регулятор Д50...............Центробежный непрямого действия с гидравлическим сервомотором, изодроАой обратной связью, самостоятельной гидравлической системой
Передаточное число от коленчатого вала двигателя к регулятору ...... 1 : 1,02
Максимальные обороты регулятора..... і 200 об/мин
Минимальные » » ..... 440 »
Направление вращения привода регулятора По часовой стрелке, если смотреть со стороны конической шестерни привода
Передаточное число рычажной системы от штока сервомотора к рейкам топливного насоса.................. 1 — 1,45 (1 мм перемещения реек соответствует 1,45 мм перемещения штока сервомотора)
Геометрический ход поршня сервомотора . . 26 мм
Используемый »# » » . . 19 »
Давление масла в аккумуляторах ..... 3,5—4 кг/см'2
Перестановочное усилие сервомотора .... 50 кг
Сухой вес регулятора........... 40 »
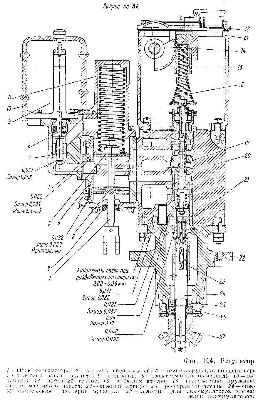
Конструктивно регулятор числа оборотов вала двигателя (фиг. 104) состоит из трёх чугунных корпусов, соединённых между собой винтами и шпильками. Корпуса для предохранения от просачивания масла поставлены на прокладки.
Нижний корпус 22 снабжён квадратным фланцем, которым остов регулятора крепится четырьмя шпильками к картеру топливного насоса. Внутри корпуса смонтирован вал 24 привода регулятора. Вал опирается на шариковый подшипник 25, снабжённый самоуплотняющимся сальником 26. На нижнем конце вала насажена коническая шестерня 27. Верхний конец вала привода снабжён специальными вырезами, которыми он при помощи рессорных пластин 23 соединён с шлицевым валом. Последний в свою очередь соединён с буксой 19. Соединение вала 24 и буксы 19 рессорными пластинами обеспечивает плавную передачу крутящего момента от кулачкового вала топливного насоса к золотниковой части "регулятора. Смазка шарикового подшипника 25 осуществляется маслом, поступающим по наклонному отверстию, просверленному в корпусе 22.
Средний корпус 20 регулятора установлен на фланец нижнего корпуса 22 и укреплён на последнем восемью шпильками. Внутри среднего корпуса 20 расположена система каналов, необходимых для подвода и отвода масла от гидравлического сервомотора. В этом же корпусе размещены два колодца 28, внутри которых смонтированы поршни 32, нагруженные пружинами 31. В одном из колодцев имеется боковое отверстие, закрытое поршнем 32. При повышении давления поршень 32, преодолевая усилие пружин 31, перемещается вниз и открывает отверстие.Избыток масла перетекает в полость низкого давления, благодаря чему в регуляторе поддерживается постоянное давление масла (3,4—4 кг/см2). Свободные полости, имеющиеся внутри среднего корпуса 20, служат ванной для масла, уровень которого определяется по масло-указательному стеклу 30, установленному на внешней стороне корпуса.
Внизу корпуса 20 смонтирован масляный насос, состоящий из двух цилиндрических шестерён. Одна из шестерён 21 насоса укреплена коническими винтами на хвостовике буксы 19 и является ведущей. Другая шестерня (ведомая) помещена в выточке корпуса на оси, запрессованной в тело корпуса.
В центральной части среднего корпуса 20 имеется расточенное отверстие — колодец, в котором смонтирована золотниковая часть регулятора. Вертикальные перемещения буксы, превышающие 0,08 мм, ограничены фланцем 17, скреплённым с верхней плоскостью корпуса 20 двумя винтами. Регулировка указанного зазора осуществляется прокладками 18, уложенными между фланцем 17 и верхней плоскостью корпуса 20.
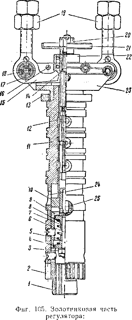
Золотниковая часть регулятора (фиг. 105) состоит из буксы И, отлитой из чугуна марки СЧ 24-44 и предназначенной для монтажа всех деталей, входящих в золотниковую часть регулятора. По всей длине буксы сделаны кольцевые выточки и просверлены отверстия, необходимые для сообщения внутренней её полости с каналами корпуса, по которым подводится- и отводится масло от гидравлического сервомотора в ванну регулятора. На верхнюю часть буксы 11 напрессована траверса 23, на которой смонтированы рычаги 15 с грузами 19. Рычаги грузов 15 качаются на осях 18 в шарикоподшипниках 17. Их качание ограничено сверху ограничителями 16 и снизу фланцем 13. На рычаги навинчено по две гайки 19. Рычаги с гайками отбалансированы на специальных весах по эталонному рычагу.
На нижнем конце буксы И укреплена ведущая шестерня масляного насоса так, что имеющаяся на ней метка 1 располагается по вертикальной оси двух конических винтов буксы, а верхний торец её служит опорой нижней тарелки 4 компенсирующей пружины 5. Верхняя тарелка 7 пружины 5 опирается на заплечик втулки 9, связанной с буксой 11 коническим винтом. В центральное отверстие золотника 10, составляющего одно целое с поршнем, с нижнего торца запрессован хвостовик 6. Гайка 3 хвостовика служит для затяжки компенсирующей пружины 5. Для сообщения внутренней полости золотника 10 с отверстиями в буксе 11 в стенках золотника 10 просверлены по высоте три ряда отверстий. Крайние ряды имеют по четыре, а средний — восемь отверстий, которые перекрываются диском плунжера 12 при работе двигателя на установившемся режиме.
Плунжер 12 изготовлен из стали 12ХНЗА ГОСТ 4543—48 и снабжён двумя рабочими дисками, точно пригнанными к центральному отверстию золотника 10. В пространство, заключённое между двумя дисками плунжера 12, подводится масло, поступающее из масляного насоса через аккумуляторы. При изменении режима работы двигателя, а следовательно, и изменении положения рычагов 15 с грузами 19 диск плунжера 12 открывает восемь отверстий в золотнике 10 и таким образом осуществляет цпуск или выпуск масла из полости, расположенной под силовым поршнем гидравлического сервомо-. тора.
На верхнюю часть плунжера 12 напрессованы два шариковых подшипника 22, над которыми установлена тарелка 21, закреплённая корончатой гайкой 20. На наружные обоймы шарикоподшипников 22 опираются своими выступами рычаги 15 с грузами 19. При работе двигателя золотниковая часть
регулятора (за исключением плунжера 12 и тарелки 21) вращается. Плунжер 12 может перемещаться только вверх или вниз, но не вращается.
Верхний корпус 13 регулятора (см. фиг. 104) установлен на средний корпус 20 и закреплён на нём через внутреннюю полость четырьмя винтами. В полости верхнего корпуса размещена всережимная пружина 16, опирающаяся своими нижними витками на тарелку 21 (см. фиг. 105).
В приливах верхнего корпуса смонтирован механизм затяжки всережим-ноГі пружины 16 (см. фнг. 104). Механизм состоит из зубчатой втулки 15, установленной в центральном отверстии корпуса 13. Втулка 15 входит в зацепление с зубчатым сектором 14, который своими цапфами опирается на два игольчатых подшипника, смонтированных в приливах корпуса 13. Поворотом сектора 14 производится затяжка или ослабление всережимной пружины 16.
На верхней плоскости корпуса 13 установлена крышка 12, снабжённая горловиной с сеткой, через которую осуществляется заполнение маслом Разрез по 65 внутренней полости регулятора. На внешней стороне корпуса 20 имеются маслоуказательное стекло 30, пробка игольчатого клапана 29 и пробки для спуска масла из полости регулятора.
числа оборотов двигателя:
; 4 — корпус сервомотора; 5 — силовой поршень; 6 —пружина сервомотора; жух; 11 — колпак пружины сервомотора; /2 —крышка регулятора; 13 — верхний 17 — фланец; 18 —прокладка; 19 — букса; 20 — средний корпус; 2/ —ведущая гае-ний вал привода; 25 — шариковый подшипник; 26 — самоуплотняющийся сальник; 29 — игольчатый компенсирующий клапан; 30 — маслоуказательное стекло; 31 — пру-32 —поршни аккумуляторов
Сервомотор. С левой стороны корпус 20 имеет чисто обработанную поверхность, на которой установлен и укреплён четырьмя шпильками гидравлический сервомотор. В корпусе 4 сервомотора, разделённом перегородкой на две полости, установлена поршневая пара, нагруженная сверху пружиной б, затянутой колпаком 11. Поршневая пара состоит из силового поршня 5 и компенсирующего поршня 3. Оба поршня напрессованы на общий шток /. Шток /
уплотнён в крышке сальником 2 и имеет внизу серьгу, посредством которой он соединён с рычажной системой привода реек секций топливного насоса. Корпус сервомотора в плоскости крепления его к корпусу 20 имеет систему каналов, по которым осуществляется подвод и отвод масла, необходимого для работы.
С левой стороны корпуса сервомотора укреплён винтами корпус с золотником 7 автоматического выключения, служащий для остановки двигателя. Остановка двигателя осуществляется перепуском масла из полости под силовым поршнем 5 сервомотора в масляную ванну. Над золотником 7 установлен электромагнит 9, закрытый кожухом 10. При замыкании цепи электромагнита хвостовик его плунжера опускает золотник вниз и цилиндрическая головка золотника запирает выход масла из-под силового поршня. При пуске двигателя цепь питания электромагнита создаётся блокировочным контактом пускового контактора. После пуска двигателя цепь питания катушки электромагнита создаётся блокировкой реле давления масла. При понижении давления масла в масляном трубопроводе двигателя ниже 1,6 кг/см2 или при остановке двигателя выключением кнопки вспомогательного топливного насоса цепь электромагнита размыкается: золотник давлением масла поднимается вверх и перепускает масло из полости под силовым поршнем 5 в полость над силовым поршнем и в масляную ванну регулятора. При этом регулирующие рейки секций топливного насоса, связанные рычажным механизмом и валом подачи со штоком сервомотора, устанавливаются в положение нулевой подачи, и двигатель останавливается.
Электро пневматический механизм регулятора. Регулятором оборотов двигателя машинист управляет посредством электропневматического механизма, который через рычажную систему воздействует на всережи мну к > пр ужину.
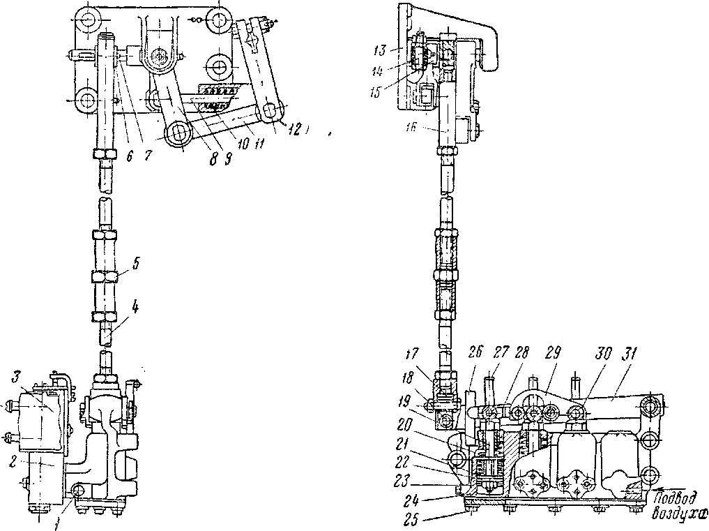
Электроппевматический механизм монтируется в чугунном корпусе 24 (фиг. 106), укреплённом тремя болтами на фланце картера топливного насоса. В корпусе расточены три колодца, в которых на скалках 19 установлены поршни 23. Уплотняются поршни кожаными манжетами. Слева на корпусе 24 установлены три электропневматических вентиля 2, управляющих подачей воздуха в цилиндры под поршни 23. Сжатый воздух под давлением 5,5 кг/см2 подводится к корпусу 24 от магистрали через отверстие 1.
/ — мотка на шестерне: 2— ведущая шестерня масляного насоса; 3— корончатая гайка; 4 — нижняя тарелка; 5 — компенсирующая пружина; 0хвостовик золотника; 7 — верхняя тарелка; в—прокладки; 9 — втулка; 10 — золотник г поршнем; ; /—букса; 12 — плунжер; із — фланец; /4— прокладки; 15 — рычаг груза; 16 ограничитель; 17—шарикоподшипник; 18 — ось груза; /5--грузы (гайки); 20 — корон-чая гайка; 2/ —тарелка всережимной пружины; 22 - шарикоподшипник; 23 — траверса; 24 —верхнее оьпо в буксе; 25 — нижнее окно в буксе
При установке рукоятки контроллера управления тепловозом в различные положения осуществляется замыкание цепей питания катушек 3 вентилей 2. При включении вентиля открывают доступ сжатому воздуху в различные цилиндры механизма.
Под действием сжатого воздуха, преодолевая усилие пружин 21, поршни 23 поднимаются вверх, при этом скалка 19 приводит в действие рычажную систему, которая изменяет затяжку всережимной пружины.
Фиг, 106. Электропневматический механизм регулятора:
/--отверстие для подвода воздуха; 2 —электропневматические вентили ВВІ; 3 — катушки вентилей 2; 4 — вертикальная тяга; 5 — муфта; 6 — шаровое соединение верхнего конца вертикальной тяги; 7 — стержень трёхплечего рычага; 8 — трёхплечий рычаг; 9 — поводок; 10— пружина; //, 12 — рычаги; у,?—-кронштейн; 14 — зажимной болт; 15 — хомут шарнира; 16 — гильза; 17 — валик; 18 — соединительная призма; 19 — скалка; 20 — прокладки; 21—пружины; 22 — шайба опоры пружины; 23 — поршни; 24 — корпус; 25 — крышка корпуса; 26 — направляющая планка; 27 — маслёнка; 28 — рычаг; 29 — фигурный рычаг; 30 — текстолитовый сухарь; 31 — главный рычаг
Нормальный ход каждого поршня с его скалкой 19 равен 13,5 мм и может быть отрегулирован прокладками 20, установленными между заточкой скалки и проставкой поршня.
Скалки 19 через текстолитовые опоры (сухари) 30 и рычаг 28, а также фигурный рычаг 29 и главный рычаг 31 перемещают вертикальную тягу 4. Тяга 4 соединена муфтой 5 и гильзой 16 со стержнем 7. Стержень 7 является частью трёхплечего рычага 8, с которым соединён поводок 9 с пружиной 10.
Пружина 10 служит для устранения свободных зазоров в рычажной системе механизма и стремится вернуть систему в положение, соответствующее холостым оборотам двигателя. Рычаг 8 через рычаги 11 w 12 связан с зубчатым сектором регулятора, которым и осуществляется затяжка всережимной пружины. Кронштейн 13 прикреплён четырьмя болтами к блоку двигателя.
Затяжка пружины 10 производится гайкой поводка 9 (три полных оборота гайки, считая от начального положения её при свободном состоянии пружины).
Действие регулятора. Плунжер 12 (см. фиг. 10Б) вместе с тарелкой 21 находится под воздействием всережимной пружины и инерционных сил грузов 19 и рычагов 15. При установившемся режиме работы двигателя силы, действующие на плунжер, взаимно уравновешиваются, и золотник 10 занимает среднее положение.
При изменении внешней нагрузки на двигатель изменяются его обороты, а следовательно, и центробежная сила грузов регулятора. При этом ранее установившееся равновесие нарушается и грузы изменяют своё положение, чем изменяют положение плунжера 12, управляющего проходом масла, находящегося под давлением, к гидравлическому сервомотору. Масло, поступающее под силовой поршень 5 (см. фиг. 104), вызывает его перемещение.
Фйг. 107а. Схема работы регулятора при установившихся оборотах и постоянной нагрузке:
/ — шток сервомотора; 2 —компенсирующий поршень; 3— силовой поршень; 4 — корпус сервомотора; 5 — пружина сервомотора; в, 7, 18. 19, 2? —каналы; «—колпак пружины; 9—фланец траверсы; /(/-шарикоподшипник; //—зубчатая втулка; /2 —зубчатый сектор; 13 — всережимнся пружина;, /-/ — тарелка пружины; 15 — грузы; 16— букса; 17 — плунжер; 20 — аккумуляторы; 22 — масляная ванна регулятора; 23 — масляный шестерёнчатый насос регулятора; 24 — коническая шестерня; 25 — компенсирующая пружина; 26 — поршень золотника; 27 — золотник; 28 — игольчатый компенсирующий клапан; 29 — верхняя тарелка компенсирующей пружины; 30 — нижняя тарелка компенсирующей пружины
Поршень, перемещаясь, увлекает за собой шток 1, который посредством системы рычагов изменяет положение реек в секциях топливного насоса и таким образом регулирует подачу топлива в зависимости от изменения положения золотниковой части регулятора.
При этом изменение подачи могло бы продолжаться до тех пор, пока обороты двигателя не были бы восстановлены в соответствии с изменившейся нагрузкой. Но обороты двигателя не могут изменяться немедленно после того, как регулятор изменит подачу топлива. Поэтому перемещение силового поршня, а следовательно, и подача топлива изменяются на величину, большую, чем это необходимо для восстановления оборотов. Происходит попеременно уменьшение и возрастание (как бы колебание) оборотов двигателя. Для уменьшения колебаний оборотов, а также для точного восстановления установленных оборотов в регуляторе имеется компенсирующий элемент, обеспечивающий устойчивость процесса регулирования.
На приведённых ниже схемах можно проследить и подробно изучить взаимодействие всех элементов регулятора при различных этапах его работы (фиг. 107а—д).
Так, на фиг. 107а схематически изображено взаимное расположение основных деталей регулятора при постоянной нагрузке на двигатель и установившихся числах оборотов коленчатого вала. При этом геометрическая ось, проходящая через центры поворота рычагов грузов 15 регулятора, точно совпадает с нижней торцовой поверхностью шарикоподшипника 10 плунжера, что свидетельствует о полном равновесии сил, развиваемых вращающимися грузами 15, и усилия, развиваемого всережимной пружиной 13. При таком положении шарикоподшипника 10 плунжер 17 нижним (по схеме) рабочим диском перекрывает окно золотника 27 и масло, нагнетаемое шестерёнчатым насосом 23 регулятора, не может пройти по каналам 19 и 7 под силовой поршень 3 сервомотора, а по отверстию и каналу 21 отводится в масляную ванну регулятора.
Фиг. 1076. Схема работы регулятора при уменьшении нагрузки (I п о л-о ж е н и е) (Экспликация общая с фиг. і 07а)
Золотник 27 и его поршень 26 находятся в среднем положении, при котором компенсирующая пружина 25 сжата предварительной затяжкой гайки хвостовика золотника, а торцы тарелок 29 и 30 только касаются: первая 29— бурта втулки и вторая 30 — торца шестерни насоса 23.
Над компенсирующим поршнем 2 сервомотора нет ни избыточного давления, ни разрежения, так как полость над ним сообщена отверстием игольчатого компенсирующего клапана 28 с масляной ванной регулятора, с которой сообщена также и полость над поршнем 26 золотника 27.
Усилие, развиваемое пружиной 5 сервомотора, не может переместить силовой поршень 3, так как масло под ним не имеет выхода.
При уменьшении нагрузки на двигатель (при неизменном положении рукоятки контроллера) обороты вала двигателя возрастут, так как подача топлива топливным насосом в этот момент не уменьшилась. Грузы 15 (фиг. 1076) вследствие увеличения оборотов разойдутся и угловыми рычагами поднимут шарикоподшипник 10 я с ним плунжер 17. Рабочий диск плунжера поднимется и сообщит пространство под силовым поршнем 3 сервомотора с масляной ванной через канал 19, отверстия и каналы золотниковой части и канал 18. Поршень 3 под воздействием пружины 5 начнёт опускаться, а так как шток / связан шарниром с валом подачи топлива, то и подача топлива в цилиндры двигателя будет уменьшаться, а значит, будут уменьшаться и обороты двигателя. Компенсирующий поршень 2 сервомотора, опускаясь одновременно с силовым поршнем 3, создаёт над собой разрежение (так как проход ч:рез игольчатый компенсирующий клапан 28 очень невелик), и масло, находящееся над поршнем 26 золотника 27', будет через канал 6 засасываться в пространство над компенсирующим поршнем 2. При этом будут подниматься поршень 26 и золотник 27, сжимая нижней тарелкой 30 компенсирующую пружину 25. Опускание поршней 2 и 3 сервомотора и поднятие золотника 27 прекратятся в тот момент, когда диск плунжера перекроет окна золотника (фиг. ] 07в). Возвращение грузов, плунжера и золотника в исходное положение будет происходить одновременно вследствие возвращения оборотов двигателя к первоначальным, а также вследствие того, что через игольчатый компенсирующий клапан 28 будет подсасываться из масляной ванны регулятора масло. Благодаря последнему обстоятельству разрежение над поршнем 26
Фиг. 107в. Схема работы регулятора при уменьшении нагрузки (II положение) золотника будет уменьшаться, и золотник под воздействием компенсирующей пружины 25 будет постепенно опускаться, пока не придёт в положение, изображённое на фиг. 107а.
Увеличение нагрузки на двигатель вызовет понижение числа оборотов коленчатого вала, а следовательно, и вала регулятора. Грузы 15 начнут сближаться, и плунжер 17 переместится вниз, открывая при этом своим рабочим диском окно золотника 27. Масло под давлением из масляных аккумуляторов 20 по каналу 19 через отверстия золотниковой части регулятора и канал 7 начнёт поступать под силовой поршень 3 сервомотора, поднимая его и заставляя тем самым увеличивать подачу топлива насосом. Поднимаясь, силовой поршень заставляет подниматься и компенсирующий поршень 2. Над поршнем 2 возникает давление, и так как масло, вытесняемое поршнем 2, не успевает перетекать в ванну по каналу игольчатого клапана 28, то, проходя по каналу 6 в полость над поршнем 26 золотника 27, оно заставляет опуститься поршень 26 я золотник 27. При этом верхняя тарелка 29 сожмёт компенсирующую пружину 25 (фиг. 107г).
Фиг. 107г. Схема работы регулятора при увеличении нагрузки (II положение) (Экспликация общая с фиг. 107а)
На фиг. 107г изображено положение, при котором окно золотника 27 уже закрыто диском плунжера 17 и золотник и плунжер опущены, компенсирующая пружина сжата, грузы 15 сближены, но силовой поршень 3, а следовательно, и шток 1 сервомотора поднялись, увеличив тем самым подачу топлива. Обороты вала двигателя начинают возвращаться к первоначальным (установленным машинистом), и начинается возвращение золотника совместно с плунжером в среднее положение. Излишек масла будет при этом из полости над поршнем 26 через отверстие игольчатого клапана 28 вытекать в масляную ванну регулятора под давлением, создаваемым вначале компенсирующим поршнем 2, а затем компенсирующей пружиной 25 поршня 26.
Наконец, на фиг. 107д изображено взаимное положение деталей регулятора в момент пуска двигателя. Центробежная сила грузов 15 ещё недостаточна для преодоления затяжки всережимной пружины 13, и горизонтальные плечи их угловых рычагов опущены до упора во фланец 9 траверсы. Золотник 27 находится в среднем положении, и плунжер 17 полностью открывает доступ маслу в пространство под силовым поршнем. Последний поднимается на максимально возможную величину, увеличивая тем самым подачу топлива ■и облегчая пуск двигателя.
Фиг. 107д. Схема работы регулятора при пуске двигателя
Регулировка и настройка регулятора оборотов двигателя Д50 делятся на внешние и внутренние.
К внешним регулировкам относятся: 1) проверка и установление зазора в зацеплении зубьев шестерён привода регулятора, 2) регулировка игольчатого компенсирующего клапана и 3) регулировка оборотов двигателя.
Зазоры в зацеплении зубьев цилиндрических и конических шестерён проверяют и устанавливают через люк картера топливного насоса (см. фиг. 74).
Покачивая коническую шестерню рукой, определяют приблизительную величину зазоров в зацеплении зубьев конических и цилиндрических шестерён. Для точного определения зазоров укладывают между зубьями этих шестерён свинцовую проволоку диаметром 1 мм и пробоксовывают двигатель на один оборот. Затем вынимают проволоку и микрометром находят истинную величину зазоров. На новом двигателе зазоры должны быть 0,10—0,30 мм.
Если зазор меньше 0,10 мм или превышает 0,60 мм, то необходима его регулировка.
Зазор в зацеплении зубьев цилиндрических шестерён регулируют толщиной прокладок (см. фиг. 75) между верхней плоскостью картера насоса и фланцем корпуса привода 34.
Зазор в зацеплении зубьев конических шестерён регулируют толщиной прокладок, устанавливаемых между верхней плоскостью фланца корпуса 34 и фланцем нижнего корпуса регулятора.
При невозможности установить требуемые зазоры в зацеплении зубьев цилиндрических и конических шестерён привода регулятора из-за их износа шестерни комплектно должны быть заменены новыми.
Регулировку игольчатого компенсирующего клапана обычно производят при промывке масляной полости регулятора и замене масла, при неравномерных оборотах коленчатого вала двигателя, после полной разборки и ремонта регулятора.
Игольчатый клапан следует регулировать на минимальных оборотах холостого хода (нулевое положение рукоятки контроллера машиниста) на хорошо прогретом двигателе (нормальная вязкость масла в регуляторе). Перед регулировкой следует убедиться в том, что топливная аппаратура (насосы и форсунки) в полной исправности.
Игольчатый клапан нужно отвернуть на 1—2 оборота от закрытого положения и дать двигателю поработать неустойчиво в течение 2—3 мин. для удаления заключённого в регуляторе воздуха. Затем следует медленно прикрывать клапан до прекращения неустойчивой работы двигателя.
Обычно игольчатый клапан открыт на одну четверть оборота.
Малое открытие игольчатого клапана вызывает замедленное действие регулятора, затрудняя запуск и удлиняя время перехода с одного режима на другой.
Чрезмерно большое открытие игольчатого клапана вызывает неустойчивую работу регулятора на холостом ходу,а также колебания штока сервомотора при изменении режима.
Регулируется игольчатый клапан при испытании двигателя. В эксплуатации регулировку не следует менять, за исключением случаев резкого изменения окружающей температуры, влияющей на вязкость масла в регуляторе.
Для предотвращения самоотвиичивания игольчатый клапан имеет прорез.
Ранее выпущенные заводом регуляторы имеют два игольчатых клапана — передний и задний; задний игольчатый клапан должен быть завёрнут до отказа.
Регулировка оборотов двигателя. После переборки и настройки регулятор должен устанавливать обороты вала двигателя в соответствии с заданными (в соответствии с положением рукоятки контроллера машиниста) и удерживать их независимо от изменения нагрузки.
Если обороты коленчатого вала двигателя отличаются от 270+15 об/мин, когда рукоятка контроллера переведена в нулевое положение, или от 740 об/мии, когда рукоятка контроллера установлена на восьмое положение, то необходимо произвести регулировку оборотов двигателя.
Холостые обороты двигателя регулируются изменением длины тяги 4 (см. фиг. 106) электропневматического механизма.
Вращая муфту 5, имеющую правую и левую резьбу, удлиняют или укорачивают тягу 4, изменяя затяжку всережимной пружины регулятора. Удлинение тяги 4 увеличивает минимальное число оборотов двигателя и, наоборот, укорочение тяги уменьшает обороты.
Максимальные обороты двигателя (при восьмом положении рукоятки контроллера) устанавливают изменением положения хомута 15 шарнира на стержне 7. Перемещение хомута 15 по стержню 7 вправо к оси качания трёхплечего рычага 8 увеличивает обороты двигателя. Удаление хомута от оси качания рычага 8 уменьшает обороты.
Если после внешней регулировки регулятор продолжает работать неудовлетворительно, с неустойчивыми оборотами, то в этом случае производят внутреннюю регулировку.
Прежде чем производить внутреннюю регулировку, связанную с разборкой и сборкой регулятора, необходимо выполнить следующие операции:
1. Промыть регулятор и сменить в нём масло.
2. Проверить положение игольчатого клапана и отрегулировать его, как указано выше.
3. Проверить лёгкость и плавность хода реек топливного насоса и отсутствие заеданий в рычажной системе привода реек.
4. Проверить отсутствие заклинивания поршневой пары в корпусе масляного сервомотора из-за перекоса корпуса при подтягивании гаек крепления.
5. Проверить работу золотника автоматического выключения и соленоида (блокировочного магнита).
Если принятые меры не обеспечивают работу регулятора, то регулятор нужно разобрать.
Регулятор следует разбирать в следующем порядке:
1. Снять верхнюю крышку 12 регулятора (см. фиг. 104). Для этого отвернуть четыре болта, снять пружинные шайбы, отнять крышку и прокладку.
2. Отнять верхний корпус 13 регулятора. Для этого снять рычаг 12 (см. фиг. 106) с хвостовика валика сектора 14 (см. фиг. 104), отвернуть четыре винта, крепящих верхний корпус, вынуть из корпуса зубчатую втулку /5, снять верхний корпус и всережимную пружину 16. Снять прокладку, поставленную между корпусами 13 и 20.
3. Отнять при необходимости устройство для автоматического выключения сервомотора, отвернув четыре винта, крепящих корпус золотника, и снять прокладку.
4. Снять при необходимости сервомотор. Для этого отвернуть гайки, крепящие сервомотор, снять шайбы, отъединить тягу от штока 1, снять сервомотор и прокладку.
5. Снять привод регулятора, отвернув контргайки крепления привода к корпусу регулятора 20, отнять нижний корпус 22 и прокладку.
6. Вынуть золотниковую часть регулятора из корпуса, отвернув два винта её крепления.
7. При необходимости выемки для осмотра, разборки или настройки только золотниковой части следует лишь отнять крышку, как указано в пп. 1 и 6.
Золотниковую часть регулятора необходимо разбирать в следующем порядке:
1. Вынуть плунжер 12 (см. фиг. 105) из буксы 11 и снять два шарикоподшипника 22. Для этого вынуть шплинт и отвернуть гайку, крепящую тарелку всережимной пружины. Снять тарелку и спрессовать шарикоподшипники с верхнего хвостовика плунжера.
2. Вынуть из буксы 11 золотник 10, для чего вывернуть из буксы три винта, крепящих втулку и шестерню, вынуть из буксы ведущую шестерню 2, втулку и золотник 10 в собранном виде.
3. Разобрать золотник. Для этого следует расшплинтовать и отвернуть гайку затяжки компенсирующей пружины, снять с хвостовика золотника нижнюю тарелку, компенсирующую пружину, прокладки и верхнюю тарелку.
4. Спрессовать траверсу с грузами с верхнего конца буксы и снять фланец. При разборке регулятора не следует выводить из зацепления зубчатый сектор с зубчатой втулкой всережимной пружины, чтобы не нарушить регулировки оборотов двигателя.
Перед снятием золотниковой части проверить исправность рессорного соединения привода регулятора; слабина в рессорном соединении не допускается; негодные рессоры следует заменить.
С деталями золотниковой части, особенно с плунжером и золотником, следует обращаться осторожно, чтобы не сделать забоин на точно обработанных поверхностях и кромках.
После разборки все детали регулятора необходимо промыть в чистом бензине, тщательно осмотреть и при обнаружении недостатков устранить их; негодные детали заменить новыми.
Общая сборка регулятора ведётся в порядке, обратном порядку его разборки. При сборке все детали тщательно моются в дизельном топливе и обдуваются сжатым воздухом.
Внутренняя регулировка регулятора (настройка золотниковой части). Золотниковая часть является самым важным и наиболее ответственным узлом регулятора. Поэтому к сборке золотниковой части регулятора предъявляются исключительно высокие технические требования. Малейшая неточность сборки золотниковой части неминуемо приводит к неправильному действию регулятора и, как следствие, к неустойчивой работе двигателя, пережогу топлива и т. п.
Сборку и настройку золотниковой части необходимо производить в следующем порядке.
1. Проверить монтажный зазор между плунжером 12 (см. фиг. 105) и внутренним отверстием золотника 10, который для новых деталей должен быть 0,03 — 0,04 мм и для работавших — не более 0,08 мм. При этом перекрытие наибольшего отверстия (из восьми) золотника кромками диска плунжера должно быть не более 0,10 мм на обе стороны, а недокрыша кромок всех отверстий одновременно допускается не более 0,08 мм также на обе стороны.
2. Проверить монтажный зазор, который должен быть в пределах 0,04— 0,05 мм между поршнем золотника 10 и внутренней выточкой буксы 11 и 0,06—0,08 мм между наружной цилиндрической частью золотника и буксой.
3. Напрессовать на верхний хвостовик плунжера 12 два шарикоподшипника 22 с зазором 0,015 мм или с натягом 0,005 мм до упора в заточку. Установить на плунжер опорную тарелку 21 всережимной пружины и закрепить её гайкой 20 до упора тарелки в шарикоподшипники. Гайку зашплинтовать штифтом.
4. Установить втулку 9 ограничения хода золотника 10 со стороны нижней части буксы //и укрепить её винтом с конической резьбой. Установить ведущую шестерню 2 масляного насоса в буксу //до упора в торец и проверить отсутствие зазора между верхним торцом шестерни и нижним торцом втулки 9. Шестерню установить так, чтобы её метка / была на линии, соединяющей оси двух отверстий для винтов. Винты поставить, предварительно установив буксу на приспособление с четырьмя роликами, и при помощи индикатора проверить биение хвостовика шестерни, которое должно быть не более 0,03 мм.
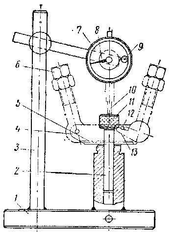
5. На специальном приспособлении отрегулировать вращающие моменты рычагов с грузами.
Приспособление для регулировки вращающих моментов грузов представляет собой весы (фиг. 108). Оно состоит из станины /, на верхней части которой укреплена неподвижно шкала 3, имеющая деления, идущие от нуля до 25 ям в обе стороны. На закалённых камнях станины уложена цилиндрическая ось 6, диаметр которой равен диаметру внутренних обойм шарикоподшипников рычагов грузов. Ось снабжена призмами 8, которыми она опирается на два камня станины /. На оси укреплены противовес 9, вертикальная стрелка 4 и горизонтальный стержень 5. Последний лежит в одной вертикальной плоскости с осью 6 и стрелкой 4. В свободном состоянии противовес 9 удерживает стрелку 4 и горизонтальный стержень 5 против нулевого деления шкалы 3.
Для регулировки и установки совершенно одинаковых вращающих моментов грузов на горизонтальную ось 6 приспособления устанавливают эталонный груз 2, ко,торый опирается своим рычагом в горизонтальный стержень 5. Рядом с эталонным рычагом устанавливается на ось 6 таким же образом груз, подлежащий регулировке. Если при этом стрелка 4 показывает отклонение от нулевого деления шкалы, то необходимо произвести регулировку испытываемого груза. При удалении груза (гаек) от оси шариковых подшипников рычага стрелка будет отклоняться по часовой стрелке, и наоборот, при приближении груза стрелка 4 будет отклоняться против часовой стрелки.
После уравновешивания грузов обоих рычагов их тщательно закрепляют на стержнях, ещё раз проверяют по эталонному грузу и затем устанавливают на траверсу.
6. При разборке золотниковой части в условиях эксплуатации нет необходимости спрессовывать траверсу с буксы, если же по какой-либо надобности зто было сделано, то необходимо напрессовать её на место и установить на неё


Фиг. 108. Весы для регулирования вращающих моментов рычагов с грузами:
; —станина; 2 —эталонный груз; 3 — шкала; 4 — стрелка; 5— стержень; 6 — ось; 7 —регулируемый груз; 8 — призмы; 9 — противовес грузы.
7. Проверить расхождение грузов, т. е. величину полного хода плунжера. Для этого опустить в золотник (ранее установленный в буксу) плунжер в сборе до упора наружной обоймы шарикового подшипника в пяты рычагов грузов.
Буксу с траверсой, грузами и плунжером установить и укрепить в станине специального приспособления.
Приспособление для проверки хода плунжера состоит из станины } (фиг. 109), в центральной части которой установлена колонка 2. В колонке 2 расточено отверстие, предназначенное для установки буксы. Высота колонки равна примерно длине буксы. Рядом с центральной колонкой на станине / имеется стойка 3, служащая для установки и крепления на ней при пэмощи рычагов индикатора 7. Индикатор 7 снабжён стрелкой 8, показывающей сотые доли миллиметра, и стрелкой 9, показывающей миллиметры. Индикатор 7 устанавливается на стойке 3 так, чтобы ножка 10 упиралась в верхний торец плунжера И.
Величина хода плунжера, или качание рычагов грузов, определяется следующим образом. Оба груза 6 сводятся к геометрической оси буксы до упора их рычагов 13 в верхнюю плоскость 5 траверсы 4. При таком положении грузов индикатор 7 должен показывать не менее 2 мм, затем, поворачивая циферблат индикатора, устанавливают стрелку 5 точно на нулевое деление-
Фиг. 109. Приспособление для проверки хода плунжера:
/—станина; 2—колонка; 3 — стойка; 4 — траверса; 5 — верхняя плоскость траверсы; 6—грузы; 7 — индикатор; 8 — большая стрелка индикатора; 9 — малая стрелка индикатора; 10— ножка индикатора; //—плунжер (калиброванная плитка); 12 —ограничительные валики; 13 — рычаги грузов
После этого грузы разводятся от оси до упора их рычагов 13 в ограничительные валики 12, установленные в траверсе 4. При этом ход плунжера (или качание грузов на своих осях) должен быть 6,4+0л мм. Если при проверке ход плунжера // окажется недостаточным, то его увеличение производится за счёт шабровки верхней плоскости 5 на траверсе 4.
При ходе плунжера, превышающем 6,4+0,1 мм, его уменьшают постановкой ограничительных валиков 12 большего диаметра.
При проверке хода плунжера обращают внимание, чтобы при сведённых и разведённых грузах 6 обе опорные части рычагов 13 касались наружной обоймы нижнего шарикоподшипника. При наличии заметного зазора между рычагом и обоймой у одного из рычагов в сведённом положении грузов зазор устраняют исправлением поверхности 5 на траверсе. При наличии указанного зазора при разведённом положении грузов 6 зазор устраняют опиловкой закруглённой части рычага 13 в месте соприкосновения его с ограничительным валиком 12.
8. После регулировки вынуть плунжер из золотника, буксу из приспособления и золотник из буксы.
9. На хвостовик золотника установить втулку 9 (см. фиг. 105), верхнюю тарелку 7, компенсирующую пружину 5, нижнюю тарелку 4 и закрепить их гайкой 3. Затяжка компенсирующей пружины 5 гайкой 3 должна производиться таким образом, чтобы горизонтальная поверхность нижней тарелки 4 расположилась в одной плоскости с нижним торцом втулки 9. Затем золотник необходимо установить в специальное приспособление (стенд). Этот стенд (фиг. ПО) служит для проверки величины хода золотника и правильности затяжки компенсирующей пружины. Стенд состоит из станины 18, на которой установлена стойка 15, снабжённая подвижной консолью 14. Стойка с консолью имеет отвес 16 и указатель 17, при помощи которых стенд устанавливается в строго вертикальное положение. На левой стороне в консоль устанавливается золотник 3 в собранном виде. На верхней части стойки 13 при помощи рычага 12 укреплён индикатор 11, ножка которого опирается на торец золотника.
Для проверки хода золотника ножку индикатора опускают на 4—5 мм, а затем нулевое деление циферблата устанавливают против стрелки. Нижнюю часть золотника нагружают с таким расчётом, чтобы торцы тарелок 5 и 9 компенсирующей пружины 5 сошлись до упора. Величина опускания золотника соответствует ходу золотника от среднего его положения и должна составлять 3,5—3,7 мм. При меньшем ходе золотника подрегулирование осуществляется за счёт спиливания торцов тарелок 5 я 9. Ход золотника от среднего положения вверх также должен составлять 3,5—3,7 мм.
Определение затяжки компенсирующей пружины 8 производится на том же стенде с применением индикатора и гирь, подвешенных на стержне к верхнему концу золотника 3. Предварительная затяжка компенсирующей пружины ■8 должна быть произведена таким образом, чтобы верхняя поверхность тарелки 9 точно располагалась на одной горизонтали с верхним торцом втулки 4 (на стенде золотник установлен повёрнутым на 180° относительно его рабочего положения). На торец хвостовика 10 устанавливают, как и в описанном выше случае, индикатор 11, опускают его на 1,5—2 мм и поворотом шкалы циферблата устанавливают стрелку на нулевое деление. Затем на тарелку / укладывают гири 2. Общий вес гирь с учётом веса тарелки / должен быть 1+0'2 кг. Если ври этом весе гирь стрелка индикатора остаётся на нулевом делении, то начинают добавлять гири по 50 г до отклонения стрелки индикатора от нулевого деления. Характеристика компенсирующей пружины 8 такова, что при указанной выше предварительной затяжке нагрузка общим весом 1+0-2 кг обычно начинает давать деформацию (просадку) только при дополнительной нагрузке в 50—75 г. Если это условие выполняется, то затяжку' компенсирующей пружины оставляют без изменения и золотник устанавливают в буксу.
Если при проверке затяжки компенсирующей пружины деформация её ■наступит уже при весе гирь в 1 кг, то это будет указывать, что пружина затя-
нута недостаточно. Регулировка осуществляется постановкой кольцевых прокладок толщиной 0,25 и 0,1 мм под одну из опорных поверхностей компенсирующей пружины. Установка прокладки толщиной 0,1 мм увеличивает предварительную затяжку компенсирующей пружины примерно на 100 г.
Для устранения плавных колебаний штока масляного сервомотора, вызывающих медленные колебания оборотов холостого хода двигателя (неустойчивость оборотов), нужно уменьшить предварительную затяжку компенсирующей пружины.
Фиг. ПО. Приспособление для проверки затяжки компенсирующей пружины:
1 — тарелка; 2— гири; 3 — золотник; 4— втулка; 5— верхняя тарелка пружины; 6— торцы тарелок пружины; 7 — зажимной винт; 8— компенсирующая пружина; 9 — нижняя тарелка пружины; Ю — хвостовик; // — индикатор; 12 — рычаг; /3 —стойка; 14 — подвижная консоль; 15 — стойка; 16—отвес; 17 — указатель; 18 — станина
Для устранения неровной работы регулятора (пульсация штока сервомотора), а также для повышения активности регулятора с целью исключения остановки двигателя при переводе контроллера в нулевое положение нужно добавить прокладок, т. е. увеличить предварительную затяжку пружины.
10. После регулировки компенсирующей пружины следует установить золотник в буксу и укрепить коническим винтом втулку компенсирующей пружины. Установить ведущую шестерню масляного насоса, как указано в п. 4, и укрепить двумя винтами. При этом осевой люфт золотника в буксе не допускается.
Необходимый торцовый зазор ведомой шестерни масляного насоса регулятора устанавливают подбором прокладок между нижним и средним корпусами регулятора. При большом износе, когда прокладками зазор отрегулировать нельзя, подшабривают плоскости соединения корпусов или заменяют ведомую шестерню. Для регулирования торцового зазора ведущей шестерни собранную буксу с ведущей шестерней насоса ставят в корпус и, подбирая прокладки под упорный фланец, устанавливают необходимую величину зазора (0,03—0,08 мм).
Следует учесть, что слишком большой зазор на торце шестерён масляного насоса понижает его производительность, а слишком малый может вызвать чрезмерный износ и даже задир шестерён. Если подбором прокладок торцовый зазор в шестернях установить невозможно, необходимо шестерни заменить.
После установки и проверки торцового зазора в шестернях масляного насоса регулятора можно установить в золотник плунжер с шарикоподшипниками и тарелкой.
11. Буксу в собранном виде установить в специальное приспособление — стенд для настройки золотниковой части. *
Настройка золотниковой части регулятора заключается в определении величины открытия окон в отверстиях буксы кромками поршня золотника 10 (см. фиг. 105) и регулировке этого открытия. Вначале передвижным кронштейном приспособления через отверстие в буксе (второе от низу) поршень перемещают вниз до упора. При этом верхняя кромка поршня золотника 10 должна открыть в нижнем отверстии буксы щель, равную по высоте 0,6—1,5 мм. Щель замеряется специальным щупом, имеющим с одной стороны плоскую, а с другой — цилиндрическую поверхность. Затем при помощи другого подвижного кронштейна через нижнее отверстие в буксе поршень золотника 10 перемещают вверх до упора. При этом нижняя кромка поршня золотника должна открыть во втором (снизу) отверстии в буксе щель, равную по высоте 0,9— 1,8 мм, которая измеряется таким же щупом.
Указанные замеры можно производить без стенда — вручную. Для этсго сначала через верхнее, а потом через нижнее отверстия в буксе поршень золотника медным крючком перемещают вниз, а затем вверх и производят замеры щелей соответственно в нижнем и в верхнем отверстиях буксы. После проверки величины щелей производят проверку положения плунжера относительно отверстий золотника. При проверке грузы устанавливают в строго вертикальное положение (параллельно оси их вращения). При этом золотник с поршнем должен занимать среднее положение, а его восемь отверстий должны быть перекрыты рабочим диском плунжера. Такое положение золотника и плунжера соответствует установившемуся режиму работы двигателя. При последующей операции настройки золотниковой части грузы снова сводятся к центру вращения до упора их рычагов в плоскость траверсы. Золотник при помощи приспособления или вручную (медным крючком) перемещается вниз до открытия верхней кромкой поршня в нижнем отверстии буксы щели высотой 0,2—0,4 мм. При этом восемь отверстий в золотнике должны быть перекрыты рабочим диском плунжера. При грузах, разведённых до упора их рычагов в валики ограничителей, и при соответственно перемещённом в крайнее верхнее положение золотнике рабочий диск плунжера должен закрывать восемь отверстий в золотнике. Недокрыша (открытие) отверстия (щель снизу) нижней кромкой диска плунжера по высоте допускается не более 0,1 мм.
Если при этих проверках диск плунжера не будет закрывать восемь отверстий в золотнике, то настройка осуществляется прокладками, подкладывае-мыми или удаляемыми из-под внутренней обоймы шариковых подшипников.
Кроме всех указанных проверок, при сборке нового регулятора или замене ведущей шестерни масляного насоса в условиях эксплуатации необходимо проверять ход золотника от его среднего исходного положения, определяемого компенсирующей пружиной, до начала открытия верхней кромкой поршня золотника щели в нижнем отверстии буксы. Этот ход золотника должен быть в пределах 2,4—2,5 мм.
Уход за регулятором. Уход за регулятором во время эксплуатации тепловоза состоит в повседневном наблюдении за его работой. Загрязнённое масло или неправильный его уровень часто является главной причиной неудовлетворительной работы регулятора, поэтому, как правило, уровень масла в регуляторе надо поддерживать на середине стекла маслоуказателя.
Причины неправильной работы регулятора могут быть разные, и для определения и устранения их необходимо строго соблюдать определённый порядок. Известно, что при выпуске тепловоза с завода регулятор подвергается безукоризненной проверке и регулировке и, следовательно, прежде чем искать какие-либо неизвестные причины, необходимо произвести замену масла. Следует заметить, что одна замена масла часто не даёт положительных результатов. Поэтому после слива негодного, загрязнённого масла обычно регулятор заполняют тщательно профильтрованным, дизельным топливом до середины стекла указателя. Затем поворачивают игольчатый клапан на 2—3 полных оборота и открывают нижнюю пробку, через которую спускают часть дизельного топлива из регулятора. Количество спускаемого топлива в таких случаях определяется также понижением его уровня от середины стекла указателя до нижнего уровня его стекла. Этот предварительный слив топлива необходим для того, чтобы удалить посторонние частицы и грязь, осевшие в нижней полости-ванны корпуса регулятора. После такого частичного слива топлива надо установить спускную пробку и пробку игольчатого клапана на место, пополнить регулятор дизельным топливом до прежнего уровня и запустить двигатель. После запуска двигатель будет работать неровно, с заметно неустойчивыми оборотами. Причиной неустойчивых оборотов будет служить большое проходное сечение игольчатого клапана, отвёрнутого на 2—3 оборота специально для свободной циркуляции топлива и промывки полостей и каналов регулятора при работе двигателя. Промывка регулятора дизельным топливом при работающем двигателе длится 6—8 мин. Затем топливо сливают, заполняют регулятор новым чистым маслом и запускают двигатель, который должен работать в течение 3—5 мин. с отвёрнутым на 2—3 оборота игольчатым клапаном. Затем масло также сливают из регулятора, как имеющее примесь дизельного топлива, заполняют регулятор втврой раз новым, хорошо профильтрованным маслом, и вновь запускают двигатель. После промывки регулятора дизельным топливом и двукратной замены масла следует, не останавливая двигателя, игольчатый клапан завернуть до упора и затем отвернуть его обратно на 1/4 оборота. В результате проделанных операций и соответствующей установки проходного сечения игольчатого клапана колебание оборотов двигателя должно прекратиться, но оно может и продолжаться. Это обстоятельство, в частности, будет зависеть от прогрева двигателя. Если двигатель находится в прогретом состоянии, то колебание оборотов прекратится при условии, если причина неисправной работы регулятора заключалась в применении загрязнённого масла. Если двигатель находится в холодном, непрогретом состоянии и причиной являлось загрязнённое масло, то двигатель всё-таки может работать с большим колебанием оборотов. Следовательно, для точного определения причины неудовлетворительной работы регулятора необходимо, чтобы после промывки и замены масла проверка производилась при прогретом двигателе.
Масло, применяемое для заправки регулятора оборотов двигателя, не должно пениться и сгущаться при перемешивании. Оно не должно давать смолистых осадков при изменении температуры и не должно резко изменять свою вязкость. Обычно для регулятора применяют те же масла, что и для двигателя.










