§11. ТОПЛИВНЫЙ НАСОС
Топливный насос служит для подачи топлива по трубопроводу высокого давления к форсункам, установленным в крышках цилиндров дви; гателя.
Топливо должно подаваться под высоким давлением — 275—550 am, в точно установленный момент и в точно определённом для каждого режима работы двигателя количестве.
Па двигателе Д50 установлен шестисекциоппый топливный насос (фиг. 74) золотникового (плунжерного) типа с регулированием количества топлива, подаваемого в цилиндр, перепуском топлива в конце хода нагнетания. Топливный насос установлен с правой стороны блока цилиндров и укреплён четырьмя шпильками.
Топливный насос состоит из общего тором безопасности, корпуса регулятора устройства, шести толкателей и шести
картера, кулачкового вала с регуля-с рычажной системой выключающего отъёмных секций насоса.
ОСНОВНЫЕ ТЕХНИЧЕСКИЕ ДАННЫЕ НАСОСА
Тип насоса....................Золотникорый сосъёмными секциями и обшим картером
Количество плунжерных секций ......... 6
Диаметр плунжера................ 20 мм
Шаг отсечной спирали плунжера ........ 80 »
Общий ход плунжера (подъём толкателя)..... 20 »
Полезный ход плунжера при положении рейки на 21-м делении и эффективной мощности 1000 л. с. _6 »
Порядок работы секций ............1—3—5—6—4—2
Номинчльное число оборотов кулачкового вала . 370 об/мин
Регулировка секций на подачу топлива выполняется по условиям, приведённым в сЖгдующей таблице:
Насое управляется всережимным регулятором центробежного типа (изодромным) с гидравлической обратной связью и автономным питанием от масляной помпы.
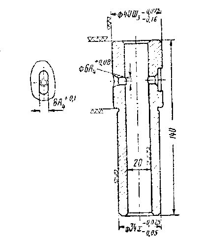
Картер топливного насоса отлит из серого чугуна марки СЧ 18-36 ГОСТ 1412—54 и предназначен для монтажа всех частей, относящихся к насосу, и крепления топливного насоса к блоку цилиндров. Внутри картера // (фиг. 75) в нижней его полости расположены три поперечные перегородки 14 с расточенными отверстиями диаметром 115 мм. В отверстия с натягом 0,10—0,16 мм запрессованы подшипники (втулки) 13, изготовленные из бронзы ОЦС 3-12-5 ГОСТ 613—50 и залитые центробежным способом баббитом Б83 или БК2.
В подшипники 13 с диаметральным зазором 0,08—0,16 мм уложен кулачковый вал 15 топливного насоса. Средний подшипник 13 по наружному диаметру имеет кольцевую выточку, снабжённую четырьмя радиальными отверстиями диаметром 9 мм, предназначенными для отвода масла к толкателям.
Кулачковый вал 15 топливного насоса служит для сообщения возвратно-поступательного движения плунжерам секций. Все шесть кулачков вала выполнены из одной общей поковки и располагаются один относительно другого под углом 60°. Такое расположение кулачков объясняется тем, что кулачковый вал насоса вращается с оборотами, в 2 раза меньшими оборотов коленчатого вала двигателя. Кулачки вала выполнены по копиру. Профиль кулачка имеет крутой подъём от цилиндрической части, что обеспечивает быстрое нарастание давления топлива над плунжером и, как следствие, резкий и чёткий впрыск топлива через форсунку в цилиндр.
Вал имеет три шейки, которыми он опирается на подшипники. На поверхности средней шейки сделана кольцевая выточка с радиальным отверстием диаметром 8 мм, служащим для подвода смазки к подшипнику и толкателям. На крайних шейках также имеются радиальные отверстия диаметром 10 мм, предназначенные для подвода смазки к подшипникам.
К отверстиям масло подходит по осевому каналу кулачкового вала, откуда оно проходит и к шестерням привода регулятора оборотов двигателя.
С правой стороны кулачковый вал имеет фланец, которым он при помощи шести призонных болтов жёстко соединён с фланцем промежуточного вала привода. На противоположном конце кулачкового вала смонтирован корпус регулятора безопасности 21 с цилиндрической шестерней 29, которая посредством малой цилиндрической шестерни 32 и пары конических шестерён 33 приводит во вращательное движение регулятор оборотов 38.
Над кулачковым валом внутри картера // расположена горизонтальная перегородка, отделяющая нижнюю полость картера от верхней и имеющая шесть расточенных вертикальных отверстий диаметром 80 мм, геометрические оси которых точно совпадают с серединами кулачков вала 15. Эти отверстия служат направляющими для корпусов толкателей 17. В верхней части этих отверстий сделана кольцевая выточка диаметром 94 мм, в которую с натягом 0,03—0,08 мм запрессована гильза 16.
Толкатель представляет собой пустотелый стакан, изготовленный из стали марки 20 ГОСТ 1050—52 горячей штамповкой и после механической обработки подвергнутый цементации и закалке. Наружная поверхность его имеет твёрдость И#с = 50 60. С левой стороны корпуса прорезана вертикальная канавка прямоугольного сечения. Геометрическая ось канавки под прямым углом пересекается с осью горизонтального отверстия, в которое устанавливается палец 19 с надетым на него роликом 18. Диаметральный зазор между пальцем и роликом, а также пальцем и отверстием толкателя 0,03— 0,07 мм.
Ролик 18 толкателя изготовлен из высококачественной стали марки 12ХНЗА ГОСТ 4543—48. После механической обработки его рабочая поверхность подвергнута цементации и закалке. Твёрдость поверхности ролика должна быть Н не — 58 4-62.
Палец 19 ролика изготовлен из бронзы марки АЖМц 10-3-1,5 ГОСТ 493—54 с твёрдостью И ь = 150. С левой стороны палец снабжён прямоугольной головкой, которая входит в вертикальную канавку, сделанную на рабочей поверхности корпуса толкателя. Выступающая часть головки входит в вертикальную канавку, имеющуюся в направляющем отверстии картера, и таким образом исключает проворачивание толкателя. С правой стороны палец ролика имеет осевое отверстие, заглушённое с торца пробкой и соединённое с радиальными отверстиями, просверленными в правой и средней частях пальца.
Отверстия служат для подвода смазки к ролику через горизонтальный и вертикальный каналы, расположенные с правой стороны корпуса толкателя.
На верхней части корпуса толкателя 17 установлен внутренний 2 и наружный / стаканы, укреплённые регулирующим винтом 5, ввёрнутым и закреплённым контргайкой стакана /. Стаканы / и 2 вместе с гильзой 76, входящей в кольцевой зазор между стаканами, образуют отражательный лабиринт, предохраняющий масло от попадания в него топлива. Этот же лабиринт одновременно предохраняет от выбрасывания масла в топливо (через шесть отверстий донышка толкателя). Регулирующий винт 3 имеет шестигранную головку для ключа, а цилиндрической головкой, имеющей полусферический торец, упирается в стакан секции насоса 5. Регулирующий винт 3 изготовлен из сортовой заготовки стали 20 ГОСТ 1050—52 Головка винта после механической обработки подвергнута цементации и закалке. Винт 3 предназначен для регулировки секции насоса на начало подачи топлива к форсунке.
На цилиндрической поверхности корпуса толкателя имеется коническое отверстие, расположенное перпендикулярно оси пальна ролика и предназначенное для введения конусного конца стержня 17 рукоятки 20 (фиг. 76) или 5 (фиг. 77) при закреплении толкателя в верхнем положении (при срабатывании регулятора безопасности или при выключении одной секции топливного насоса вручную). На этой же поверхности на дуге примерно в 120° прорезана горизонтальная смазочная канавка.
В донышке корпуса толкателя просверлены шесть сквозных отверстий 12 (см. фиг. 76), служащих для прохода масла и воздуха при движении тилка-теля
В верхней плите картера насоса // (см. фиг. 75) над направляющими отверстиями для толкателей расточено шесть гнёзд, предназначенных для установки шести секций топливного насоса 5. Каждая секция своим нижним центрирующим буртом с зазором 0,04—0,11 мм устанавливается в своё гнездо и крепится к плоскости картера двумя шпильками. Для устранения просачивания топлива из-под фланца секции его нижняя поверхность пришабривается к плоскости плиты картера и уплотняется тонким слоем пасты «Герметика».
Секнии топливного насоса и форсунки являются самыми ответственными элементами в системе топливной аппаратуры. От их чёткой и бесперебойной работы, а также от точности их регулировки во многом зависит надёжность и долговечность работы всего двигателя.
К секциям топливного насоса предъявляются исключительно высокие технические требования как в части точности их изготовления и регулирования на заводе, так и в части ухода и соответствующих проверок их в процессе эксплуатации или ремонта. Кроме того, для обеспечения длительной и безотказной работы топливной аппаратуры в эксплуатации необходимо непрерывно следить за исправным действием топливоочистптельных фильтров, применять дизельное топливо без наличия механических примесей (кокса, песка, металлических частиц, окалины и пр.) и регулярно производить химический анализ топлива на отсутствие кислот, серы, воды, так как присутствие этих элементов может вывести всю топливную аппаратуру из строя.
Секция топливного насоса состоит из корпуса, отлитого из частично .модифицированного чугуна марки СЧ 21-40 ГОСТ 1412—54. Корпус служит для установки в нём насосного элемента (гильзы и её плунжера), нагнетательного клапана (клапана и его седла), поворотной гильзы, рейки, пружины плунжера с тарелкой, пружины нагнетательного клапана и других деталей. Корпусы секций обработаны по всем размерам с такими допусками, которые обеспечивают взаимозаменяемость как секций между собой, так и их частей, смонтированных в секции, за исключением прецизионных (особенно точно пригнанных) пар (плунжера с гильзой и нагнетательного клапана с корпусом), которые заменяются комплектно.
В корпус секции / (фиг, 78) через верхнюю его часть установлена стальная гильза 13 плунжера, которая своим нижним кольцевым буртом притёрта к кольцевой выточке корпуса. В верхней част гильзы (фиг. 79) имеются два горизонтальных радиальных отверстия диаметром 6 мм. Одно из этих отверстий на наружной поверхности гильзы имеет коническую раззенковку, а другое снабжено вертикальной канавкой. В канавку с зазором 0,05—0,25 мм входит конец стопорного винта 5 (см. фиг. 78), ввёрнутого на резьбе в тело корпуса / и удерживающего гильзу 13 от проворачивания. Винт 5 установлен таким образом, что его торец оставляет отверстие 6 открытым для свободного прохода топлива, находящегося под давлением 2,5 ати в кольцевой выточке корпуса. Топливо к гильзе 13 поступает из общего коллектора через пустотелый штуцер 27, ввёрнутый на резьбе в тело корпуса.
Как гильза, так и плунжер (сЬиг. 80) изготовлены из стали ШХ-15 ГОСТ 801—47.
На верхний торец гильзы плунжера после предварительной притирки (без прокладки) установлена клапанная пара—корпус с нагнетательным клапаном (фиг. 81 и 82) и пружиной. Корпус клапана через медную кольцевую прокладку 10 (см. фиг. 78) зажат нажимным штуцером 8. Диаметр отверстия в нажимном штуцере 8 равен 4 мм, снаружи штуцера нарезана резьба, на которую навинчивается накидная гайка нагнетательной трубки высокого давления. В корпусе секции / сбоку имеется горизонтальное отверстие с запрессованными бронзовыми втулками 20, в которые с зазором 0,04—0,09 мм входит регулирующая рейка 14. На цилиндрической поверхности вдоль рейки профрезерована канавка, а в тело корпуса на резьбе ввёрнут винт 15, хвостовик которого входит с зазором 0,04—0,09 мм в канавку рейки. Таким образом, хвостовик винта 15 не даёт рейке 14 провернуться вокруг её оси и одновременно ограничивает её максимальное перемещение.

Фиг. 79. Гильза плунжера

Фиг. 80. Плунжер
На нижнюю часть гильзы 13 с зазором 0,03—0,08 мм установлена поворотная гильза 16, на верхней части которой нарезан зубчатый венец. Зубья венца входят в зацепление с зубьями рейки 14. Для обеспечения правильного сцепления против шестой впадины между зубьями на рейке 14 выбита керном метка 22, а у шестого зуба венца поворотной гильзы 16 на торце сделана метка (скос) 21". Эти метки при сборке насоса должны обязательно совпадать.
При случайном отсутствии указанных меток 21 и 22 соединение венца с рейкой осуществляется так, чтобы первый зуб на венце вошёл в первую впадину рейки. Поворотная гильза 16 удерживается снизу опорной шайбой 4, упирающейся в кольцевой заплечик корпуса 1. В свою очередь опорная шайба 4 удерживается на месте пружинным кольцом 3, установленным снизу в цилиндрическую часть корпуса секции.
Гильза и плунжер представляют собой плунжерную пару, составляющую основной элемент секции топливного насоса. Внутри гильза 13 имеет строго цилиндрическую поверхность, которая после шлифовки подвергается специальной притирке и доводке вместе с плунжером при помощи паст ГОИ или специальной пасты из окиси алюминия.
Для обеспечения чёткого начала и конца подачи топлива все кромки на плунжере и в отверстиях гильзы выполнены острыми. Гильзу 13 устанавливают на место через верхнее отверстие корпуса секции при вынутом плунжере 12; плунжер же вводят в гильзу с нижней стороны снятой с насоса секции. При постановке плунжера 12 в гильзу 13 необходимо следить, чтобы метка 23 па направляющем поводке плунжера совпала с меткой на вырезе поворотной гильзы 16.
Фиг. 81. Корпус нагнетательного клапана:
I - притирочная опорная поверхность корпуса; 2— уп-лотншельпая часть корпуса; 8 — резьба для выпрессовки корпуса из секции
Перед постановкой плунжера 12 в гильзу 13 в секцию устанавливается пружина 2 с опорной шайбой 18, надетой через радиальный прорез на нижнюю головку хвостовика плунжера. Шайба опирается в донышко стакана 17, который! в свою очередь опирается на пружинное кольцо 19. Когда секция установлена на насос, то пружинное кольцо 19 уже не удерживает стакана, так как последний лежит на сферической поверхности регулирующего винта толкателя 3 (см. фиг. 75).
Прочие узлы и д е т а л и. В левой (задней по ходу тепловоза) части картера размещены: регулятор безопасности, смонтированный на фланце кулачкового вала, корпус с рычажной системой экстренного выключения двигателя, а также цилиндрические и конические шестерни, приводящие во вращение регулятор оборотов 38 двигателя. С левой же стороны на крышке люка картера установлен электропневматический механизм 35. Этот люк служит для монтажа и демонтажа кулачкового вала с регулятором .безопасности. В нижней части картера поставлен чугунный поддон '22 (см. фиг. 77) с патрубком /, предназначенным для стока масла из картера насоса в раму двигателя.
На передней стенке картера расположен люк, закрытый крышкой 2, через который осматривают регулятор безопасности, шестерни привода регулятора и другие расположенные в этой полости детали.
В отверстия четырёх приливов картера, расположенных со стороны блока цилиндров, с натягом 0,035 мм запрессованы игольчатые подшипники 17, в которые установлен вал подачи топлива 11. На этом валу закреплены шесть рычагов 26, которые серьгами 27 и валиками 28 соединены с регулирующими рейками 29 секций топливного насоса. Со стороны регулятора вал подачи // рычагом 10 и поводком 9 соединён через вилку 12'со штоком гидравлического сервомотора регулятора оборотов двигателя.
Под тремя первыми приливами передней стенки отлит жёлоб, служащий для сбора топлива, просачивающегося из-под фланцев секций и через другие неплотности топливного насоса. Это топливо по трубке сливается в "грязевик.
Работа топливного насоса происходит описанным ниже порядком. Кулачковый вал своими кулачками через толкатели и регулирующие винты сообщает поступательное движение плунжерам секций насоса. Надплунжерное пространство в гильзе при нижнем положении плунжера заполнено топливом. В начале движения плунжера вверх отверстия в гильзе открыты и некоторое количество топлива вытесняется обратно, ио по мере дальнейшего движения плунжер своей верхней кромкой закроет отверстия в гильзе, и давление топлива над плунжером начнёт повышаться. Повышение давления будет продолжаться до тех пор, пока оно не станет немного больше давления топлива в нагнетательной трубке. Тогда нагнетательный клапан поднимется, и топливо пойдёт к форсунке. Нагнетание будет продолжаться до тех пор, пока спиральная кромка на плунжере не откроет кромку отверстия в гильзе. В этот момент топливо из надплунжерного пространства по вертикальному пазу на плунжере устремится через отверстие в гильзе во всасывающую полость. Давление над плунжером резко упадёт, нагнетательный клапан под действием пружины и разности давлений в нагнетательной трубке высокого давления и над плунжером сядет на своё седло и подача топлива в форсунку прекратится.
Таким образом, начало подачи топлива к форсунке определяется моментом перекрытия1 верхней кромкой плунжера двух отверстий в гильзе. Этот момент связан с высотой регулирующего винта 3 (см. фиг. 75), установленного на резьбе в корпус толкателя 17. Следовательно, изменение момента начала подачи топлива к форсунке может осуществляться поворотом регулирующего винта толкателя 3. Однако при регулировке болтом надо помнить, что расстояние между торцом плунжера в верхней его мёртвой точке и корпусом нагнетательного клапана должно быть не менее 11 мм.
Количество топлива, подаваемого в цилиндр, зависит от расположения спиральной кромки В (фиг. 83) на плунжере относительно перепускного отверстия Б в гильзе. Чем больше будет длина цилиндрической части головки плунжера между верхним его торцом А и спиральной кромкой В, перекрывающей отверстие Б в гильзе, тем больше топлива будет подано в цилиндр. И наоборот, чем меньше будет высота цилиндрической части головки плунжера между верхним торцом плунжера Л и спиральной кромкой В, которая перекрывает отверстие Б, тем меньше топлива будет подано в цилиндр. 1 При большом числе оборотов кулачкового вала, когда скорость движения плунжера получается настолько большой, что топливо не успевает перетекать через окна гильзы обратно в полость секции, давление в надплунжерном пространстве может превысить давление топлива в трубке высокого давления ещё до полного перекрытия торцом плунжера отверстий гильзы. В конце хода нагнетания также происходит значительное дросселирование. В обоих случаях дросселирование недёт как бы к увеличению активного хода плунжера, т. е. к" увеличению подачи топлива.
Изменение количества топлива, подаваемого секцией насоса, осуществляется поворотом плунжера вокруг его оси. При этом спиральная кромка располагается то дальше, то ближе от отверстия Б и соответственно цилиндрическая часть головки, перекрывающая отверстие Б, становится то меньше, то больше, благодаря чему изменяется количество топлива, подаваемого в цилиндр. Поворот плунжера на необходимый угол вокруг оси осуществляется при помощи регулирующей рейки, связанной с регулятором 38 оборотов двигателя (см. фиг. 75), который через гидравлический сервомотор 39 и рычажный механизм 9у 10 (см. фиг. 77), а также вал подачи топлива И и рычаг 26 управляет насосом.
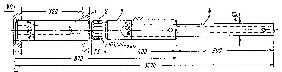
Смазка топливного насоса осуществляется маслом, поступающим из общего смазочного трубопровода, расположенного в раме двигателя. По трубке масло подводится к опорной шейке вала привода 2 (фиг. 84). Далее по радиальному отверстию и кольцевой канавке этой шейки масло поступает в сквозной осевой канал вала привода, который соединён с осевым каналом кулачкового вала топливного насоса.
Фиг. 83. Гильза с плунжером (пять положений головки плунжера):
Л—торец плунжера; в — отверстие в гильзе; В — спиральная отсечная кромка; г — гильза плунжера; / — начальное" положение- плунжера; // — конец нагнетания; /// — положение отсечной кромки в при подаче топлива, соответствующей номинальной мощности двигателя; iv—конец нагнетание; v — положение кромки в при нулевой подаче топлива
Из общего канала этих двух валов масло распределяется по описанным ниже путям:
1) по радиальному отверстию 4 масло поступает для смазки концевой шейки, расположенной справа за шестерней привода топливного насоса;
2) по отверстию 3 — для смазки ступицы шестерни и разрезных колец, откуда по нижнему наклонному отверстию 5 масло стекает в раму двигателя;
3) по радиальным отверстиям крайних шеек кулачкового вала масло подводится к опорным подшипникам 6;
4) по радиальному отверстию и кольцевой канавке в средней шейке кулачкового вала масло подводится к опорному подшипнику, а также в общий канал 7, расположенный в горизонтальной перегородке картера насоса. Из общего канала масло подводится к каждому корпусу толкателя, где оно попадает в маслосборную канавку, имеющуюся на цилиндрической поверхности корпуса толкателя, и далее по горизонтальному и вертикальному отверстиям в корпусе толкателя и по радиальным и осевому отверстиям в пальце проходит к оси ролика.
Осевой канал кулачкового вала со стороны регулятора безопасности заглушён пробкой, поэтому масло, дойдя до регулятора, проходит по двум наклонным каналам 8 во фланце и по совпадающим с ними двум отверстиям в корпусе регулятора безопасности в полость 9 цилиндрической шестерни. Из полости цилиндрической шестерни по радиальному отверстию масло поступает к малой цилиндрической шестерне. Брызги масла от вращающейся шестерни смазывают конические шестерни привода регулятора оборотов двигателя, а стекая через вертикальное отверстие// и радиальное 10 масло смазывает и ось малой шестерни. 80
Ремонт картера. В процессе эксплуатации не исключена возможность появления таких дефектов картера топливного насоса, как течь масла, потение стенок, образование трещин и т. д. Течь в отдельных местах, свищи или небольшие раковины обычно устраняют постановкой на тугой резьбе стальных или медных ввёртышей.
Трещины картера могут быть устранены двумя путями: или постановкой стальных накладок, установленных и укреплённых шпильками, ввёрнутыми на тугой резьбе в тело картера, или заваркой электродами из моиель-металла. Как'в первом, так и во втором случае трещины должны быть засверлены, а при заварке и соответственным образом подготовлены.
При разработке отверстий, в которые запрессованы подшипники кулачкового вала, отверстия должны быть проточены на больший диаметр и к ним должны быть изготовлены втулки подшипников такого наружного диаметра, который обеспечивал бы натяг при запрессовке в пределах 0,09—0,16 мм.
При образовании овальности в направляющих отверстиях для толкателей, большей 0,25 мм, эти отверстия должны быть расточены до размера, устраняющего овальность. В них нужно поставить новые корпуса толкателей, обеспечивающие зазор 0,05—0,09 мм. При невозможности изготовить новые Корпуса толкателей отверстия могут быть расточены до диаметра 90 мм, После чего в них следует запрессовать чугунные втулки с натягом 0,08—0,12 мм-
Фиг. 85. Развёртка для втулок кулачкового вала: -направляющая часть; 2 — фреза; 3— направляющая часть; 4— поводок
Ремонт подшипников. При увеличении диаметрального §а* зора до 0,25 мм подшипники кулачкового вала должны быть заменены новыми или залиты новым слоем баббита с последующей расточкой до размера, обеспечивающего зазор между шейкой вала и подшипником 0,08—0,16 мм. Для этого необходимо прежде всего выплавить старый слой баббита и тщательно очистить поверхность. Выплавление старого баббита производится в ванне или электропечи с расплавленным баббитом из отходов. Затем поверхность, подлежащую заливке, необходимо проточить на станке, очистив её от остатков баббита. Новую заливку втулок опорных подшипников рекомендуется производить центробежным способом, применяя баббит БК2. При обработке внутреннего диаметра подшипников в корпусе картера применяется специальное приспособление.
Станок при заливке втулок баббитом БК2 должен делать примерно 840— 860 об/мин.
Расточка внутреннего диаметра опорных подшипников кулачкового вала после заливки баббитом производится с припуском 0,3 мм, т. е. по диаметру 104,76 мм. Наружный диаметр выполняется с учётом натяга 0,10—0,16 мм, необходимого для запрессовки втулок в отверстия картера. Припуск 0,3 мм, оставленный по внутреннему диаметру втулок, необходим для того, чтобы после запрессовки втулок в отверстия картера можно было развернуть их специальной развёрткой для строгого совпадения их геометрических осей. Развёртка имеет направляющую часть / (фиг. 85) диаметром 104,75 мм, которая переходит во вторую направляющую 3 диаметром 105 мм. Между направляющими имеется фреза 2, которой развёртывают все три опорных подшипника кулачкового вала. Втулки развёртывают вручную с передней стороны картера. Благодаря такому способу доводки внутреннего диаметра втулок подшипника не-
точность обработки (смещение, биение и перекос втулок) получается не более 0,01 мм, что гарантирует хорошую работу кулачкового вала.
Ремонт кулачкового вала. В процессе эксплуатации двигателя кулачковый вал топливного насоса обычно подвергается незначительному изнашиванию.
При образовании больших трещин или сколов на кулачках вал должен быть заменён новым. При наличии незначительных трещинок или сколов, расположенных по краям или вдоль средней рабочей части кулачка, трещинки или сколы могут быть зачищены карборундовым бруском, и вал может быть пущен в дальнейшую работу. Овальность и конусность опорных шеек кулачкового вала, достигающая 0,10 мм, устраняется шлифовкой и полировкой их с последующей заменой подшипников, не обеспечивающих диаметрального зазора в пределах 0,08—0,16 мм. При наличии прогиба кулачкового вала, причём стрела прогиба достигает 0,20 мм по всей длине, вал должен быть подвергнут правке под прессом в холодном состоянии. Стрела прогиба должна быть не более 0,05 мм.
Натаскивание металла на рабочую часть кулачка, получающееся вследствие недостаточно поднятого толкателя с роликом в выключенной секции, устраняется зачисткой карборундовым бруском с последующей полировкой наждачным полотном. Следует также заменить концевую часть стержня рукоятки выключения секции или прошлифовать рабочую поверхность ролика на 0,10—0,15 мм.
После ремонта кулачкового вала насоса необходимо проверить плотность соединения фланца кулачкового вала с корпусом регулятора безопасности, для чего следует произвести гидравлическое испытание вала.
Ремонт толкателя. Рабочая поверхность корпуса толкателя подвергнута цементации и закалке, а поэтому износ его незначителен. То же самое относится и к рабочей поверхности ролика толкателя. Наиболее слабым местом в толкателе является палец ролика. Палец воспринимает трение от ролика и подвергается ударным нагрузкам от кулачка вала. Поэтому его рабочие поверхности будут значительно больше изнашиваться, чем какие-либо другие детали толкателя. Состояние пальца определяется по зазорам у концов и в средней части, по которой работает ролик. Концевые части пальца при наличии диаметрального зазора 0,12 мм могут быть восстановлены металлизацией или наваркой бронзой с последующей проточкой и шлифовкой. При наличии зазора 0,20 мм между центральным отверстием ролика и средней частью пальца последний должен быть заменён новым.
Ремонт корпуса секции. При ремонте корпуса секции заварка не допускается. При появлении незначительных свищей допускается, как исключение, постановка на тугой резьбе стальных или чугунных ввёртышей не более двух штук диаметром до 15 мм.
При разработке втулочек для регулирующей рейки необходимо заменить их новыми, обеспечивающими нормальный зазор 0,04—0,09 мм.
Испытание плунжерной пары. В процессе эксплуатации двигателя плунжерные пары подвергаются постепенному износу и плотность их уменьшается.
Для определения состояния и точности действия каждая плунжерная пара подвергается гидравлическому испытанию на плотность. Гидравлическое испытание пары производится на специальном стенде в закрытом помещении при температуре воздуха и топлива 15—25°. Жидкостью служит чистое профильтрованное дизельное топливо с вязкостью 1,43 -г 1,45 по Энглеру при температуре 20—21°. Плунжер устанавливают в гильзу так, чтобы горизонтальная ось поводка 10 (фиг. 86) располагалась под углом 7° к оси отверстия 8 гильзы 3. Угол следует отсчитывать от горизонтальной оси отверстия 8 против движения часовой стрелки, если смотреть сверху на торец 6 гильзы 3.
Испытание плунжерной пары на гидравлическую плотность производится при постоянном давлении топлива в надплунжерном пространстве и проходит следующим образом. Плунжерная пара устанавливается во втулку 6 (фиг. 87) и фиксируется винтом 7, гладкий конец которого входит в отверстие гильзы 5. Затем втулка 6 с парой устанавливается во втулку стенда 3.' При этом хвостовик плунжера 4 опирается на толкатель 2, а толкатель в свою очередь опирается на ролик 1 рычага 20, имеющего неподвижную ось 21. На противоположном конце рычага 20 закреплён постоянный груз 19, который в исходном верхнем положении фиксируется при помощи рукоятки-защёлки 17. Когда груз 19 находится в верхнем положении, плунжер 4 занимает нижнее положение.
Через краник 8 из бачка 14 по трубке 13 через фильтр 12 и трубку 11 заполняют топливом полость втулки стенда 3 и надплунжерное пространство

Фиг. 86. Насосный элемент Фиг. 87. Стенд для гидравлического испытания
(плунжерная пара): плунжерной пары:
/ — хвостовик плунжера; 2 — плунжер; 3 — / — ролик; 2 —толкатель; 3 — втулка стенда; 4 — плун-гильза плунжера; 4—опорный бурт; 5—от- жер; 5 —гильза плунжера; « — втулка плунжерной па-верстие; 6 —верхний торец; 7 —отсечная ры; 7 —винт, фиксирующий положение плунжерной спираль плунжера; 8— отверстие; 9 — вер- пары во втулке 6; в —краник подвода топлива; 9 — за-ижалъная каиавка; 10 — поводок плун- глушка с притёртым торцом; 10 — крышка втулки стен-жеса да: //. /3 —трубки; 12 — фильтр; 14— бачок с крышкой для топлива; /5 —рукоятка с квадратным отверстием; 16 — стол стенда; / 7 — рукояткя-защёлка. фиксирующая верхнее положение груза; 18 — пальцы на грузе: 19 — груз; 20 — рычаг; '/ — неподвижная ось рычага; 22 — пружинный амортизатор
в гильзе 5. Затем на верхний торец гильзы 5 устанавливают заглушку 9 с притёртым к гильзе торцом и прижимают её болтом с рукояткой 15.
Перед закреплением заглушки груз 19 освобождают от защёлки 17 и 2—3 раза опускают и поднимают рычаг 20. Затем груз устанавливают в верхнее исходное положение и производят первый замер плотности пары. Для этого быстрым поворотом рукоятки 17 освобождают груз 19 и одновременно включают секундомер. Освобождённый груз через рычаг 20 и ролик 1 будет создавать по оси плунжера усилие, равное примерно 390 кг. Под действием этого усилия плунжер сначала несколько переместится вверх и перекроет верхним торцом отверстия в гильзе, а затем сожмёт топливо, заключённое в надплунжерном пространстве. Медленная утечка топлива через неплотность (зазор) между плунжером и гильзой уменьшает его количество в надплунжерном пространстве, и плунжер 4 будет медленно перемещаться вверх, а груз 19 будет опускаться вниз. Такое медленное перемещение плунжера будет продолжаться до тех пор, пока отсечная спираль 7 плунжера (см. фиг. 86) не откроет отверстие 8. В этот момент плунжер резко переместится вверх, а груз упадёт па пружинный амортизатор 22 (см. фиг. 87). В момент падения груза секундомер останавливают. Время в секундах от момента освобождения груза 19 до момента резкого его падения на амортизатор 22 условно считают плотностью плунжерной пары.
Рекомендуется проверять правильность показаний стенда по плотности так называемой эталонной пары. Эталонные пары представляют собой особо тщательно изготовленные экземпляры плунжерных пар, дающих устойчивые показания плотности (25—50 или 100 сек.) при испытании на чистом, профильтрованном дизельном топливе с вязкостью 1,43—1,45 по Энглеру при температуре в помещении 20—21°. Необходимо придерживаться указанных выше условий при опрес-совке плунжерных пар, так как совершенно очевидно, что при высокой вязкости топлива и низкой температуре воздуха и топлива в помещении плотность проверяемой пары может достигнуть высоких пределов; в то же время эта пара в насосе будет работать совершенно неудовлетворительно и, наоборот, при низкой вязкости и высокой окружающей температуре плунжерная пара может быть признана негодной, в то время как в насосе на двигателе она вполне будет удовлетворять всем требованиям.
Учитывая, что впрыск топлива в цилиндр осуществляется в течение очень малого отрезка времени (около 0,008 сек. при 740 оборотах коленчатого вала в минуту и при полной нагрузке двигателя), при текущем ремонте плотность плунжерных пар допускается не меньше 15 сек.
"Ремонт плунжерной пары. При гидравлической плотности менее 15 сек. плунжерные пары топливного насоса подвергаются ремонту.
Ремонт заключается в восстановлении правильной геометрической формы плунжера и гильзы и в доведении их рабочих поверхностей до высокой степени чистоты.
Для придания необходимой геометрической формы и удаления рисок, образовавшихся на рабочей поверхности, плунжер (см. фиг. 80) отдельно от гильзы подвергается доводке при помощи чугунного (зажимного) притира (фиг. 88).
При доводке цилиндрических поверхностей применяются грубые наждачные пасты, в состав которых входят следующие компоненты (по весу в процентах):
Наждачный порошок (240—320).......... 68
Олеиновая кислота................ 15
Авиационное масло ............... 12,5
Парафин .................... 4,5
При изготовлении указанной пасты авиационное масло, олеиновую кислоту и парафин помещают в эмалированный тигель и подогревают до температуры плавления парафина. Затем смесь тщательно перемешивают, всыпают в неё соответствующее количество наждачного порошка и снова перемешивают до получения однородной смеси.
Для того чтобы получить необходимую конусность плунжера, равную 0,002—0,004 мм, с большим диаметром у головки, его рабочую поверхность вторично доводят при помощи того же притира, но с применением тонкой пасты, состоящей из 67,5% (по весу) наждачного порошка, 15% авиационного масла, 7,5% олеиновой кислоты и 10% парафина.
При незначительных натирах доводка рабочей поверхности плунжеоа производится тем же притиром, но с применением белой пасты, изготовленной из 25% окиси алюминия.
Гильза (см. фиг. 79) также доводится притиром (фиг. 89) с применением грубых или тонких паст из окиси алюминия в зависимости от состояния рабочей поверхности, причём больший диаметр отверстия гильзы (на 0,002— 0,004 мм) должен быть внизу.
Доведённые отдельно друг от друга плунжер и гильзу затем совместно притирают и доводят. При массовом ремонте плунжерных пар диаметры плунжеров у верхнего торца обмеривают и плунжеры разделяют на группы по размерам диаметров с интервалом 0,001 мм. Одновременно набором калибров обмеривают цилиндрические отверстия всех гильз со стороны нижнего торца и также разделяют на группы с интервалом 0,001 мм. Затем пары подбирают так, чтобы верхняя часть плунжера плотно входила в отверстие гильзы на 10—15 мм, и производят совместную доводку (растирку) сопрягаемых поверхностей плунжерной пары. Для этой цели плунжер нижним хвостовиком устанавливают в специальные губки, укреплённые в патроне станка, и приводят его во вращательное движение. Рабочую поверхность плунжера смазывают чистым профильтрованным авиационным маслом, на плунжер вручную надевают гильзу, сообщая ей возвратно-поступательное движение. После нескольких движений гильзы вдоль оси плунжера гильзу снимают и на плунжер наносят первый тонкий слой специальной доводочной белой пасты, приготовленной из 25% окиси алюминия. Гильзу снова надевают на плунжер, перемешая возвратно-поступательно вдоль оси плунжера. Через некоторое время гильзу снимают и наносят на плунжер пасту из 50% окиси алюминия. Такая доводка пары производится до тех пор, пока плунжер и гильза не будут иметь ровные зеркальные поверхности без отдельных натиров в виде пятен, штрихов, кольцевых или продольных рисок, вмятин и т. д.
Фиг, 89. Приспособление для доводки рабочей поверхности гильзы плунжера:
/ — хвостовик для установки приспособления в патрон станка; 2 — стержень; 3— чугунный притир
Чистота доведённых поверхностей должна быть не ниже, чем у утверждённого эталона. Кроме того, плунжер, промытый в чистом профильтрованном дизельном топливе и опущенный в отверстие гильзы на глубину 30 мм, в вертикальном положении должен плавно опускаться под действием собственного веса. Доведённые плунжер и гильза составляют пару, в которой замена одной из деталей без указанной выше доводки не разрешается.
Нагнетательный клапан служит для периодического разобщения трубки высокого давления от надплунжерпого пространства секции насоса. Он представляет собой клапан с конической головкой (см. фиг. 82), опирающийся па притирочный поясок корпуса. В нижней части клапан снабжён четырьмя направляющими рёбрами 1, которые в верхней части заканчиваются цилиндрическим разгрузочным пояском 2, пришлифованным и притёртым совместно со стенками цилиндрического отверстия корпуса клапана. Между конической головкой и разгрузочным пояском имеется кольцевая выточка.
Такая форма нагнетательного клапана впервые была предложена инженерами Коломенского завода. Особенностью действия клапана является быстрая разгрузка нагнетательного трубопровода от высокого давления при отсечке топлива плунжером. Это обеспечивается тем, что как только разгрузочный поясок 2 клапана войдёт в цилиндрическое отверстие корпуса, т. е. ещё до посадки головки на притирочный поясок, уже прекращается перетекание топлива из трубопровода в полость гильзы. При этом за счёт разности давлений нагнетательный клапан будет продолжать опускаться. Объём между верхней плоскостью разгрузочного пояска нагнетательного клапана и форсункой будет увеличиваться, благодаря чему давление топлива в этом объёме будет понижаться.
Плотность разгрузочного поршенька имеет очень большое значение. Специально проведённые опыты показали, что увеличение диаметрального зазора поведёт к значительной разрегулировке насоса, особенно при малых подачах топлива.
Для определения гидравлической плотности разгрузочного пояска нагнетательного клапана применяется стенд (фиг. 90), состоящий из насосного элемента (гильзы 12 и плунжера 13 диаметром 8—10 мм), установленного и уплотнённого в корпусе стенда 11. Плунжер 13 связан с рычагом 17, на правом конце которого имеется неподвижный шарнир, а на противоположном конце—груз 16. В верхнее положение груз 16 и связанный с ним через рычаг 17 плунжер 13 устанавливается поворотом рукоятки 14, имеющей кулачок. При перемещении плунжера 13 в верхнее положение камера 10 нагнетательного клапана под плунжером и трубка 9, соединяющая гнездо, в котором установлены корпус 8 и нагнетательный клапан 7, заполняются чистым, профильтрованным дизельным топливом, поступающим из бачка / через фильтр 3 и трубку 4. Рычаг 17 через направляющий толкатель 18 связан со стрелкой 20, которая перемещается по градуированному сектору 19. Перед началом определения плотности разгрузочного пояска клапан 7 прижимают к корпусу 8 маховичком 6, а затем отвёртывают маховичок на один оборот обратно. Этим обеспечивается подъём клапана 7 над корпусом 8 на величину 1 мм (шаг резьбы винта равен 1 мм). На маховичке 6 имеется метка, а на стенде — указатель 5, с помощью которых определяется поворот маховичка на угол 360°.
Перед началом замера прокачиванием плунжера 13 (2—3 раза) заполняют всю систему дизельным топливом. Затем груз устанавливают в верхнее положение и при помощи рукоятки 14 быстро его освобождают. В пространстве

под разгрузочным пояском благодаря действию груза 16 и плунжера 13 топливо сожмётся и приподнимет клапан 7 до упора в нижний торец винта. Подъём клапана выбран таким, чтобы разгрузочный поясок, поднявшись на величину 1 мм, не вышел из цилиндрического отверстия корпуса 8, а расположился своей верхней кромкой на уровне нижней фаски притирочного пояска корпуса 8. Топливо, находящееся под разгрузочным пояском с давлением 8—10 кг/см2, по зазору между пояском и цилиндрическим отверстием корпуса постепенно будет просачиваться наружу, а груз 16, рычаг 17 и толкатель 18 будут перемещаться вниз, увлекая за собой стрелку 20. В момент, когда стрелка 20 проходит метку а, нанесённую на секторе 19, включают секундомер. Когда стрелка 20 проходит нижнюю метку б, секундомер выключают. Время, в течение которого стрелка 20 пройдёт расстояние между метками а я б, и характеризует
плотность разгрузочного пояска. Плотность вновь изготовленной или подобранной и надлежащим образом притёртой пары клапан — корпус должна составлять 4—12 сек.
Стенд для испытания притирочного пояска клапана на герметичность состоит из корпуса 5 (фиг. 91), прикреплённого к столу 14. В нижнюю часть корпуса по трубке / под давлением 5—7 ати подводится сжатый воздух, поступающий в полость 12, в которой установлен и соответствующим образом укреплён корпус 3 с клапаном и пружиной 2. Для устранения перетекания воздуха за клапан корпус 3 уплотнён медной прокладкой 4 и зажат сверху откидным зажимом 11, имеющим рукоятку 8 и неподвижную ось вращения 13. Часть зажима //, опирающаяся на верхний торец корпуса клапана,снабжена уплотнительной прокладкой 9 и кольцевой выточкой 10. С последней соединена трубка 7, свободный конец которой опущен в стеклянный стакан 6, наполненный жидкостью. Испытание притирочного пояска нагнетательного клапана на герметичность состоит в том, что в полость корпуса 12 через трубку / подаётся воздух, который при неудовлетворительной притирке пояска головки клапана просачивается в кольцевую выточку 10, откуда по трубке 7 проходит в стакан с жидкостью, где при этом образуются воздушные пузырьки.
Продолжительность испытания 5—10 сек. При неудовлетворительной герметичности сопрягаемые поверхности клапанной пары подлежат дополнительной взаимной доводке. Притёртые и испытанные на плотность разгрузочного цилиндрического пояска и на герметичность притирочного пояска головки клапан и седло составляют прецизионную пару, в которой замена одной детали деталью, взятой из другой пары без соответствующей подборки, доводки и указанных испытаний, не разрешается.
Ремонт нагнетательного клапана. В эксплуатации нагнетательный клапан изнашивается, при этом теряются его гидравлическая плотность и герметичность. Ремонт клапана сводится к притирке и доводке сопрягаемых поверхностей клапана и его корпуса отдельно одного от другого. Для восстановления строго цилиндрической поверхности разгрузочного пояска и направляющих рёбер клапан доводят чугунным зажимным притиром (фиг. 92) с применением тонкой наждачной пасты или (в зависимости от состояния клапана) пасты, изготовленной из 25% окиси алюминия. Для выпол* нения этой операции хвостовик клапана устанавливают в губки или цангу станка. Рёбра и поясок клапана смазывают слоем авиационного масла и надевают чугунный притир. Притир 2 должен быть помещён в оправку перемещаемую рукой вдоль оси клапана. После нескольких таких перемещений на поверхности рёбер и пояска наносят тонкий слой пасты и продолжают доводку дальше. В процессе доводки пасту наносят несколько раз. Доводка продолжается до тех пор, пока поверхности не станут зеркальными без признаков рисок или штрихов, натиров и т. д. Чистота доведённых поверхностей должна быть не ниже, чем у принятого эталона. При доводке обращают внимание на то, чтобы конусность цилиндрической поверхности рёбер составляла 0,002— 0,004 мм, была направлена вниз с большим диаметром у верхней кромки рёбер. Обратная конусность не допускается.
Фиг. 91. Схема стенда для определения герметичности притирочного пояска нагнетательного клапана:
/—трубка для подвода воздуха: 2—пружина нагнетательного клапана; 3— корпус с нагнетательным клапаном; 4 — медная уп-лотнительная прокладка; 5 — корпус стенда; 6 — стакаи с жидкостью; 7 — трубка; 8 — рукоятка зажима; 9 —резиновая прокладка; 10— кольцевая выточка; //—зажим; 12 — воздушная полость под клапаном; 13 — ось зажима //; 14 — стол стенда
Отверстие в корпусе нагнетательного клапана доводят чугунным разрезным притиром, посаженным на конусную оправку, укреплённую своим хвостовиком в патроне станка. Перед началом доводки поверхность притира смазывают авиационным маслом и наносят тонкий слой грубой наждачной пасты. На вращающийся притир надвигают корпус клапана, который перемещают возвратно-поступательно вдоль оси притира. Такой процесс доводки длится до тех пор, пока поверхность отверстия не станет зеркальной без наличия каких-либо заметных рисок, пятен и других дефектов.
При доводке отверстия должна быть обеспечена конусность 0,002—0,004 мм с большим диаметром внизу. Обратная конусность не допускается.
Нижний торец корпуса клапана, сопрягаемый с верхним торцом гильзы, доводится предварительно на плите с грубой наждачной пастой, а затем с более тонкой пастой, изготовленной из 25 и 50% окиси алюминия.
Доведённые клапаны и корпуса подбирают затем так, чтобы направляющие рёбра комплектуемого клапана вошли в отверстие седла на Уз его длины. Подобранные пары совместно доводят. Клапан хвостовиком устанавливают в патрон стайка и на направляющие рёбра и разгрузочный поясок наносят слой авиационного масла. Затем на клапан надвигают корпус, перемещая его возвратно-поступательно несколько раз вдоль оси клапана. После этого наносят тонкий слой доводочной пасты и опять надвигают корпус на клапан. Доводку (растирку) сопрягаемых поверхностей продолжают до тех пор, пока не будет обеспечена плотность клапана по разгрузочному пояску, а чистота поверхностей будет не ниже чистоты эталона. При доведённых поверхностях движение нагнетательного клапана в отверстии корпуса должно происходить равномерно без заметных задержек.
Сборка и испытание секции насоса. Перед сборкой секции топливного насоса необходимо все детали её тщательно промыть в чистом, профильтрованном дизельном топливе и продуть сухим, чистым сжатым воздухом.
Сборку секции необходимо проводить в следующем порядке:
1) установить через верхнее отверстие корпуса 1 (см. фиг. 78) гильзу 13 так, чтобы отверстие 6, снабжённое вертикальной канавкой, располагалось против стопорного винта 5;
2) закрепить гильзу 13 плунжера винтом 5 таким образом, чтобы его торец не доходил вплотную до отверстия 6;
3) через верхнєє отверстие корпуса секции установить нагнетательный клапан с корпусом 11 на верхний торец гильзы 13. До установки корпус на-і метательного клапана должен быть тщательно притёрт к верхнему торцу гильзы;
4) на конический заплечик корпуса нагнетательного клапана установить медную уплотнительную прокладку 10, установить пружину 7 нагнетательного клапана и зажать (предварительно) их нажимным штуцером 8;
5) установить регулирующую рейку 14 в направляющие отверстия корпуса секции и поставить винт 15;
6) через нижнее отверстие корпуса секции установить поворотную гильзу 16 и ввести в зацепление её зубчатый венец с зубьями рейки так, чтобы метка 22, выбитая против впадины двух смежных зубьев на рейке, совпала с зубом венца гильзы, имеющим срезанный уголок с меткой 21;
7) установить верхнюю опорную шайбу 4 и застопорить её пружинным кольцом 5;
8) установить пружину плунжера 2;
9) установить плунжер 12 в гильзу 13 так, чтобы метка 23, сделанная на нижней поверхности поводка плунжера, совпала с такой же меткой, имеющейся в окне выреза поворотной гильзы 16;
10) на хвостовик плунжера надеть нижнюю опорную шайбу 18, установить направляющий стакан 17 и застопорить его пружинным кольцом 19;
11) установить секцию на две шпильки и окончательно затянуть ключом верхний штуцер 8. При этом необходимо проследить, чтобы плунжер легко, без каких-либо защемлений и заеданий, перемещался в гильзе;
12) установить собранную секцию на механический или ручной стенд и дать ей поработать на чистом, профильтрованном дизельном топливе, устанавливая перемещением рейки различные подачи топлива. При этом проверить плавность хода плунжера в гильзе.
Собранные секции подвергаются, как и плунжерные пары, гидравлическому испытанию на плотность. При этом для опрессовки секции в собранном виде пользуются тем же стендом, что и при испытании плунжерных пар (см. фиг. 87). Разница состоит лишь в том, что крышку 10 снимают с втулки стенда 3, втулку 6 для установки пары также вынимают из втулки 3 и вместо них устанавливают фланец 7 (фиг. 93) с Г-образными вырезами и второй толкатель 8.










