§ 10. ГАЗОРАСПРЕДЕЛИТЕЛЬНЫЙ МЕХАНИЗМ
Газораспределение двигателя осуществляется механизмом, состоящим из набора шестерён (привода распределительных валов), распределительного вала клапанов, вала топливного насоса, рычагов толкателей, штанг и рычагов клапанов.
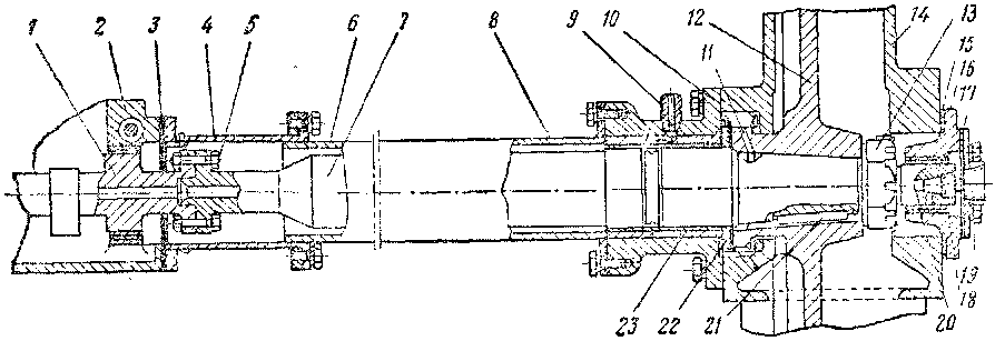
Привод распределительных валов размещён в передней части двигателя со стороны главного генератора (фиг. 62). Вращательное движение шестерни получают от разъёмной ведущей шестерни 9. Паразитная шестерня 8. смонтированная на специальной оси, укреплённой в щеках корпуса привода, передаёт вращение двум большим шестерням, из которых одна 5 посажена на конусную часть распределительного вала привода клапанов, а вторая /— на конусную часть вала привода топливного насоса. От шестерни / через бронзовую шестерню 2 вращение передаётся центробежному водяному насосу.
Если смотреть со стороны главного генератора, то коленчатый вал, а следовательно, и ведущая шестерня 9 вращаются против часовой стрелки, паразитная шестерня 8 вращается по часовой стрелке, обе большие шестерни У и 5 и оба распределительных вала вращаются против часовой стрелки и, наконец, шестерня 2 привода водяного насоса вращается по часовой стрелке.
Все шестерни изготовлены штамповкой из стали 45 ГОСТ 1050 —52 или из модифицированного чугуна и термически обработаны. После обточки обода, ступицы и центрального конусного отверстия (конус 1 : 8) производится нарезка зубьев. Для обеспечения взаимозаменяемости шестерён / и 5, а также для упрощения их установки при сборке двигателя после ремонта шпоночный паз шестерни размечается и прострагивается следующим образом: точно через центры диаметрально противоположных впадин (фиг. 63) двух смежных зубьев и через центр ступицы при помощи рейсмуса проводят риску С—О и на ободе шестерни выбивают зубилом метку 1 (со стороны малого отверстия конуса). На ступице риска 0—0 является геометрической осью для строжки шпоночного паза. Отметки 1 на ободе отсчитывают 23°, или 72/з зуба (один зуб соответствует 3°), и выбивают метку 2, а затем от той же метки / отсчитывают 51 зуб, или 153°, и выбивают метку 3.
Распределительный вал клапанов (фиг. 64) выполнен из трёх составных частей. Он имеет 12 кулачков, выточенных за одно целое со стержнем. Кулачки расположены под определённым углом один относительно другого; шесть из них предназначены для открытия впускных клапанов и шесть для открытия выпускных. При работе двигателя каждый кулачок распределительного вала через штангу и рычаг одновременно открывает два одноимённых клапана (впускных или выпускных) в соответствии с порядком работы цилиндров двигателя. Максимальная высота впускного или выпускного кулачка 19,5 мм. Кулачок впускного клапан / (фиг. 65) шире кулачка выпускного (дуга наибольшего эксцентриситета кулачка впускного клапана соответствует 28°, в то время как для кулачка выпускного клапана 2 этот угол составляет 18°). Различие в профилях кулачков вызвано тем, что продолжительность открытия впускного клапана больше, чем выпускного.
Фиг. 62. Привод распределительных валов:
;— шестерня вала привода топливного насоса; 2 —шестерня вала привода водяного насоса; 3 — предохранительный клапан; ^—-верхний кожух шестерён; 5 — шестерня привода распределительного вала клапанов; 5 —нижний кожух; 7—кор-пус привода; 8 —паразитная шестерня; 9 —разъёмная ведущая шестерня; 10 — бугель; 11 — рама; 2 и 3 —метки для установки зацепления шестерён
В 1954—1955 гг. изготовлено значительное количество двигателей, имеющих кулачки впускных и выпускных клапанов одинаковой конфигурации, соответствующей конфигурации кулачка впускного клапана.
Конструктивно соединение отдельных частей в один распределительный вал осуществлено центрирующим выступом на фланце одной части вала фланцевого соединения 2 (фиг. 66) и соответствующей ему выточкой в другой составной части вала, в которую выступ входит на плотной посадке. Фланцы 1 и 2 соединяются восемью призонными шпильками 3 диаметром 12 мм, расположенными на равных расстояниях по окружности. Каждая шпилька имеет по две корончатых гайки 4.
Установка распределительного вала в блок цилиндров производится со стороны первого цилиндра. В блоке распределительный вал лежит своими шейками на семи подшипниках (бронзовых втулках), залитых баббитом и запрессованных в отверстиях блока с натягом 0,07—0,12 мм.
Зазор между шейками распределительного вала и подшипниками должен составлять 0,08—0,16 мм с разностью по торцам не более 0,03 мм. Осевой разбег распределительного вала устанавливается в пределах 0,15—0,20 мм. После установки рычагов толкателей продольное смещение кулачков вала относительно роликов рычагов допускается ± 1 мм. Это смещение регулируется двумя разрезными кольцами, установленными между затылочной поверхностью ступины шестерни и выточкой в блоке. В зависимости от смещения кулачков относительно роликов рычагов толкателей подбирается толщина колец. Уложенный распределительный вал должен легко проворачиваться от руки и не иметь каких-либо заеданий.
Привод клапанов (фиг. 67) состоит из рычага 20 толкателя, в который впрессована с натягом 0,07 мм бронзовая втулка. Втулка сидит на валике 21, имеющем внутри отверстие и закреплённом в отверстиях двух кронштейнов 24; кронштейны притянуты болтами к фланцу блока /. На другом конце рычага 20, также на полой оси 25, установлен ролик 23, опирающийся на рабочую поверхность кулачка 26 распределительного вала. Над роликом в выточку рычага 20 впрессован сферический пятник 22, на который опирается полая штанга 16. Пружины 4 через вильчатый рычаг 9 выпускных клапанов, установленный на неподвижной оси 10 в коробке 5 привода клапанов, прижимают штангу и ролик 23 к кулачку распределительного вала. В коробке 5, также на неподвижной оси 15, установлен второй рычаг 14 впускных клапанов. Корпус коробки 5 поставлен на паронитовой прокладке (толщиной 1 мм) и крепится к верхней! плоскости крышки цилиндра четырьмя шпильками. Сверху клапанная коробка закрывается крышкой 7 и крепится глухими гайками.
1 — блок; 2~крышка цилиндра; 3 — направляющая втулка выпускного клапана; -^ — пружины выпускного клапана; 5 — коробка присоца рычагов; 6— ' ударник; 7—~ крышка коробки при сода рычагов; 5 —жиклёр; 9 — рычаг выпускного клапана; 10—-ось рычага выпускного клапана: 11 —толкатель, 12— контргайка; 13 — верхняя головка штанги; 14 — рычаг впускного клапана; 15 — негк-д! ижная ось;. 16 — штанга; 17 — резиновое уплотнение. 18 —отверстия в блоке и крышке; 19 — крышка люка; 20 -рычаг толкателя; 21 — полый валик рычага; 22— сферический пятник; 23 — ролик; 24—кронштейн; 25— ось ролика; 26 — к у лачок распределительного вала
Работа привода клапанов происходит следующим порядком: при вращении распределительного вала кулачок 26 через ролик 23 толкает вверх штангу 16, которая, поднимаясь, поворачивает вильчатый рычаг 9 против часовой стрелки вокруг оси 10, преодолевает усилие пружин 4 и открывает выпускной клапан. При сбегании ролика 23 с выступа кулачка 26 рычаг 20 будет опускаться вместе со штангой 16 вниз. При этом пружины 4 закроют выпускной клапан. Также происходит открытие и закрытие впускного клапана,с той лишь разницей, что на вильчатом рычаге впускного клапана имеется дополнительное плечо 2 (фиг. 68), на которое через толкатель 3 давит пружина 4. Пружина сжата фланцем 5, соединённым шпильками с приливом корпуса коробки привода клапанов.
Смазка привода клапанов осуществляется следующим образом. К валику 21 (см. фиг. 67) масло под давлением подводится от общего смазочного трубопровода двигателя. Через отверстия, кольцевые проточки и канавки масло проходит внутрь рычага толкателя 20, а через центральное отверстие в сферическом пятнике 22 попадает внутрь полой штанги 16. Отсюда масло через отверстия в верхней головке 13, штанге 16, толкателе 11 и через каналы в теле рычага 9 проходит к жиклёрам 8. Из жиклёров 8 (или 2 на фиг. 56) масло струйкой выбрасывается в воздух и вследствие наклона жиклёра попадает в цилиндрическую выточку ударника 3 (см. фиг. 56). Из выточки масло через отверстия в теле ударника попадает на боёк 4 и смазывает его рабочие поверхности и поверхности колпачка 5 стержня клапана 12.
Количество масла, поступающего через жиклёр в ударник, можно регулировать, ввертывая или вывёртывая жиклёр и тем самым открывая больше или меньше проходное смазочное отверстие. При проходе к жиклёрам через каналы в рычагах масло поступает также ко всем трущимся деталям привода клапанов и смазывает их.
Избыточное масло стекает в специально углублённую часть крышки цилиндра и через отверстия 18 (см. фиг. 67) попадает в ванну распределительного вала и далее в маслосборник рамы.
Привод топливного насоса состоит из шестерни 12 (фиг. 69) и промежуточного вала 7, соединённого фланцами с кулачковым валом 1 топливного насоса.
Промежуточный вал 7 изготовлен из стали 45 ГОСТ 1050'—52. С одной стороны вала расположены опорная шейка с кольцевой выточкой и радиальным отверстием для подвода смазки и концевая конусная часть, на которой профрезерован паз для шпонки 21. На конусную часть вала 7 посажена шестерня 12, укреплённая шпонкой 21 и корончатой гайкой 13. С противоположной стороны вал 7 имеет фланец, в который входят шесть призонных болтов 5 диаметром 12 жм с корончатыми гайками.
Фиг. 68. Упор и дополнительное плечо рычага впускного клапана
/--коробка привода клапана; 2—второе плечо! 3— толкатель; 4 —пружина; 5 —фланец; 6—крышка коробки рычагов
По всей длине вала 7 просверлено осевое отверстие диаметром 20 мм, предназначенное для подвода смазки, поступающей через штуцер 9 к опорным шейкам валов 7 и / и через отверстие // для смазки разрезных колец 22. По этому же осевому отверстию масло подводится к радиальному отверстию для смазки концевого подшипника 20. С торца канал заглушён пробкой 18, поставленной на конусной резьбе.
Фиг. 69. Привод топливного насоса: 7 — кулачковый вал топливного насоса; 2 — картер; 3 — прокладка; 4 — кожух; 5 — болты; 6 — сальник, ? — промежуточные вал; 8 — кожух; 9 — штуцер подвода масла; 10— втулка; 11—отверстие; 12 — шестерня; 13— гайка; 14 — крышка корпуса привода; 15 — прокладка; 16— фланец; 17 — крышка; 18, 19— пробки; 20 — концевой подшипник; 21 — шпонка; 22 —разрезное кольцо; 23 — подшипник промежуточного вала
Для предохранения от выбрасывания смазки наружу вал 7 заключён в кожухи 4 и 8, уплотнённые паронитовой прокладкой 3 и сальником 6.
Предохранительный клапан. На крышке 'корпуса привода распределительных валов на четырёх шпильках установлен предохранительный клапан 3 (см. фиг. 62), сообщающий внутреннюю полость рамы двигателя с окружающей средой при повышении давления в картере выше атмосферного .

Предохранительный клапан состоит из чугунного корпуса / (фиг. 70) и чугунного клапана 2, укреплённого на двух шпильках 4 с пружинами 5, затянутыми гайками 6. Клапан уплотнён манжетой 3.
Затяжка пружин 5 рассчитывается таким образом, что при повышении давления в картере рамы на 0,1 кг/см2 клапан должен открываться.
Суфлёр. К боковому фланцу крышки корпуса привода четырьмя болтами прикреплён суфлёр двигателя. Суфлёр служит для того, чтобы задерживать частицы масла, которые уносятся вместе с газами из картера во всасывающую полость турбовоздуходувки по трубе 4 (фиг. 71). Суфлёр состоит из сварного кожуха, внутри которого установлена проволочная плетёная сетка с проходным сечением ячеек 1,5 X 1,5 мм. Сетка суфлёра свёрнута в цилиндр и укреплена четырьмя хомутами. Нижний конец сетки установлен на цилиндрическую обечайку, приваренную к нижнему листу кожуха, а верхний конец упирается во фланец трубы 4, которая соединяет картер двигателя через суфлёр со всасывающей полостью турбовоздуходувки. При работе турбовоздуходувки в картере создаётся разрежение и тем самым исключается возможность течи масла по разъёмам деталей двигателя.
Фиг. 72. Схема установки манометра для проверки разрежения на всасывании
Фиг. 73. Схема отсоса газов из картера двигателя эжектирующим действием отработавших газон
Замечено, что при наличии отсоса газов из картера вместе с газами во всасывающую полость турбовоздуходувки попадает масло, которое затем поступает в наддувочный коллектор и в цилиндры, вызывая повышенное загорание поршневых колец.
Опытом установлено, что чем больше засорён воздушный фильтр турбовоздуходувки, тем больше масла засасывается из картера и тем больше "загорание поршневых колец. В связи с этим разрежение на всасывании рекомендуется контролировать U-образным водяным манометром. При разрежении более 60 мм вод. ст. воздушный фильтр надо очищать и промывать. Схема установки манометра показана на фиг. 72.
На некоторых тепловозах отсос газов из картера двигателя был осуществлен эжектирующим действием отработавших газов (фиг. 73).










