РЕДУКТОР, ВЫПУСКНЫЕ КОЛЛЕКТОРЫ И МЕХАНИЗМ РАСПРЕДЕЛЕНИЯ
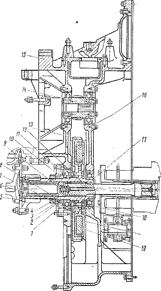
Редуктор. Одноступенчатый зубчатый редуктор (рис. 20) установлен на переднем торце дизеля. Редуктор служит приводом нагнетателя, водяных и масляного насосов. Зубья шестерен редуктора —прямые цементированные и закаленные.
С коленчатым валом дизеля редуктор связан шлицевым валом 12 с эвольвентными шлицами. Вал 12 удерживается от осевого перемещения в муфте 11 пружиной 9. В муфту для упора пружины 9 вставлен проставок 6. На коническую часть муфты // насажена полу муфта валопровода привода вспомогательных механизмов и закреплена гайкой 5. Уплотнение муфты 11 в корпусе обеспечено манжетой 2 и маслосгонной резьбой на втулке 10. Ведущая шестерня 13 Рис. 20. Редуктор: прикреплена призонными
/ — фланец; 2 — манжета; 3 — стопорная шайба; 4, 5; 7, 10 - втулки; 8 - опорно-упорный подшипник; 9 — пружина; И — муфта; 12— шлицевой вал; «-ведущая шестерня; 14 привод шестерня; 15 - корпус; 16 - гнездо; 17 — стопорное кольцо; 18 — опорный шарикоподшипник; 19 -силиконовый демпфер

Внутреннее кольцо шарикоподшипника 18 зафиксировано стопорным кольцом 17, а шарикоподшипника 8—гайкой 4 со стопорной шайбой 3, нажимающих на втулку 10. Наружное кольцо шарикоподшипника 8 зажато между буртом втулки 7 и фланцем /, благодаря чему подшипник фиксирует муфту 11 я сопрягаемые с нею детали от осевого перемещения. Наружное кольцо шарикоподшипника 18 не закреплено.
К ведущей шестерне призонными болтами крепится силиконовый демпфер 19, расположенный в выточке шестерни и предназначенный для уменьшения динамических нагрузок в элементах редуктора и нагнетателя, передающих вращающий момент. Демпфер неразъемный и состоит из герметичного корпуса, инерционной массы, находящейся внутри корпуса, и силиконовой жидкости, заполняющей зазоры между корпусом и массой.
Промежуточная шестерня соединена с валом посредством бесшпо-иочного конического соединения. В валу предусмотрены каналы для подвода масла при спрессовКе шестерни с вала. Промежуточная шестерня вместе с валом вращается в двух шарикоподшипниках, один из Которых является упорным. Внутренние кольца шарикоподшипников закреплены упорными кольцами и упругими гайками со стопорными шайбами. Шестерня 14 изготовлена за одно целое с валом и вращается в двух шарикоподшипниках. Вал-шестерня 14 имеет лицевое отверстие, в которое входит торсионный вал привода нагнетателя. Замочное упругое кольцо препятствует смещению вала в сторону дизеля.
К зубьям шестерен, шарикоподшипникам и задним шлицам торсионного вала смазка подается разбрызгиванием. Шлицы вала 12 смазываются маслом, поступающим от коленчатого вала по центральному отверстию в валу 12. На корпусе редуктора имеются опорные лапы для установки турбокомпрессоров, канал для подвода масла в дизель, каналы для прохода продувочного воздуха из нагнетателя в ресивер дизеля и канал для соединения всасывающей полости масляного насоса с . приемной трубой в масляной ванне.
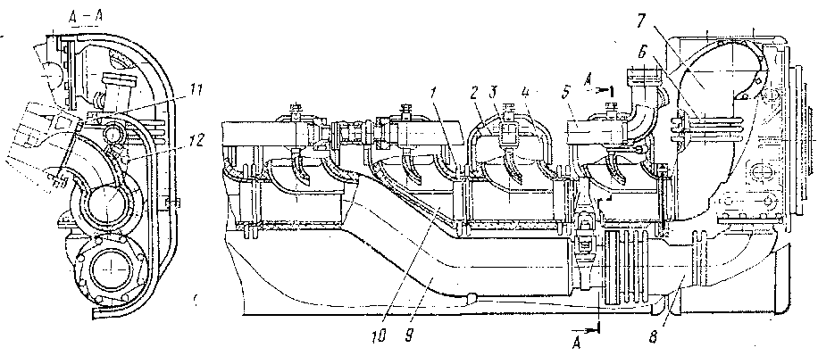
Выпускные коллекторы. Коллекторы (рис. 21) представляют собой трубы с выпускными патрубками 4. На каждый ряд цилиндров установлены два коллектора: верхний 10 —■ для отвода отработавших газов из цилиндров I, II и III и нижний 9 — для отвода газов из цилиндров IV, V и VI. К патрубкам приварены бобышки 2 для термопар и коробка 3 для отвода воды из крышек цилиндров. Коробки каждой части коллектора приварены к общей трубе 5. Водяные трубы обеих частей коллектора соединены рукавом. Вода отводится с передней стороцы коллектора.
Коллекторы неохлаждаемы. Между звеньями коллектора установлены компенсаторы / линзового типа из жаростойкой листовой стали. Коллекторы соединены с газовыми улитками турбокомпрессоров патрубками 7 и 8, в которые вварены компенсаторы 6. Для уменьшения теплоотдачи в окружающую среду коллекторы покрыты мастичной изоляцией, состоящей из смеси асбестового волокна, жидкого стекла и формовочной глины. Кроме того, коллекторы с патрубками защищены специальными закрытиями, в которых имеются теплоотражатели. Соединения коллекторов уплотнены асбостальными прокладками. Переток воды из крышек цилиндров в коллекторы уплотнен резиновыми прокладками //. Для укладки проводов термопар на коллекторах предусмотрены скобы 12.
Рис. 21. Выпускные коллекторы:
I в _ компенсаторы- 2 — бобышка; 3 — коробка; 4 — выпускной патрубок; 5 — общая труба; 7 8 — патрубки; 9 — нижний коллектор; 10 — верхний коллектор; 11— резиновая прокладка; 12 — скоба
Механизм распределения. Для обеспечения работы дизеля необходимо в определенные моменты освобождать его цилиндры от продуктов сгорания, что осуществляется выпускными клапанами. К механизму привода выпускных клапанов относятся: стойки с рычагами, траверсы с гидротолкателями, толкатели со штангами, распределительный вал и привод распределительного вала.
Выпускные клапаны. В каждой крышке цилиндра установлено по четыре выпускных клапана 2 (см. рис. 9) из жаростойкой стали. Рабочие фаски клапанов наплавлены твердостойким сплавом. Клапан прижимается к седлу двумя пружинами 5 я 6. Пружины упираются внизу в тарелку 4, вверху в тарелку 34, соединенную со шпинделем разрезным сухарем 33. На верхний конец клапана насажен колпачок 35, застопоренный пружинным кольцом 36. Клапан открывается траверсой //, нажимающей одновременно на два клапана через гидротолкатели.
Стойки и рычаги. На крышке цилиндра установлена стойка 18 с крышками. Стойка крепится к крышке цилиндра шпильками ' и фиксируется коническими штифтами. В стойке крепятся крышками две бронзовые втулки 14 подшипников цапф рычага 16. В рычаг запрессована головка 17, которая упирается в штангу толкателя. Со стороны выпускного коллектора в рычаг ввернуты два нажимных болта 38 с контргайками 39, каждый из которых упирается в сухарь 37, запрессованный в траверсу //.
Траверсы с гидротолкателями. Траверса // (см. рис. 9) движется в направляющей втулке 31, опирающейся на гнездо 30. Траверса удерживается в верхнем положении пружиной 32, упирающейся вверху
в шайбу 10 и внизу—во втулку 31. От поворота вокруг своей оси траверса удерживается щечками, охватывающими головку рычага.
В траверсы вставлены гидротолкатели, которые автоматически поддерживают моменты открытия и закрытия клапанов и уменьшают шум в механизме привода клапанов во время работы дизеля. Втулка 40 гидротолкателя в траверсе И фиксируется пружиной 51. Масло поступает в полость а гидротолкателя из масляной системы дизеля через отверстия в крышке цилиндра, стойке, рычаге, нажимном болте 38у сухаре 37 и траверсе в момент, когда выпускной клапан закрыт. В момент открытия клапана давление масла в полости а мгновенно повышается, и шарик 44 запирает выход маслу. Усилие рычага передаётся на клапан через масляную подушку.
Часть масла, поступающего из крышки в стойку, используется для смазки подшипников стойки и трущихся поверхностей нажимных болтов 38 и головки 17. Остальные трущиеся поверхности смазываются разбрызгиваемым маслом.
Толкатели со штангами. Толкатель 18 (см. рис. 10) движется в чугунной направляющей 6 и имеет в нижней части вилку с осью 15, на которой сидит ролик 17. Ось 15 стопорится штифтом и имеет канал, закрытый винтом. В ролик вмонтированы две «плавающие» втулки: наружная 16—бронзовая и внутренняя 14-—■ стальная. В нижней части направляющей 6 имеется прорезь, не позволяющая ролику 17 сместиться из плоскости вращения распределительной шайбы. Штанга состоит из трубы 11 я двух запрессованных головок 12 я 19. Толкатель имеет шаровую поверхность, соприкасающуюся с шаровой поверхностью нижней головки штанги.
Шаровая поверхность верхней головки штанги соприкасается с головкой рычага. Штанга закрыта кожухом 9 и гайкой 8. Для уплотнения установлены резиновые кольца 7 и 10.
Масло для смазки толкателей поступает по продольным каналам, расположенным в лотке. По отверстиям в направляющей втулке, толкателе и оси ролика масло поступает на смазку ролика. Поверхности толкателя и нижней головки штанги смазываются маслом, стекающим внутрь кожуха 9 из крышки цилиндра. Возвратно-поступательное движение толкателей передается выпускным клапанам с помощью штанг через трехплечие рычаги, смонтированные на крышках цилиндров.
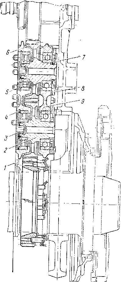
Распределительный вал. Распределительный вал 4 (рис. 22) с задней стороны имеет фланец, к которому крепятся болтами 12 я фиксируются штифтами 13 приводная шестерня // распределительного вала и шестерня 10 привода топливного насоса. Отверстие вала закрыто пробкой 8.
В шлицевое отверстие муфты 9 еставлен валик привода, предельного выключателя. Через отверстие а подводится масло к шлицам муфты и валика.
Распределительный вал вращается в семи подшипниках, из которых крайний с передней стороны является опорно-упорным. Шейка вала, лежащая в крайнем подшипнике с задней стороны, выполнена за одно целое с валом, остальные шейки представляют собой круглые шайбы. с закаленной поверхностью. Шайбы 3 насаживаются на вал в горячем состоянии на шпонках 5 и от осевого перемещения застопорены винтами 6. Диск 7, препятствующий осевому перемещению распределительного вала, прикреплен к торцу шайбы / болтами и расположен между торцом упорного подшипника и его крышкой. Диск 7 закрывает отверстие вала.
Масло для смазки подшипников распределительного вала подводится к крайнему подшипнику с задней стороны, далее по кольцевой канавке на шейке и по радиальным отверстиям в валу поступает в осевой канал вала и по соответствующим отверстиям в валу и шайбах / иЗ поступает в остальные подшипники. На вал в горячем состоянии насажены на шпонках и застопорены винтами 6 двенадцать кулачков 2. Кулачки расположены на валу в соответствии с порядком работы цилиндров: 1л-1пр; У1л-У1пр; Пл-Ппр; 1Ул-1Упр; Шл-Шпр; Ул-Упр. Распределительный вал получает вращение от коленчатого вала, с которым он соединен шестеренным приводом. Вращаются они с одинаковой частотой вращения, но в противоположные стороны.
Привод распределительного вала. Привод распределительного вала (рис. 23) соединяет коленчатый и распределительный валы в строго определенном взаимном положении, обеспечивающем начало открытия выпускных клапанов 8432= до нижней мертвой точки.
Рис. 22. Распределительный вал:
4 -распределительный вал; 5 - шпонка; 6 - винт; 7 — диск; 8-н™б,^а 9-муфтаГ'о-шестерня привода топливного насоса; /7 - приводная шестерня р°?пределитёлы.ого вала; 12 - болт; /«-штифт; а-отверстие для подвода масла
Привод распределительного вала, смонтированный на торце блока цилиндров со стороны генератора, состоит из шестерни / и двух промежуточных шестерен 2 и б. Промежуточная шестерня 6- сцеплена с шестерней распределительного вала. Все шестерни—косозу-быес углом наклона зубьев 10°. Две половины шестерни / центрируются буртом в расточке фланца коленчатого вала, фиксируются шестью цилиндрическими штифтами и крепятся к фланцу болтами. Шестерни 2 и б, установленные в чугунном разъемном кронштейне 9, отличаются лишь направлением наклона зубьев.
Промежуточные шестерни имеют по одной шарикоподшипниковой *и одной роликоподшипниковой опоре в кронштейне. Внутренние кольца подшипников крепятся гайками 3 и 7, застопоренными замочными пластинами. Наружные кольца шарикоподшипников фиксируются от осевого перемещения фланцами 8, а роликоподшипников—стопорными кольцами 4. Положение кронштейна 9 на блоке после установки боковых зазоров между зубьями шестерен и проверки зацепления фиксируется коническими штифтами 5, предохраняемыми от выпадания пластинками. От самоотвинчивания и выпадания все болты и штифты шестерни 1 прнЕода фиксируются проволокой. Трущиеся поверхности привода распределительного вала двигателя смазываются разбрызгиваемым маслом.
Закрытие привода распределительного вала с приводом электроагрегатов. Привод распределительного вала с приводом электроагрегатов закрыт корпусом 2 (рис. 24) и кожухами 14 и 15. Полуфланцы 16 обеспечивают уплотнение фланца коленчатого вала. На кожух 14 устанавливается валоповоротный механизм. На корпусе 2 установлены привод регулятора, предельный выключатель и кронштейн рычажной передачи управления топливным насосом. К корпусу 2 прикреплена крышка 13. В расточках корпуса и крышки установлены стальные втулки /, 8 и глухая крышка 3, являющиеся опорами для подшипников 7 я 9 шестерен 10 и 4. Уплотнение вала шестерни 4 обеспечивает резиновая манжета 6 в крышке 5. Проставочные кольца 12 предназначены для установки осевого разбега валов шестерен 4 я 10.
Рис. 23. Привод распределительного вала:
/ — шестерня; 2, 6 — промежуточные шестерни; 3, 7 — гайкн; 4 — стопорное кольцо; 5 — штифт; 8 — фланец; 9 — кронштейн
Рис. 24. Закрытие привода распределительного вала с приводом электроагрегатов:
/ Я-стальные втулки- 2 - корпус; 3, И — глухие крышки; 4, 10 — шестерни; 5, 13 — крышки-6 -резиновая манжета; 7,9- шарикоподшипники;, 12 - проставочное кольцо; Н, 15-кожуха; 16 — полуфланец; а, о — зазоры










