СИСТЕМА ВОЗДУХОСНАБЖЕНИЯ
Воздух, необходимый для сгорания топлива в цилиндрах и для очистки их от продуктов сгорания, подается в цилиндры дизеля турбокомпрессорами и нагнетателем объемного типа. Два турбокомпрессора, приводимые во вращение за счет энергии выпускных газов, подают сжатый воздух в объемный нагнетатель, который, несколько повышая давление, нагнетает его в цилиндры дизеля через ресивер и продувочные окна втулок цилиндров.
Рис. 15. Турбокомпрессор:
1 _ выпускной корпус; 2 - воздушная улитка; 3, 4, 10 - проставки; 5-входной патрубок; с Г Г«ате"ь 7-кмесо компрессора; «-диффузор; 9, 21 - резиновые кольца; 11 - штуцер 12 28 - гребешки; «-опорный подшипник; 14, 20 - уплотнительпые кольца- /5-ко-16 87 — втулки- 17 -турбинный диск; 18 - рабочая лопатка; 19 - сопловыи аппарат. гУ-г^ая улитка гз-упо'рный подшипник; 24 — фланец; 25 -крышка; 26 - гайка; . А — масляная полость; а, в, д — отверстия
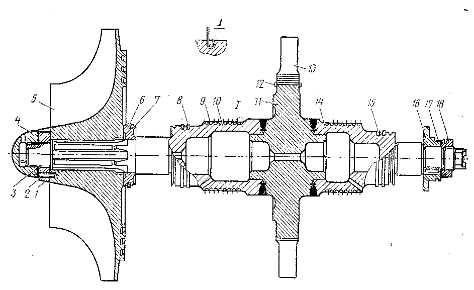
Рис. 16. Ротор:
і —гайка; 2 — винт; 3 — пластинчатый замок; -/ — обтекатель; 5 - колесо компрессора- 6 8 15- уплотнительные кольца; 7-втулка; 9 - гребешок; 10, 14 - полые валы; //-турбинный диск; 12 — замочная пластина; 13 — рабочая лопатка;' 16 — упорная втулка- 17 — стопорная шайба; 18 — упругая гайка
Турбокомпрессор. На дизеле установлено два турбокомпрессора (рис. 15). Оба турбокомпрессора одинаковы по конструкции и отличаются только направлением вращения роторов. У правогртурбокомпрессора ротор вращается по часовой стрелке, если смотреть на него со стороны входа воздуха в компрессор; у левого—против часовой стрелки. Каждый из них состоит из осевой газовой турбины и центробежного компрессора, расположенных в соединенных между собой корпусах. Колесо компрессора и диск турбины смонтированы на одном валу (роторе).
Турбокомпрессоры установлены на корпусе редуктора. С выпускными коллекторами дизеля и глушителем выпуска они соединены при помощи компенсаторов. Труба, подводящая воздух от фильтра к турбокомпрессору, прикреплена к компрессору эластичным соединением. Таким же образом соединена улитка компрессора с патрубком нагнетателя. Выпускные газы из дизеля по выпускному коллектору и газовой улитке 22 подводятся к сопловому аппарату 19 турбины, откуда с высокой скоростью поступают на рабочие лопатки 18 и вращают ротор, затем по выпускному корпусу 1 и глушителю отводятся из тепловоза.
При вращении колеса компрессора на воздух, засасываемый из атмосферы, действует центробежная сила, которая с большой скоростью подает его через диффузор 8 и улитку 2 в нагнетатель. В диффузоре давление воздуха повышается за счет уменьшения его скорости.
Ротор. Вал ротора (рис. 16) состоит из двух полых валов 10, 14 и турбинного диска /7. Части вала сварены между собой. Диск турбины имеет пазы елочной формы, в которых крепятся рабочие лопатки 13. Ог осевых перемещений лопатки фиксируют замочными пластинами 12. На шлицевом конце вала напрессованы и закреплены гайкой втулка 7 и колесо 5 компрессора. Гайка / стопорится винтом 2. На этот же конец вала навинчен обтекатель 4, засголоренный пластинчатым замком 3. Колесо 5 компрессора изготовлено из алюминиевого сплава. Входная часть профильных лопаток колеса направлена в сторону вращения ротора.
Ротор вращается на двух подшипниках скольжения, один из ко-, торых является упорным. На конце вала ротора со стороны турбины установлена, на шпонке стальная с закаленным торцом упорная втулка {16, передающая осевое усилие на упорный подшипник. Втулка крепится упругой гайкой 18 со стопорной шайбой 17, которая для сохранения балансировки ротора при монтаже центрируется на валу. На цилиндрической части вала ротора завальцованы гребешки 9 из тонкой листовой стали для создания лабиринтного уплотнения. На валу ротора и на втулке 7 установлены уплотнительные кольца 6, 8 и 15.
При сборке турбокомпрессора для уменьшения нагрузок на подшипники ротор динамически балансируют. Поэтому во время эксплуатации замена каких-либо деталей ротора без его динамической балансировки не допускается.
Газовая улитка. Через газовую улитку (см. рис. 15) выпускные газы подводятся к сопловому аппарату турбины. Улитка центрирует-, ся буртом в расточке выпускного корпуса / и крепится к нему болтами. Газовая улитка отлита из алюминиевого сплава и имеет двойные стенки, которые образуют полость для прохода охлаждающей воды. В расточках газовой улитки расположены упорный подшипник 23 и втулка 27, которая вместе с гребешками 28 образует лабиринтное уплотнение. Масло к подшипнику подводится через штуцер и отверстия в улитке. Выходящее из подшипников масло стекает в масляную полость А и затем сливается из турбокомпрессора в редуктор нагнетателя. Для подвода запорного воздуха к лабиринтному уплотнению служит отверстие в.
Сопловой аппарат. Профильныг лопатки соплового аппарата отлиты вместе с внутренним ободом. Сопловой аппарат центрирован в отверстии кожуха 15 и прикреплен болтами к газовой улитке. Кожух соплового аппарата центрирован на газовой улитке и прикреплен к ней болтами.
Выпускной юрпус. К выпускному корпусу / прикреплены воздушная 2 и газовая 22 улитки, а также проставок. Корпус отлит из алюминиевого сплава и имеет двойные стенки, которые образуют полость для циркуляции охлаждающей воды. В корпусе имеются отверстия для подвода и отвода масла и воды ддя выпуска воздуха из полости за лабиринтным уплотнением колеса компрессора. Для проверки возможного попадания воды или масла в газовую полость корпуса и слива их служит закрытое пробкой отверстие, расположенное в нижней части корпуса.
Корпус компрессора. Воздушная улитка 2, проставки 3 и 4 образуют корпус компрессора, к которому прикреплен входной патрубок 5.
В корпусе компрессора установлен диффузор 8, который состоит из диска с лопатками и покрывающего диска, соединенных между собой заклепками. Диффузор центрируется проставком и от проворачивания стопорится штифтом.
Выходящий из диффузора сжатый воздух направляется через воздушную улитку в нагнетатель дизеля. Для предотвращения перетекания воздуха из полости улитки в полость колеса компрессора между диффузором и проставком 10 установлено резиновое кольцо 9. В стыках между корпусом 1 и улиткой 2, улиткой 2 и проставком 3, проставком 3 и проставком 4, проставком 4 и входным патрубком 5 установлены паронитовые прокладки на пасте «Герметик» или пасте У-ЗОМ для устранения пропуска воздуха и масла.
Чтобы проверить возможное просачивание масла, отвертывают пробку с отверстиями, расположенную в нижней части улитки, на несколько оборотов (во время работы дизеля) — из отверстий должен выходить воздух.
Во входном патрубке имеются отверстия, через которые поступает воздух из системы вентиляции картера дизеля и из-за лабиринтов, а также штуцер для замера давления воздуха после воздушных фильтров.
Проставок. Стенки проставка (рис. 17) двойные для прохода охлаждающей воды. Полости охлаждения половинок проставка соединены между собой отверстиями с уплотнительными резиновыми кольцами 3, а с полостями выпускного корпуса — отверстиями Д в нижней половинке и отверстиями Е в верхней половинке. В средней части проставка имеются два прилива, в одном из которых расположен опорный подшипник 8, в другом — разъемная втулка 9, которая с гребешками ротора образует лабиринтное уплотнение.
На торце проставка имеются канавки, которые вместе с выступами на колесе компрессора образуют лабиринтное уплотнение полости высокого давления за колесом компрессора. С этой же стороны к простав-ку прикреплен разъемный фланец 7, который отделяет воздушную полость от масляной. Между этим фланцем и втулкой ротора установлено уплотнительное кольцо 6 (см. рис. 16).
В проставке имеются отверстия: К (см. рис. 17) для подвода масла к подшипнику; два отверстия Ж для выпуска воздуха, просочившегося через лабиринтное уплотнение у колеса компрессора; отверстие И для подвода сжатого воздуха из воздушной улитки к лабиринтному уплотнению через отверстия втулки 9. Масляная полость нижней половинки проставка соединена с выпускным корпусом овальным отверстием, которое уплотнено резиновым кольцом 21 (см. рис. 15), надетым на стальную втулку.
Подшипники. Ротор вращается на двух подшипниках: опорном 13 (см. рис. 15), расположенном в проставке, и упорном 23 — в газовой улитке. Опорный подшипник 8 (см. рис. 17) состоит из двух половин, которые центрируются двумя втулками 2 и крепятся к нижней половинке проставка болтами /. Половинки подшипника изготовлены из бронзы, рабочие поверхности его залиты тонким слоем баббита. В верхней части-подшипника в месте подвода масла на опорной поверхности имеется вырез для распределения масла по всей длине подшипника и правильного образования масляного клина.
Рис. 17. Проставок:
Упорный подшипник 23 (см. рис/15) выполнен из бронзы. Рабочие поверхности подшипника (в отверстии и на торце) покрыты баббитом. В отверстии в месте подвода смазки имеются вырез для распределения масла по подшипнику и канавка для подвода масла к упорному торцу. Торец имеет радиальные канавки, разделяющие его на секторы. На каждом секторе для подвода масла из радиальных канавок выполнены скосы в соответствии с направлением вращения ротора. Упорные подшипники для правого и левого турбокомпрессоров отличаются расположением вырезов для распределения масла (смещены приблизительно на 30° от верхней точки по направлению вращения ротора) и направлением скосов на секторах упорного торца.
Подшипники смазываются из циркуляционной системы дизеля. Масло подводится к тройнику, прикрепленному к выпускному корпусу, от которого по'трубам через штуцер и отверстия в газовой улитке поступает к упорному подшипнику и через штуцер // и отверстия в выпускном корпусе / и проставке 10 — к опорному подшипнику.
Газовые и масляные уплотнения. Рабочее пространство турбины в местах выхода в масляные полости уплотнено лабиринтными уплотнениями, которые образованы гребешками 12 и 28 (см. рис. 15), за-вальцованными*'в протечки вала, и уплотнительными кольцами 14. Для исключения прорыва газов в среднюю "часть лабиринтного уплотнения подается сжатый воздух. В лабиринтное уплотнение, расположенное у упорного подшипника, воздух подается из нагнетательной полости нагнетателя по трубам, через штуцер, по отверстиям в в газовой улитке и отверстиям во втулке 27. В лабиринтное уплотнение у опорного подшипника воздух подается из воздушной улитки турбокомпрессора (пространство между диффузором 8 и проставком 10) по отверстию И (см. рис. .17) и отверстиям во втулке 9.
Подобным же образом (лабиринтным уплотнением и кольцом) отделяется воздушная полость высокого давления за колесом компрес* сора от масляной полости. Воздух, проходящий через лабиринтные уплотнения на колесе компрессора и проставке, выпускается по наклонным отверстиям в проставке, отверстиям в выпускном корпусе, а затем по трубам во входной патрубок турбокомпрессора.
Охлаждение турбокомпрессора. Для обеспечения требуемой работоспособности деталей и узлов, а также необходимых условий обслуживания турбокомпрессоры охлаждаются водой из системы охлаждения дизеля. Вода подводится в нижнюю часть выпускного корпуса. Часть воды из выпускного корпуса по двум отверстиям Д (см. рис. 17) поступает- на охлаждение проставка и по одному отверстию д (см. рис. 15) — на охлаждение газовой улитки. Движение воды по проставку осуществляется конвекционным способом. Вода из проставка через два отверстия Е (см. рис. 17) поступает в выпускной корпус, где смешивается с водой, охлаждающей его, и отводится через отверстие а (см. рис. 15) и газовую улитку и далее в систему охлаждения дизеля.
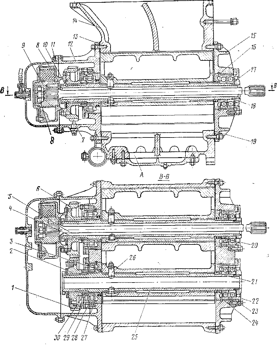
Нагнетатель. Нагнетатель объемного типа приводится от колей-чатого вала дизеля. Сверху к фланцу корпуса (рис. 18) нагнетателя прикреплен переходный патрубок к турбокомпрессорам. На боковых сторонах корпуса имеются каналы для прохода воздуха в ресивер дизеля. Роторы можно осматривать через окно А в нижней части корпуса. В крышке сделано отверстие, закрытое пробкой, для слива конденсата. Нагнетатель прикреплен к редуктору фланцем специальными болтами и шпильками.
Передняя 12 и задняя 15 крышки изготовлены из алюминиевого сплава. В крышки вставлены стальные втулки 24 и 27 для упорных шарикоподшипников 23 и роликоподшипников 28. Подшипники фиксируются во втулках нажимными фланцами 29 и 22. Роторы изготовлены из алюминиевого сплава. Лопасти роторов — спиральные, что обеспечивает плавную подачу воздуха и уменьшает шум во время работы нагнетателя.
Роторы соединены с валами 25 при помощи треугольных шлицев. Для фиксации ротора в осевом направлении, а также для частичного восприятия осевых нагрузок со стороны шестерни связи установлен конический штифт 26.
Рис. 18. Нагнетатель:
16 — шестерни связи; 2 - ступица; 3, 20 — уплотнительные кольца; 4 — кольцо; 5 — торсионный вал; 7 -сопло; «-упругая гайка; 9 -эластичная муфта; 10 --замочная пластина; //-"акрытае (кожух ; /2-передняя крышка; 13, 19 - прокладки; Н- корпус; 15 -задняя ГфышкаГ/6 - кольцо- 17 -шайба; 18 -гайка; 21 - втулка; 22, 29 - нажимные флан-няя крышка /6 й шк°льцо,]й подшшнн'к. м> ?7> 30 _ стальнЫе втулки: 25 - вал; 26 - конический штифт; 28 — роликовый подшипник; Л — окно
Рис. 19. Эластичная муфта:
/ — диск; 2 — уплотнительное кольцо; 3 — ведомая полумуфта; 4 — резиновый брусок; 5 — ведущая полумуфта; А — места посадки внутренней полумуфты
I На концы валов 25 напрессованы стальные втулки 30 и насажены втулки 21, в азотированных ручьях которых находятся упругие уплотнительные кольца 3 и 20 из пружинной стали с рабочей поверхностью, покрытой хромом. Радиально-упорные подшипники 23 напрессованы на валы и фиксированы гайками 18 со стопорными шайбами 17. Радиальные роликоподшипники напрессованы на втулки 30. Роликоподшипники 28, кольца 4 и шестерни связи 6 я 1 крепят на валах упругими гайками 8 со стопорными шайбами. Шестерни связи 6 я 1 соединены с валами прямоугольными шлицами. Шестерня связи / состоит из обода и ступицы 2, которые соединены болтами и зафиксированы штифтами.
Шестерни связи имеют косые зубья и изготовлены из легированной стали. Поверхности зубьев цементированы и закалены.
Шестерни связи закрыты с торца кожухом П. Масло для смазки подшипников качения подводится из масляной магистрали через редукционный клапан, снижающей давление до 0,7 кгс/см2, и далее к шарикоподшипникам через штуцеры с проходным отверстием диаметром 2 мм. Смазка шестерен связи производится из масляной магистрали дизеля через сопло 7 с проходным отверстием диаметром 2,5 мм. Передние шлицы торсионного вала 5 смазываются из масляной магистрали через установленный в закрытии 11 штуцер с проходным отверстием диаметром 2 мм.
Муфта эластичная (рис. 19). Эластичная муфта крепится ведомой частью к шестерне связи и служит для снижения ударных нагрузок, возникающих в системе привода нагнетателя. Муфта состоит из ведущей 5 я ведомой 3 полумуфт, между лопатками которых вставлены восемь резиновых брусков 4. Полость муфты и резиновые бруски натираются тальком и плотно закрываются диском 1. Уплотнительные войлочные кольца 2 не пропускают масло внутрь муфты. Ведущая полумуфта имеет шлицевое отверстие, в которое вставляется торсионный вал, передающий вращающий момент от редуктора и дополнительно сглаживающий ударные нагрузки.
От осевого смещения торсионный вал удерживается втулкой, упирающейся в пружинное кольцо, установленное в муфте.










