СИСТЕМА ТОПЛИВА
Система топлива дизеля обеспечивает: подачу топлива в камеру сгорания цилиндров в строго определенных порциях соответственно нагрузке и частоте вращения вала дизеля; подачу одинаковых порций топлива в каждый цилиндр дизеля для равномерного распределения нагрузки по цилиндрам; подачу топлива в цилиндры в определенные моменты рабочего цикла; правильное распределение топлива по всему объему камеры сгорания для полного использования всего имеющегося в ней воздуха.
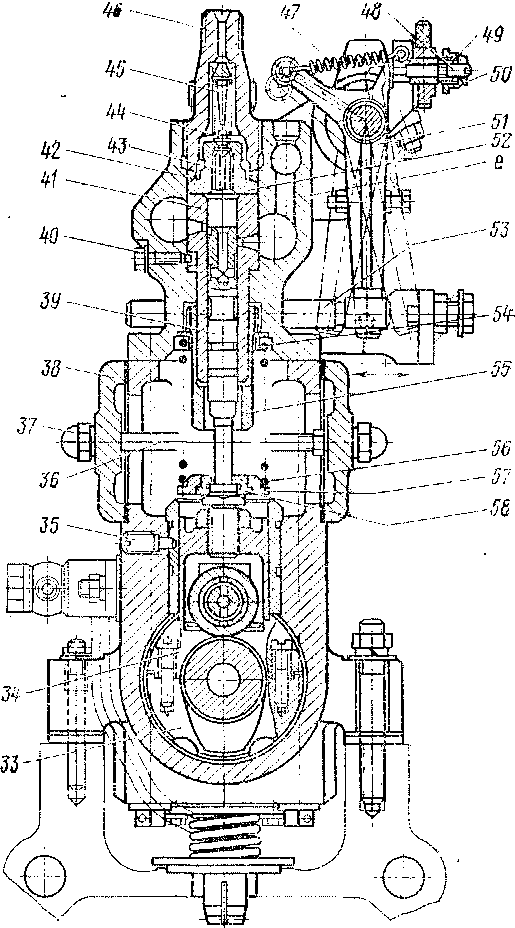
Топливный^ насос. Двенадцатиплунжерныи топливный насос (рис. 25) золотникового типа установлен в развале дизеля и крепится к лотку шпильками. Положение насоса на лотке фиксируется коническими штифтами.
Для удобства центровки под лапы насоса установлены металлические прокладки.
Топливный насос состоит из двух частей: нижней—привода плунжеров насоса, детали которого смонтированы, в корпусе 29, я верхней -г-насоса, детали которого смонтированы в корпусе 19. Корпуса 29 я 19 соединены анкерными связями 61, ввернутыми в корпус 19. В нижней части корпуса 29 расположены подшипники 1 кулачкового вала 32, а в верхней части запрессованы направляющие втулки 30.
Кулачковый вал изготовлен из легированной стали. Кулачки расположены на валу в соответствии с порядком работы цилиндров. Порядковый счет кулачков ведется с передней стороны дизеля. Шейки вала, лежащие в подшипниках 1, имеют радиальные отверстия для подвода масла к подшипникам и толкателям. С передней стороны кулачковый вал имеет фланец, ограничивающий его осевое перемещение, а с задней стороны—маслоотбойник и конусную часть, на которую установлена зубчатая полумуфта, соединяющая насос муфтой 26 с полумуфтой привода. В валу имеется отверстие, закрытое пробкой 3 с отверстием для подвода масла к трущимся поверхностям фланца вала и крышки 2. Полумуфта 21 крепится гайкой 24 и стопорится шайбой 27. Корпус закрыт крышками 2 я 20. В крышке 20 установлена резиновая манжета. Муфта закрыта крышками 22, которые стягиваются болтами 25.
Через отверстие, закрываемое пробкой 23, муфта заполняется графитовой смазкой. Подшипники вала состоят из верхнего вкладыша 34 я нижнего 33, соединенных винтами. В верхних половинах подшипников имеются отверстия для подвода масла к толкателям.
В нижних половинах, кроме крайней, со стороны зубчатой муфты имеются на наружной поверхности по две продольные канавки для прохода масла к штуцерам 28. Средний подшипник кулачкового вала имеет внутри кольцевую канавку и радиальное отверстие для подвода масла в осевой канал вала. Остальные подшипники в верхних половинах на внутренней поверхности имеют дуговую канавку. Подшипники стопорятся болтами 31, средний подшипник стопорится трубчатым штифтом 62.
Направляющие втулки 30, застопоренные винтами 35, имеют на внутренней поверхности продольный паз для фиксации толкателей. На наружной поверхности втулок имеются кольцевые канавки, в которые поступает масло из подшипников кулачкового вала. Из этих кольцевых канавок по радиальным отверстиям масло поступает в две продольные канавки на внутренней поверхности втулок и далее для смазки роликов.
На внутренней поверхности втулки 7 толкателя имеются кольцевая канавка и два отверстия для подвода масла к втулке и ролику. В оси ролика сделан канал, закрытый пробкой 5. Масло из канавок направляющей втулки толкателя по отверстиям в корпусе 8 я в оси 6 ролика поступает к втулке 7 и ролику 4. Для обеспечения совпадения ; масляных каналов ось ролика имеет хвостовик, входящий одновременно в паз корпуса толкателя и в паз направляющей втулки. Для повышения износоустойчивости и для предотвращения задиров трущихся поверхностей корпус толкателя, ось ролика и «плавающая» втулка изготовлены из легированных сталей и имеют закаленные поверхности. Закаливается также опорный торец регулировочного болта. Контргайка регулировочного болта изготовлена из легированной стали и термически обработана.
Боковые окна корпуса 29 закрыты крышками 38, крепящимися попарно шпильками 36 с гайками 37. Стыковые поверхности корпуса и крышек уплотнены резиновыми прокладками, приклеенными к крышкам клеем К-153. Внизу корпус имеет два отверстия, через которые по штуцерам 28 удаляется масло. Масло, просочившееся вверх по толкателям, сливается в нижнюю полость по двум отверстиям на концах корпуса.
В корпусе 19 расположены двенадцать втулок 41 и имеются три продольных канала: а, б я в. Через канал а подводится топливо к секциям насоса, а через канал б отводится топливо после подачи его в цилиндры. Канал б двенадцатью вертикальными каналами е соединен с продольным каналом в, из которого через канал г отводятся избыточное топливо и пена, получающаяся при отсечке топлива плунжерами. Для удаления воздуха в угольнике, ввернутом в отверстие канала г, имеется вентиль.
Для удаления воздуха и пены из подводящей полости каналы а и б соединены наклонными поперечными каналами. Каналы закрыты с торцов пробками. В канал а ввертывается штуцер 28 для присоединения топливоподводящего трубопровода.

Рис. 25.
1 — подшипник; 2, 20, 22, 38 — крышки; 3, 5, 23 — Ю — регулировочный болт; 11 — замок; 12, 62 — муфты- 18, 28, 46 — штуцеры; 19, 29 — корпуса; 21 — втулка- 31 — стопорный болт; 32 — кулачковый вал; втулки1 .42 — уплотннтельное кольцо; 43 — нагнетатель, гайки- 51 — рычаг; 52 — корпус клапана; 53 —рейка;
Топливный насос:
Пробки; 4 — ролик; 6—ось; 7 — «плавающая» втулка; 8— корпус толкателя; 9'—контргайка; штифты; 13, 16, 59, 60 — валики; 14 — откидная планка; 15 — вильчатый рычаг; 17, 26 — полумуфта; 24, 37, 49, 50 — гайки; 25 — болт; 27 — стопорная шайба; 30 — направляющая 33, 34 — вкладыши; 35, 40 — стопорные винты; 36 — шпилька; 39 — плунжер; 41, 55— пый клапан; 44. 47, 56 — пружины; 45 — упор клапана; 48 — регулировочный винт; 49, 50 — 54, 57, 58 — тарелки; 61 — анкерная связь; 63 — трехплечий рычаг; а, б, в, г, е — каналы
Втулка 41 плунжера в верхней части имеет одно наклонное.отверстие'для отвода просачивающегося топлива и два радиальных отверстия: верхнее (впускное) для впуска и нижнее (выпускное) для выпуска топлива во время отсечки. Втулка стопорится винтом 40, причем между торцом винта и втулкой установлен зазор во избежание деформации втулки и зависания плунжера. На верхний торец втулки установлены корпус 52 с нагнетательным клапаном 43, пружина 44 я упор 45 нагнетательного клапана.
Под штуцер 46 поставлено уплотннтельное кольцо 42, изготовленное из капрона. К штуцеру крепится форсуночная трубка. На нижнюю часть втулки 41 свободно надета втулка 55 с зубчатым венцом, сцепляющимся с рейкой 53. Венец втулки 55 удерживается снизу пружиной 56, опирающейся сверху на тарелку 54 и снизу на тарелки 57 и 58. Пружина через тарелку 58 прижимает плунжер к толкателю. Тарелка 58 имеет прорезь для монтажа. Легкость поворота плунжера рейкой обеспечивается зазорами между торцом венца и корпусом и между опорным буртом головки плунжера и торцом тарелки 58.
Плунжер 39 на боковой поверхности имеет углубление с двумя спиральными отсечными кромками: нижней ■— для регулировки количества подаваемого топлива и верхней—для уменьшения опережения подачи топлива при работе на малой частоте вращения. На цилиндрической поверхности плунжера имеются три кольцевых канавки: одна широкая и две узкие. Широкая канавка при любом рабочем положении плунжера по высоте соединена с наклонным отверстием втулки и отводит просочившееся топливо в канал б. Втулка и плунжер представляют собой комплект деталей, точно пригнанных друг к другу (прецизионные пары).
Отсечной механизм служит для перестановки реек соответственно нагрузке дизеля. К корпусу насоса прикреплены три кронштейна, в подшипниках которых установлен отсечной механизм, связанный с рычагами и рейками насоса. На валике 16 установлены вильчатые рычаги 15, закрепленные каждый шпонкой и двумя штифтами. В пазы рычагов с зазором установлены откидные планки 14, которые соединены с рычагами 15, валиками 13 и штифтами 12. Валики и штифты стопорятся замком 11. В откидную, планку ввинчивается регулировочный винт 48, упирающийся сферическим каленым концом в опорную-поверхность рычага 51. Винт 48 стопорится гайками 49 и 50. Рычаги 51 насажены на отсечном валике с зазором между проушинами рычагов. 15. Поверхности отверстия в рычаге 51 и шейки валика 16 закалены. В нижние концы рычагов 51 запрессованы пальцы для роликов, входящих в пазы реек. Пружины 47, закрепленные на валиках 59 и 60, прижимают рычаги 51 к регулировочным винтам. На отсечной валик насажен на шпонке трехплечий рычаг 63, в который ввернут болт,, ограничивающий положение реек при «нулевой» подаче топлива секциями, и запрессован упор, ограничивающий максимальную подачу. Конец отсечного валика через муфту 17 соединен с рычажной передачей регулятора. Отсечной механизм обеспечивает работу дизеля без остановки при выключении нескольких секций насоса и остановку дизеля при заклинивании реек.
Все механизмы топливного насоса смазываются маслом, поступающим из канала лотка к среднему подшипнику кулачкового вала. Далее масло поступает в. осевой канал вала, откуда подводится на смазку остальных подшипникцв и толкателей. С трущихся поверхностей масло стекает в корпус насоса и затем через сливные штуцера в картер дизеля.
Работа топливного насоса. Топливо подается плунжерами, движущимися вверх под действием кулачков и вниз силой нажатия пружин. Когда плунжер находится в нижнем положении, надплунжерное пространство через впускное отверстие во втулке 41 заполняется, топливом. При движении плунжера вверх до момента перекрытия верхней спиральной кромкой плунжера впускного отверстия втулки топливо частично вытесняется плунжером через это отверстие обратно в топливоподводящий канал.
После перекрытия впускного отверстия нагнетательный клапан поднимается под давлением топлива, находящегося над плунжером, топливо поступает к форсунке. Топливо подается в форсунку до тех пор, пока нижняя спиральная кромка плунжера не откроет выпускное отверстие втулки, после чего топливо из надплунжерной полости через отверстия в. плунжере и выпускное окно удаляется в канал б. Давление топлива над плунжером резко падает, и нагнетательный клапан силой нажатия пружины и топлива, находящегося в форсуночной трубке, прижимается к седлу, отсоединяя таким образом форсунку и форсуночную трубку от насоса. Затем при движении плунжера вниз надплунжерная полость вновь заполняется топливом первоначально из канала б, а затем в нижнем положении плунжера — через впускное отверстие из топливоподводящего канала.
Вследствие того что отсечные спиральные кромки плунжера направлены в разные стороны (правый и левый винты), при повороте плунжера во втулке изменяются продолжительность подачи и, следовательно, количество подаваемого топлива. Когда перекрытие впускного отверстия верхней кромкой плунжера и'открытие выпускного отверстия нижней кромкой происходят одновременно, подача топлива прекращается.
Привод топливного насоса и тахометра. Привод (рис. 26) установлен в развале блока и крепится к лотку и к закрытию привода распределительного вала. На конус вала 26 и шпонку 5 насажена шестерня 6, закрепленная гайкой 3 со стопорной шайбой 4. Ступица шестерни вращается в опорно-упорном подшипнике 7.
Шестерня 6 получает вращение от шестерни распределительного вала. Для фиксации шестерни 6 в осевом направлении к ней крепится упорный фланец /. В зазор между шестерней и фланцем входит бурт подшипника 7, торцовые поверхности которого являются рабочими. Подшипник 7 стопорится в корпусе штифтом 2. Второй конец вала 26 уложен в подшипник 23, запрессованный в корпус 21. На конусе вала 26 с сегментной шпонкой 27 установлена зубчатая полумуфта 28 привода насоса, закрепленная гайкой 30 со стопорной шайбой 29.
Масло к подшипникам 7 и 23 поступает из магистрали дизеля через два штуцера 22 и каналы а в корпусе 21. Резиновая манжета 24, расположенная в крышке 25, уплотняет привод от утечки масла вдоль вала.
На ступице шестерни 6 имеется конический зубчатый венец, приводящий во вращение через шестерню 8 со шпонкой 20 и зафиксированный коническим разводным штифтом 9 валик 17 привода тахометра. Валик 17 вращается в шарикоподшипниках // и 13. Упорный шарикоподшипник 13 крепится на валике гайкой 18 со стопорной шайбой 19. В корпусе 12 привода тахометра подшипник 13 фиксируется патроном 14. Внутреннее кольцо шарикоподшипника 11 зажато между буртом валика 17 и шестерней 8.
Валик 17 имеет на верхнем конце шип, который входит в прорезь гибкого валика 16 привода -тахометра. Бронзовая втулка 15, запрессованная в патрон 14, служит для центровки гибкого валика 16. Оболочка гибкого валика 16 крепится накидной гайкой к патрону 14. Верхний конец гибкого валика и оболочка крепятся к тахометру. Натяжение оболочки регулируется резьбовой втулкой и стопорится контргайкой. Тахометр крепится на кронштейне.
Форсунка. Топливо в камере сгорания распыливается форсункой (рис. 27). К нижнему торцу корпуса 7 форсунки крепятся колпаком 3 корпус распылителя 2 и сопло /. Для совпадения топливоподво-дящих каналов в корпусах распылителя 2 имеется кольцевая канавка. Торцовые поверхности корпуса форсунки, корпуса распылителя, сопла и уплотнительного торца колпака тщательно прошлифованы и притерты, что обеспечивает уплотнение сопрягаемых поверхностей.
8 конусной части сопла 1 просверлены на равных расстояниях по окружности семь отверстий диаметром 0,4 мм, через которые топливо впрыскивается в камеру сгорания.
В корпусе 2 помещена игла 4, разобщающая внутреннюю полость форсунки и камеру сгорания. Корпус распылителя и игла представляют комплект деталей, точно пригнанных друг к другу (прецизионные детали).
Игла в корпусе уплотнена узким пояском, расположенным у основания опорных конусов иглы и корпуса. Подъем иглы ограничивается упором ее в торец корпуса форсунки, который для повышения износоустойчивости цементирован и закален. Игла прижимается к конусу корпуса распылителя пружиной 8 и штангой 6. В нижней части штанга имеет конусную выточку для опоры на сферический торец хвостовика иглы. Пружина затягивается регулировочным винтом 10, который в верхней части стопорится гайкой 14 и контргайкой 12. Контргайка 12 фиксируется замочной пластиной 20, которая крепится к корпусу болтами 21-г Болты связаны проволокой и пломбированы.
Величина затяжки пружины устанавливается по давлению топлива, соответствующему моменту начала подъема иглы. Это давление должно быть 320+5 кгс/см2. Между винтом и пружиной установлена тарелка 9. При работе под действием пружины штанга 6, пружина и тарелка 9 вместе поворачиваются вокруг своей оси, при этом тарелка
9 скользит по торцу регулировочного винта, а штанга — по сфере хвостовика иглы. Для обеспечения износоустойчивости и прочности корпуса распылителя игла, сопло, штанга, регулировочный винт и тарелка пружины изготовлены из легированной стали и закалены. Между корпусом форсунки 7, контргайкой 12 и гайкой 14 установлены медные прокладки 13 и //.
Для отвода просочившегося топлива имеются отверстия в тарелке 9, винте 10, гайке 14. Топливо отводится через трубку 16, которая крепится к гайке 14 накидной гайкой 15. При эксплуатации возможно незначительное просачивание топлива через стыковые соединения корпуса распылителя с соплом и корпусом форсунки. Для удаления этого топлива в корпусе форсунки имеется канал б.
Рис. 27. Форсунка:
/ — сопло; 2 — корпус распылителя; 3 — колпак; 4 — игла; 5, ід _ резиновые кольца; 6 — штанга; 7 - корпус; 8 - пружина; 9 — тарелка; 10 — регулировочный виит; 11, 13 - медная прокладка; 12 - контргайка; 14 — гайка; 15 — накидная гайка; 16 — трубка; 17 — стержень; 18 — корпус фильтра; 20 — замочная пластина; 21 — болт; а, б, в, г — каналы
Внутренняя полость колпака уплотнена резиновым кольцом 5. Резиновое кольцо 19 препятствует попаданию масла из крышки цилиндра в гнездо форсунки. Для обеспечения одинаковой затяжки на колпаке 3 в верхней цилиндрической части имеются сорок восемь равномерно расположенных по окружности продольных меток.
Сопло форсунки предохраняется от засорения твердыми частицами и от попадания их в зазор между иглой и направляющей корпуса распылителя установкой в форсунке щелевого фильтра высокого давления. Фильтр состоит из корпуса 18 и стержня 17, шаровая головка которого прижимается к посадочному гнезду в корпусе форсунки. На боковой поверхности стержня имеются продольные канавки. Топливо подается в форсунку насосом высокого давления по форсуночной трубке и поступает в щелевой фильтр. Проходя через кольцевой зазор между корпусом 18 и стержнем 17, топливо фильтруется и поступает в каналы а я в, затем в канал г. При достижении в канале г определенного давления игла поднимается и топливо через рас-пыливающие отверстия впрыскивается в камеру сгорания цилиндра. При отсечке в насосе давление топлива в системе падает, игла садится на седло и впрыск топлива в цилиндр прекращается. Форсунка крепится к крышке цилиндра двумя шпильками.
Клапан подпорный топливной системы. Подпорный клапан (рис. 28) топливной системы обеспечивает необходимую величину давления в отводящей топливной магистрали. Он отрегулирован на давление 1,0—1,3 кгс/см2 и установлен в трубопроводе, отводящем излишки топлива в расходный топливный бак. При давлении в трубопроводе 1,3 кгс/см2 клапан открыт. При падении давления ниже 0,8—0,9 кгс/см2 клапан закрывается, отвод топлива прекращается и давление в трубопроводе возрастает до нормального.
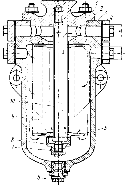
Фильтр грубой очистки топлива. Фильтр (рис. 29) состоит из корпуса и фильтрующего пакета, соединенного фланцем с корпусом
3 и закрепленного четырьмя шпильками. Стык между корпусом и крышкой уплотнен резиновым кольцом 2. Стержень 10 имеет трехгранную форму и два резьбовых конца. Одним концом стержень соединен неразъемно (на клею) с крышкой. Фильтрующие элементы прикреплены к стержню гайкой 8, навернутой на второй конец стержня. Между последним элементом и гайкой установлена шайба 9, застопоренная пазами и выступами стержня. Шайба 9 предохраняет элементы от скручивания гайкой во время ее затяжки. Фильтрующий элемент образован гофрированной диафрагмой и сетками (опорной и фильтрующей), завальцованными в ободках.
Топливо поступает в корпус фильтра снаружи фильтрующих элементов, проходя через сетки, попадает внутрь элементов и в выемки трехгранного стержня, откуда через верхнюю часть корпуса и крышку отводится из фильтра. Посторонние частицы размером более 45 мкм задерживаются сеткой, осаждаются на ее поверхности и скапливаются в нижней части корпуса фильтра, где установлена пробка 6 с боковым отверстием для периодического слива отстоя и грязи.
Фильтр тонкой очистки топлива. Фильтр (рис. 30) имеет два фильтрующих элемента 4, расположенных в отдельных корпусах 9, объединенных общей крышкой 7. Для разделения полостей грязного и чистого топлива фильтрующий элемент сверху и снизу- уплотнен сальниками 3 и б из ма-слобензостойкой резины. В крышке 7 фильтра имеется стальная резьбовая втулка, в которую ввернут стержень с болтом, имеющим отверстие с шариковым клапаном. В нижнюю часть болта для уплотнения шарика установлен ниппель 1 с накидной гайкой. Для слива отстоя при промывках к нижнему концу ниппеля можно подсоединять гибкий шланг. В рабочем положении фильтра топливо через топ-ливоподводящий штуцер, каналы в крышке попадает в полости корпусов, проходя через фильтрующие элементы, а затем по центральным каналам стержней и каналам в крышке проходит к топ-ливоотводящему штуцеру.
Для переключения одной из секций на промывку в крышке имеется кран. Для выпуска воздуха установлены болты 8, конструкция которых предусматривает возможность подсоединения трубопровода для отвода пены. Для обеспечения нормальной работы фильтра и увеличения срока его службы необходимо периодически сливать отстой и промывать фильтрующие элементы обратным потоком топлива. Отстой сливают поочередно отвертыванием накидной гайки сливного ниппеля на 2—3 оборота. Промывка фильтров не требует остановки дизеля и разработки фильтра. Для промывки поворачивают на 90° кран переключения, при этом секция, в сторону которой направлена короткая риска на торце пробки крана, продолжает работать, а другая секция подготовлена к промывке. Далее, отвертывают на 3—4 оборота накидную гайку сливного ниппеля. При этом топливо от подводящего штуцера через отверстие в кране попадает в рабочую секцию, проходит через фильтрующую секцию и идет по каналу к отводящему штуцеру. Часть очищенного топлива по такому же каналу поступает в центральную полость фильтрующего элемента, затем, проходя через фильтрующий элемент (в обратном направлении), со смытой грязью идет на слив через отверстие ниппеля. Промывку ведут до появления светлой струи топлива, после чего накидную гайку ниппеля завертывают.
Рис. 29. Фильтр грубой очистки топлива:
1 — крышка; 2 — резиновое кольцо; 3 — корпус; 4 — фланец; 5 — фильтрующий элемент; б — пробка; 7 — шплинт; 8 — гайка; 9 — шайба; 10 — стержень
Аналогично промывают и вторую секцию фильтра.
Рис. 30. Фильтр тонкой очистки топлива:
/ — ниппель; 2 — шарик; 3, б — сальники; 4 — фильтрующий элемент; 5 — стержень; 7 — крышка; 8 — болт для выпуска воздуха; 9 — корпус; 10 — кран переключения










