РЕДУКТОРЫ
Передний распределительный редуктор. Передний распределительный редуктор (рис. 148) — это простой по конструкции цилиндрический редуктор с косозубыми шестернями, расположенными в один ряд. Направление вращения ведущего вала (если смотреть со стороны привода) по часовой стрелке. В литом чугунном корпусе редуктора на шарикоподшипниках поставлены пять валов. Корпус редуктора состоит из верхнего 3 и нижнего 2 картеров, соединенных между собой шпильками, которые ввернуты в приливы на внутренней стороне стенки нижнего картера. Аналогичные приливы с отверстиями имеются и на верхнем картере. Гайки на шпильках затягивают через два люка, расположенных сверху верхнего картера. Люки закрывают крышками с прокладками и крепят на шпильках. Для фиксации взаимного расположения картеров служат четыре призонных болта (по краям редуктора). По плоскости разъема картеры уплотнены шелковой нитью толщиной 0,1—0,2 мм. В картерах для установки валов имеются пять продольных расточек, в которые установлены гнезда подшипников. Гнезда подшипников 10 ведущего вала и вала привода двухмашинного агрегата устанавливают с зазором 0—0,067 мм, остальных валов — с зазором 0—0,058 мм.
Редуктор имеет картерную систему смазки. Масло разбрызгивается двумя наибольшими по диаметру шестернями 19 и 20. Для уменьшения вспенивания масла шестерни отделены от всего объема масла поддоном, который закреплен болтами к приливам нижнего картера. Масло в поддон из картера поступает через два отверстия диаметром 5 мм. Над каждой расточкой находятся корытообразные выступы, образующие ванночки для сбора масла, разбрызгиваемого шестернями, которое поступает через отверстия к подшипникам валов. В нижнем картере имеется прилив для установки масломерного щупа.
Редуктор установлен на фундамент на четырех лапах," расположенных на нижнем картере, и укреплен четырьмя болтами. В расточки картеров устанавливают валы в сборе. Для этого на них напрессовывают шестерни, втулки и кольца лабиринтов, шарикоподшипники и фланцы. Детали, монтируемые с натягом при сборке, нагревают до температуры 200° С, а подшипники — до 90—100° С.
Шестерня ведущего вала имеет 59 зубьев, вала привода вентилятора охлаждения тягового генератора — 34 зуба, вала привода вентилятора охлаждения тяговых двигателей и промежуточного вала — 40 зубьев и вала привода двухмашинного агрегата — 49 зубьев. Все шестерни напрессовывают с натягом 0,045—0,105 мм. Ведущий вал и вал привода двухмашинного агрегата опираются на шарикоподшипники № 312,. внутренние кольца которых насаживают на валы с натягом 0,003—0,038 мм, внешние кольца устанавливают в гнезда с зазором 0,0—0,058 мм. Остальные валы опираются на шарикоподшипники № 36210, внутренние кольца которых насаживают на валы с натягом 0,003—0,032 мм, а внешние кольца устанавливают в гнезда с зазором 0,0—0,050 мм. Все насаживаемые на валы детали напрессовывают до упора в бурты валов или в торцы сопрягаемых деталей. Гнезда подшипников 6, 10 (со стороны фланцев) имеют бурты, в которые упираются наружные кольца подшипников, а с другой стороны эти кольца зажаты торцами крышек. С другой стороны вала гнезда подшипников9, 12, 14 буртов не имеют, а крышки устанавливают так, чтобы между наружным кольцом подшипника и торцом крышек был зазор 0,5—1,5 мм, что обеспечивает необходимый осевой разбег шестерен. Этот зазор регулируют паронитовыми прокладками, устанавливаемыми под фланцы гнезд подшипников и крышек. Суммарный осевой разбег шестерни 13 промежуточного вала должен быть 0,5—1,5 мм, что обеспечивается отсутствием буртов у гнезд подшипников и зазорами между торцами крышек и внешними кольцами шарикоподшипников. При установке крышек гнезд подшипников со стороны приводов кольцевые канавки в них заполняют консистентной смазкой. Хвостовики валов, на которые напрессовывают фланцы и шкив, имеют конусность 1 : 50. Перед установкой фланцев и шкива проверяют осевой натяг (в холодном состоянии), который должен быть для фланцев ведущего вала и вала привода двухмашинного агрегата 3—7 мм, для остальных фланцев и шкива — 2,5— 6,5 мм. Для обеспечения этого натяга допускается подшлифовка торцов фланцев и шкива. Кроме того, эти детали проверяют на прилегание сопрягаемых поверхностей по краске. Пятно контакта при этом должно располагаться равномерно по поверхности и занимать не менее 85% поверхности сопряжения. Каждый вал со стороны привода имеет лабиринтное уплотнение, состоящее из кольца лабиринта 5, бурт которого входит в проточку крышки, и насаженной на вал втулки 4. Лабиринтное кольцо и втулка на наружной поверхности имеют винтовую масло-сгонную канавку. Для демонтажа шестерен, шкива и фланцев при помощи, гидравлического съемника в торцах валов предусмотрены каналы, которые соединены с цилиндрическими канавками на посадочных поверхностях.
Давление масла, необходимое для распрессовки, должно быть 1000—2000 кгс/см2 (98—196 МПа). Собранные валы должны вращаться в подшипниках свободно без заеданий.
Валы устанавливают в корпус редуктора так, чтобы пазы для слива масла в гнездах подшипников и крышках совпадали между собой и были ориентированы вниз, а пазы для смазки подшипников — вверх и совпали со смазочными отверстиями в корпусе. После сборки редуктора проверяют вращение валов и шестерен, оно должно быть свободным, без рывков и заклиниваний в зубьях и подшипниках. Боковой зазор между зубьями должен быть в пределах 0,105—0,30 мм при разности зазоров в паре сопряженных шестерен не более 0,08 мм. Для обеспечения этого зазора допускается подбор шестерен. Прилегание зубьев шестерен контролируют по краске. Отпечаток по краске должен быть на участке не менее 60% высоты зуба и не менее 70% его длины. На 10% зубьев допускается отпечаток не менее 50% длины.
Окончательно собранный редуктор обкатывают на стенде при частоте вращения ведущего вала 1500 ± 50 об/мин на холостом ходу в течение 0,5 ч и под нагрузкой 70 л. с. (51,5 кВт). При этом не должно быть ненормальных стуков, прерывистого шума, ударов и течей смазки. Редуктор обкатывают на масле, применяемом для смазки дизеля. Температура "масла в редукторе при обкатке не должна превышать 90° С.
Техническая характеристика переднего редуктора
- ведущего.............. 1500
- привода двухмашинного агрегата..... 1800
- привода вентилятора охлаждения тягового генератора............. 2200
- приводах вентилятора охлаждения тяговых двигателей и подвозбудителя...... 2600
Мощность, передаваемая валами л. с, (кВт):
- ведущим..............69 (51,5)
- привода двухмашинного агрегата..... 37 (27)
- привода вентилятора охлаждения тягового генератора............. 12 (9)
- привода вентилятора охлаждения тяговых двигателей и подвозбудителя.....17 (12,5)
- Масса редуктора, кг........... 292,5
Частота вращения валов (при 750 об/мин коленчатого вала дизеля), об/мин:
Задний распределительный редуктор. Так же как и передний редуктор, задний редуктор (рис. 149) имеет цилиндрические, косозубые шестерни, вертикально расположенные. В редукторе установлены три вала: ведущий вал 12, вал привода гидромуфты холодильной камеры 8 и вал привода вентилятора охлаждения тяговых электродвигателей задней тележки 17. Первые два вала опираются на шариковые подшипники № 312, а третий — на шариковые подшипники № 36210. Сборка валов производится аналогично сборке валов переднего распределительного редуктора с теми же посадками. На ведущий вал напрессована шестерня с 99 зубьями, на вал привода гидромуфты — с 37 зубьями и на вал привода вентилятора охлаждения — с 28 зубьями, которая входит в зацепление с шестерней вала привода гидромуфты. Направление вращения ведущего вала (если смотреть со стороны привода) по часовой стрелке.
Корпус редуктора, состоящий из верхнего 6 и нижнего 9 картеров, имеет три расточки, оси которых параллельны между собой. Ось верхней расточки лежит в плоскости разъема картеров, В эту расточку устанавливают собранный ведущий вал так же, как и ведущий вал переднего редуктора. Каждая из двух нижних расточек со стороны привода имеет диаметр больший, чем диаметр вершин зубьев соответствующей шестерни, что позволяет собранные валы привода вентилятора охлаждения тяговых двигателей и гидромуфты устанавливать в картере. В верхнем картере предусмотрен люк, закрываемый крышкой, через который осматривают шестерни редуктора. В крышке люка имеется клапан-сапун. После установки валов проверяют боковой зазор между зубьями шестерен, который должен быть в пределах 0,1—0,4 мм при разности зазоров в паре сопрягаемых шестерен не более 0,05 мм. Для , обеспечения этих зазоров допускается подбор шестерен. Вращение валов редуктора должно быть свободным, без рывков и заклиниваний в зубьях шестерен и подшипниковых узлах.
Система смазки редуктора принудительная. Масло подается из системы тепловоза под давлением 0,3—0,7 кгс/см2 в ороситель, который представляет собой штуцер с трубкой, имеющей отверстия. Ороситель установлен на нижнем картере так, что его трубка проходит вблизи шестерен / и 5. Масло из отверстий попадает на зубья шестерен и разбрызгивается ими внутри корпуса редуктора. Разбрызгиваемое масло попадает в корытообразные выступы над подшипниками и из них по отверстиям поступает на смазку подшипников. Масло, 'собирающееся на дне картера, отсасывается лопастным насосом через сетчатый фильтр и по трубке направляется в общую сливную трубу масляной системы тепловоза. Масляный лопастной насос на шпильках закреплен ' на нижнем картере, и его фланец является крышкой подшипника вала привода гидромуфты. Насос приводится от вала привода гидромуфты, для чего в отверстие торца вала ■впрессована втулка, застопоренная штифтами. В эту втулку входит четырехгранный хвостовик валика насоса.
Рис. 149. Редуктор распределительный задний:
5, 13 — шестерни; 2, 4, 7, 10, 14, 15 — гнезда подшипников; 3, 11, 16 - фланцы; 6 - картер верхний; 8, 12, 17 — валы; 9 — картер нижний
1 — фланец; 2, // — лопасти; 3 — средняя часть. 4 — крышка; 5 — штифт; б — пробка; 7— прокладка; 8 — валик; 9, 12 — втулки; В — нагнетательная полость
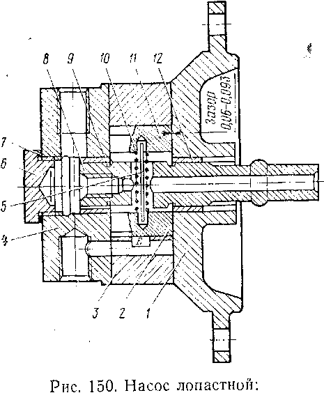
Лопастной масляный насос. К средней части насоса (рис. 150) с торцов примыкают фланец / и крышка 4, пришабренные и притертые к средней части. Взаимное положение средней части, крышки и фланца, скрепленных между собой при помощи четырех шпилек, фиксируется штифтами. Валик 8 насоса вращается в двух бронзовых втулках 9,12: (зазор 0,025—0,130 мм), запрессованных в крышку и фланец (натяг 0,012—0,05 мм). На утолщенной части валика 8 имеется два паза, куда входят лопасти 2 и 11 (зазор 0,016—0,069 мм). Для направления лопастей служит штифт 5, проходящий через канал в валике, с надетой на него пружиной, которая прижимает лопасти к корпусу насоса. Лопасти вращаются в цилиндрической расточке корпуса (осевой зазор 0,06—0,093 мм), имеющей две серповидные полости (всасывающую и нагнетательную), расположенные под углом 90°. Ось вращения валика смещена в сторону полостей, при этом зазор между валиком 8 и средней частью 3 около перемычки должен быть 0,02—0,05 мм.
При вращении валика 5 против часовой стрелки (если смотреть со стороны привода редуктора) полость В будет нагнетательной. Эти полости через каналы и штуцера соединены с соответствующими трубками. При вращении валика и пересечении кромками лопастей срезов всасывающей полости за сбегающей кромкой лопасти образуется разрежение и происходит засасывание масла, а набегающей кромкой другой лопасти это масло выдавливается-в нагнетательную полость В. В собранном лопастном насосе валик должен легко проворачиваться от руки без заклиниваний и заеданий. Насос испытывают на стенде при частоте вращения валика 2000 об/мин, при этом производительность должна быть не менее 14 л/мин (при температуре масла 50— 60° С) и высота всасывания — не менее 300 мм.
После установки насоса на редуктор проверяют наличие люфта между квадратным хвостовиком валика насоса и гранями втулки запрессованной в вал, в четырех диаметрально противоположных, положениях вала привода гидромуфты. Люфт должен быть не менее 10 мм на плече 180 мм. Для этого вывертывают пробку 6 из крышки насоса и в отверстие валика завертывают болт, к которому крепят рычаг длиной 180 мм. По свободному ходу валика замеряют люфт. Для обеспечения этого люфта допускается подбор насоса.
Обкатка редуктора. Окончательно • собранный редуктор обкатывают на стенде при частоте вращения ведущего вала 750 об/мин на следующих режимах: на холостом режиме в течение 0,5 ч, под нагрузкой 100 л. с. (73,5 кВт) в течение 1 ч. При обкатке редуктора для его смазки применяют масло, идущее на смазку дизеля. Давление масла, подаваемого на смазку, должно быть 0,3—0,7 кгс/см2 (29—68 кПа) и температура не выше 90° С.
Техническая характеристика заднего редуктора
- ведущего.............. 750
- привода гидромуфты ......... 2010
- привода вентилятора охлаждения тяговых двигателей............. 2650
Мощность, передаваемая валами, л. с. (кВт):
- ведущими............... 97,5 (71,7)
- привода гидромуфты ......... 81,5 (60)
- привода вентилятора охлаждения тяговых двигателей............. 16 (11,8)
- Масса редуктора, кг........... 227,3
Частота вращения валов, об/мин (при 750 об/мин коленчатого вала дизеля):










