ГЛАВА
6
РЕДУКТОРЫ И ПРИВОДЫ ВСПОМОГАТЕЛЬНЫХ МЕХАНИЗМОВ
УСТАНОВКА РЕДУКТОРОВ И ПРИВОДОВ
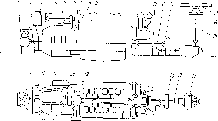
Отбор мощности на привод вспомогательных механизмов, обеспечивающих работу силовой установки, производится как со стороны генератора, так и со стороны холодильной камеры. Со стороны генератора (рис. 147) расположены: передний распределительный редуктор, двухмашинный агрегат, вентиляторы охлаждения тягового генератора и тяговых электродвигателей, синхронный подвозбудитель, компрессор КТ7. Привод переднего редуктора, двухмашинного агрегата и компрессора осуществляется через пластинчатые муфты, привод вентиляторов — через карданы, а привод подвозбудителя — через клиноре-менную передачу. Передний редуктор, двухмашинный агрегат, подвозбудитель установлены на тяговом генераторе. Редуктор приводится от вала отбора мощности дизеля, а привод двухмашинного агрегата, подвозбудителя и вентиляторов охлаждения тягового генератора и тяговых электродвигателей осуществляется от переднего распределительного редуктора. Компрессор установлен на сварном фундаменте, который после центровки компрессора с валом тягового генератора» приваривается к настилу рамы. Привод компрессора осуществляется от вала тягового генератора.
Рис. 147. Приводы вспомогательных механизмов тепловоза:
/ — компрессор: 2, 7, 12, 17, 20 — муфты полужесткие; 3 — вентилятор охлаждения тягового генератора; 4, 10, 15, 21 — карданные валы; 5 — двухмашинный агрегат; 6 — редуктор распределительный передний; 8 — тяговый генератор; 9 — дизель; // — вентилятор охлаждения тяговых электродвигателей задней тележки; 13 — вентиляторное колесо; 14 — подпятник вентилятора; 16 — гидропривод вентилятора; 18 — редуктор распределительный задний; 19 — кли-иоременная передача; 22 — вентилятор охлаждения электродвигателей передней тележки; 23 — подвозбудитель
Со стороны холодильной камеры расположены задний распределительный редуктор, вентилятор охлаждения тяговых электродвигателей и гидропривод вентилятора холодильной камеры. Привод вентилятора и гидропривода осуществляется от заднего редуктора через пластинчатые муфты. Задний распределительный редуктор приводится от вала дизеля через карданный вал. Все механизмы со стороны холодильной камеры установлены на настиле рамы. Установку механизмов (со стороны холодильной камеры) начинают с установки вентилятора охлаждения тяговых электродвигателей.
Относительно вентилятора центрируют задний распределительный редуктор, относительно редуктора — гидропривод.










