КАРДАННЫЕ ВАЛЫ И ПЛАСТИНЧАТЫЕ МУФТЫ
Карданные валы и их установка. На тепловозе применяются два вида карданных валов одинаковых по конструкции, но различающихся по размерам. Два карданных вала малого размера (одинаковых) служат для привода вентиляторов охлаждения тягового генератора и тяговых электродвигателей передней тележки, а два карданных вала большего размера (отличаются длиной) — для привода заднего редуктора и вентилятора холодильной камеры.
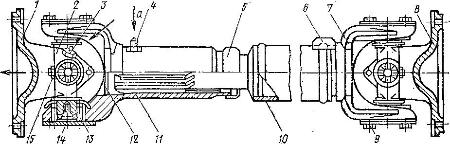
Карданный вал (рис. 151) состоит из двух головок, соединенных между собой трубой. В головку кардана входят фланцы 1 и 8, вилка 7, крестовина 2, игольчатые подшипники 13. К одной из вилок (скользящей вилке //) приварен шлицевой вал, к другой 7 — труба 10 со шли-цевой втулкой. Для удержания и предохранения подшипников от грязи на выступы цапф крестовины напрессованы уплотнительные кольца с пробковыми сальниками. Стаканы игольчатых подшипников вставляют в отверстия ушек фланца и вилки и стопорят крышками, закрепленными при помощи болтов. У малых карданных валов эти ста каны стопорят пружинными кольцами. Шлицевое соединение с одной стороны закрыто заглушкой, установленной в торце вилки, а с другой стороны уплотнено войлочным сальником, затянутым обоймой 5.
Подшипники карданных валов смазываются через пресс-масленки, установленные на крестовинах, и смазка по каналам в цапфах крестовин поступает к подшипникам. В центре крестовин размещен предохранительный клапан, предназначенный для выпуска лишней, смазки при заполнении ею полостей крестовин и подшипников. Поэтому смазку запрессовывают до обильного ее появления из предохранительного клапана. Для смазки шлицевого скользящего соединения на трубе установлена также пресс-масленка 4.
При сборке карданных валов масленки крестовин и шлицевого соединения располагают в одной плоскости и по одну сторону от оси вала, при этом ушки обеих вилок должны лежать в одной плоскости (у малых карданных валов отклонение допускается в пределах 5°). Вилки и фланцы должны легко без заеданий поворачиваться на крестовине. Осевой люфт на цапфах крестовины не должен превышать 0,25 мм. Для обеспечения этого люфта допускается на больших карданах установка не более одной прокладки из фольги толщиной 0,05 мм под крышки противоположных подшипников (установка прокладки под одну крышку не допускается). На малых карданных валах этот люфт обеспечивается подбором толщины стопорных колец. Разрешается на противоположные подшипники устанавливать кольца толщиной до 2,55 мм. Люфт в. шлицевом соединении у больших карданных валов допускается не более 0,14 мм на радиусе 27 мм при вращающем моменте 70 кгс • м и малых при том же вращающем моменте — 0,25 мм на радиусе 35 мм. Люфт обеспечивается подбором скользящей вилки к вилке со шлицевой втулкой.
Полностью собранные карданные валы подвергают динамической балансировке для уменьшения воздействия неуравновешенных масс на подшипники, валы, крестовины и шлицевые соединения. Биение валов при этом допускается у больших карданов не более 1 мм, у малых — не более 0,6 мм, Балансируют валы на специальных станках.
Рис. 151. Карданный вал привода заднего распределительного редуктора и вентилятора холодильной камеры: 1,8 — фланцы; 2 — крестовина; 3, 4 — пресс-масленки; 5 — обойма сальника; 6 — балансировочный груз; 7—вилка; 9 — болт; 10 — труба карданного вала; // — вилка скользящая; 12 — заглушка; 13 — подшипник игольчатый; 14 — крышка подшипника; 15 — клапан предохранительный; а — смазка
Дисбаланс устраняют поворотом скользящей вилки на 180° и приваркой балансировочных грузов. Дисбаланс для больших карданов допускается не более 120 гс • см, для малых—■ не. более 45 гс • см. После балансировки на валах выбивают стрелки, которые указывают взаимное положение вилок кардана.
При установке карданных валов выдерживают смещение осей: ведущего вала заднего распределительного редуктора и приводного вала дизеля на величину 55,5І"з5 мм, вертикального вала гидропривода и вала подпятника вентилятора холодильной камеры на величину не менее 10 мм вала переднего редуктора и вала вентилятора охлаждения тяговых электродвигателей на величину 61 мм (в горизонтальной плоскости), вала переднего редуктора и вала вентилятора охлаждения тягового генератора на величину 57 мм (в вертикальной плоскости). Непараллельность фланцев механизмов, соединяемых карданными валами, допускается не более 1,5 мм на диаметре 205 мм в четырех диаметрально противоположных точках. При длительной эксплуатации карданных валов на контактных поверхностях, передающих усилие (шипов крестовин и стаканов подшипников), могут образовываться вмятины (бренелирование) от игольчатых роликов подшипника. В этих случаях для увеличения срока службы карданов рекомендуется поменять контактные поверхности шипов и стаканов, для чего крестовину поворачивают на 90°- вокруг оси вала, а стаканы на 180° вокруг своей оси и в таком положении собирают карданы.
Пластинчатые муфты и их установка. Пластинчатые муфты (рис. 152 и 153), применяемые на тепловозе, по конструкции одинаковы и отличаются только размерами. Промежуточный вал (траверсы) 3 муфты имеет с каждой стороны по три лапы, которыми через диски 2 и 4 они соединены с одной стороны с фланцем ведущего вала, с другой стороны — с фланцем ведомого вала. Диски толщиной 0,5 мм выполняются трех размеров: одни — диаметром 285 мм для муфт привода компрессора и переднего редуктора, другие — диаметром 220 мм для муфты гидропривода вентилятора и третьи — диаметром 167 мм для муфт привода двухмашинного агрегата и вентилятора охлаждения тяговых двигателей задней тележки,
В комплекты муфт с дисками диаметрами 285 и" 220 мм входит по 44 диска (по 22 с каждой стороны) и с диаметром 167 мм—< 36 дисков (по 18 с каждой стороны).
При установке муфт конические посадочные поверхности проверяют на взаимное прилегание друг к другу по краске. При этом пятна прилегания должны равномерно располагаться по площади и занимать не менее 75% сопрягаемых поверхностей. В собранной муфте лапы промежуточного вала сдвинуты относительно лап фланцев на 60°. Такое расположение лап и крепление дисков (через-сферические шайбы) позволяет работать соединенным механизмам при некотором расхождении их валов за счет изгиба пластин.
К механизмам, соединяемым пластинчатыми муфтами, предъявляются определенные требования по проверке соосности соединяемых валов. При установке механизмов в процессе их центровки может быть три вида несоосности: смещение геометрических осей валов, соединяемых механизмов; геометрические оси механизмов установлены под.углом друг к другу (перекос осей); геометрические оси смещены и повернуты, т. е. имеет место перекос и смещение. При центровке механизмов величины перекоса и смещения доводят до допустимых значений. Проверку соосности валов производите помощью стрелок, устанавливаемых на фланцах центруемых механизмов. При установке механизмов центровку производят: переднего редуктора относительно вала отбора мощности дизеля; двухмашинного агрегата относительного переднего редуктора; заднего редуктора относительно вентилятора охлаждения тяговых электродвигателей; гидропривода вентилятора относительно заднего редуктора; компрессора относительно тягового генератора. При этом разность замеров перекоса и смещения по'стрелкам (размер /<) в четырех диаметрально противоположных точках за один оборот должна быть не более 0,2 мм на радиусе 180—190 мм (см4, рис. 153) при центровке двухмашинного агрегата и заднего редуктора и не более 0,3 мм на радиусе 150—160 мм при центровке компрессора, переднего редуктора и гидропривода вентилятора. Этих величин перекоса и смещения добиваются в горизонтальной плоскости за счет перемещения механизма в стороны и в вертикальной плоскости за счет установки прокладок под лапы механизма. Во всех случаях количество прокладок должно быть не более 6 шт., а толщина пакета прокладок для всех механизмов, кроме компрессора, — не более 10 мм. Для компрессора толщина пакета прокладок должна быть не более 5 мм, при этом прокладок толщиной 1, 0,5 и 0,15 мм должно быть не более2 шт. каждой. Положение механизмов фиксируют коническими штифтами. После крепления механизмов в зоне размещения крепежных болтов щуп 0,05 мм не должен доходить до стержня болта. При сборке пластинчатых муфт разность замеров по краю пакетов дисков, прижатых к валу (траверсе), и краю пакетов (дисков), прижатых к фланцам (размер Л),-должен быть не более 1 мм. Эту величину разности замеров обеспечивают установкой шайб соответствующей толщины между пакетами дисков и лапами промежуточного вала (толщина шайб "5—6 мм).
Во время эксплуатации тепловоза следует периодически проверять затяжку болтов, крепящих пакеты дисков, так как ослабление затяжки приводит к поломке дисков и разработке отверстий под болты в лапах фланцев и промежуточного вала (траверсы).
Установка клиноременной передачи. Шкивы клиноременной передачи установлены на валах переднего распределительного редуктора и подвозбудителя. Они имеют ручьи для установки двух ремней А-1320Ш Подвозбудитель устанавливают так, чтобы торец шкива редуктора и торец шкива подвозбудителя лежали в одной плоскости, при этом допускается отклонение не более 1 мм. При установке ремней их подбирают одинаковыми по длине, разность длин ремней в комплекте допускается не более 3 мм, поэтому и замена ремней должна производиться комплектно. Невыполнение этого условия приводит к неравномерному распределению нагрузки на ремни и преждевременному выходу их из строя. Для нормальной работы клиноременной передачи ремни должны иметь определенное натяжение, которое регулируют установкой подвозбудителя. Натяжение ремней проверяют динамометром, при этом при приложении усилия равного 1 кгс (9,8 Н) к середине одного ремня величина прогиба а (рис. 154) должна находиться в пределах 5—6 мм для нового ремня (в течение первых 48 чработы) и4—9 мм для ремня, бывшего в работе.
Рис. 154. Схема проверки натяжения ремня: Р — усилие; а — стрела прогиба










