ЭЛЕКТРИЧЕСКИЕ АППАРАТЫ
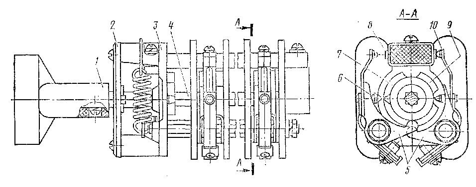
Контроллер машиниста КВ-1508. Для дистанционного управления электрической передачей на тепловозе установлен контроллер машиниста. Стальной сварной корпус 1 контроллера (рис. 93) образован сварной рамой и чугунным основанием, в которое запрессована бронзовая втулка, служащая подшипником главного вала, между верхней стальной сварной крышкой 10 и литой чугунной крышкой 9 встроена зубчатая передача, уменьшающая в два раза угол поворота штурвала по отношению к углу поворота главного барабана. Передача состоит из зубчатого сектора 5, насаженного на вал, на хвостовик которого насаживается штурвал, и шестерни, насаженной на хвостовик главного вала. В крышки запрессованы бронзовые втулки, служащие подшипниками для валов. К контактной системе контроллера относятся панели с подвижными 3 и неподвижными 4 контактами, главный и реверсивный валы. Главный вал состоит из стального вала, на который насажены: храповик, обеспечивающий фиксацию позиций (положений) вала, кулачковые пластмассовые шайбы для размыкания и замыкания контактов в определенной последовательности. Кроме того, на главном валу находится реверсивный кулачковый барабан, управляемый реверсивным ^валом через тягу. Управление валом непосредственное.
Главный вал фиксируется храповиком 6, рычагами и пружинами, при этом ролики рычагов, попадая в углубления храповика, обеспечивают фиксацию в заданном штурвалом положении (позиции).
Позиции реверсивного вала фиксируются при помощи храповика, фиксатора и пружин. Зуб фиксатора, попадая в углубление храповика, обеспечивает фиксацию положения «вперед», «назад» или «О». Контроллер имеет механическую блокировку, исключающую переключение главного вала, когда реверсивная рукоятка находится в нулевом положении, и, наоборот-; переключение реверсивной рукоятки, когда главный вал находится не в нулевом положении (на ходовых позициях).
Рис. 93. Контроллер машиниста КВ-1508:
— корпус; 2 — барабан реверсивный; 3 — контакты подвижные; 4 — контакты неподвижные-5 — сектор зубчатый; 6 — храповик; 7 — фиксатор; 8 — барабан главный; 9, 10 — крышки
Техническая характеристика контроллера
- Способ управления ............ ручной
Количество кулачковых элементов:
- главного вала...........12
- реверсивного вала ........... 2
- Число позиций.............. 15
- Напряжение, В ............. 75<
- Длительный ток, А.......,..... 10
- Раствор контактов, не менее, мм....... 6
- Нажатие начальное, кгс.......... 0,09—0,13
- Нажатие конечное, кгс........... 0,34—0,35
- >Поворот главного вала, град........ 227
Поворот реверсивного вала от нулевого положения в положения «вперед» или «назад», град . 30 Поворот привода главного вала, около, град . . 113 Масса аппарата, кг............ 20
Блокировка выполнена следующим образом: при нахождении реверсивной рукоятки в нулевом положении фиксатор входит своим зубом в выемку храповика реверсивного вала, имеющую меньшую глубину, чем на положениях «вперед» и «назад», в результате чего выступ фиксатора, находящийся на противоположной стороне от зуба, входит в углубление храповика главного вала, запирая тем самым главный вал. При переводе реверсивной рукоятки в положения «вперед» или «йазад» зуб фиксатора попадает в более глубокую впадину храповика реверсивного вала, при этом выступ фиксатора выходит из углубления храповика главного вала, что позволяет повернуть главный вал.
Переключение реверсивной рукоятки на промежуточных положениях главного вала исключается, так как зазор между выступом фиксатора и поверхностью храповика главного вала меньше, чем углубление в храповике, куда попадает зуб фиксатора. Контактная система — пальцевого типа. К ней относятся угольник с прикрепленным, к нему рычагом, гибкое соединение с наконечником, имеющим напайку из серебра и являющимся подвижным контактом, а также пружины, обеспечивающие начальное и конечное нажатие, и неподвижный контакт, выполненный в виде латунной стойки с напайкой из серебра.
Рис. 94. Переключатель типа КФЗ:
/ — рукоятка; 2 — фланец; 3 — контактное устройство; 4 — контакт неподвижный; 5—шайба с подвижными контактами; 6 — контактодержатель; 7 — вставка
Рис. 95. Переключатель типа УП:
/ — рукоятка; 2 .— панель; 3 — стойка; 4 — валик; 5 — скоба; в — палец; 7 — шайба средняя; 8 — контакт неподвижный; 9— шайба крайняя; 10—контакт подвижной
В рычаге имеется ролик, который в зависимости от того, находится он на поверхности (выступе) кулачковой шайбы или во впадине, обеспечивает размыкание или замыкание контактной системы. Конструкция контактной системы обеспечивает притирание контактов в процессе коммутации. Главным валом управляют при помощи штурвала.
Универсальные переключатели. Для блокирования электрических цепей управления с пульта нерабочей кабины тепловоза применен универсальный пакетный ключ типа КФЗ (рис. 94). Он состоит из контактного устройства 3, лицевого фланца 2 и съемной рукоятки /. Контактное устройство представляет собой контактные пакеты, насаженные на квадратный валик и собранные в узел с фиксирующим и стопорным устройствами. Контактный пакет состоит из двух пластмассовых контактодержателей 6, в которых укреплены четыре неподвижных контакта 4 и помещена шайба 5 с подвижным контактом. Сочетание различных положений подвижных контактов на валике обеспечивает необходимый порядок соединения неподвижных контактов. Контактодержатели имеют вставки 7 для нумерации контактов. Нумерация контактов всех пакетов ключа общая и начинается, если смотреть со стороны рукоятки, с верхнего правого контакта первого пакета и продолжается по винтовой линии против часовой стрелки. Переключатель рассчитан на напряжение 220 В, номинальный ток 10 А.
Для переключения цепей системы возбуждения тягового генератора при их неисправности используется универсальный переключатель типа УП5112. Переключатель состоит из набора контактных секций, стянутых шпильками (рис. 95). Через секции проходит центральный валик 4, на выходном конце которого укреплена пластмассовая рукоятка Для крепления аппарата к панели на передней стойке 3 переключателя имеются выступы с отверстиями под установочные винты.
В каждую секцию входят две пары контактов, в том числе два неподвижных 8 и два подвижных пальцевых контакта 10 с механизмом переключения. Контакты при повороте рукоятки перемещаются от нажатия выступом рабочей поверхности крайних кулачковых шайб на хвостовик скобы включения 5; шипы пальцев 6 в это время входят во впадины средней шайбы. Контакты отключаются при нажатии выступом рабочей поверхности средней шайбы на шип; хвостовик скобы включения в это время входит во впадину соответствующей крайней шайбы. Фиксация положения кулачковых шайб обеспечивается специальным устройством, смонтированным на передней стойке аппарата. Переключатель изготавливается на напряжение постоянного тока 440 В, и номинальный ток 20 А.
Автоматические выключатели. Автоматы совмещают в себе свойства коммутационных аппаратов с ручным или дистанционным электрическим приводом и аппаратов защиты электрических цепей. На тепловозе применены автоматы типов А3161 и АК-63-2М с ручным приводом, а также устройством для автоматического отключения при превышении током допустимой величины (уставки).
Автоматы введены в цепи питания отдельных узлов электрооборудования тепловоза, выделенных по общему функциональному назначению (например, цепи общего управления, управления движением тепловоза, освещения и т. д.), обеспечивая их включение и выключение вручную, а также автоматическую защиту. Конструкция автоматов и их принцип действия рассматриваются ниже.










