Реле
Реле управления (промежуточные). Для дистанционного управления цепями малой мощности применяются промежуточные реле или реле управления (рис. 96). Основные детали и узлы реле, кроме панелей и катушек, полностью взаимозаменяемы. Технические данные реле управления типа Р-45М приведены в табл. 11 и 12.
Таблица 11
Таблица 12
Пример обозначения реле с катушкой на . напряжение 75 В, имеющего три замыкающих контакта и один размыкающий контакт, — Р-45М31. Реле, имеющие катушку на напряжения 24 и- ПО В, соответственно имеют обозначения Р-45Н и Р-45Л.
Реле ослабления возбуждения тяговых электродвигателей. Дифференциальное реле типа РД-3010 (рис. 97) автоматически управляет током возбуждения тяговых электродвигателей тепловоза в зависимости от величины их тока и напряжения. Магнитная система реле состоит из магнитопрово-да и двух катушек: токовой и напряжения, включаемых на сигнал, пропорциональный току и напряжению тягового генератора соответственно. |
Реле имеет один замыкающий контакт с двойным разрывом. Контактная система реле закрыта защитным прозрачным кожухом. Реле срабатывает под воздействием электромагнитного усилия, создаваемого катушкой напряжения, которому противодействует усилие токовой катушки и пружины. Соответственно при уменьшении тока в катушке напряжения и увеличении тока в токовой катушке до определенных величин якорь реле отпадает и контакты размыкаются.
Рис. 96. Реле Р-45М:
/ — контакт рычажный; 2 — блокировочные контакты; 3 —панель установочная; 4 — магпитопровод; 5 — катушка; 6 — якорь
Техническая характеристика реле Данные контактов
- Разрыв контактов, не менее, мм............ 2
- Провал контактов, не менее, мм............ 1
- Разрываемый ток (при индуктивности не более 0,7 Гн, напряжение постоянного тока 75 В), не более, А....... 3
- Нажатие, не менее, гс................ 40
Данные катушек
- Токовая Катушка
- катушка напряжения
- Тип провода..............ПЭВ2 ПЭВ2
- Диаметр провода, мм..........1 0,29
- Число витков.............550 7000
- Сопротивление при 20° С, Ом.......1,67 260
- Продолжительный ток, А........Не более 1,5 0,2
Реле времени. Реле времени применены в цепях пуска и питания катушек поездных контакторов ПІ —П6. Пусковое реле времени предназначено для выдерживания необходимого интервала между нажатием кнопки пуска и включением контакторов пуска дизеля. Интервал времени используется для предварительного прокачивания масла в системе дизеля. На тепловозах первых выпусков использовалось электропневматическое реле типа РВП-2. В этом реле электромагнитный привод воздействует на исполнительные микропереключатели через промежуточный пневматический механизм, создающий выдержку времени. В цепях пуска тепловозов последних выпусков используется полупроводниковое реле времени типа ВЛ-21. В цепи питания катушек поездных контакторов используется электромагнитное реле времени типа РЭВ-812. Это реле реализует выдержку времени в несколько секунд между моментом выключения цепи питания катушки и отпаданием якоря, т. е. возвращением системы контактов в нормальное состояние. Выдержка времени используется для облегчения условий коммутации цепей тяговых двигателей.
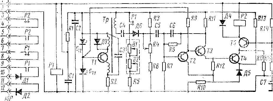
Реле типа ВЛ-21. При подаче питания на клеммы 1(—) и'2(+) включается реле Р1 (рис. 98). Создающаяся после пробоя стабилитронов СТ1 и СТ2 разность потенциалов на переходе эмиттер — база транзистора Т1 пускает блокинг-генератор (транзистор 77, трансформатор Тр, конденсатор СЗ, диод ДЗ). Одновременно при включении реле Р1 его контакты, прекращая шунтирование конденсатора С4, ставят его на заряд. В этот момент диодДб находится в запертом состоянии из-за обратной разности потенциалов, импульсы блокинг-генератора не проходят на базу транзистора Т2, триггер на транзисторах Т2 и ТЗ находится в начальном устойчивом состоянии (Т2 открыт, ТЗ заперт положительным потенциалом коллектора Т2), усилитель на транзисторах Т4 и Т5 не работает.
Рис. 97. Реле дифференциальное РД-3010:
/ — ярмо; 2 — катушка напряжения; 3 — сердечник; 4— якорь; 5 — сердечник; 6 — катушка токовая; 7 — кожух; 8 — узел неподвижного ■ контакта; 9 — узел подвижного контакта

Рис. 98. Принципиальная схема реле ВЛ-21;
Р1, Р2 — реле электромагнитные; Тр — трансформатор; 71—Та — транзисторы; СІ—С7 — конденсаторы; В1—В2 — дисковые регуляторы; іЬ—Ніб — резисторы; ШР —- штепсельный разъем; Д1—Д7 — диоды; СТ1, СТ2 — стабилитроны (делители напряжения)
Заряд емкости конденсатора С4 длится в течение времени, зависящего от положения дисковых регуляторов В1 и В2, изменяющих величину сопротивлений. Это время определяет выдержку времени реле. После заряда конденсатора С4 диод Д6 открывается и положительные импульсы блокинг-генератора, проходя через диод, запирают транзистор Т2, что вызывает переход триггера во второе устойчивое состояние. При этом транзистор ТЗ открывается и его коллекторный ток включает в работу усилитель. Выходной ток усилителя включает реле Р2.
При снятии напряжения питания реле возвращается в исходное состояние. Реле выполнено в блочном корпусе со штепсельным разъемом для соединения с внешними цепями. Дисковые регуляторы выдержки времени расположены под кожухом реле. Для работы реле без сбоев выход реле должен быть полностью защищен от э. д. с. самоиндукции внешней электросхемы. Для гашения самоиндукции коммутируемых цепей используются диоды Д1 и Д2.
Номинальное напряжение реле — 60 В, потребляемая мощность— 30 Вт, выдержка времени — 1—100 с, коммутируемая мощность — 50 Вт.
Реле времени РЭВ-812. Работа реле (рис. ЭЧ*) основана на электромагнитном принципе. При протекании по катушке 3 тока под действием электромагнитных сил происходит притягивание якоря 8 и переключение контактов. При выключении цепи катушки уменьшение ее потока индуктирует токи в охватывающих магнитопровод короткозамкну-тых демпферах 2 и 18. Демпферные токи, создавая поток, совпадающий с основным, задерживают отпадание якоря и возвращение контактов в нормальное состояние.
Неподвижная часть магнитопровода выполнена из двух отдельных деталей: сердечника 5 и угольника 9. На угольнике крепятся пластинка 11 и угольник 12, образуя с плоским керном призматическую опору якоря, на которой он вращается относительно неподвижной части магнитопровода. На якоре укреплена скоба 10, несущая колодку 16 с подвижными контактами 14.
В процессе эксплуатации путем перемещения скобы 10 можно ограничить люфт якоря, увеличивающийся по мере износа. Узел неподвижных контактов 15 укреплен на магнитопроводе / с помощью пластинки 17. Для плавной регулировки выдержки времени на якоре имеются регулировочные узлы 7 и 13. Катушка реле установлена на круглый керн, имеющий паз для закрепления кольца 4, фиксирующего катушку. Изменение толщины немагнитных прокладок 6 используется для^грубой регулировки выдержки времени. Номинальное напряжение реле— ПО В, мощность катушки — не более 25 Вт, пределы выдержки времени — 0,8—2,5 с, номинальный ток контактов — 10 А
Рис. 99. Реле временя РЭВ-812:
/ — магнитопровод; 2, 18 — демпферы; 3 — катушка; 4 — кольцо; 5 — сердечник; 6 — прокладка немагнитная; 7, 13 — узлы регулировочные; 8 — якорь; 9, 12 — угольники; 10 — скоба; 11, 17 — пластины; 14 — контакт подвижной; 15 — контакт неподвижный; 16 — колодка
Рис. 100. Блок боксования ББ-320:
/ — панель установочная; 2 — кожух; 3 — катушка; 4 — якорь; 5 — рычаг; 6,7, 9 — контакты; 8 — регулировочная пружина; 10 — пломба
Реле защиты. Блок боксования ББ-320. Блок (рис. 100) автоматически защищает тяговые электродвигатели от разносного боксования. Блок представляет собой три панели, на которых смонтированы три реле типа РК-221, защищенные кожухом. На панели имеются выводные клеммы и внутренний монтаж, выполненный гибким проводом.
Реле типа РК-221 выполнено на разомкнутой магнитной системе с втягивающим якорем, укрепленным на поворотном рычаге. Контактная система реле имеет один замыкающий и один размыкающий контакты перекидного типа с общим подвижным контактом. Реле имеет высокий коэффициент возврата.
Технические данные реле
- Напряжение срабатывания, В........ 2,6+0,15
- Продолл<ительный ток, А......... 0,348
- Коэффициент возврата, не менее....... - 0,8
- Разрыв контактов, не менее, мм....... 1,5
- Провал контактов, не менее, мм....... 1,0
- Сопротивление катушки при 20° С, Ом..... 4,8
- Число витков.............. 1050
- Диаметр провода, мм........... 0,8
- Тип провода .............. ПЭВ2
- Масса аппарата, кг............ 11,7
Реле заземления Р-452Г2-11. Реле (рис. 101) отличается от промежуточных реле типа Р-45М наличием- механической защелки, удерживающей якорь во включенном положении при срабатывании после снятия напряжения с его катушки. Реле предназначено для защиты силовых цепей тепловоза от заземления и имеет усиленную изоляцию катушки. Сопротивление катушки реле при 20° С — 0,106 Ом, диаметр провода— 1,95 мм, марка провода — ПБД, ток срабатывания — 10 А.
Реле давления и температуры. На тепловозе применены реле, давления типа АК-ПБ и комбинированные реле типа КРД. Комбинированные реле состоят из нескольких релейных элементов, конструкция которых унифицирована. Каждый из элементов в комплекте с соответствующим приемопередающим устройством может реагировать либо на давление (реле типа КРБ-4), либо на температуру (реле типа КРД-2) контролируемой среды.
Рис. 101. Реле Р-45Г-11:
1 — контакт рычажный; 2 — контакт блокировочный; 3 — панель установочная; 4 — магни-топровод; ,5 — катушка; 6 — якорь; 7 — защелка
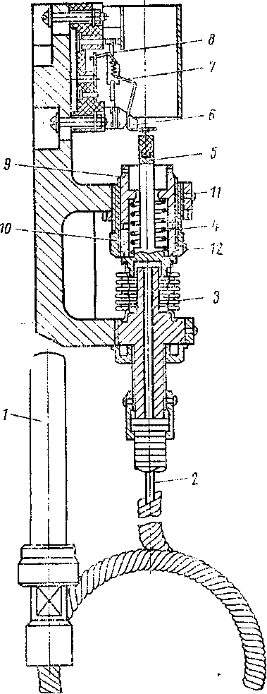
Реле типа АК-ПБ используется для получения электрического сигнала в схему тепловоза при определенной величине давления воздуха в тормозной магистрали локомотива. Реле давления (рис. 102) состоит из пластмассовой плиты /, на которой смонтирован рычажный механизм с контактом, фланца 12 и кожуха 2. На плите укреплены: стойка 20 с винтом 3, неподвижный контакт 19, две стойки /7 с металлическими планками 10 и пластмассовая направляющая 9. В направляющей находится пластмассовый шток 7 с отверстием для оси 14. Регулирующая пружина 6 одним концом упирается в гнездо штока 7, а другим—в пластмассовую планку 5. На верхней металлической планке 10 расположен винт 4, которым регулируется пружина 6 путем перемещения планки 5.
Рычаг 16 имеет две. оси: подвижную 14 в штоке 7 и неподвижную 15 в направляющей 9. Подвижной контакт 17 при помощи контактной пружины 18 упирается в рычаг 16, пружина 18 одним концом закреплена на оси 15, другим — в подвижном контакте 17. К фланцу 12 поступает воздух от тормозной магистрали и заполняет камеру под диафрагмой 13.
При отсутствии давления в тормозной магистрали контактный механизм реле давления занимает положение, изображенное на рис. 102. Под усилием пружины 6 шток 7 находится в нижнем положении, а пружина 18,- расположенная под углом, устойчиво прижимает подвижной контакт 17 к неподвижному 19 (контакты замкнуты). При повышении давления в тормозной магистрали шток 7 начинает перемещаться вверх вместе с подвижной осью 14. Рычаг 16 поворачивается около неподвижной оси 15, при этом, как только ось пружины 18 совпадет с осью рычага 16 и контакта 17, система займет неустойчивое положение. При дальнейшем перемещении штока 7 вверх пружина 18 резко перебросит подвижной контакт 17 с неподвижного контакта 19 на винт 5 и контакты разомкнутся. Номинальный ток реле давления —20 А, напряжение постоянного тока — 220 В, рабочее давление — 3—9 кгс/см2.
Рис. 102. Реле давления АК-ПБ:
/ — плита; 2 — кожух; 3,4— Бинты; 5, 10 — планки; 6, 18 — .пружины; 7 — шток; 8— 'защелка; 9 — направляющая; //, 20 — стойки; 12 — фланец; 13 — диафрагма; 14, /5 — оси; 16 — рычаг; /7—контакт подвижной; 19 — контакт неподвижный
Комбинированные реле типа КРД позволяют получить электрический сигнал в схему тепловоза при определенном давлении в масляной системе дизеля (КРД-4), а также при определенной температуре охлаждающей воды дизеля (КРД-2). В корпусе реле типа КРД размещены унифицированные элементы с датчиками температуры или давления. Принцип действия элемента реле температуры заключается в следующем (рис. 103). Термобаллон /, капиллярная трубка 2 и сильфон 3 представляют собой герметичную систему, заполненную специальной жидкостью, с достаточным тепловым коэффициентом объемного расширения. Таким образом, при помещении термобаллона в жидкость с контролируемой температурой изменение температуры преобразуется в изменение давления в термосистеме.-
При повышении температуры контролируемой среды ' давление в замкнутой системе, увеличиваясь и преодолевая силу сжатия пружины 4, растягивает сильфон,?. При этом верхняя часть сильфсна перемещает вверх толкатель 5, который, вращая рычаг 7 вокруг упора 6, при определенной температуре переключает пластинчатый контакт 8 контактного устройства. Понижение температуры контролируемой среды вызывает обратное переключение контактов.
Температура срабатывания элемента регулируется вращением резьбовой втулки 9, которая изменяет сжатие пружины 4. Самопроизвольное перемещение втулки 9 предотвращается при помощи стопорного винта 11. Резьбовая втулка 10 служит для ограничения растяжения сильфона 3. Ход сильфона от внутреннего упора до упора втулки 10 составляет 0,5—0,6 мм. Втулка 10 фиксируется винтом 12.
Рис. 103. Элемент реле температуры типа КРД: 1 — термобаллон; 2 — трубка капиллярная; 3 — сильфон; 4 — пружина; 5 — толкатель; 6 — упор; 7 — рычаг; 8 — контакт пластинчатый; 9, 10 — втулки; 11, 12 — винты стопорные
Конструкция и принцип действия элементов реле давления типа КРД-4 аналогичны описанному.
Отличие заключается в том, что на сильфон элемента непосред-ственно воздействует контролируемое давление, передающееся по трубке. Для этого трубка заканчивается ниппелем, присоединяемым к трубопроводу.
Технические данные реле типа КРД-2: рабочая температура — О—125° С; разрываемая мощность — 60 Вт, а реле типа КРД-4; рабочее давление — 0,1—1,0 кгс/см2; разрываемая мощность контактов — 60 Вт. •
Конечные выключатели. Конечные (путевые) выключатели автоматически снимают напряжение тягового генератора при входе в камеру электрооборудования. Применяются общие промышленные выключатели типа ВК-411. Это мостиковый контактный механизм, аналогичный релейному, заключенный в металлический кожух. Нажимной шток контактов выходит наружу.
Выключатели монтируются так, чтобы при закрытых дверях камеры шток был нажат дверцей, а при открытом отжат возвратной пружиной. При этом контакты переключаются.










