Вспомогательные электрические машины
К вспомогательным электрическим машинам тепловоза относятся электродвигатели привода ряда устройств, обеспечивающих работоспособность дизеля, а также необходимые условия для работы обслуживающего персонала. К таким устройствам относятся: маслопрокачи-вающий и топливоподкачивающий агрегаты, а также калориферы кабин и вентилятор кузова. Для их привода используются электродвигатели постоянного тока общепромышленной серии П брызгозащищен-ного исполнения различных типоразмеров.
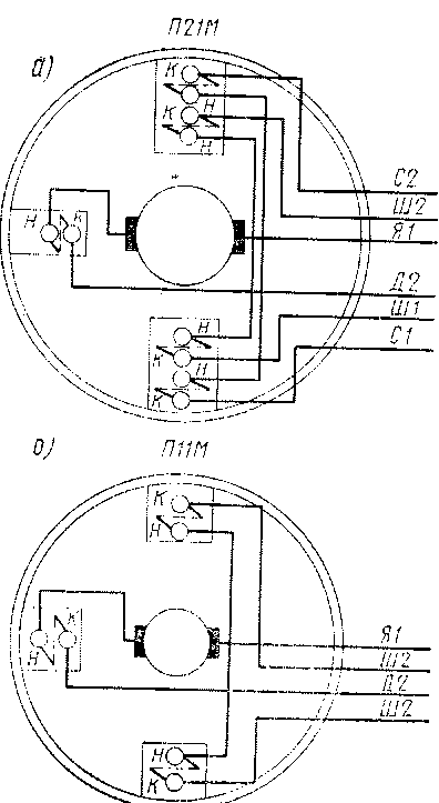
Двигатели типов П11 и П21 рассчитаны на эксплуатацию при температуре окружающей среды ±40° С, относительной влажности 95%, повышенных ударных сотрясениях и вибрациях. Двигатели типа П11М имеют параллельное возбуждение, двигатели П21М и П41 — смешанное, с основной параллельной и добавочной последовательной обмотками.
Принципиальные схемы обмоток электродвигателей и их выводы для соединения с внешними проводами изображены на рис. 91, а конструкция четырехполюсного двигателя П41 — на рис. 92. Такая конструкция является типовой для машин серии П. Двигатели снабжены конденсаторами для подавления радиопомех.
Рис. 91. Схема внутренних электрических соединений электродвигателей серии П:
С1—С2 — обмотка последовательного возбуждения; Ш1—Ш2 — обмотка параллельного возбуждения; Д1—Д2 — обмотка добавочных полюсов; Я1—Я2 — обмотка якоря; Я — начало обмотки; К — конец обмотки
Рис. 92. Электродвигатель П-41: / — шарикоподшипник; 2 — траверса; 3 —- щит подшипниковый; 4 — полюс добавочный; 5 — станина; 6 — полюс главный; 7 — щит подшипниковый; 8 — якорь; 9 — вентилятор; 10 — выводы










