ВСПОМОГАТЕЛЬНЫЕ УЗЛЫ И УСТРОЙСТВА
Система вентиляции картера. Система вентиляции (рис. 46) служит для создания разрежения в картере отсосом газов во всасывающие' полости турбокомпрессоров. Отсос производится через трубы 3 из' верхней части редуктора, на котором установлен сепаратор 2 (маслоотделитель). Разрежение в картере дизеля предотвращает вытекание масла и выход газов через неплотности в соединениях, а также через зазоры у валов, выходящих наружу. В маслоотделителе установлена задвижка 6 для регулирования величины разрежения в картере. По трубам 3 газы поступают к турбокомпрессорам. По трубе / масло сливается в нижнюю часть рамы. Маслоотделитель системы вентиляции предназначен для отделения масла, находящегося в газах, отсасываемых из картера. Крышка 16 и корпус 13 скреплены болтами. На корпусе имеется указательное стекло 8 для контроля за работой системы и пробка 7, закрывающая отверстие для замера разрежения в бачке. Если система работает нормально, масла за указательным стеклом не должно быть.
Рис. 46. Система вентиляции картера:
/, 3 —трубы- 2 —сепаратор; 4— гайка; 5 — ось; 6 — задвижка; 7 — пробка; «—указательное стекло; 9 — отражатель; 10 — редуктор; 11, 14 — диски; 12 — фильтрующий элемент; 13 — корпус; 15-- отбойник; 16 — крышка; А — паз
В крышку корпуса установлена задвижка 6, которая служит для регулирования величины разрежения в картере изменением проходного сечения отверстий отвода газов к турбокомпрессорам. Положение задвижки определяется по пазу А, расположенному на верхнем торце оси 5. Для фиксации задвижки после регулировки разрежения установлена гайка 4. К редуктору 10 крепится отражатель 9, уменьшающий количество масла, поступающего в маслоотделитель. На кор-I пусе выносного подшипника установлен штуцер, к которому присое-I динен жидкостный манометр для замера величины разрежения в к.ар-; тере.
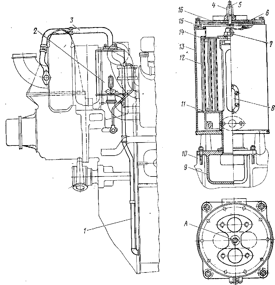
Индикаторный вентиль. Индикаторные вентили (рис. 47), устанавливаемые на крышках цилиндров, используют для замеров давленйя горения, давления сжатия и для продувки цилиндров. Корпус 7 вентиля крепится к днищу крышки цилиндра. Стык между крышкой цилиндра и вентилем уплотнен медной прокладкой 8. Корпус охлаждается водой, поступающей из крышки цилиндра. Стык корпуса с крышкой уплотнен резиновыми кольцами 24 (см. рис. 9), насаженными на стальные трубки 23. Штуцер 5 (см. рис. 47) ввертывается в корпус 7, стык уплотняется медной прокладкой 6.
Шпиндель 4 имеет два конуса, один из которых служит для запирания канала в корпусе, когда вентиль закрыт, другой — для уплотнения шпинделя 4 и штуцера 5 во время замеров, когда вентиль открыт. Гайка 3 имеет две резьбы—левую и правую. Шпиндель 4 застопорен от провертывания винтом 10 и может иметь лишь осевое перемещение. Вращением гайки 3 можно открыть или закрыть индикаторный вентиль. Винт 10 стопорится контргайкой 9. На шпиндель 4 навернут наконечник /, служащий для закрепления максиметра. Стык между шпинделем и наконечником уплотнен медной прокладкой 2.
Предельный выключатель. Автоматически останавливает дизель в случае увеличения частоты вращения коленчатого вала сверх допустимой величины предельный выключатель (рис/ 48). Он установлен на корпусе кожуха привода распределительного вала. Вал 2 выключателя вращается в шарикоподшипниках 11, расположенных во втулке 12 и крышке 8, закрытой фланцем 9. Осевой разбег (зазор) вала 2 регулируется за счет кольца 10.
Груз 22 с пружиной 26 и скобой 25 установлен на валу 2 при помощи штифта 23 и вращается вместе с валом. Прокладками 27 затяжка пружины регулируется так, чтобы выключатель срабатывал при 840—870 об/мин коленчатого вала. Предельный выключатель приводится во вращение шлицевым валиком 5 от распределительного вала дизеля. От'осевых смещений валик 5 удерживается кольцом 7.
На валике 34 в плоскости вращения груза 22 установлен двуплечий рычаг 38. Одно плечо рычага под действием пружины 36 входит в зацепление с рычагом 31, закрепленным штифтом 32 на валике 30. На шлицах валика 30 установлен другой двуплечий рычаг 16. С вильчатым плечом этого рычага через валик 17 соединена тяга 20. Другим концом тяга соединена с рычагом 19, установленным на валике 6, который в свою очередь связан с приводом реек топливного насоса. Второе плечо рычага 16 соединено с пружиной 15, которая крепится к оси 14, застопоренной шплинтом 13.
На предельном выключателе имеются рукоятки: 21 — для аварийной остановки дизеля, а 18 — для установки выключателя в рабочее положение. На шаровых поверхностях рукояток стрелками указаны направления движения при выключении при установке выключателя в рабочее положение. Шестерня /, установленная на валу 2, служит для вращения привода всережимного-регулятора.
При увеличении частоты вращения коленчатого вала выше допустимых пределов груз 22, под действием центробежных сил преодолевая усилие пружины 26, перемещается в радиальном направлении и ударяет по рычагу 54?, выводя его из зацепления с рычагом 31. Рычаг 31 с валиком 30 под действием пружины 15 поворачивается до соприкосновения с упором 33. Одновременно поворачиваются рычаги 16 и 19. При этом привод управления топливным насосом устанавливает рейки насоса на нулевую подачу, и дизель останавливается.
Валоповоротный механизм. Для вращения коленчатого вала дизеля в период подготовки дизель-генератора к пуску, при осмотрах и ремонтах служит валоповоротный механизм (рис. 49), установленный на кожухе привода распределительного вала непосредственно над зубчатым' венцом муфты. Червяк 3 механизма насажен на валик / и соединен с ним коническими штифтами. Валик и червяк установлены во втулках кронштейна 9 и зафиксированы от осевых смещений проставочными-кольцами. Изменением толщины проставочных колец регулируется осевой разбег червяка и валика.
Кронштейн 9 валиком 10 соединен с кронштейном 4 и затем коническими штифтами 2 закреплен на валике. 10. Валик 10 и кронштейн 9 имеют возможность поворачиваться в отверстиях неподвижного кронштейна на определенный угол. На торце валика / установлена масленка 5 для смазки подшипников в поворотном кронштейне, а в проушинах неподвижного кронштейна имеются отверстия для смазки валика 10.
В отключенном положении кронштейн 9 отжимается пружинами 7 вверх и стопорится в этом положении болтом 8. Болт пропускается через отверстия в кронштейнах 4 и 9 я стопорится фиксатором П. При стопорений поворотного кронштейна в отключенном положении сферический конец болта 4? нажимает на контакт блокировочного устройства 6, -замыкая электрическую цепь системы управления дизель-генератором, пуск дизель-генератора возможен. При стопорений поворотного кронштейна во включенном положении механизма болт 4? проходит через другой ряд отверстий в кронштейнах, минуя контакт блокировочного устройства. Вследствие этого цепь системы управления оказывается разомкнутой и пуск дизель-генератора невозможен. Для вращения коленчатого вала снимают фиксатор И с головки болта 4? и вынимают болт; поворачивают кронштейн 9 ключом за шестигранную головку валика 10 до зацепления червяка 3 с зубчатым венцом муфты и стопорят кронштейн в этом положении болтом 4? и фиксатором //; надевают трещотку на шестигранную головку
валика 7 и качательными движениями поворачивают вал дизеля в нужном направлении. Коленчатый вал можно вращать и при помощи пневматической машины, снабженной соответствующим патроном.
Соединительная -муфта. Муфта (рис. 50) соединяет коленчатый вал дизеля с валом ротора генератора. Муфта состоит из двух дисков: ведущего 2 и ведомого 5, между которыми расположен пакет тонких стальных пластин. Пакет пятью призонными болтами / крепится к ведущему диску 2, а пятью призонными болтами 3 — к ведомому диску 5. Ведущий диск имеет зубья для проворачивания коленчатого вала дизеля при помощи валоповоротного механизма.










