ОБЪЕДИНЕННЫЙ РЕГУЛЯТОР
На дизеле установлен объединенный всережимиый изодромный регулятор центробежного типа с собственной масляной системой и рядом дополнительных устройств для 'обеспечения дистанционного управления изменением частоты вращения и нагрузки дизеля. Регулятор автоматически поддерживает заданный режим работы дизеля путем воздействия через сервомотор на рейки топливного насоса и через сервомотор с индуктивным, датчиком на контур возбуждения генератора. Регулятор соединен с распределительным валом дизеля/
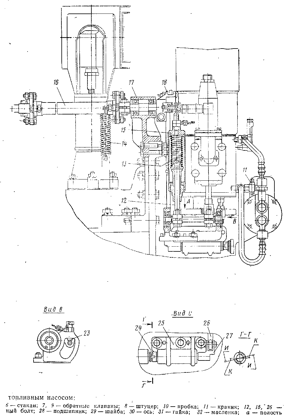
Регулятор. Основными узлами регулятора являются: нижний корпус 5 (рис. 40), корпус регулятора 4, верхний корпус 3, силовой сервомотор 1 и колпак 2. Нижний корпус 5 крепят к верхней плоскости корпуса привода, шестерня которого соединена шлицами с валиком 37 (рис. 41). Для уплотнения*полости нижнего корпуса, заполненной маслом, установлен самоподжимной сальник 38 с пружиной.
В корпусе 4 (см. рис. 40) размещены золотниковая часть, масляный шестеренный насос, аккумулятор масла, игла II, регулирующая перепуск масла из полости компенсирующего поршня в масляную ванну, и система каналов. Внутренняя полость корпуса заполнена маслом по высоте до середины маслоуказательного стекла. В нижней части корпуса предусмотрены два отверстия: одно — для слива масла, закрытое пробкой, другое —" для отвода масла в пусковой сервомотор. Масло к регулятору от пускового сервомотора подводится через одно из двух отверстий в верхней части корпуса. Полость аккумулятора имеет два колодца, в которых находятся поршни, нагруженные пружинами. Один йз колодцев имеет отверстие для перепуска излишнего масла из полости аккумулятора в масляную ванну. Благодаря этому в полости аккумулятора и напорных магистралях поддерживается постоянное давление.
В верхнем корпусе 3 (см. рис. 40) расположены пружина измерителя частоты, механизм управления частотой вращения, механизм управления нагрузкой и ряд каналов. В верхнем корпусе расположены две иглы / для регулировки процесса управления нагрузкой.
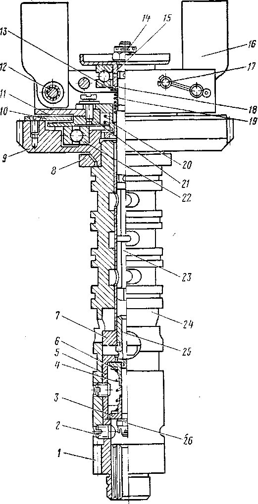
Силовой сервомотор присоединен к корпусу 4 регулятора (см. рис. 40). Между ними установлен проставок. В корпусе 6 (см. рис. 41) сервомотора, разделенном на две полости перегородкой 7, находится поршневая пара, нагруженная пружиной 12. Поршневая пара состоит из силового поршня 8 и компенсирующего поршня 5, напрессованных на шток 2, имеющий вилку 1 для соединения с передачей к рейкам топливных насосов. Шток уплотнен в крышке 4 сальником 3. В плоскости крепления к регулятору корпус 6 сервомотора имеет систему каналов. К корпусу 6 сервомотора крепят золотник 9 остановки дизеля с электромагнитом. В рабочем положении сердечник 13 электромагнита штоком 11 удерживает плунжер 10 в положении, при котором закрыт проход маслу из-под поршня 8.
Рис. 40:Обший вид регулятора:
1 — силовой сервомотор; 2— колпак; 3 — верхний корпус; 4— корпус; 5 — нижний корпус; 5 — пробка; б, в, г, е, ж, 3, И, К, Л, М, У, Ц — каналы; /, Л — иглы
Золотниковая часть регулятора. Эта часть регулятора (рис. 42) состоит из измерителя частоты вращения (измерителя) и собственно золотниковой части. В золотниковую часть входят: букса 24, золотник 7 с компенсирующей пружиной 4, плунжер 23 и шестерня 9 с фланцем 10. В расточке шестерни установлен шарикоподшипник 22. Полости золотника через отверстия и канавки в буксе сообщаются с корпусом регулятора. В нижнюю часть буксы запрессована и застопорена винтами 2 шестерня 1 насоса.
Золотниковая часть приводится во вращение от валика 37 (см. рис. 41). Перемещение ее вверх ограничено фланцем 47. Осевой разбег регулируется изменением толщины пакета прокладок 48.
Золотник 7 (см. рис. 42) изготовлен заодно с поршнем. В расточке золотника запрессован хвостовик 25, на котором установлены тарелки 3 пружины 4. Нижняя тарелка опирается на торец шестерни 1, а верхняя — на торец втулки 5. Пружина 4 установлена с предварительной затяжкой, регулируемой прокладками 6. Свободный осевой люфт золотника в среднем положении устраняют поворотом гайки 26.
На верхнюю часть плунжера установлены тарелка 15 и шарикоподшипник 18. Снизу тарелка поджимается пружиной 19. Положение плунжера относительно золотника регулируется при помощи гайки 14 так, чтобы при крайних положениях плунжера (грузы сведены и грузы разведены до упора в-юграничительные валики 17) поясок плунжера полностью открывал отверстие золотника.
К измерителю частоты вращения относятся траверса 11с грузами и кулачковая шайба 21. Грузы 16 установлены на шарикоподшипниках 12. Кулачковая шайба имеет четыре кулачка, которые входят в пазы шестерни 9. Пространство между кулачками и пазами, заполненное маслом, образует масляный демпфер. Измеритель частоты вращения приводится во вращение от золотниковой части пружинной муфтой 20, которая устанавливается так, чтобы обеспечивалось симметричное отклонение траверсы с грузами от среднего положения до упора кулачков шайбы 21 в выступы шестерни 9. Пружинная муфта и гидравлический демпфер препятствуют передаче на измеритель высокочастотных колебаний от неравномерного вращения буксы. Энергия этих колебаний поглощается гидравлическим депмфером за счет перетока масла по радиальным и торцовым зазорам между кулачками и выступами шестерни 9.
Механизм управления частотой вращения. К механизму относятся золотниковая часть сервомотора и электромагниты. Золотник 32 (см. рис. 41) связан с шестерней 35 шлицевым соединением и тем самым имеет возможность перемещаться в осевом направлении. Шестерня 35 находится в зацеплении с шестерней золотниковой части и приводит во вращение золотник 32. Положение золотника 32 зависит от положения упора сердечника электромагнита 40, к которому он прижимается пружиной 34, через шарикоподшипник и опорный колпак 31. На золотнике имеются продольная канавка и отверстие для сообщения каналов корпуса с его полостями.
Рис. 41.
/—вилка; 2, 11, 15 — штоки; 3, 38 — сальники; 4 — крышка; 5 — компенсирующий поршень; жеры; 12, 14, 17, 21, 34 — пружины; 13 — сердечник; 18 — эксцентрик; 19 — ось; 20— опора; 29 — контргайка^ 31 — колпак; 35 — шестерня; 36 — индуктивный датчик; 37 — валик; 39, 40,ная пластина; 50 — сервомотор; А, Б, В, Г, Е — рыча
Регулятор:,
6, 23 — корпуса; 7—перегородка; 8 — силовой поршень; 9, 32 — золотники; 10, 16, 33 — плун-22, 45 — винты; 24 — поршень; 25, 30, « — траверсы; 26 — шпилька; 27 — болт; 28 — пробка; 41, 42 — электромагниты; 43 — головка; 46 — рым; 47 — фланец; 48 — прокладки; 49 ~ треуголь-ги; Д - тяги; //. М, И, О, П, Р, С, Ф, X ~ каналы
Рис. 42. Золотниковая часть регулятора:
1,9 — шестерни; 2 — винт; 3, 15 — тарелки; 4, 19 — пружины; 5 — втулка; 6, 13 — прокладки; 7 — золотник; 8, 10 — фланцы; 11 — траверса; 12, 18, 22 — шарикоподшипники; 14, 26 — гайки; 16 — груз; 17 — валик; 20 — муфта; 21 — шайба; 23 — плунжер; 24 — букса; 25 — хвостовик
Плунжер 33 золотника через рычаг Е, тягу Д и рычаг Г связан со штоком поршня 24 сервомотора управления частотой вращения. Положение его определяется положением штока поршня 24 сервомотора и упора рычага Е. Положение этого упора в свою очередь определяется воздействием на треугольную пластину 49 упоров электромагнитов 39, 40, 41 и 42 (39—МР2, 40—МР4, 41—МРЇ и 42— МРЗ).
Поясок плунжера, перекрывающий сливное окно, имеет косое отверстие, соединяющее полость под пояском с полостью над пояском. Кроме того, поясок имеет перекрышу и слегка занижен по диаметру, поэтому при небольших перемещениях плунжера масло перетекает через зазор между пояском плунжера и золотником.
В корпусе 23 сервомотора имеется ряд каналов для подвода масла в рабочую полость сервомотора. Здесь же находятся винт 22, ограничивающий перемещение вверх поршня 24, и шпилька 26 для ручного управления частотой вращения.
На штоке поршня 24 закреплена траверса 25, которая рычагами А, Б, В и Г связывает шток поршня 24 сервомотора управления с плунжером 16 золотника механизма управления нагрузкой и штоком 15 силового сервомотора.
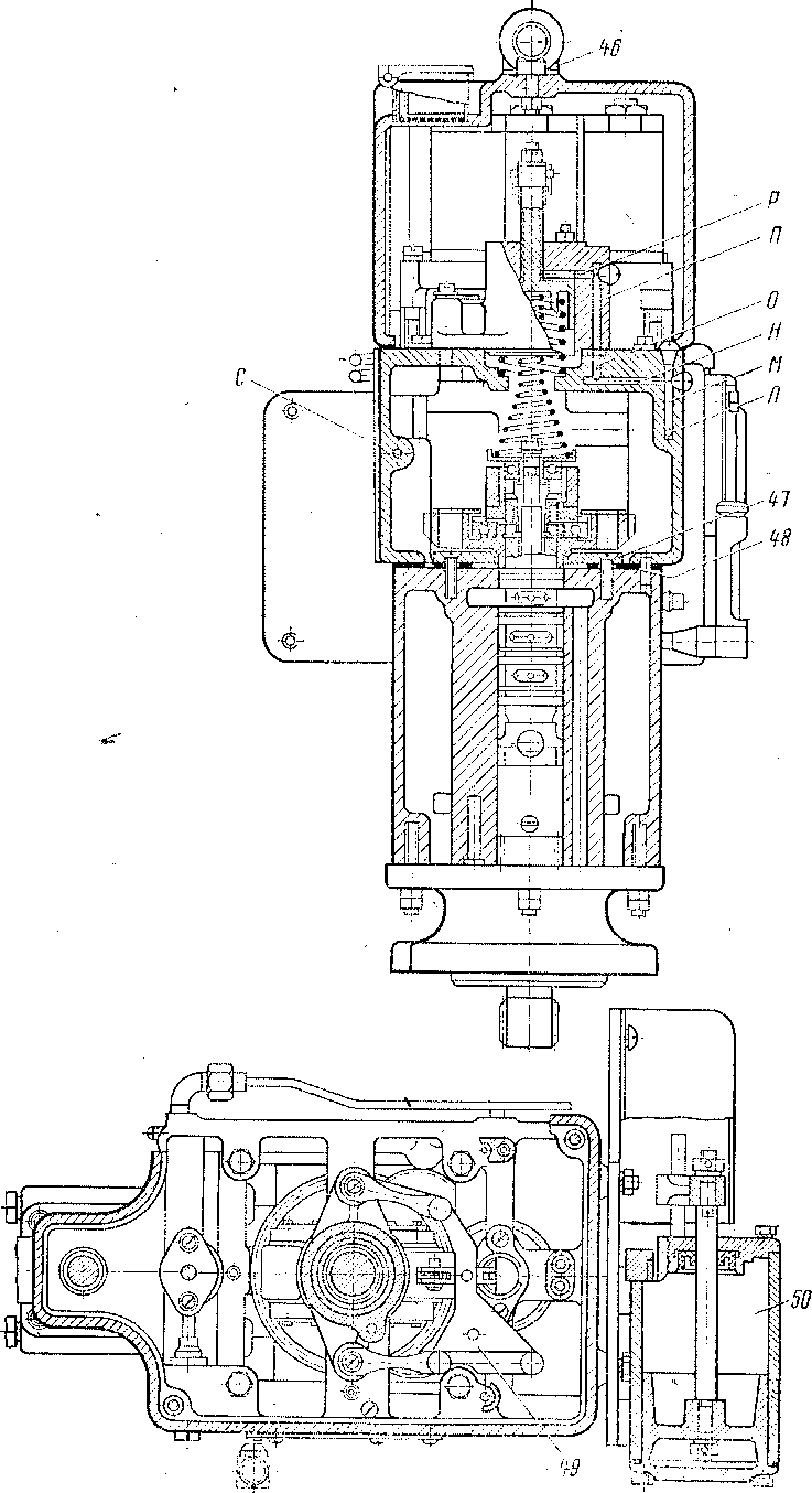
Механизм управления нагрузкой. Механизм состоит из золотниковой части и блока сервомотор — индуктивный датчик. Золотник (см. рис. 41) расположен в верхнем корпусе и поджат с обеих сторон пружинами 14 и 17. Такая фиксация положения золотника допускает его осевое перемещение. По длине золотник имеет канавки и отверстия для сообщения каналов корпуса с полостями плунжера. Плунжер золотника, как упоминалось выше, системой рычагов А, Б, В и Г связан с механизмом управления частотой вращения и силовым сервомотором. Блок сервомотор — индуктивный датчик является исполнительным органом механизма управления нагрузкой и состоит из сервомотора 50 двойного действия (управления нагрузкой) и связанного с ним индуктивного датчика 36. Сервомотор 50 перемещает сердечник сблокированного с ним индуктивного датчика.
Система рычагов, связывающая механизм управления нагрузкой, механизм управления частотой вращения и силовой сервомотор, имеет ряд регулируемых звеньев, позволяющих изменять передаточное отношение системы и тем самым соотношение перемещений отдельных управляющих элементов регулятора. Так, при вращении штока 15 (см. рис. 41) диапазон возможных его перемещений соответственно сдвигается в сторону меньших или больших подач.
Аналогичный результат можно получить, изменяя положение эксцентрика 18. Так, крайнее верхнее положение эксцентрика 18 соответствует диапазонам возможных перемещений штока 15, максимально смещенным в сторону больших подач, а нижнее положение эксцентрика 18 соответствует диапазонам возможных перемещений штока 15, максимально смещенным в сторону меньших подач. Диаметральные риски на эксцентрике 18 и радиальные риски на опоре 20 дают возможность фиксировать величину относительного изменения положения эксцентрика 18.
Величина диапазона возможных перемещений штока 15 определяется положением траверсы 44 относительно рычага А. Так, крайнее левое положение траверсы 44 соответствует минимально возможному диапазону перемещений штока 15, а крайнее правое положение траверсы 44 соответствует максимально возможному диапазону перемещений штока 15.
Траверса 44 перемещается вращением головки 43, жестко сидящей на винте 45. Риски, равномерно нанесенные на одной из планок рычага А, и поперечная риска на траверсе 44 дают возможность фиксировать величину относительного перемещения траверсы. Положение траверсы 30, укрепленной на откидном болте 27 и связанной рычагами Е и Г и тягой Д с плунжером 33 золотника управления частотой вращения, определяет максимально и минимально возможную затяжку пружины измерителя при одном и том же положении контроллера. При этом верхнее положение траверсы соответствует максимально возможной затяжке пружины измерителя, а нижнее положение траверсы — минимально возможной затяжке пружины измерителя,
Схема регулятора и его работа. Силовой сервомотор 2 (рис. 43) изменяет подачу топлива в цилиндры в соответствии с перемещениями плунжера золотниковой части, создавая необходимое усилие для перемещения реек топливного насоса. Измеритель 7 определяет величи-. ну отклонения частоты вращения вала дизеля от заданной и в соответствии с этим отклонением управляет перемещением силового поршня. При равновесном состоянии центробежная сила вращающихся грузов уравновешена усилием пружины, имеющей определенную, строго соответствующую данной частоте вращения затяжку; плунжер золотниковой части своим пояском перекрывает отверстие золотника, и силовой поршень сервомотора 2 неподвижен. При уменьшении нагрузки частота вращения вала дизеля и, следовательно, центробежная сила грузов увеличиваются, в результате чего грузы расходятся и перемещают плунжер вверх. Поясок плунжера открывает отверстие золотника, и масло из полости под силовым поршнем стекает в масляную ванну. Силовой поршень под действием пружины перемещается вниз и уменьшает подачу топлива, в результате частота вращения вала дизеля уменьшается, а грузы и плунжер возвращаются в первоначальное положение. При увеличении нагрузки частота вращения вала дизеля уменьшается, грузы сходятся, и плунжер открывает отверстие золотника, соединяя полость под силовым поршнем, с напорной магистралью. В результате масло" поступает в полость под силовым поршнем и, сжимая пружину, перемещает его вверх. При этом подача топлива- и частота вращения вала дизеля увеличиваются, грузы и плунжер возвращаются в первоначальное положение. Если после возвращения плунжера в первоначальное положение подача топлива будет точно соответствовать новой нагрузке, то изменение частоты вращения, вала дизеля прекратится, и частота вращения будет равна заданной.
Рис. 43. Схема регулятора:
/ — масляная ванна; 2 — силовой сервомотор; 3 — блок-магнит; 4 — сервомотор; 5, 8, // — золотники; в —норшень; 7 — измеритель; 9 — аккумулятор масла; 10 — масляный иасос; 12 — пружина; 13 — компенсирующий поршень; /, I! — иглы; MPI, МР2, МРЗ, МР4, ЭМ — электромагниты; ИД — индуктивный датчик; А, Г, Я —рычаги; Б, В, Д — тяги; а, б, в, д, ж, з, с — каналы; г, е — напорные магистрали (буквы в скобках указывают соответствующие каналы на рис. 41 и 42)
В действительности силовой сервомотор 2 под действием измерителя частоты вращения не устанавливает подачу топлива в строгом соответствии с новой нагрузкой. При увеличении нагрузки подача будет больше, чем необходимо, при уменьшении — меньше, чем не- • обходимо. Происходит так называемое перерегулирование, при котором частота вращения дизеля некоторое время колеблется, отклоняясь от заданной. Для уменьшения времени колебаний изменения подачи топлива и для быстрого установления заданной величины частоты вращения вала дизеля после возникших отклонений служит компенсирующее устройство. К нему относятся:, компенсирующий поршень силового сервомотора 2, поршень и компенсирующая пружина золотниковой части золотника 11 и игла /.
Если частота вращения вала дизеля точно соответствует заданной, а подача соответствует нагрузке, то силовой поршень неподвижен, поршень золотника в среднем положении, отверстие в золотнике // золотниковой части перекрыто.
При отклонении частоты вращения вала дизеля от заданной силовой поршень перемещает компенсирующий поршень 13, который создает в полости под-поршнем золотниковой части давление при увеличении подачи или разрежение — при ее уменьшении. В результате золотник перемещается в том же направлении, что и плунжер, несколько отставая от него. Когда подача топлива достаточно изменится и частота вращения вала дизеля начнет возвращаться к заданной, компенсирующая пружина 12 будет возвращать золотник золотниковой части в среднее положение со скоростью, определяемой селением отверстия, регулируемого иглой /.
В правильно настроенном регуляторе скорость возвращения золотника меньше скорости возвращения плунжера. В результате этого плунжер догоняет золотник // золотниковой части, перекрывает пояском отверстие и останавливает силовой поршень. Дальнейшее возвращение золотника в среднее положение происходит совместно с плунжером, при этом перепускное окно золотника перекрыто и силовой поршень неподвижен. В результате величина перерегулирования подачи топлива резко уменьшается, и частота вращения вала дизеля достигает заданной величины без длительных колебаний.
Электрогидравлическое управление частотой вращения. Управление частотой вращения сводится к изменению затяжки пружины измерителя. Для этой цели служат электромагниты MPI, МР2, МРЗ, фиксирующие своими якорями через треугольную пластину положение плунжера золотника 5 (см. рис. 43) управления частотой вращения; электромагнит МР4, в якорь которого через колпак упирается управляющий частотой вращения золотник 8, сервомотор, рычаги Г, Е и тяга Д.
При установившемся режиме работы дизеля регулирующее окно золотника 8'управления частотой вращения перекрыто пояском плунжера. Управляющий частотой вращения поршень 6 сервомотора неподвижен. При перемещении рукоятки контроллера на увеличение частоты вращения происходит переключение электромагнитов МР1, МР2, МРЗ или МР4, которые соответственно перемещают плунжер золотника 8 на определенную величину вниз или позволяют пружине поднять вращающийся золотник 4? вверх, открывая доступ маслу из напорной магистрали через канал в полость над поршнем 6 «.сервомотора. При этом масло проходит через канал с меньшего диаметра, что уменьшает скорость перемещения поршня 6 сервомотора в сторону увеличения затяжки пружины измерителя и окно во вращающемся золотнике 8. Размеры окна подобраны так, чтобы скорость перемещения поршня 6 сервомотора не зависела от частоты вращения золотника. Под давлением масла поршень 6 сервомотора опускается вниз и сжимает пружину измерителя. При этом шток сервомотора управления частотой вращения через рычат Г, тягу Д и рычаг Е возвращает плунжер золотника 8 вверх, в положение, при котором его поясок перекрывает регулирующее окно и останавливает поршень сервомотора управления частотой вращения в новом положении, соответствующем заданной частоте вращения.
При перемещении рукоятки контроллера на уменьшение частоты вращени'я происходит переключение электромагнитов МР1, МР2, МРЗ или МР4, которые соответственно через треугольную пластину позволяют пружине поднять плунжер золотника 8 на определенную величину вверх или перемещают вращающийся золотник вниз. При этом полость над поршнем 6 сервомотора соединяется через канал д со сливом. Под действием пружины измерителя частоты вращения и пружины сервомотора поршень 6 перемещается вверх, уменьшая затяжку пружины измерителя. Одновременно шток поршня через рычаг Г, тягу Д и рычаг Е возвращает плунжер золотника 8 в поло- _ жение, при котором его поясок перекрывает регулирующее окно и останавливает поршень 6 сервомотора в новом положении, соответствующем заданной частоте вращения. Нижний поясок плунжера золотника 8 выполнен с перекрышей относительно сливного отверстия в золотнике и имеет меньший диаметр. Благодаря этому при движе-нии поршня 6 сервомотора вверх плунжер золотника 4? перекрывает слив с опережением, поршень 6 замедляет движение, и плавно доходит до заданного положения, вытесняя масло в сливное отверстие через зазор между золотником 4? и нижним пояском его плунжера. Эта особенность конструкции золотника 4? и его плунжера, а также наличие дросселирующего канала с и дроссельного отверстия в золотнике 4? обеспечивают плавное изменение частоты вращения вала дизеля при любых перестановках рукоятки контроллера.
Порядок переключения магнитов определяется схемой контроллера тепловоза и представлен в табл. 1 (включение магнита обозначено знаком +). Ход якорей электромагнитов регулируют пробками 28 (см. рис. 41),' которые контрят гайками 29. Поворот пробки у электромагнитов MPI, МР2, МРЗ и МР4 на полный оборот меняет ход якорей на 1 мм. Ход якорей должен быть отрегулирован так, чтобы срабатывание; каждого магнита изменяло частоту вращения
Таблица 1
Примечание. Допуск к величине частоты вращения ±13 об/мип. вала дизеля на величину: MPI--f-50; МР2--H00; МРЗ-+200 и МР4--25 об/мин.
Электрогидравлическое управление нагрузкой. Нагрузка дизеля определяется мощностью, потребляемой тяговым генератором и вспомогательными агрегатами. При независимом возбуждении мощность, потребляемая генератором, определяется током нагрузки, который при постоянном напряжении зависит от частоты вращения якорей тяговых электродвигателей, т. е. от скорости тепловоза. Изменение скорости тепловоза вызывает изменение тока нагрузки, а значит, и мощности, потребляемой генератором. Такое явление крайне нежелательно для тепловозного двигателя, так как не позволяет использовать полную мощность дизеля в большом диапазоне изменений скорости тепловоза.
Регулятор имеет механизм управления нагрузкой, который, воздействуя на электрическую систему, поддерживает возбуждение генератора таким образом, чтобы мощность, потребляемая им, оставалась постоянной в большом диапазоне изменений тока нагрузки. При изменении мощности вспомогательных агрегатов, приводимых непосредственно от вала дизеля, механизм управления нагрузкой, воздействуя на систему возбуждения, изменяет напряжение на генераторе так, что мощность дизеля остается неизменной на конкретной позиции.
Работа тягового генератора поддерживается по характеристике, близкой к характеристике постоянной мощности, что позволяет использовать полную мощность дизеля в большом диапазоне изменений скорости тепловоза. При рассмотрении процесса управления нагрузкой ввиду относительно малой скорости перемещения штока сервомотора 4 (см. рис. 43) по сравнению со скоростью перемещения штока силового сервомотора 2 можно без большой погрешности считать, что при изменении нагрузки регулятор вначале устанавливает подачу топлива в соответствии с новым значением нагрузки, а затем уже регулирует нагрузку. Учитывая такое допущение, будем иметь при этом следующее взаимодействие элементов регулятора.
Кис. 44. Управление
/ — электромагнитный вентиль; 2 — крышка; 3, 13, 14 — пружины; 4 — поршень; 5 — корпус; тяги; 16, 24 — валы; 17, 19, 25 — кронштейны; 18, 20, 21, 27 — рычаги; 22 — серьга; 23 — упор-
При неизменных частоте вращения и нагрузке дизеля шток силового сервомотора 2 неподвижен, шток сервомотора 4 также неподвижен и перепускные окна золотника 7 управления нагрузкой перекрыты. Система находится в равновесии. Когда нагрузка изменяется, а рукоятка контроллера находится в неизменном положении, регулятор устанавливает подачу топлива в соответствии с новым значением нагрузки. При этом перемещение поршня силового сервомотора 2 через шток, рычаг А и тягу Б вызывает перемещение плунжера золотника управления нагрузкой, который открывает перепускные окна золотника и соединяет через каналы в и маслопроводы одну полость .сервомотора 4 с напорной магистралью г, а другую — на слив. В результате сервомотор 4 перемещает сердечник сблокированного с ним индуктивного датчика и тем самым воздействует на электрическую систему управления, способствуя восстановлению первоначальной величины нагрузки.
Сливные отверстия дросселируют иглами // и проходные сечения их регулируют так, чтобы они- были близки к проходным сечениям перепускных окон золотника. Благодаря этому в полости слива создается давление, которое перемещает золотник в сторону перемещения плунжера, уменьшая при этом сечение перепускных окон золотника, и, следовательно, скорость перемещения . поршня сервомотора
4. Давление в полости слива понижается, золотник 5 под действием пружины перемещается в. обратном направлении. В то же время электрическая система управления нагрузкой восстанавливает нагрузку дизеля до первоначальной величины, и регулятор устанавливает соответственно первоначальную величину подачи топлива. При этом перемещение поршня силового сервомотора 2 через шток, рычаг А и тягу Б вызывает соответствующее перемещение плунжера золотника
5. В правильно настроенной гидравлической части механизма управления нагрузкой, что достигается соответствующим дросселированием сливных отверстий, скорость перемещения плунжера золотника 5 больше скорости перемещения самого золотника. Поэтому плунжер догоняет золотник 5, перекрывает перепускные окна и останавливает поршень сервомотора 4. Дальнейшее движение золотника 5 происходит вместе с плунжером, при этом перепускные окна золотника 5 перекрыты, и поршень сервомотора 4 неподвижен. Благодаря этому величина перерегулировки нагрузки резко уменьшается, и нагрузка дизеля достигает заданной величины без длительных колебаний.
При переключении рукоятки контроллера регулятор изменяет частоту вращения коленчатого вала дизеля. В этот момент нагрузка сохраняет свое прежнее значение, а штоки силового сервомотора 2 и сервомотора 4 управления частотой вращения занимают новое положение и смещают плунжер золотника 5 от среднего положения. Начинается процесс регулировки нагрузки. Он происходит аналогично описанному ранее и продолжается до тех пор, пока нагрузка не станет соответствовать новой частоте вращения вала дизеля. Когда нагрузка будет строго соответствовать заданной частоте вращения вала дизеля, плунжер золотника 5 займет среднее положение, и силовой поршень сервомотора 2 будет неподвижен. При выключении в кабине машиниста тумблера топливного насоса выключается питание обмотки электромагнита ЭМ и плунжер золотника выключения регулятора, перемещаясь вверх под давлением масла, соединяет полость под поршнем силового сервомотора 2 со сливом. Поршень силового сервомотора под действием пружины перемещается вниз и выключает подачу топлива. дизель останавливается.
Управление топливным насосом. К управлению (рис. 44) относятся передача, соединяющая рейки топливного насоса со штоком силового сервомотора регулятора и с предельным выключателем, и пусковой сервомотор. Усилие от штока сервомотора регулятора передается через серьгу 22, рычаги 21 и 20, посаженные на вал в кронштейне 19, тяги 12 я 15 с пружиной 13, рычаг 18, установленный в кронштейне 17, на вал 16, соединенный муфтой с отсечным валиком топливного насоса. При этом возвратно-поступательное движение штока преобразовывается во вращательное движение вала 16.
Усилие от предельного выключателя передается на вал 16 с помощью валика 24, установленного в кронштейне 25, через рычаг 27, тягу 26 и рычаг 18. Рычаги 18, 20 и 27 соединены с тягами 12, 15 и 26 шарнирами, состоящими из подшипника 28, запрессованного в тягу, ступенчатой оси 30, шайбы 29, гайки 31 с пружинной шайбой, масленки 32. Болт 23, установленный в кронштейне 19, ограничивает ход штока регулятора. Пружина 14 предназначена для выборки зазоров в шарнирных соединениях рычажной передачи.
Рис. 45. Привод регулятора:
/ — штифт; 2 — прокладка; 3 — гайка; -/ — корпус; 5 — втулка; 6 — шестерня
Пусковой сервомотор предназначен для облегчения пуска горячего дизеля. При пуске дизеля электромагнитный вентиль / открывает доступ воздуху из тормозной магистрали тепловоза в. полость а сервомотора. Воздух перемещает поршень 4, который вытесняет масло через клапан 9 и шланг в аккумулятор регулятора, создавая в них давление.
Под действием этого давления шток силового сервомотора регулятора поднимается вверх, устанавливая через рычажную передачу рейки топливного насоса в положение подачи топлива. После прекращения подачи воздуха пружина 3 возвращает поршень' 4 в- крайнее правое положение. При возвратном движении поршня 4 в масляной полости пускового сервомотора образуется разрежение и масло из Вйнны регулятора по гибкому шлангу через клапан 7 заполняет масляную полость сервомотора. Для выпуска воздуха из масляной полости пускового сервомотора имеется пробка 10. Краник 11 служит для слива масла из регулятора. Упорным болтом 23 ограничивают ход штока сервомотора регулятора.
Привод регулятора. Корпус 4 привода регулятора (рис. 45) установлен на верхнем корпусе закрытия привода распределительного вала и зафиксирован штифтами 1. В корпусе 4 на двух шарикоподшипниках установлена коническая шестерня 6. Внутренние кольца шарикоподшипников закреплены при помощи распорной втулки 5 и гайки 3. В верхней части ступицы -шестерни 6 имеются шлицы для соединения вала регулятора с приводом. \
Шестерня 6 приводится во вращение конической шестерней, установленной на валу предельного выключателя. Для регулировки бокового зазора в зацеплении конических шестерен под фланцем корпуса 4 установлена прокладка 2. Для обеспечения герметичности плоскости прилегания прокладки смазываются пастой «Герметик».










