ГЛАВА З
СИСТЕМЫ, ОБЕСПЕЧИВАЮЩИЕ РАБОТУ дизеля
ТОПЛИВНАЯ СИСТЕМА ТЕПЛОВОЗА
Топливо на тепловозе размещено в топливном баке, который заправляется через заливные горловины. Количество топлива в баке кодтролируют по показаниям топливомерных щупов или топливомер-ных стекол. Незначительные механические примеси в топливе вызывают заклинивание плунжерных пар насосов высокого давления и другие повреждения топливной аппаратуры. В топливную систему последовательно включены два топливных фильтра: один — грубой очистки, другой — тонкой очистки. Через них проходит все топливо, подаваемое к дизелю.
В холодное время года топливо, подаваемое к дизелю, подогревают в подогревателе топлива. Это вызвано тем, что при низких температурах из топлива выделяются парафинистые вещества, которые засоряют трубопровод и особенно фильтры. Топливо в топливоподо-гревателе подогревается горячей водой водяной системы. К топливной аппаратуре дизеля топливо подается топливоподкачивающим насосом шестеренного типа с приводом .от электродвигателя. Насос и электродвигатель смонтированы. на одной плите.
Нормальная работа топливной аппаратуры дизеля возможна при давлении в топливной магистрали дизеля (после фильтра тонкой очистки) не менее 1,5 кгс/см2 (0,15 МПа). В противном случае уменьшается количество топлива, подаваемое топливным насосом высокого давления к форсункам, что приводит к уменьшению, мощности дизеля. Поэтому производительность топливоподкачивающего насоса составляет 27 л/мин, что значительно больше, чем требуется для обеспечения нормальной работы дизеля. Для поддержания нужного давления установлен предохранительный клапан, который регулируется с учетом потерь давления на фильтре тонкой очистки,- на давление 3,5 кгс/см2 (0,3 МПа), что обеспечивает необходимое давление перед топливным насосом дизеля.
Для обеспечения необходимого подпора в трубе, отводящей излишки топлива от топливного насоса высокого давления, установлен подпорный клапан, который регулируется на давление 1—1,3 кгс/см2 (0,1—0,13 МПа). При работе тепловоза возможен выход из строя топливоподкачивающего насоса. Топливная система предусматривает при этом работу дизеля на аварийном питании, для чего в системе установлен клапан аварийного питания.
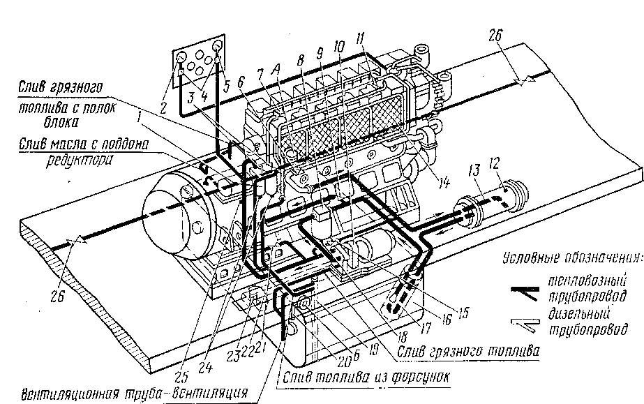
Из бака (рис. 51) топливо через заборное устройство 17 и фильтр грубой очистки 4? забирается топливоподкачивающим насосом 10. По трубопроводу через фильтр тонкой очистки /, расположенный на дизеле, профильтрованное топливо поступает к топливному насосу 7 высокого давления, которым через форсунки впрыскивается в цилиндры дизеля. Лишнее топливо после топливного насоса 7 по трубопроводу через подпорный клапан 6 направляется к топливогго-догревателю и далее поступает в топливный бак к заборному устройству. Предохранительный клапан при срабатывании перепускает часть топлива в трубопровод отвода. Топливо, просочившееся из форсунок, сливается по трубе, врезанной в гнездо топливомерного щупа, в топ-, ливный бак. Грязное топливо и масло с полок блока цилиндров дизеля, плиты топливоподкачивающего агрегата и поддона переднего распределительного редуктора по трубам отводятся под раму тепловоза.
Для контроля за работой топливной системы на щите приборов, расположенном в дизельном помещении, установлены манометры 2 ! и 5, которые показывают давление топлива до и после фильтра тонкой очистки. При работе дизеля в системе возникают значительные I пульсации давления топлива, что вызывает колебание стрелок мано-! метров и приводит к их поломке. Для предупреждения этого явления перед манометрами установлены демпферы 4. Давление топлива до фильтра тонкой очистки должно быть не более 3,5 кгс/см2 (0,34 МПа), повышение давления приводит к выходу из строя деталей топливо-подкачивающего насоса (в частности, уплотнений). Давление топлива после фильтра тонкой очистки должно быть не менее 1,5 кгс/см2 (0,15 МПа), понижение давления приводит к уменьшению мощности дизеля.
Рис. 51. Схема топливной системы тепловоза: / — фильтр тонкой очистки; 2 — манометр (давление топлива после фильтра); 3, // — вентили (штуцерные); 4 —демпферы; 5 — манометр (давление топлива до фильтра); 6 — подпорный клапан; 7 — топливный насос; 8 — фильтр грубой очистки; 9 — клапан аварийного питания- 10 — топливо-подкачивающий насос; 12, 18, 24 — пробки; И — подогреватель топлива- 14 — дизель- /5 — предохранительный клапан; 16 — топливный бак; 17 — заборное устройство; 19 — топливомерная рейка (щуп); 20 — стекло для контроля уровня топлива; 21 — вентиль; 22 — отстойник топлива; 23 — клапан слива топлива из отстойника; 25 — карман для ртутного термометра; 26 — вентиль; А, Б — заливные горловины
При первом пуске, а также после длительной стоянки дизеля из топливной системы необходимо удалить воздух. Для выпуска воздуха из системы служит вентиль 21, который открывают при работающем топливопрокачивающем насосе. При этом топливовоздушная смесь поступает в трубу слива лишнего топлива. Воздух из фильтров тонкой Очистки и топливного насоса высокого давления выпускают через штуцерные вентили .3 и //. Об отсутствии воздуха в системе свидетельствуют устойчивые, без колебаний стрелок, показания манометров.
Аварийное питание дизеля топливом. При выходе из строя топли-воподкачивающего насоса топливо из бака засасывается топливным насосом 7 высокого давления через клапан аварийного питания и фильтр тонкой очистки (минуя фильтр грубой очистки). Поступившее таким образом к насосу высокого давления топливо нагнетается им к форсункам и впрыскивается в цилиндры дизеля.
При работе дизеля на аварийном питании топливом необходимо учитывать, что в нагнетательной системе давления нет, следовательно, топливный, насос высокого давления работает в ненормальных условиях и не может обеспечить полную мощность дизеля (потеря мощности может составить 700—800 кВт, что зависит от состояния топливной аппаратуры дизеля). Кроме того, работа на аварийном питании приводит к сильному засорению фильтра тонкой очистки. Работа дизеля на аварийном режиме допускается только в крайних случаях. Пуск дизеля при этом не гарантируется.
Опрессовка трубопровода слива топлива, просочившегося из форсунок. При длительной эксплуатации тепловоза возможны случаи появления течи по соединениям трубопровода слива топлива, просочившегося из форсунок. Для обнаружения этих мест и ликвидации их система предусматривает опрессовку трубопровода слива.
Опрессовку трубопровода слива топлива, просочившегося из форсунок, проводят в следующем порядке: снимают колпаки крышек цилиндров; отсоединяют от бака н устанавливают заглушку на трубу слива просочившегося топлива; включают топливоподкачивающий насос; открывают вентиль 21; проверяют, нет ли утечки топлива по гайкам и штуцерам трубопровода слива просочившегося топлива из форсунок (имеющиеся утечки устраняют); выключают топливоподкачивающий'насос; закрывают вентиль; снимают заглушку с труб и подсоединяют трубу к баку.
Топливный бак. Емкость бака 3900 л. Он крепится в средней части рамы тепловоза. Жесткость конструкции сварного бака достигается внутренними перегородками, которые одновременно служат для гашения колебаний топлива во время движения тепловоза. Топливный бак имеет в нижней части отстойник (см. рис. 51), в котором расположен сливной клапан шарикового типа, закрытый снизу пробкой. Для слива отстоя необходимо вывернуть пробку и нажать на шарик клапана. При сливе применяют трубку с наружной резьбой, которую ввертывают вмеето пробки и она торцом нажимает на шарик. Отстой в этом случае сливается по трубке.
Бак заправляется топливом через заливные горловины А или Б, расположенные для удобства заправки с обеих сторон тепловоза. В горловины вставлены фильтрующие сетки и они закрыты пробками. Кроме того, тепловоз оборудован устройством для заправки топливом с торцов тепловоза от прицепной цистерны. Для замера количества топлива бак оборудован двумя топливомерными рейками (щупами) 19 и двумя топливомерными стеклами 20, защищенными металлическим ограждением. Во избежание вытекания топлива при повреждении стекла в нижнем штуцере, соединяющем стекло с баком, установлен штуцерный вентиль, который держат в закрытом положении и его открывают только при замере количества топлива, Топливные щупы и стекла отградуированы в литрах.
В боковых стенках и отстойнике бака имеются пробки, служащие для его промывки. Промывают бак горячей водой 'через заливные горловины и отверстия для пробок. Вода из бака сливается через отверстия для пробок в отстойнике. Перед промывкой топливный бак пропаривают в течение одного часа, подавая пар через открытые заливные горловины. С двух сторон топливного бака имеются ниши с крышками для установки аккумуляторной батареи.
Топливоподкачивающий насос. Насос (рис. 52) обеспечивает подачу топлива под давлением к топливному насосу дизеля. Насос 5 установлен на одной плите с электродвигателем 2 и соединен с ним при помощи кулачковой муфты с крестообразной резиновой простав-кой 4. При вращении звездочки 7 и ведущей втулки 9 зубья выдавливают из впадин топливо, которое попадает в нагнетательную полость а и далее под давлением в топливный трубопровод. Невозможность перетекания топлива из нагнетательной полости насоса во всасывающую обеспечивается точностью подгонки звездочки и ведущей втулки к корпусу 20, крышки 18 и ее серповидному выступу 4?. Вал ведущей втулки 9 уплотнен сильфоном, состоящим'из гофрированной латунной трубки 13, припаянной к уплотнительной втулке И и втулке 19, и пружины 12. Накидная гайка 21 прижимает конический буртик уплотнительной втулки И к поясу корпуса 20. Пружина 12 прижимает притертые торцы втулок 19 и 14. Это не дает возможности топливу, просочившемуся между корпусом 20 и втулкой 14, напрессованной на вал ведущей втулки 9, попасть внутрь уплотнительного ■ элемента.
При сборке насоса.после ремонта необходимо проверить зазоры между сопрягаемыми деталями и герметичность сильфона, а также качество притирки втулок сильфона к корпусу 20 и втулке 14, прилегание поверхностей первых должно быть по всей окружности с шириной пояска не менее 0,5 мм. Герметичность сильфона проверяется опрессовкой, которая производится сжатием сильфона с закрытыми отверстиями в воде или дизельном топливе. Наличие повреждений устанавливается по появлению пузырьков воздуха, при этом допускается пайка обнаруженных трещин. После сборки топливоподкачивающий насос опрессовывают топливом под давлением 5 кгс/см2 (0,49 МПа) в течение 2 мин.
Рис. 53. Подогреватель топлива:
/ — штуцер (отвод паровоздушной смеси); 2 — трубная доска; 3 — пробка ■ (для выпуска воздуха); 4 — трубка; 5 — охлаждающая пластина; 6 — перегородка; 7 — корпус; 8 —-крышка; 9— штуцер (для слива воды); 10 — уплотнение
При установке топливоподкачиваю-щего насоса на плиту 1 допускается перекос насоса и электродвигателя на длине 50 мм и несоосность их не более 0,05 мм. Перекос и смещение проверяют путем установки на конец валов технологической втулки, при этом вал насоса должен вращаться в ней от руки.
Подогреватель топлива. Трубчатый подогреватель (рис. 53) подогревает топливо в холодное время года. Вместе с крышками 8, имеющими штуцера, подводящие воду, трубные доски 2 с трубками 4 составляют водяную полость топ-ливоподогревателя. Корпус 7 с приваренными с обеих торцов трубными досками 2 составляют топливную полость подогревателя. Топливо, попадая в полость между трубными досками, омывая трубки с охлаждающими пластинами и проходя между перегородками 6, нагревается водой системы охлаждения дизеля, проходящей внутри трубок 4.
При загрязнении водяных полостей подогревателя его промывают прокачиванием 2-процентного раствора кальцинированной соды с последующей промывкой горячей водой с температурой 65—70° С. Топливная полость промывается чистым дизельным топливом. При обнаружении течи трубок разрешается глушить не более двух трубок пробками с обеих концов с последующей их обваркой. Течь трубок может быть обнаружена по появлению охлаждающей воды в топливе (топливном баке). После ремонта корпус подогревателя подвергается гидравлическому испытанню давлением 4 кгс/см2 (0,39 МПа) в течение 5 мин, при этом течи не допускаются. Аналогично испытывается водяная полость собранного подогревателя.
Рис. 54. Предохранительный клапан:
/ — корпус; 2 — клапан; 3 — упорная шайба; -/ — стержень; 5 — пружина; 6 — муфта; 7 — гайка; « — регулировочный болт; 9 — гайка
Рис. 55. Клапан аварийного питания;
1 — пробка; 2 — кольцо; 3 — корпус; 4 — штуцер; 5 — шарик
Рис. 56. Демпфер:
/ — фильтр; 2 — шайба; 3 — прокладка; 4 — стопор; 5 —- корпус
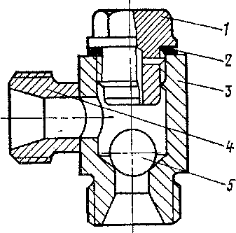
Предохранительный клапан. Клапан (рис. 54) поддерживает давление топлива в трубопроводе до фильтра тонкой очистки не более 3,5 кгс/см2 (0,34 МПа). К корпусу 1 притерт клапан 2, который прижимается стержнем 4 и пружиной 5 к посадочному месту. В муфте 6 находится регулировочный болт 8 и контрящая гайка 7. Сверху клапан закрыт колпачковой гайкой 9. Клапан на определенное давление регулируется увеличением или уменьшением сжатия пружины 5 при помощи регулировочного болта 8 и контргайки 7. При разборке детали клапана промывают чистым дизельным топливом, тщательно осматривают посадочные .поверхности клапана 2 и корпуса 1, при необходимости эти сопрягаемые детали притирают. Клапан регулируют на стенде на давление 3,5±0,15 кгс/см2 затяжкой пружины 5.
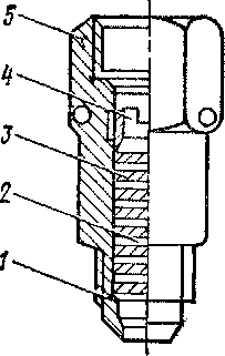
Клапан аварийного питания. Клапан (рис. 55) обеспечивает работу дизеля при неработающем топливоподкачивающем агрегате. При этом за счет разрежения, создаваемого в трубопроводе топливным насосом дизеля, шарик 5 поднимается и пропускает топливо, минуя фильтр грубой очистки.
Плотность уплотнительных поверхностей шарика 5 и корпуса 3 проверяется гидравлическим испытанием при давлении 5 кгс/см2 (0,49 МПа) в течение 3 мин, при этом течь не допускается (допускается-отдельное каплепадение). Одновременно проверяется уплотнение пробки 1.
Демпфер. Для стабильной работы манометров перед ними установлены демпферы (рис. 56), которые сглаживают пульсацию топлива. Уход за демпфером сводится к периодической промывке его чистым дизельным топливом с последующей продувкой сжатым воздухом.










