12.4. Аппараты автоматического регулирования параметров тепловоза
Регулятор напряжения типа ТРН-1 поддерживает практически постоянное напряжение (75 В ± 3%) на зажимах вспомогательного генератора тепловоза при изменении частоты вращения его вала и нагрузки в рабочем диапазоне.
Регулятор электродинамический, контактно-реостатный, по способу регулирования — вибрационный.
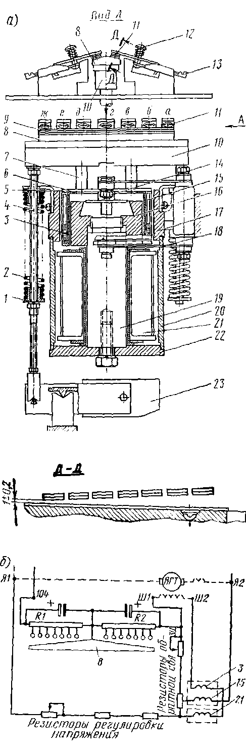
Регулятор (рис. 119, а) имеет катушки: подвижную, состоящую из обмотки тока 3 и обмотки напряжения 15, и неподвижную 21 с общей магнитной системой. Магнитные потоки обмоток тока и напряжения направлены встречно. Обмотка тока включена последовательно с обмоткой возбуждения вспомогательного генератора и ток в ней равен току возбуждения. Подвижная катушка жестко связана с контактной планкой 8. Подвижная система регулятора подвешена на четырех плоских 18 и двух цилиндрических 2 пружинах, создающих противодействующий момент регулятора. При перемещении подвижной системы контактная планка замыкает (при движении вверх) или размыкает (при движении вниз) контактные пальцы 11 и тем самым изменяет величину сопротивления в цепи обмотки возбуждения вспомогательного генератора.
Неподвижная катушка имеет одну обмотку, магнитный поток которой направлен согласно с обмоткой напряжения подвижной катушки.
Неподвижная катушка подключается так, что ток в ней пропорционален напряжению вспомогательного генератора. Подвижная система регулятора уравновешена противовесом 23, устраняющим влияние тряски на работу регулятора. Очередность замыкания контактов подвижной контактной планкой показана на рис. 119, а (Д—Д).
Намагничивающие силы неподвижной катушки и обмотки напряжения подвижной катушки направлены в одну сторону и сила взаимодействия их примерно пропорциональна напряжению вспомогательного генератора. Намагничивающая сила обмотки тока направлена навстречу намагничивающей силе обмоток напряжения и неподвижной.
При нормальном напряжении вспомогательного генератора (75 В ± 3%) подвижная катушка находится в равновесии или вибрирует между двумя соседними парами контактных пальцев; в цепь возбуждения вспомогательного генератора введены ступени резисторов #1 и Я2 (рис. 119, б). При увеличении напряжения вспомогательного генератора выше номинальной величины ток в неподвижной обмотке и обмотке тока возрастает, подвижная катушка притягивается к неподвижной, контактная планка вводит дополнительно часть резисторов Я1 и Я2 в цепь возбуждения вспомогательного генератора, чем уменьшает его напряжение. Наоборот, при снижении напряжения вспомогательного генератора контактная планка закорачивает часть резисторов Ш и и тем самым увеличивает ток возбуждения вспомогательного генератора, а следовательно, и его напряжение. Электрическая схема соединений регулятора напряжения приведена на рис. 119,6.
Рис. 119. Регулятор напряжения типа ТРН-1:
а — общий вид; б — электрическая схема регулятора; 1 — пружииодвржатель; 2 — пружина цилиндрическая; 3, 15 — подвижные катушки (3 — тока, 15 — напряжения); 4 — шпильки; 5 — шайба; 6 — каркас подвижных катушек; 7 — стойка; 8 — алюминиевая контактная планка; 9 — контактная колодка; 10 — текстолитовая планка; // — контакты неподвижные (пальцы); 12 — винты регулировочные; 13 — наконечники для проводов; 14 — винт компенсирующий; 18. 17 — полюсы; 18 — пружина плоская; 19 — сердечник; 20 — стакан; 21 — неподвижная катушка; 22 ~ основание; 23 — противовес; Ш, К2 — регулируемые резисторы; Ш1—Ш2 — обмотка независимого возбуждения вспомогательного генератора
Техническая характеристика регулятора напряжения типа ТРН-1
- Поддерживаемое напряжение, В........ 75±3%
- Максимальное сопротивление, Ом........ 82
- Рассеивающая мощность, Вт.......... 55
- Число пар контактных пальцев......... 7
- Напряжение испытания диэлектрической прочности изоляции (в течение 1 мин переменным током частотой 50 Гц), В.................. 1500
- Максимальный раствор контактов, мм......0,3±0,1*
- Максимально допустимая величина износа контактов до полного износа напаек**
- Масса, кг................. 16,5
* При этом величина хода подвижного контакта между замыканиями каждой пары неподвижных контактов должна быть одинакова.
** При условии одновременной равномерной изнашиваемости всех кок-тактов.
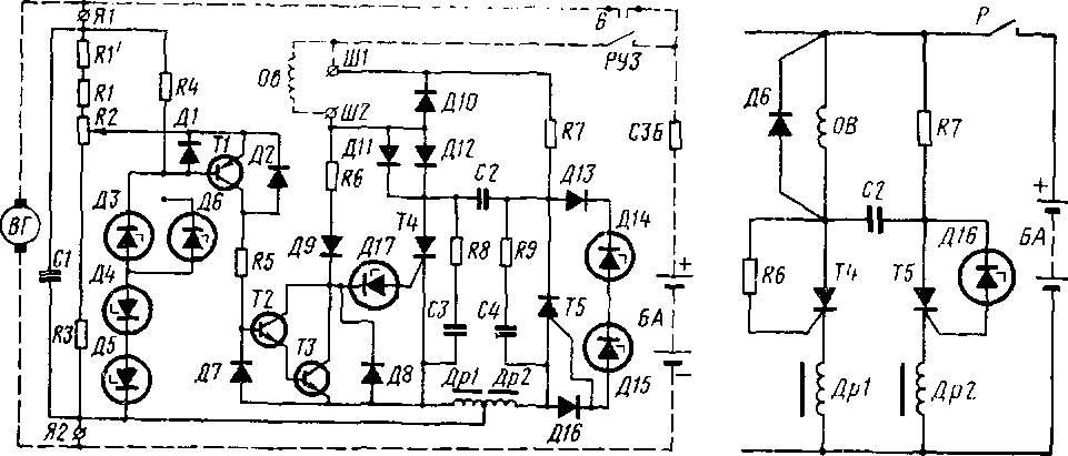
Бесконтактный регулятор напряжения типа БРН-ЗВ поддерживает напряжение вспомогательного генератора тепловоза (75 ± 1В) в широком диапазоне изменения частоты вращения и тока нагрузки генератора и состоит из измерительного органа и регулирующего. Измерительный орган (рис. 120) собран по мостовой схеме, в которой стабилизированное напряжение на стабилитронах ДЗ—Д6 сравнивается с изменяющимся в зависимости от частоты вращения напряжением вспомогательного генератора. Регулирующий орган (рис. 121) представляет собой мультивибратор и предназначен для периодического изменения величины тока в обмотке возбуждения вспомогательного генератора в зависимости от величины его напряжения.
Левая и правая панели регулятора заключены в металлический кожух. На установленных на основании панелях смонтированы: на левой — силовые элементы (Т4, С2, Д10—Д12, С1, Др1, Др2), на правой — на печатной плате элементы измерительного органа. В кожухе регулятора имеется отверстие, через которое напряжение корректируется потенциометром Я2. Регулятор подключается в электрическую схему тепловоза при помощи штепсельного разъема.
После пуска дизеля между движком потенциометра Я2 и клеммой Я2 появится напряжение, пропорциональное частоте вращения якоря вспомогательного генератора. При этом к управляющему переходу транзистора 77 приложена разность потенциалов между движком потенциометра Я2 и анодом стабилитрона ДЗ. Когда напряжение вспомогательного генератора достигнет 75 В, откроется транзистор 77, что приведет к открыванию транзисторов Т2 и ТЗ. Ток управления тиристора Т4 резко уменьшится, что приведет к уменьшению тока возбуждения, а следовательно, и напряжения вспомогательного генератора, так как его обмотка возбуждения является нагрузкой регулирующего органа. Снижение напряжения вспомогательного генератора происходит до тех пор, пока напряжение на входе транзистора 77 уменьшится на столько, что Т1, а следовательно, 72 и ТЗ закроются. Схема переходит в режим максимальной отдачи. Напряжение вспомогательного генератора начинает увеличиваться и процесс повторяется.
Рис. 120. Принципиальная схема регулятора напряжения типа БРН-ЗВ:
Д1, Д2, Д7—Д13, Д16 — выпрямительные диоды; ДЗ—Дб, Д14, Д15, Д17 — стабилитроны; Т1—ГЗ — полупроводниковые триоды; Т4, Т5 — тиристоры; С1—С4 — конденсаторы; Л/—ДЗ — И1' — резисторы; Др/, Др2 — дроссели; БА — аккумуляторная батарея; ВГ — вспомогательный генератор; ОВ — обмотка независимого возбуждения вспомогательного генератора
Рис. 121. Схема мультивибратора: Т4, Т5 — тиристоры; С2 — разделительный кондеисатоо; Кб, Д7 — резисторы; Д16 — стабилитрон; Д6 — ограничительный диод
Напряжение регулируется изменением среднего значения тока, протекающего по обмотке возбуждения вспомогательного генератора, путем изменения средней продолжительности включения тиристора Т4.
Техническая характеристика бесконтактного регулятора напряжения типа БРН-ЗВ
В комплект регулирующего органа входят:
- Тиристоры Т50-ЗА-1, шт........... 2
- Диоды Д-231А, гат.............. 4
- Д-226, шт............. 3
- Стабилитроны Д-815Ж, тт........... 2
- Поддерживаемое напряжение, В........ 75±1
- Максимальный ток возбуждения, А....... 10
- Минимальный ток возбуждения, А....... 0,885
- Масса, кг............... 9,0
Амплистат возбуждения типа АВ-ЗА (рис. 122) регулирует ток возбуждения тягового генератора. Это магнитный усилитель с внутренней обратной связью с двумя магнитопроводами, на каждом из которых намотано по одной рабочей обмотке. Обмотки подмагничивания амплистата: управляющая ОУ, задающая 03, регулировочная ОР и стабилизирующая ОС — обхватывают оба магнитопровода, которые стягиваются шпильками при помощи уголков. Выводы катушек выполнены проводами на специальных изолированных панелях.
Рис. 122. Амплистат возбуждения типа АВ-ЗА:
а — общий вид; б — схема; Н1, К1, Н2, К2 — начало и конец рабочих обмоток; НС, КС — начало и конец стабилизирующей обмотки; НЗ и КЗ — начало и конец задающей обмотки; НР и КР — начало и конец регулировочной обмотки; НУ и КУ — начало и конец обмотки управления. Клеммы в скобках на рисунке не видны
Принцип действия амплистата основан на использовании явления магнитного насыщения стали. Рабочие обмотки (обмотки переменного тока) представляют для переменного тока индуктивное сопротивление X. Его величина тем больше, чем больше индуктивность обмоток Ь : X = 2яД,, где / — частота тока, Гц; Ь — пропорциональна магнитной проницаемости сердечника ц, которая в свою очередь равна отношению магнитной индукции В к величине напряженности магнитного поля Н.
По мере увеличения напряженности магнитного поля (при увеличении частоты питания рабочих обмоток переменным током от синхронного подвозбудителя) сталь сердечников насыщается, а магнитная проницаемость уменьшается, т. е. уменьшается индуктивность рабочих обмоток. Если одну из управляющих обмоток питать постоянным током и тем самым увеличить насыщение сердечника, то вследствие уменьшения индуктивности рабочих обмоток их индуктивное сопротивление уменьшается, следовательно, ток в рабочих обмотках, в цепь которых включена нагрузка, возрастает. Чем больше ток управления, тем меньше индуктивное сопротивление рабочих обмоток и тем больше ток нагрузки.
Управляющая обмотка включена встречно задающей и регулировочной так, что намагничивающие силы вычитаются.
Техническая характеристика амплистата возбуждения типа АВ-ЗА
- Частота питания, Гц...................133
- Напряжение питания (эффективное), В..........60
- Напряжение максимального выхода (при токе задающей обмотки 0,1А) не менее, В.................30
- Ток длительного режима, А...............8,5
- Ток минимального выхода (при токе задающей обмотки 0,1 А) не более, А....................0,6
- Сопротивление нагрузки, Ом............... 6
- Масса, кг.........................12
Данные обмоток амплистата приведены в табл. 9.
Таблица 9
Трансформатор постоянного тока типа ТПТ-10 измеряет ток в цепи тяговых электродвигателей тепловоза. Трансформатор состоит из двух тороидальных сердечников, на каждом из которых намотана рабочая обмотка. Рабочие обмотки соединены между собой встречно. Управляющей обмоткой служат два силовых кабеля, пропущенных через центральное отверстие трансформатора. Сердечники трансформатора с обмотками и шпильками залиты эпоксидным компаундом. К шпилькам прикреплены угольники, при помощи которых трансформатор устанавливается на тепловозе.
Принцип работы трансформатора постоянного тока такой же, как и магнитного усилителя, т. е. индуктивное сопротивление рабочих обмоток изменяется под влиянием подмагничивания обмотки управления — в данном случае двух силовых кабелей, по которым протекает суммарный ток двух тяговых электродвигателей. При увеличении тока на тяговых электродвигателях степень насыщения сердечников увеличивается, индуктивное сопротивление рабочей обмотки уменьшается и ток в рабочей цепи трансформатора увеличивается. Таким образом, ток в рабочей цепи трансформатора постоянного тока пропорционален суммарному току двух тяговых электродвигателей.
Таблица 10
Таблица 11
Характеристика трансформатора приведена в табл. 10, а данные его обмоток — в табл. 11.
Трансформатор постоянного напряжения типа ТПН-ЗА предназначен для измерения напряжения тягового генератора. Он состоит из двух тороидальных сердечников, на каждом из которых намотана рабочая обмотка. Между собой рабочие обмотки соединены встречно. Управляющая обмотка намотана на оба сердечника. Сердечники трансформатора с обмотками и шпильками залиты эпоксидным компаундом. К шпилькам прикреплены угольники, при помощи которых трансформатор устанавливается на тепловозе.
Принцип работы трансформатора постоянного напряжения основан на изменении индуктивных сопротивлений рабочих обмоток под влиянием подмагничивания обмотки управления. Выходным параметром трансформатора является вторичный ток, величина которого пропорциональна величине первичного напряжения трансформатора.
При увеличении напряжения тягового генератора степень насыщения сердечников увеличивается, индуктивное сопротивление рабочих обмоток при этом уменьшается и ток в его рабочих обмотках увеличивается .
Следовательно, ток в рабочей цепи трансформатора постоянного напряжения пропорционален напряжению тягового генератора. Техническая характеристика трансформатора приведена в табл. 10, а данные обмоток — в табл. 11.
Блок тахометрический типа БА-420 получает и подает в задающую обмотку амплистата возбуждения сигнал пропорционально частоте вращения вала дизеля (частоте синхронного подвозбудителя), чем обеспечивается величина установки уровня его мощности.
Блок состоит (рис. 123) из насыщающего трансформатора 9, компенсирующего трансформатора 10, выпрямительного моста (состоящего из диодов 6) и сглаживающего фильтра (состоящего из дросселя
Рис. 123. Блок тахиметрический типа БА-420:
1 — колодка штепсельного разъема; 2 — электролитические конденсаторы; 3 — резистор фильтра; 4 — корпус; 5 — соединительные провода; 6 — диоды; 7 — дроссель; 8 — стяжная шпилька; 9 — трансформатор Тр1 (насыщающий); 10 — трансформатор Тр2 (компенсирующий); — схема блока; 12 — крышка; 13 — вставка штепсельного разъема
7, конденсаторов 2 и резистора 3). Трансформаторы установлены друг на друге и стянуты шпилькой 8.
Детали блока размещены в корпусе 4, закрывающемся крышкой 12, которая крепится к корпусу винтами. На передней стенке крышки помещена схема 77 блока. Все электрические соединения внутри блока и выводы к лепесткам колодки штепсельного разъема / выполнены проводом 5. Блок к схеме регулирования тепловоза подсоединяется при помощи вставки штепсельного разъема 13.
Принцип работы блока. Входное напряжение от синхронного под-возбудителя подается на последовательно включенные первичные обмотки насыщающего и компенсирующего трансформаторов Tpl и Тр2. Частота питающего напряжения пропорциональна частоте вращения вала дизеля. В определенный момент времени входное напряжение насыщает сердечник Tpl, после чего изменение индукции в нем определяется изменением намагничивающего потока в первичной
обмотке. В следующий полупериод, когда входное напряжение меняет знак, сердечник трансформатора Тр1 выходит из зоны насыщения и начинает перемагничиваться в противоположном направлении. При этом скорость изменения индукции в сердечнике определяется мгновенным значением приложенного напряжения и практически не зависит от намагничивающего тока до момента насыщения сердечника. Среднее значение напряжения на вторичной обмотке Тр1 зависит только от частоты и не зависит от напряжения питания. Однако изменение индукции сердечника после его насыщения, обусловленное неидеальностью петли гистерезиса, вносит погрешность в изменение частоты.
Для повышения точности измерения частоты применен компенсирующий трансформатор Тр2, у которого по первичной обмотке протекает намагничивающий ток трансформатора Тр1, а вторичная обмотка включена встречно со вторичной обмоткой трансформатора Тр1 и ее э. д. с. компенсирует ту часть э. д. с. вторичной обмотки, которая обусловлена изменением намагничивающего тока при насыщении сердечника. Выходное напряжение трансформаторов Тр1 и Тр2 выпрямляется диодами, а его пульсация сглаживается фильтром (дроссель Др, конденсаторы С и резистор
Техническая характеристика блока тахометрического типа БА-420
- Тип выпрямительных диодов.......... Д231Б
- Напряжение питания переменным током (эффективное), В................... 31 — 110
- Частота, Гц................ 50—133
- максимальное................ 30
- минимальное................ 14,5
- Максимальный ток нагружн, А......... 1,5
- Масса, кг................. 4,8
Сопротивление нагрузки, Ом:
Трансформатор стабилизирующий типа ТС-2 улучшает динамические характеристики схемы возбуждения тепловоза. Трансформатор представляет собой набранный из П-образных пластин и полос электротехнической стали магнитопровод, состоящий из сердечника и ярма. На магнитопроводе расположена катушка с первичной и вторичной обмотками, выводы которых размещены на пластмассовых панелях. Конструкция трансформатора предусматривает возможность регулировки воздушного зазора между ярмом и сердечником при помощи немагнитных прокладок из прессшпана. Масса трансформатора 38 кг.
Первичная обмотка через резистор СТС включена на напряжение возбудителя, а от вторичной обмотки получает питание стабилизирующая обмотка амплистата. Стабилизирующий трансформатор работает только при переходных процессах в схеме. При быстром нарастании напряжения возбудителя он создает отрицательный сигнал в амп-листате, в результате скорость нарастания напряжения значительно уменьшается. Подобным же образом стабилизирующий трансформатор замедляет снижение напряжения возбудителя. Благодаря замедленному протеканию переходных процессов работа схемы становится устойчивой. Техническая характеристика обмоток трансформатора ТС-2 приведена в табл. 12.
Таблица 12
Трансформатор распределительный типа ТР-5 предназначен для питания цепей переменного тока измерительных трансформаторов постоянного тока и напряжения, а также амплистата возбуждения и индуктивного датчика в схеме электропередачи тепловоза; представляет собой трансформатор броневого типа, работающий в цепи переменного тока с частотой 133 Гц.
Магнитопровод трансформатора набран из листов электротехнической стали. Катушка имеет пять обмоток: одну первичную (включающую в себя две автотрансформаторные обмотки) и четыре вторичных. Катушка бескаркасная, залита эпоксидным компаундом. Магнитопровод стянут стальными шпильками и угольниками, которые служат для установки трансформатора на тепловозе. Выводы обмоток расположены на двух пластмассовых панелях.
От синхронного подвозбудителя к первичной обмотке подводится переменное напряжение, тогда в ней будет протекать ток, создающий магнитный поток Ф, направленный по стали замкнутого магнитопро-вода. Во вторичных обмотках от потока Ф индуктируется переменное напряжение, величина которого зависит от отношения числа витков первичной и вторичной обмоток. Техническая характеристика трансформатора приведена в табл. 13.
Таблица 13
Индуктивный датчик типа ИД-10 изменяет ток в регулировочной обмотке амплистата и представляет собой (рис. 124) магнитопровод, в который входят кожух 6, фланцы 4 и якорь 5. В магнитопровод помещена обмотка 2, намотанная на прессованном каркасе 3. Выводы обмотки датчика припаяны к лепесткам колодки штепсельного разъема /.
Якорь индуктивного датчика соединен со штоком сервомотора нагрузки. Индуктивный датчик устанавливается так, чтобы при крайнем к блоку дизеля (левом) положении поршня сервомотора третья риска на якоре индуктивного датчика совпала с торцом корпуса (ток наибольший), а при совпадении первой риски ток в регулировочной обмотке должен быть минимальным. Питается индуктивный датчик от первичной обмотки распределительного трансформатора.
При увеличении нагрузки поршень сервомотора перемещается вправо от блока дизеля и вдвигает якорь в катушку индуктивного датчика, за счет чего уменьшается ток в цепи регулировочной обмотки амплистата. При уменьшении нагрузки поршень сервомотора перемещается влево, выдвигая якорь из катушки, тем самым увеличивая ток в цепи регулировочной обмотки. При изменении позиции контроллера напряжение и частота синхронного подвозбудителя возрастают пропорционально^частоте вращения вала дизель-генератора. В связи с тем что индуктивное сопротивление катушки датчика намного больше активного, ток в регулировочной обмотке не зависит от позиции контроллера, а зависит от положения якоря в катушке.
Техническая характеристика датчика индуктивного типа ИД-10
- Поминальное напряжение, В.......... 10
- Частота, Гц................. 133
- Ток длительного режима, Л.......... 1,8
- активное........ ........ 2,6
- полное минимальное, не более......... 5,5
- полное максимальное, не менее........ 70
- Ход якоря, мм.............. 65*
- Масса, кг................. 1,2
Сопротивление катушки, Ом:
* При изменении сопротивления катушки от минимального до максимального значения
Рис. 124. Датчик индуктивный типа ИД-10:
1 — штепсельный разъем; 2 — обмотка; 3 — каркас обмотки; 4 — фланцы; 5 — якорь; 6 — кожух










