12.3. Электрические аппараты силовых цепей и цепей управления
Контроллер машиниста типа КВ-1509 или КВ-1552 предназначен для коммутации цепей управления тепловозом1. Штурвалом'контроллера (рис. 101) переключают главный вал, а реверсивной рукояткой — реверсивный вал (в нейтральном положении вала рукоятка может быть снята с контроллера). При переключении реверсивной рукоятки 3 контроллера изменяется направление движения тепловоза. При изменении положения штурвала 4 изменяется частота вращения вала дизеля, а следовательно, и его мощность.
1 По мере разработки и освоения производством тип контроллера может быть изменен.
Рис. 98. Схема соединений обмоток синхронного подвозбудителя ВС-652 (вид со стороны контактных колец):
С1, С2 — выводы с контактных колец; VI, 112 — начало н конец обмоткн возбуждения
двигатель серии П" width="417" height="290">
Рис. 99. Двухполюсный электродвигатель серии П:
1, 19 — винтовые пробки; 2 — крышка; 3, 18 — крышки шариковых подшниннков; 4, 17 — пресс-масленки; 5, 16 — шариковые подшипники; 6, 15 — крышки шариковых подшипников; 7 — траверса; 8 — передний подшипниковый щит; 9 — коллектор; 10 — станина; // — якорь; 12 — винт грузовой; 13 — вентилятор; 14 — задний подшипниковый щит; 20 — главный полюс
Рис. 100. Схема электрических соединений электродвигателей серии П
Таблица З
Рукоятка реверсивного барабана имеет три положения: «Вперед», «Назад» и нейтральное, при котором разомкнуты реверсивные контакты. Штурвал главного барабана имеет одно положение холостого хода дизеля (нулевое) и пятнадцать рабочих положений (позиций).
Конструкция аппарата предусматривает взаимную блокировку главного и реверсивного валов; в нулевом положении реверсивной рукоятки блокируется главный вал, на ходовых позициях штурвала блокируется реверсивный вал. Блокировка осуществляется специальным фиксатором, расположенным между храповиками главного и реверсивного валов, который в зависимости от положения рукояток «запирает» главный или реверсивный вал.
На вал главного барабана 6 набирают фигурные кулачковые шайбы, которые замыкают и размыкают подвижные контакты контроллера в определенной последовательности. Позиции контроллера фиксируются храповиком, рычагами и пружинами.
Техническая характеристика контроллеров приведена в табл. 3.
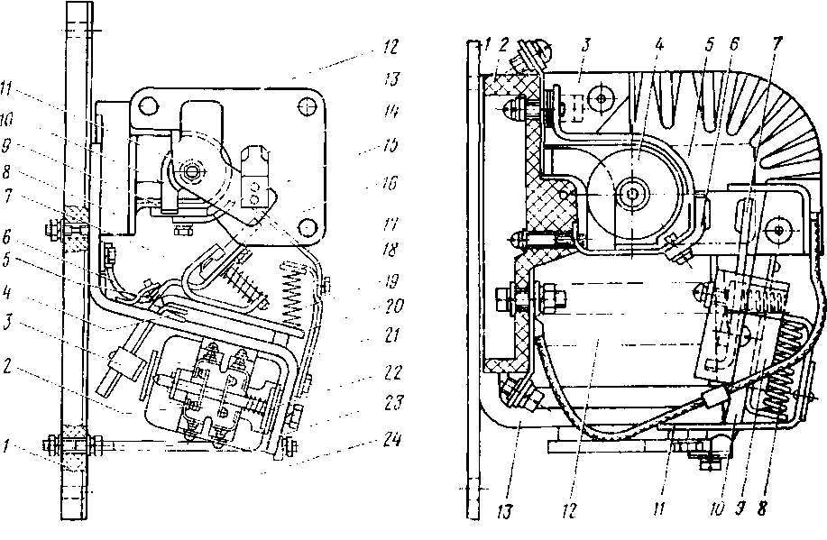
Контактор электропневматический поездной типа ПК-753Б-6. Установлен в цепи тягового электродвигателя тепловоза и предназначен для ее коммутации. Все узлы аппарата (рис. 102) смонтированы на изоляционной панели 2. Для герметизации поршня применены резиновые манжеты. Для гашения дуги при разрыве главной цепи применяется дугогасительная камера, в асбоцементных стенках которой
помещены ситалловые вставки, значительно удлиняющие срок службы камеры.
При подаче напряжения на катушку вентиля 9 втягивается его сердечник, открывая канал подачи сжатого воздуха в цилиндр пневматического привода контактора. Сжатый воздух давит на поршень и приводит в движение шток, который перемещает рычаг 7 с подвижным контактом 6, замыкающим цепь питания электродвигателя.
При снятии напряжения с катушки вентиля его якорь возвращается в исходное положение, сжатый воздух через открывшееся отверстие выходит в атмосферу, а подвижной контакт под действием отключающей пружины, помещенной в цилиндре пневматического привода, размыкается. Техническая характеристика электропневматических контакторов приведена в табл. 4.
Контактор электропневматической групповой ослабления поля типа ПКГ-565 подключает или отключает резисторы ослабления поля параллельно обмоткам возбуждения тяговых электродвигателей. Это групповой многополюсный прямоходовой контактор (рис. 103) с контактами главных цепей мостикового типа, с металлокерамическими контактными накладками и двумя парами контактов 9 вспомогательных цепей. Рабочее положение контактора на тепловозе — вертикальное, приводом вниз. Электропневматический привод диафрагменного типа соединен при помощи уголков с кронштейном 3. Неподвижные контакты 7 закреплены на пластмассовых контакте держателях 6, установленных и закрепленных на уголках 2.
Рис. 103. Групповой электропневматический контактор ослабления поля типа ПКТ-565:
1 — электропневматический вентиль; 2 — уголок; 3 — кронштейн; 4 — шток; 5 — подвижные контакты; 6 — контактодержатель; 7 — неподвижные контакты; 8 — диафрагма; 9 — контакты вспомогательных цепей
При подаче напряжения на катушку электропневматического вентиля ето якорь втягивается и открывает впускное отверстие для подачи воздуха в диафрагменную камеру контактора. Резиновая диафрагма 8, прогибаясь под действием воздуха, приводит в движение шток с подвижными контактами, в результате чего происходит замыкание цепи. При снятии напряжения с катушки электропневматического вентиля сжатый воздух выходит из диафрагменной камеры и контакты контактора размыкаются под действием отключающей пружины. Техническая характеристика контактора приведена в табл. 4.
Переключатель электропневматический кулачковый типа ППК-8063 (реверсор) изменяет направление тока в обмотках возбуждения тяговых электродвигателей (изменяет направление вращения якорей электродвигателей, а следовательно, и движения тепловоза).
Пневматический привод (рис. 104) диафрагменного типа 3 и кронштейн 8 связан с шестью изолированными стойками 6. На четырех изолированных стойках закреплены неподвижные контакты 4, а на двух — подвижные 2.
На вал 1 переключателя, поворачиваемый пневматическим приводом, насажены фигурные пластмассовые кулачковые шайбы 7. Привод переключателя управляется дистанционно с помощью электропневматических вентилей.
Переключатель имеет шесть независимых электрических групп по числу электродвигателей тепловоза. Каждая группа состоит из четырех неподвижных, укрепленных на стойках, и подвижных контактов, смонтированных на двух качающихся рычагах, каждый из которых управляется одной кулачковой шайбой 7. Переключатель может переключаться только при отключенных поездных контакторах. Техническая характеристика переключателя приведена в табл. 4.
Клапан песочницы типа К.ЛП-32 управляет системой подачи песка под колеса тепловоза в зависимости от направления его движения. В корпусе клапана установлены два электропневматических вентиля типа ВВ-32. Вентили имеют общий подвод сжатого воздуха и отдельные выходные отверстия к управляемым воздушным магистралям (механизмам). Давление воздуха 5 — 6,75 кгс/сма.
Нажатием педали песочницы замыкается электрическая цепь и напряжение поступает на один из электропневматических вентилей клапана КЛП-32. Вентиль срабатывает и пропускает воздух из системы пневматического управления к двум воздухораспределителям и далее к форсункам песочницы. Масса клапана 5,7 кг.
Таблица 5
Вентили электропневматические типов ВВ-1, ВВ-З и ВВ-32 предназначены для дистанционного управления пневматическими приводами установок тепловоза. Пневматическая система вентиля имеет корпус /, клапаны (впускной 8 и выпускной 6) и втулку 7, к электромагнитному приводу относятся катушка 2, ярмо 4, сердечник 5 и якорь 3.
На вентилях типа ВВ-1 (рис. 105, а) и ВВ-З электромагнитный привод клапанного типа, а на вентиле типа ВВ-32 (рис. 105, б) плунжерного типа с цилиндрическим якорем.
Вентили являются включающими аппаратами, т. е. при отсутствии напряжения на катушке проход сжатому воздуху через вентили закрыт. Катушки вентилей типа ВВ-1 и ВВ-З намотаны на каркасах, а катушка вентиля типа ВВ-32 без каркаса, залита эпоксидным компаундом. Характеристика вентилей приведена в табл. 5.
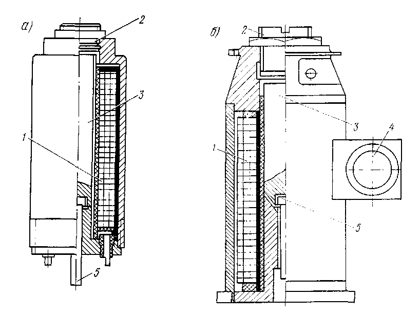
Электромагниты тяговые типов ЭТ-52Б и ЭТ-54Б (рис. 106) работают в системе объединенного регулятора дизеля. Электромагниты прямоходовые, закрытого исполнения с коническим стопом. Конструкция электромагнитов аналогична.
У электромагнита типа ЭТ-54Б (рис. 106, б) ход якоря 3 регулируется винтом 2, а тяговое усилие якоря передается штоку 5, являющемуся исполнительным органом электромагнита. Напряжение к катушке 1 электромагнита подводится при помощи штепсельного разъема. Техническая характеристика электромагнитов приведена в табл. 6.
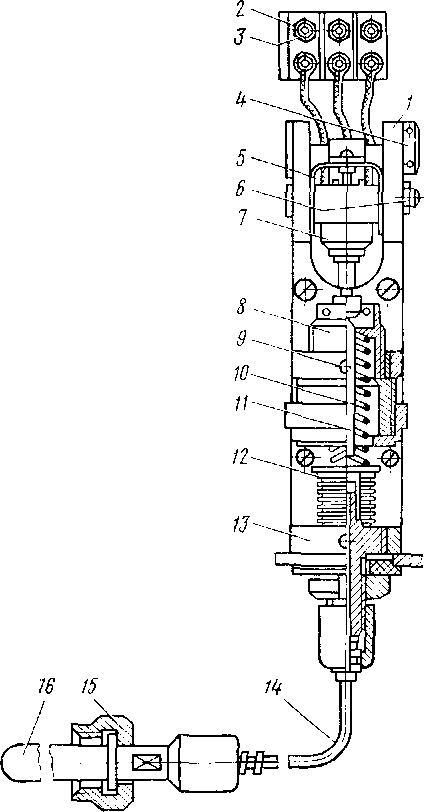
Электромагнитный контактор КПВ-604. Контакторы КПВ-604 подключают пусковые цепи тягового генератора к аккумуляторной батарее на период пуска дизеля. Контактор (рис. 107) собран на основной скобе 23 магнитопровода, установленной на изоляционной асбоцементной панели 1,
Рис. 106 Электромагнит тяговый а — ЭТ-52Б; б — ЭТ-54Б / — катушка. 2 — регулировочный винт, 3 — якорь, 4 — штепсельный разьем, 5 — шток
Пусковая цепь коммутируется главными контактами (подвижным 16 и неподвижным 15). При подаче напряжения на катушку 24 к ее сердечнику 22 притягивается якорь 20, на котором закреплена скоба 7, несущая подвижной контакт. Неподвижный контакт закреплен на нижней части скобы магнитопровода совместно с выводом дугога-сительной катушки 10. Второй конец этой катушки является контактным зажимом.
Таблица 6
Дугогасительная система (катушка, скоба, камера) позволяет гасить электрическую дугу главных контактов.
Помимо главных контактов, контактор имеет четыре вспомогательных 2, расположенных справа и слева от втягивающей катушки.
Электромагнитный контактор ТКПМ-111 (рис. 108) включает возбуждение возбудителя, а контакторы ТКПМ-121 включают цепи возбуждения тягового генератора и электродвигателя маслопрокачи-вающего насоса.
Конструктивно контакторы выполнены аналогично. В отличие от ТКПМ-111 контактор ТКПМ-121 имеет две пары замыкающих главных контактов. Основание 2 контактора выполнено так, что с правой стороны его устанавливается вторая дугогасительная система и неподвижный контакт 6. На якоре 10 контактора, также с правой стороны, закреплена вторая изоляционная колодка 9 с подвижным контактом 7. Поэтому все детали контактора ТКПМ-121, кроме основания 2 и колодки правого подвижного контакта, взаимозаменяемы с деталями контактора ТКПМ-111.
Рис. 107. Электромагнитный контактор КТВ-604:
1 — панель; 2 — вспомогательные контакты; 3 — нажимная пластина; 4 — гіріпма; Л — пружин і; в — і ибкое соединение; 7, 9, 21 — скобы; 8 — пластмассовая колодка; 10 — дугогпептглытя ка-т\'шка; 11 — сердечник; 12 — полюс; 13 -- дугогасительная камера; 14 — пружина плоская; 15 — неподвижный контакт; 16 — подвижной контакт; и _ дугогасительиый рог; 18 — притирающая пружина; 19 — возвратная пружина; 20 — якорь; 22 — сердечник; 23 — скоба магнитопровода; ^ — втягивающая катушка
Рис. 108. Электромагнитный контактор ТКПМ-111:
1 — планка; 2 — основание; 3 — камера дугогасительная; 4 — дугогасительная катушка; 5 — полюс; 6 — неподвижный контакт; 7 — подвижной контакт; 8 — пружина главная; 9 — колодка; 10 — якорь; // — скоба; 12 — сердечник и катушка втягивающая; 13 — ярмо
Таблица 7
При подаче напряжения на катушку контактора якорь 10 поворачивается вокруг кромки ярма 13, притягиваясь к сердечнику 12. Одновременно замыкаются главные контакты (подвижной 7 с неподвижным 6) и пластина нажимает на траверсу вспомогательных контактов, переключая их. Техническая характеристика контакторов приведена в табл. 7.
Реле управления серии Р-45 работают в электрических цепях управления тепловоза. Каждое реле состоит (рис. 109) из магнитной системы клапанного типа, контактов пальцевого 7 и мостикового 8 типов, установленных на панели 1. К магнитной системе реле относится ярмо 2, сердечник с катушкой 3 и подвижной якорь 4.
Контакты в реле по исполнению могут быть замыкающими или размыкающими. Все типы реле серии Р-45 по конструкции аналогичны и отличаются в зависимости от назначения того или иного реле только количеством и исполнением контактов.
Реле заземления типа Р-45Г2 в отличие от других типов реле серии Р-45 имеет токовую катушку вместо катушки напряжения и, кроме того, механическую защелку, удерживающую якорь во включенном состоянии. Срабатывание реле регулируется изменением величины сжатия пружины 5 путем вращения болта 6. Техническая характеристика реле приведена в табл. 8.
Реле времени РЭВ-812 предназначено для задержки отключения поездных контакторов после снятия возбуждения возбудителя и тягового генератора (РВ-3), а также для ступенчатого восстановления нагрузки главного генератора после прекращения боксования (РВ-4). Выдержка времени создается путем наведения э. д. с. самоиндукции в алюминиевом демпфере 19 и в алюминиевом основании 21 (рис. ПО); выключение питания катушки 22 приводит к появлению вихревых токов в них и задерживает спадание магнитного потока в магнито-проводе, обеспечивая задержку отпадания якоря 5.
Выдержка времени регулируется изменением толщины немагнитной прокладки 2 (грубая) и затяжкой отжимной пружины 3 (чувствительная) с помощью гайки 4. Техническая характеристика реле приведена в табл. 8.
Реле времени РВП-2121 (рис. 111) ограничивает продолжительность прокрутки вала дизеля при пуске, предохраняя аккумуляторную батарею от глубокого разряда и главный генератор от перегрева пусковых обмоток. Принцип действия реле основан на получении выдержки времени за счет замедленного поступления воздуха через регулируемое отверстие из одной воздушной полости в другую.
При подаче напряжения на катушку 3 якорь 5, преодолевая усилие возвратной пружины 2, притягивается к ярму 4 магнитной системы. Рычаг 14, нажимая на штифт нижнего микропереключателя 15, переключает его контакты без выдержки времени. Кроме того, якорь освобождает от нажатия пластмассовую колодку 6, и она под воздействием пружины 7 начинает опускаться вниз вместе с жестко связанной с ней диафрагмой8. Движению диафрагмы препятствует возникающее в воздушной полости а разрежение. В результате этого воздух из полости б пневматической камеры начинает поступать в полость а через регулируемое входное отверстие в. За счет изменения величины открытия входного отверстия регулировочным винтом И изменяют скорость поступления воздуха из одной полости в другую, т. е. время выдержки реле РВ-2.
Перемещение диафрагмы передается через пластмассовую колодку 6 на рычаг 13, который в свою очередь через определенную выдержку времени после подачи напряжения на катушку реле нажимает на штифт микропереключателя 12, переключая его контакты.
При обесточивании катушки электромагнита якорь 5 под действием возвратной пружины 2 занимает верхнее положение, отжимая пластмассовую колодку и диафрагму в крайнее верхнее положение. При этом воздух из полости а свободно выходит в полость б через клапан 10. Техническая характеристика реле приведена в табл. 8.
Таблица 8
Данные катушек
* В числителе — для главных, в знаменателе —для вспомогательных контактов. ** Для РД-ЗОТО срабатывание притоках: в числителе—катушки напряжения; в знаменателе— токовой катушки.
*** Напряжение срабатывания.
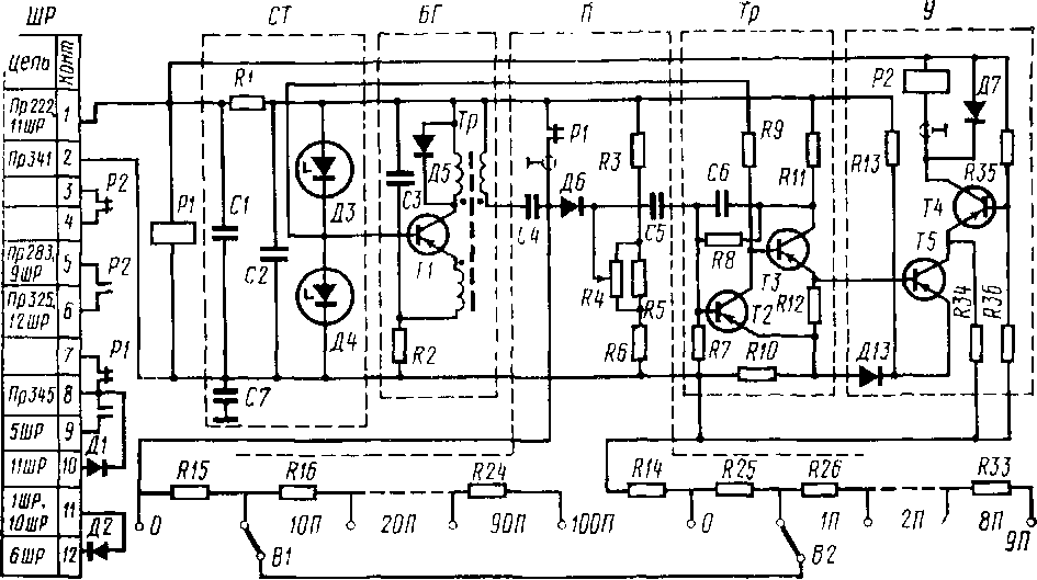
Реле" времени типа ВЛ-21 включает контактор маслопрокачиваю-щего насоса, а по окончании выдержки времени (90 с) на прокачку маслом дизеля включает пусковые контакторы Д1 — ДЗ. Это полупроводниковый аппарат блочной конструкции в защищенном исполнении с присоединением проводов через штепсельный разъем.
С клемм 1 и 2 штепсельного разъема (рис. 112) напряжение аккумуляторной батареи подается на катушку реле Р1 и стабилизированный делитель напряжения с фильтром СТ (С/, С7, /?/, С2, ДЗ, Д4). Стабилизированное пониженное напряжение подается на не-симметричый триггер Тр на транзисторах Т2 и ТЗ и блокинг-гене-ратор БГ на транзисторе ТІ для пуска их. При этом триггер устанавливается в одно из своих устойчивых состояний, когда Т2 открыт, а ТЗ закрыт, и остается в ждущем режиме до прихода управляющего импульса с бло-кинг-генератора. Включение транзистора Т2 при подаче напряжения на триггер обеспечивается делителем напряжения на резисторах Ш1, Я8, к7, подобранных таким образом, что отрицательный потенциал на базе Т2 гораздо выше, чем на базе ТЗ. В дальнейшем коллекторный ток открытого транзистора Т2 создает падение напряжения на резисторе Я9, положительный потенциал которого подается на базу ТЗ и надежно запирает его.
Транзисторный усилитель реле на транзисторах Т4, Т5 при этом также заперт, а реле Р2 отключено до поступления управляющего сигнала с выхода триггера на базу Т5. Транзисторы Т4 и Т5 усилителя включены последовательно для уменьшения допустимого напряжения коллектор-эммитер каждого транзистора.
После включения реле Р1 его размыкающие контакты, шунтирующие вторичную обмотку трансформатора ТР и конденсатор С4, включают последний через вторичную обмотку ТР и резисторы {Щ5— Я.14) на напряжение стабилизации. Величина этого сопротивления определяет время заряда конденсатора С4 до величины положительного опорного напряжения на диоде Д6. Опорное напряжение снимается с делителя на резисторах ИЗ—Я.6 и регулируется на заводе-изготовителе, поэтому в процессе эксплуатации изменять регулировку резистора
Рис 111. Электропневматическое реле времени РВП 2121:
1 — основание; 2 — возвратная пружина, 3— катушка, 4 — ярмо магнитной системы, 5 — якорь, 6 — пластмассовая колодка, 7 — пружина, 8 — диафрагма, 9 — камера пневматическая, 10 — клапан, // — винт регулировочный, 12, 15 — микропереключатели; 13, 14 — рычаги, а, б — воздушные полости, в — входное отверстие
Рис. 112. Принципиальная схема реле типа ВЛ-21
Р.4 разрешается только при замене опорного диода. Время заряда конденсатора С4, а следовательно, и время выдержки реле устанавливается переключателем В1—В2, изменяющим величину зарядного сопротивления.
По истечении заданной выдержки времени напряжение на конденсаторе С4 достигает величины опорного напряжения и диод Д6 открывается. С блокинг-генератора через открытый диод Д6 и разделительный конденсатор С5 проходят импульсы положительной полярности на базу отпертого транзистора Т2, закрывая его. Уменьшение тока в цепи эммитер-коллектор Т2 приводит к резкому увеличению отрицательного потенциала на базе ТЗ. В результате чего происходит мгновенное переключение триггера во второе устойчивое состояние (Т2 — закрыт, ТЗ — открыт). Выходное напряжение с транзистора ТЗ подается на базу Т5 усилителя У, открывая его и включая реле Р2. Реле в свою очередь производит переключение в электрической схеме управления пуском дизеля.
Диоды Д5 и Д7 шунтируют обмотки реле Р2 и блокинг-генератора для уменьшения обратного напряжения на коллекторах транзисторов, не допуская их пробоя. С5, Я9 — положительная обратная связь, ускоряющая переключение триггера. Техническая характеристика реле приведена в табл. 8.
Реле дифференциальное типа РД-3010 управляет контакторами ослабления поля тяговых электродвигателей тепловоза. Реле (рис. 113) имеет один замыкающий контакт 7 с двойным разрывом, закрепленный на якоре 4, и два неподвижных контакта 6. Магнитная система реле состоит из маг-нитопровода (ярма) 3 и двух катушек: токовой (сериесной) 2 и напряжения (шунтовой) /, включаемых на сигнал, пропорциональный току и напряжению тягового генератора соответственно. Выводы катушек собраны на клем-мной панели.
Контактная система реле закрыта защитным прозрачным кожухом 5.
Реле срабатывает при возникновении электромагнитного усилия, создаваемого катушкой напряжения, которому противодействует усилие токовой катушки и пружины. При уменьшении тока в катушке до определенных величин якорь реле отпадает и контакты размыкаются. Техническая характеристика реле приведена в табл. 8.
Блок боксования типа ББ-320 позволяет автоматически защищать тяговые электродвигатели тепловоза от разносного боксования. Блок (рис. 114) состоит из трех реле типа РК-221, соединенных вместе шпильками, пропущенными через панель / и закрытых кожухом 5, который после настройки реле и проверки их работы пломбируется пломбой 9.
Реле РК-221 представляет собой электромагнитный аппарат плунжерного типа, выполненный с разомкнутой магнитной системой. Втягивающийся якорь (плунжер) 6 укреплен на поворотном рычаге 7 из немагнитного материала. Контактная система реле имеет один размыкающий 3 и один замыкающий 4 контакты перекидного типа.
Одно из реле (обозначение на электрической схеме РБ1) включено между зажимами Я Я первого и второго электродвигателей. Если боксования не происходит, то напряжение на зажимах ЯЯ обоих тяговых электродвигателей будет одинаково и ток по цепи катушки РБ1 вследствие отсутствия разности потенциалов на ее концах проходить не будет.
При боксовании одной из колесных пар, например первой, частота вращения якоря электродвигателя, соединенного с этой осью, быстро возрастает и вызывает увеличение противо-э. д. с. на зажимах этого двигателя. Потенциал точки Я Я первого двигателя уменьшается и по катушке РБ1 потечет ток от точки Я Я второго двигателя к точке Я Я первого двигателя. Если боксует вторая колесная пара,то ток через катушку РБ1 потечет в обратную сторону. При срабатывании реле своими контактами разрывает цепь питания катушки ВВ. Два других реле включены аналогично между третьим и четвертым электродвигателями (РБ2) и пятым и шестым (РБЗ).
Коэффициент возврата реле весьма высок (не менее85%), т. е. якорь отпадает при токе в катушке только на 15% ниже тока, при котором он притягивается. Реле регулируется путем изменения: натяжения пружины 8; положения якоря (плунжера); изменением толщины немагнитной напайки на якоре и положения контактов 2.
Реле давления масла типа РДК-3 (рис. 115) защищают дизель при понижении давления в системе смазки верхнего коленчатого вала (установлено два реле). При повышении давления масла выше установленной по шкале величины рычаг 3 под действием силы давления поворачивается против часовой стрелки. При повороте правый конец рычага отойдет от кнопки микропереключателя 8, контакты которогоавтоматически замкнутся. При понижении давления рычаг под действием силы пружины 4 начнет поворачиваться по часовой стрелке и при достижении величины, равной установленной по шкале, рычаг своим правым концом нажмет на кнопку микропереключателя, контакты разомкнутся.
Реле настраивают путем изменения затяжки пружины, вращением ходового винта 6, предварительно отвернув пробку 7. После настройки ходовой винт 6 стопорится пробкой 7. Диапазон настройки реле на срабатывание 0 — 2,5 кгс/см2.
Ряс. 116. Комбинированное реле температуры КРД-2:
1 — корпус; 2—клемма; 3, 6 — гайки;
4 — эксцентрик; 5 — скоба; 7 — микропереключатель; 8 — штуцер; 9 — винт стопорный; 10 — пружина; И — толкатель; 12 — спльфоп; 13 — кронштейн; 14 — капиллярная трубка; 15 — накидная гайка; 16 — термобаллоп
Рис. 117. Автоматический воздушный выключатель типа А3161:
1 — термобиметаллическая пластина; 2 — рычаг взвода; 3 — рукоятка; 4 — крышка, 5 — выводной зажим; 6 — дугогасительная камера; 7 — подвижной контакт; 8 — неподвижный контакт; 9 — основание
Рис 118 Выключатель кнопочный ножной типа КН-2А:
1 — корпус, 2— контактные пальцы, 3— ползун, 4 — контактная пластина, 5 — педаль
Комбинированное реле температуры КРД-2 предназначено для защиты дизеля от превышения температуры выше допустимой в водяной и масляной системах охлаждения дизеля. Реле изготовлено на базе двух универсальных чувствительных элементов температуры, которые вмонтированы в корпус / (рис. 116). У чувствительного элемента температуры термобаллон 16, помещенный в трубопровод системы охлаждения дизеля, сильфон 12 и капиллярная трубка 14, соединяющая их, представляют собой герметически замкнутую термосистему, заполненную жидкостью с большим коэффициентом объемного расширения.
При повышении температуры в системе охлаждения увеличивается давление в термосистеме и сильфон 12, растягиваясь и преодолевая сопротивление пружины 10, перемещает толкатель //, который нажимает на кнопку микропереключателя 7, переключая его контакты.
При снижении температуры в системе охлаждения сильфон под действием пружин сжимается и толкатель отходит от кнопки микропереключателя, производя обратное переключение контактов.
Чувствительный элемент реле регулируется при помощи штуцера 8. При ввинчивании штуцера увеличивается сила нажатия пружины 10, при вывинчивании — уменьшается. Самопроизвольное перемещение регулировочного штуцера 8 предотвращается при помощи стопорного винта 9.
Допустимая температура измерений 30 — 105° С, контакты реле рассчитаны на номинальный ток 2,5 А и напряжение 24 В.
Автоматический воздушный выключатель типа А3161 предназначен для коммутации и защиты электрических цепей, аппаратов и электрических машин при перегрузках и коротких замыканиях. Выключатели (рис. 117) имеют ручное управление со свободным расцеплением имометным замыканием и размыканием контактов. Коммутационное положение контактов определяется по положению рукоятки 7 выключателя: при включенном положении рукоятка занимает верхнее положение («Вкл.»), при отключенном вручную нижнее («Откл.»), а при автоматическом — промежуточное. Для включения выключателя, отключавшегося автоматически, необходимо по истечении не менее 1 мин перевести рукоятку вниз («взвести» механизм расцепителя), а затем — вверх.
Выключатель кнопочный ножной типа КН-2А (рис. 118) служит для управления песочной системой тепловоза, подавая питание на катушки электропневматических вентилей клапана песочницы.
При нажатии на ножную педаль 5 происходит перемещение контактного ползуна 3. Контактной пластиной 4, укрепленной на ползуне, замыкаются два контактных пальца (контакта) 2. Детали выключателя помещены в литой корпус 1.










