12.5. Блоки и панели выпрямителей
Блок выпрямителей кремниевых типа БВК-450 представляет собой набор выпрямительных мостов, предназначенных для работы в цепях схемы регулирования электропередачи тепловоза, а именно: В1, В2, ВЗ, Вб — в цепи трансформаторов постоянного тока; В4 — в цепи трансформатора постоянного напряжения; В5, В7 — как разделительные диоды.
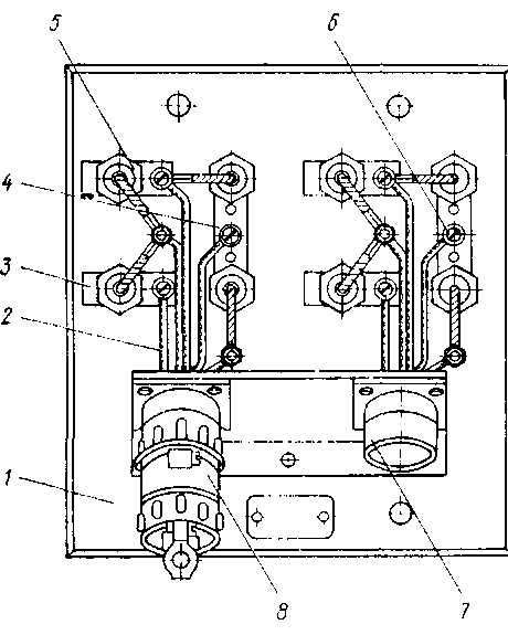
Блок б (рис. 125) представляет собой изоляционную панель 1, на которой установлены радиаторы 3 с закрепленными на них полупроводниковыми диодами 2. Панель с находящимися на ней элементами прикреплена к уголкам съемной кассеты 4, вставленной в корпус 5. Выводы от полупроводниковых диодов выполнены проводами 9, припаянными к клеммам колодки штепсельного разъема 8. В схему регулирования тепловоза блок включается при помощи вставки штепсельного разъема 7. Техническая характеристика блоков и панелей приведена в табл. 14.
Панель выпрямителей кремниевых типа ПВК-6040 состоит из двух выпрямительных мостов. Один из них предназначен для создания положительной обратной связи и выпрямления выходного тока ампли-стата возбуждения, питающего обмотку возбуждения возбудителя тягового генератора, другой — для выпрямления входного тока, питающего регулировочную обмотку амплистата возбуждения.
Рис. 125. Блок выпрямителей кремниевый типа БВК.-450:
1 — панель изоляционная; 2 — диод; 3 — радиатор; 4 — кассета; 5 — корпус; о — блок; 7 — вставка штепсельного разъема; 8 — колодка штепсельного разъема; 9 — соединительные провода
Рис. 126. Панель выпрямителей кремниевых типа ПВК-6040:
1 — панель изоляционная; 2 — выводные провода; 3 и 4 — контактные планки; 5 — вентиль кремниевый; 6 — винт; 7 — колодка штепсельного разъема; 8 — вставка штепсельного разъема
Два одинаковых выпрямительных моста (рис. 126) состоят из кремниевых вентилей 5, закрепленных на панели / при помощи контактных планок 4 и 3. К этим планкам винтами 6 присоединены выводные провода 2, другими своими концами припаянные к клеммам штепсельных колодок 7, закрепленных на панели при помощи угольников. В электрическую схему тепловоза аппарат подсоединяется при помощи вставки 8 штепсельного разъема.
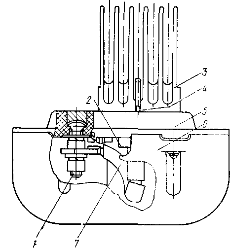
Панель с выпрямителем кремниевым типа ПВК-60П предназначена для бесконтактного включения вспомогательного генератора на заряд аккумуляторной, батареи тепловоза после пуска дизеля и отключения батареи от вспомогательного генератора при его остановке.
На панели 5 (рис. 127) закреплен скобой 4 радиатор охлаждения 3 с установленным на нем полупроводниковым кремниевым гхнтилем 2. Вывод вентиля к клемме / изолирован трубкой 7. Закрытый кожухом 6 вентиль крепится к воздуховоду, при этом радиатор вентиля опускается в воздуховод и обдувается охлаждающим воздухом.
Рис. 127. Панель с выпрямителем кремниевым типа ПВК-6011:
1 — выводная клемма; 2 — вентиль кремниевый; 3 — радиатор; 4 — скоба; 5 — панель изоляционная; 6 — кожух; 7 — изоляционная трубка
Таблица 14










