10.2. Масляная система тепловоза
Непрерывную подачу масла к трущимся деталям дизеля, заднего и переднего распределительных редукторов и конического редуктора гидропривода обеспечивает масляная система тепловоза (рис. 51, см. вклейку в конце книги). От масляной системы питаются также гидромуфты приводов вентиляторов охлаждения тяговых электродвигателей, гидромуфты вентилятора холодильной камеры и сервопривода автоматики холодильной камеры.
В зависимости от назначения систему можно условно разбить на пять контуров: главный контур (контур подачи масла на дизель), контур подачи масла к вспомогательным механизмам тепловоза, контуры фильтра тонкой очистки, центробежного фильтра и маслопрока-чивающего агрегата.
Главный контур. Насос 21 забирает масло из картера и по трубопроводу подает для охлаждения в водомасляный теплообменник 51. Охлаждающий элемент теплообменника (рис. 52) представляет собой набор медных трубок 9, концы которых развальцованы в трубных досках / и 7. Доска 7 жестко закреплена между корпусом 5 и крышкой 8. Нижняя доска / может свободно перемещаться при нагреве охлаждающих трубок. Полости воды и масла разъединены сальниковым уплотнением, зажатым между нижним корпусом 3 и крышкой 19.
Масло проходит охлаждающий элемент за 14 ходов, вода — за три хода, что достигается определенным расположением перегородок 14 в нижней и верхней крышках. Охлажденное масло поступает в фильтр грубой очистки 46 (см. рис. 51) щелевого типа. Фильтр состоит из 10 включенных параллельно фильтрующих секций, вставленных в сварной корпус / (рис. 53). Фильтрующая секция представляет собой набор промежуточных 10 и рабочих 12 пластин, поочередно надетых на центральный стержень 9, так что «лапки» промежуточных пластин совпадают со «спицами» рабочих пластин. Толщина промежуточной пластины 0,15 мм, что определяет величину фильтрующей щели. На стойку 8 квадратного сечения Надеты ножи //, так что своими концами они входят в щели между рабочими пластинами и образуют гребенку для очистки фильтрующих элементов. Масло, проходя внутрь фильтрующей секции, очищается от примесей, превышающих размер щели между рабочими пластинами, и отфильтрованное нагнетается в масляные коллекторы дизеля.
Работа системы контролируется контрольно-измерительными приборами:
а) давление, создаваемое масляным насосом, — по манометру 8 (см. рис. 51), установленному на щите приборов 7 в дизельном помещении;
б) давление в конце верхнего масляного коллектора дизеля — манометрами 31 и 23, установленными на пультах управления ведущей и ведомой секций;
в) температура масла на выходе из дизеля — термометром 26;
г) максимально допустимая температура — температурным реле 19 (при превышении максимально допустимой температуры снимается нагрузка с дизеля);
д) перепад давления — манометрами 11 п 13—-определяет степень загрязнения фильтра грубой очистки.
Контур подачи масла к вспомогательным механизмам тепловоза. К вспомогательным механизмам тепловоза масло подводится очищенным в фильтре грубой очистки, через предохранительный клапан 44, который пропускает масло при давлении в главном контуре свыше 0,7 —-0,8 кгс/см2 (конструкция клапана показана на рис. 54). Клапан исключает переполнение маслом редукторов и гидропривода при остановке дизеля и прокачке системы маслопрокачивающим насосом. Масло к переднему и заднему распределительным редукторам и коническому редуктору гидропривода подводится через редукционные клапаны 24 и 45 (см. рис. 51).
Рис. 52. Теплообменник: 1- трубная доска нижняя; 2 — кронштейн крепления; 3 — корпус нижний; 4 — патрубок выхода масла; 5 — корпус верхний; 6, 12, 16 — резиновые уплотнительные кольца; 7 — трубная доска верхняя; 8 — крышка верхняя; 9 — трубка; 10 — резиновое уплотнение; 11 — штуцер для выпуска па-ро-воздушной смеси; 13 — корпус средний; 14 — перегородка; 15 — рубашка; 17 — промежуточное стальное кольцо; 18 — штуцер для слива воды; 19—крышка нижняя
Рис. 53. Фильтр грубой очистки масла:
1 — корпус; 2 — рукоятка; 3 — секция фильтра; 4, 14 — гайки; 5 — кран; 6 — корпус секции фильтра; 7 — прокладка; 8 — стойка; 9 — стержень секции; 10 — промежуточная пластина; 11 — нож; 12 — рабочая пластина; 13 — нижний фланец; 15 — прижимная шайба
При превышении заданного давления масла (0,4 — 0,7 кгс/см2 на 15-й позиции контроллера) в камере А клапана (рис. 55) резиновое уплотнение 9 прогибается, сжимая пружину 6. Клапан 13 под действием пружины 14 прикрывает проходное сечение, тем самым уменьшает проток масла. Падение давления масла вызывает открытие клапана 13 на большую величину и увеличение протока масла. Таким образом обеспечивается постоянство заданного давления. Масло из распределительных редукторов отводится в картер дизеля откачивающими насосами,,установленными на редукторах. Для отключения подачи масла к редукторам, а также для поддержания необходимого давления в случае выхода из строя редукционных клапанов установлены вентили 37 и 50 (см. рис. 51).
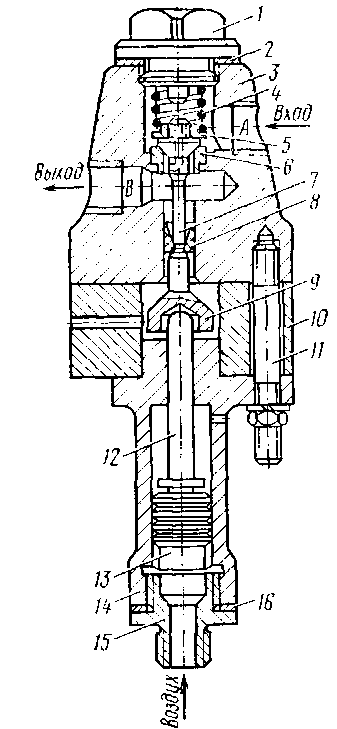
Масло к гидромуфте привода вентилятора холодильной камеры поступает через запорный клапан 52, который перекрывет подачу масла в гидромуфту (с целью снижения остаточных оборотов ветиля-торного колеса) при выключенной гидромуфте (закрытии жалюзи). В этом случае доступ воздуха в пневмоцилиндр 14 (рис. 56) прекращается, клапан 7 под действием пружины 4 садится на седло 6, а масло на передний подшипниковый узел гидропривода подается через канал диаметром 1,5 мм в клапане 7.
При отказе запорного клапана гидромуфта питается через открытый вентиль 29 (см. рис. 51), при этом давление будет поддерживаться дросселем 53. Масло от гидропривода отводится через общую сливную трубу в картер дизеля.
На сервомотор автоматического привода гидромуфты 2 масло поступает от контура центробежного фильтра 4 и отводится в общую сливную трубу. Через терморегулятор 3 автоматического привода гидромуфты прокачивается неохлажденное масло из дизеля. Давление масла в системе смазки вспомогательных механизмов контроли-лируется манометреми 9, 18 и 25.
Контур фильтра тонкой очистки. До 4% масла главного контура проходит через фильтр тонкой очистки (рис. 57), где отделяются взвешенные в масле частицы размером до 20 — 30 мк. Фильтрация производится бумажными фильтрующими секциями. Фильтровальная бумага, надетая на картонную полосу, спирально навернута на трубку и по цилиндрической поверхности оклеена стяжной полосой. Фильтрующие секции 7 установлены в корпусе 8 на семи полых стержнях 15, которые каналами соединяются с нижней полостью В чистого масла. Отфильтрованное масло сливается в картер дизеля. Давление в фильтре регулируется дросселем 55 (см. рис. 51) и замеряется манометром 14.
Контур центробежного фильтра. Около 4% общего количества масла проходит дополнительную тонкую очистку в центробежном фильтре 20 (см. рис. 51). Масло подается из картера дизеля отдельным масляным насосом 47 шестеренчатого типа (рис. 58) с приводом от заднего распределительного редуктора. В центробежном фильтре (рис. 59) масло проходит по каналам оси 13 и фланца 15 во внутреннюю полость ротора //, далее по зазорам между осью и коробкой 7 к трубам 10 и через сопловые наконечники 17 выбрасывается двумя противоположно направленными струями в полость корпуса 12.
Реактивное действие струи заставляет ротор вращаться с частотой 5000 — 6000 об/мин и возникающая при этом центробежная сила отбрасывает более тяжелые частицы в масле к внутренним стенкам ротора, где они откладываются. Очищенное масло из корпуса сливается по горловине 19 в картер дизеля. Для создания необходимой скорости истечения струи из сопел ротора масло подводится к фильтру с давлением 8 — 10,4 кгс/см2, которое поддерживается разгрузочным клапаном 49 (см. рис. 51), избыток масла сбрасывается в главный контур. Кс лтроль давления масла до центробежного фильтра ведется по манометру 15.
Рис. 56. Клапан запорный:
1 — пробка, 2 — прокладка, 3 — корпус, 4 — пружина, 5 — шайба, ь — седло, 7 — клапаи, 8, 9, 13 — поршни, 10 — проставка. 11 — шпилька, 12 — шток, 14 — пиевмо-цилиндр; 15 — штуцер, 16 — прокладка
Рис. 57. Фильтр тонкой очистки масла;
1 — крышка, 2 — ручка, 3 — пробка, 4, 12 — гайки, 5 — болт, 6 — решетка, 7 — секция тонкой очисг ки, 8 — корпус, 9 — корпус клапана, 10 — шарик, 11 — пружина, 13 — труба, 14 — диище, 15 — стержень 16 — бонка 17 — сальник, 18, 23 — штуцеры, 19 — труба перепускная, 20 — фланец, 21 — кольцо, 22 — прокладка 24 — сальник
Контур маслопрокачивающего агрегата (рис. 60) обеспечивает прокачку дизеля маслом перед запуском, что значительно уменьшает износ и задиры поверхностей, а также мощность, необходимую на раскрутку коленчатого вала и пуск дизеля. Масло забирается из картера дизеля шестеренчатым маслопрокачивающим насосом и подается в фильтр грубой очистки, далее — в масляные коллекторы дизеля. Одновременно маслом заполняется трубопровод главного контура и теплообменник. При работе дизеля контур маслопрокачивающего насоса перекрывается невозвратным клапаном 38 (см. рис. 51).
Рис. 58. Масляный насос центробежного фильтра:
1 — корпус; 2 — болт; 3 — крышка; 4 — втулка; 5 — заглушка; 6 — гайка накидная; 7 — шестерня ведущая; 8 — винт стопорный; 9 — клапан перепускной; 10 — трубка; 11 — шестерня ведомая; 12, 14 — лрокладюі: 13 — штифт
Рис. 59. Центробежный фильтр:
1 — пробка; 2. 9 — прокладки; 3 — крышка; 4 — втулка-подшипник; 5 — шпилька; 6 — крышка ротора; 7 — коробка; 8 — крышка фильтра; 10 — труба; 11 — ротор; 12 — корпус фильтра; 13 — ось ротора; 14 — ганка; 15 — фланец; 16 — втулка-подшипник; 17 — сопловой наконечник; 18 — штуцер; 19 — горловина
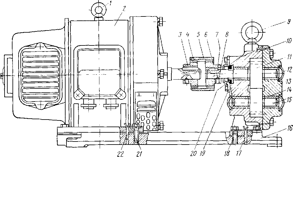
Рис. 60. Маслопрокачивающий агрегат:
1,9 — рым-болты; 2 — электродвигатель; 3, 6 — поводки зубчатые; 4 — кольцо стопорное; 5 — муфта; 7 — шпонка; 8 — винт; 10 — корпус; 11 — шестерня ведущая; 12—заглушка; 13 — крышка; 14 — втулка; 15 — шестерня ведомая; 16 — плита; 17, 22 — штифты; 18, 21 — болты; 19 — обойма сальника; 20 — сальник










