10. СИСТЕМЫ ТЕПЛОВОЗА
10.1. Топливная система тепловоза
Подача необходимого количества топлива для нормальной работы топливных насосов дизеля обеспечивается топливной системой тепловоза (рис. 45). Запас топлива на тепловозе содержится в баке 13, подвешенном к главной раме в средней части.
Топливный бак (рис. 46) сварен из листовой стали толщиной 4—5 мм с внутренними перегородками, обеспечивающими достаточную жесткость конструкции и гашение колебаний топлива при движении тепловоза. В нижнюю часть бака вварен отстойник, в боковых стенках имеются люки для промывки внутренних полостей.
Топливо через заборное устройство 8 бака засасывается топливопод-качивающим насосом, который работает от электродвигателя П21 через эластичную муфту. Насос (рис. 47) шестеренчатого типа — при вращении ведущей втулки 13 вращается звездочка 12. Топливо из полости всасывания А по зазорам между зубьями перегоняется в полость нагнетания Б и далее по трубопроводу в топливный коллектор дизеля. Герметичность насоса обеспечивает уплотнение сильфонного типа.
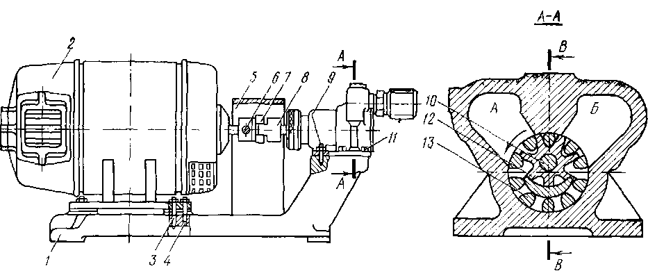
Рис. 45. Схема топливной системы тепловоза:
1 — дизель-генератор 10Д100; 2 — топливный коллектор; 3 — клапаи перепускной; 4 — манометр давления топлива до фильтра тонкой очистки; 5 — манометр давления топлива после фильтра тонкой очистки; 6 — фильтр тонкой очистки топлива; 7— демпфер ДВ; 8 — клапан предохранительный; 9— подогреватель топлива; 10 — заборное устройство; 11 — вентиль для выпуска воздуха из системы; 12 — щуп для замера топлива; 13 — топливный бак; 14 — пробка и клапан для слива отстоя; 15, 16 — вентили; 17 — горловина заправочная; 18 — клапан аварийного питания топливом; 19 — фильтр грубой очистки; 20 — топливоподкачивающий агрегат
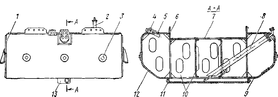
Рис. 46. Топливный бак:
1 — лист торцовый; 2 — щуп для замера топлива; 3 — люк; 4—горловина залива топлива; 5 — фильтр топливного бака; 6 — лист вертикальный; 7 — лист верхний; 8 — заборное устройство; ? — лист нижний; 10 — перегородка; //—клапан слива топлива; 12 — боковой лист; 13 — отстойник
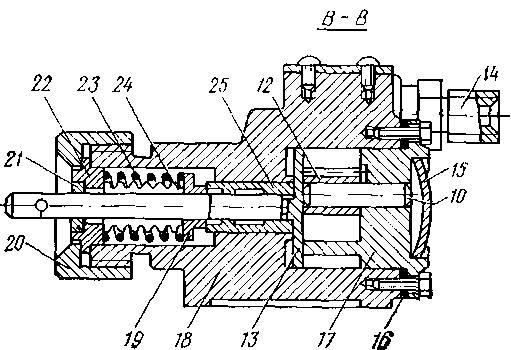
Рис. 47. Топливоподкачивающий агрегат:
1 — плита; 2 — электродвигатель; 3, 9 — штифты; 4 ~ шпилька; 5 — кожух; 6, 8, 19, 25 — втулки; 7 — амортизатор муфты; 10 — ось звездочки; 11 — болт; 12 — звездочка; 13 — ведущая втулка; 14 — штуцер; 15 — крышка-пластинка; 16 — прокладка; 17 — крышка; 18 — корпус насоса; 20 — накидная гайка; 21 — уплотнительное кольцо; 22 — уп-лотнительная втулка; 23 — пружина снльфона; 24 — гофрированная трубка сильфона
Рис. 49. Подогреватель топлива:
1, 5 — крышки; 2 — обечайка; 3 — пластина; 4, 9— прокладки; 6 — штуцер; 7 — патрубок; 8 — трубная доска; 10 — перегородка; 11 — трубка; 12 — бонка
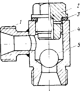
Рис. 50. Клапан аварийного питания: 1 — штуцер; 2 — пробка; 3 — кольцо; 4 — корпус; 5 — шарик
Давление нагнетания насоса ограничивается предохранительным клапаном, который сбрасывает излишек топлива в бак при превышении давления свыше 3 — 3,5 кгс/см2. Топливо, поступающее к насосам высокого давления, проходит две степени очистки: в фильтре грубой очистки, устанавливаемом на всасывании топливоподкачивающего насоса, и фильтре тонкой очистки на нагнетательной части топливного трубопровода.
Фильтр грубой очистки топлива (рис. 48) — щелевой, двухсекционный, состоит из корпуса 3 и двух фильтрующих секций, поджатых пружиной 9 к корпусу и закрытых колпаками 7, каждый из которых стянут с корпусом при помощи шпилек 2 и стяжного болта 11. Для торцового уплотнения корпуса и колпаков служат паронитовые прокладки 4.
Фильтрующая секция состоит из двух гофрированных металлических стаканов: наружного 6 и внутреннего 5, на которые навита латунная лента специального профиля. В навитом состоянии лента своими выступами с одной стороны ленты на равных расстояниях образует между витками фильтрующую щель шириной 0,07 — 0,09 мм.
При прохождении топлива через фильтрующие щели частицы механических примесей, превышающие размер щели, задерживаются на наружной поверхности стаканов. Обе фильтрующие секции работают параллельно. Направление подвода топлива указано стрелками на бонке корпуса 3. Стяжные болты 11 и пробки 12 уплотнены медными прокладками 10 и 13.
Конструкция фильтра тонкой очистки топлива рассмотрена при описании топливной системы дизеля.
В топливной системе тепловоза установлен подогреватель топлива, включением которого в холодное время устраняется выделение парафинов в топливе. Горячая вода из контура охлаждения дизеля проходит по трубкам подогревателя топлива в два хода (рис. 49); топливо, омывая трубки, совершает 14 ходов за счет постановки перегородок 10.
Из топливоподогревагеля топливо поступает в заборное устройство (вентиль 16, см. рис. 45, открыт, вентиль 15 закрыт) или в бак (вентили включены наоборот). В случае отказа топливоподкачиваю-щего агрегата предусмотрено аварийное питание топливом. При этом к насосам высокого давления топливо подсасывается из бака через клапан аварийного питания 18 (конструкция которого показана на рис. 50), минуя фильтр грубой очистки. Мощность дизеля при аварийном питании составляет 2/3 номинальной.
Работа топливной системы контролируется манометрами 4 и 5 (см. рис. 45), установленными до фильтра тонкой очистки и в конце топливного коллектора. Для сглаживания пульсации топлива, возникающей при работе насосов высокого давления, перед манометром 5 установлен демпфер 7 вентильного типа.










