10.3. Водяная система тепловоза
Охлаждение дизеля, наддувочного воздуха и масла, а также обогрева кабины машиниста в холодное время обеспечивается водяной системой тепловоза. Водяные системы охлаждения дизеля, охлаждения масла и наддувочного воздуха выполнены раздельными трубопроводами с объединенным расширительным баком, имеющим вырезы в перегородках для сообщения систем.
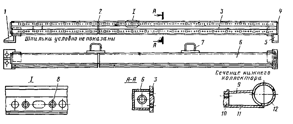
Водяная система охлаждения дизеля. Циркуляцию воды в системе обеспечивает водяной насос 23 (рис. 61, см. вклейку в конце книги), нагнетающий воду в полости охлаждения дизеля и турбокомпрессора. Из водяного коллектора дизеля горячая вода поступает на охлаждение в радиаторные секции холодильной камеры, откуда — на всасывание водяного насоса. На тепловозе установлены секции двух размеров: в верхнем ряду холодильной камеры длиной 686 мм, в нижнем — 1356 мм, при этом другие конструктивные размеры одинаковы. Вода в секции проходит по оребренным трубкам 7 (рис. 62), концы которых вставлены и припаяны в отверстиях решеток трубных коробок 2. Подвод воды к трубкам и крепление секций производится стальными коллекторами 1, приваренными к трубным коробкам твердым припоем.
Радиаторные секции в холодильной камере объединены общими коллекторами (рис. 63). Верхний и нижней коллекторы изготовлены из стальных труб, к которым приварены распределительные планки 10. Средний коллектор выполнен из стального листа П-образной формы с приваренной к нему аналогичной планкой 10.
Расширительный бак водяных систем обеспечивает возможность увеличения объема воды при нагревании и пополнение систем при утечках. Уровень воды в системах контролируется по водомерному стеклу на баке. Из бака выведена дренажная труба, через которую сливается вода при переполнении бака, и подпиточная труба с вентилем 69 (см. рис. 61). В бак по трубопроводу с вентилем 70 из самых высоких мест системы отводится паро-воздушная смесь.
К водяной системе охлаждения дизеля трубопроводом с ВЄН1ИЛЯ-ми 63 и 68 подключен подогреватель топлива 16.
От водяного коллектора дизеля по трубопроводу с вентилем 64 подводится горячая вода в нагревательную секцию отопительно-вентиляционного агрегата: вода отводится на всасывание водяного насоса. Через терморегулятор 27 сервопривода гидромуфты вентилятора холодильной камеры вода проходит по трубопроводам с вентилями 59 и 60.
Вода, просочившаяся из сальников водяных насосов, собирается в бачке 26 и отводится наружу тепловоза. Для предотвращения замерзания скопившейся воды бачок вварен на трубе главного контура масляной системы.
Рис. 62. Секция радиатора водяная:
1 — коллектор; 2 — коробка трубная; 3 — заклепка; 4 — доска усилительная; 5 — пластина концевая; 6 — трубка глухая; 7 — трубка охлаждающая; 8 — пруток; 9 — пластина охлаждающая; 10 — щиток баковой; 11 — ободок; а — отверстия для прохода воды; б — отверстия для шпилек крепления секции к коллектору холодильной камеры
Рис. 63. Коллектор средний: 1 — кронштейн задний; 2 — перегородка; 3, 10 — планкн распределительные; 4 — днище; 5 — кронштейн передний; 6 — корпус; 7 —балка; 8 — шпилька; 9. 11 — листы; 12 — корпус
Горячей водой прогревается вода в бачке 6 для санузла. За работой системы следят по термометрам 13 и 14, установленным на пультах ведущей и ведомой секций. Термореле 9 снимает нагрузку с генератора при превышении максимально допустимой температуры воды на выходе из дизеля.
Водяная система охлаждения масла и наддувочного воздуха (рис. 64). Циркуляция охлаждающей воды обеспечивается центробежным насосом 8, который нагнетает воду в воздухоохладители 5 и далее по двум параллельным трубопроводам, соединяющимся за дизелем, в теплообменник 4 на охлаждение дизельного масла.
Горячая вода охлаждается в радиаторных секциях 17, расположенных с правой стороны холодильной камеры и частично с левой стороны (левые коллекторы разделены перегородкой) и поступает на всасывание водяного насоса.
Пополнение утечек и возможность расширения воды при нагревании обеспечивается баком 3, соединенным с системой подпиточной трубой с вентилем 15 и пароотводными трубами. Температура воды контролируется аэротермометром, датчик 13 которого установлен на трубе отвода воды для воздухоохладителей.










