9.3. Аварийная защита
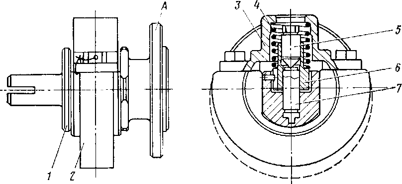
Предельный регулятор (рис. 44) для аварийной защиты дизеля установлен на левом валу привода топливных насосов (если смотреть со стороны управления). Подковообразный груз 2 притягивается пружиной 4 к цилиндрической поверхности корпуса /. При вращении корпуса груз стремится перемещаться по направляющим лыскам в радиальном направлении. Затяжка пружины 4 регулируется болтом 5 таким образом, что при нормальной частоте вращения центробежная сила груза не может преодолеть силы ее затяжки.
Рис. 44. Предельный регулятор:
1 — корпус; 2 — груз; 3 — скоба; 4 — пружина; 5 — регулировочный болт; 6 — тарелка; 7 — палец
При увеличении частоты вращения вала дизеля выше допустимой центробежная сила груза преодолевает усилие пружины. При этом груз отходит от оси вращения и воздействует на тягу, связанную с защелкой автомата выключения.










