9.2. Водяные насосы
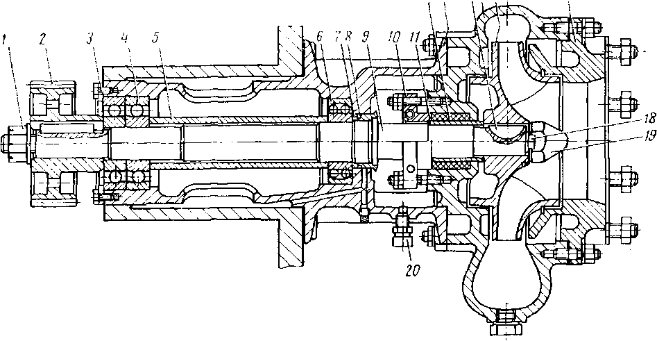
Водяные насосы установлены на плите насосов и приводятся во вращение от нижнего коленчатого вала дизеля через шестеренчатую передачу. Корпус, станина и всасывающая головка насоса — чугунные (рис. 43). Бронзовое рабочее колесо установлено на валу на шпонке и затянуто глухой гайкой 19, которая контрится шайбой 18. Вал насоса имеет две опоры, одна из которых состоит из двух радиальных подшипников 4, а другая — из одного радиально-сферического подшипника 6. Между подшипниками установлена распорная втулка 5. Гайка / закрепляет на валу шестерню, подшипники, распорную втулку 5 и отражательную втулку 7. Стопорная планка 3 удерживает наружные кольца подшипников 4 и тем самым вал насоса с закрепленными на нем деталями от перемещения в сторону привода.
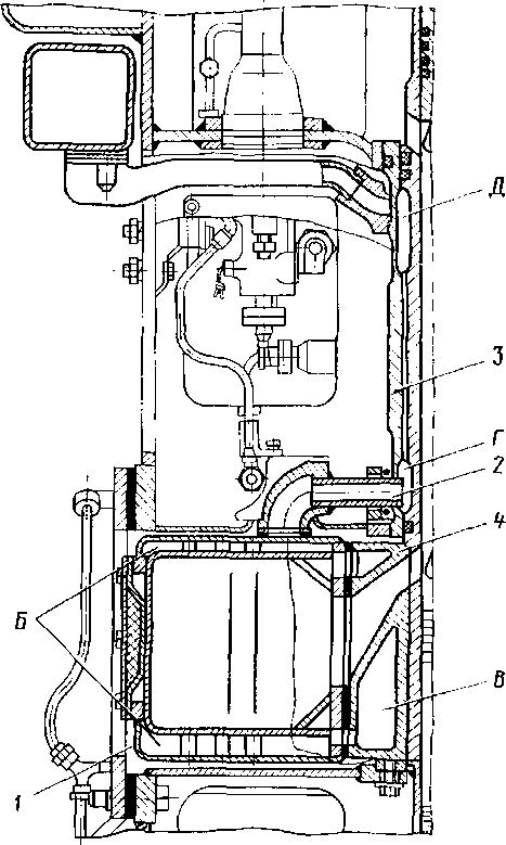
Рис. 42. Система охлаждения:
1 — выпускной коллектор; 2 — патрубок подвода воды в гильзе; 3 — гильза цилиндра; 4— выпускная коробка
дизеля" width="454" height="236">
Рис. 43. Водяной насос системы охлаждения дизеля:
1 — гайка; 2 — шестерня; 3 — стопорная планка; 4, 6 — подшипники; 5 — распорная втулка; 7— отражательная втулка; 8 — уплотнительное кольцо; 9 — вал; 10 — нажимиая втулка; 11 — втулка; 12 — сальниковое кольцо; 13 — станина; 14 — шпонка; 15 — корпус; 16 — рабочее колесо; 17 — всасывающая головка; 18 — шайба; 19 — глухая гайка; 20 — штуцер
Уплотнение, препятствующее просачиванию воды вдоль вала насоса, состоит из сальниковых колец 12, изготовленных из асбестового графитизированного просаленного шнура, и нажимной втулки 10. Для уменьшения износа в месте установки сальниковых колец на вал напрессована закаленная хромированная втулка 11. Уплотнение, препятствующее течи масла, состоит из отражательной втулки 7 и уплотнительного кольца 8. Разрезное чугунное кольцо 8 свободно сидит в проточке отражательной втулки и плотно прижимается к станине, обеспечивая надежное уплотнение. Просочившееся масло по кольцевой канавке и каналам в станине сливается в картер дизеля. Гребешок отражательной втулки 7 препятствует попаданию воды в масло при неисправном водяном уплотнении. Через штуцер 20 просочившиеся по уплотнениям вода и масло сливаются в дренажную трубку.
Водяной насос системы охлаждения наддувочного воздуха и масла отличается от насоса системы охлаждения дизеля только меньшей производительностью и наличием задней головки, установленной между корпусом и станиной насоса.










