9.4. Вентиляторы охлаждения тягового генератора и тяговых электродвигателей
Для охлаждения тягового генератора и тяговых электродвигателей на тепловозе используются центробежные вентиляторы. Привод вентиляторов охлаждения тягового генератора и тяговых электродвигателей передней тележки осуществляется от переднего редуктора через карданные валы, а вентилятора охлаждения тяговых электродвигателей задней тележки от заднего редуктора через полужесткую муфту. При частоте вращения коленчатого вала дизеля 750 об/мин частота вращения вентилятора охлаждения генератора равна 2200 об/мин, подача вентилятора составляет 9600 м3/ч, а полное статическое давление — 2,11 кПа (215 мм вод. ст.); частота вращения вентиляторов охлаждения тяговых электродвигателей передней и задней тележек — соответственно 2600 и 2650 об/мин, подача при 2650 об/мин составляет 8820 м3/ч, а полное статическое давление — 2,25 кПа (230 мм вод. ст.).
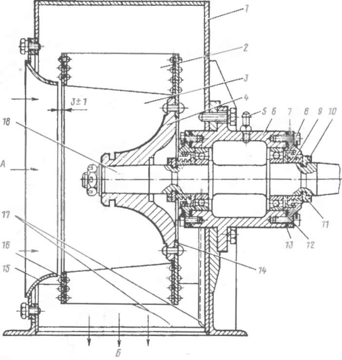
Вентиляторы охлаждения тягового генератора и тяговых электродвигателей схожи по конструкции (рис. 102).
Вентилятор охлаждения генератора отличается несколько большими размерами корпуса /, диффузора 15 и колеса 3. Вентиляторы охлаждения тяговых электродвигателей передней и задней тележек отличаются друг от друга расположением масленки на корпусе подшипника.
К сварному корпусу / вентилятора кренится болтами корпус 6 подшипников в сборе с валом 18, вращающимся в двух радиаль-но-упорных шарикоподшипниках 12. Перед иапрессовкой на вал подшипники предварительно нагревают в масле до температуры 90—100 °С. С натягом напрессовываются и лабиринтные кольца 8, 9. Зазор 0,2 0,5 мм между торцовой поверхностью наружного кольца подшипника 12 и буртом крышки 7 обеспечивается подбором прокладок 13. Внутри корпуса вентилятора к передней (со стороны привода) и боковой стенкам привариваются пылевлагоот-делитель 17.
Лопатки 2 вентиляторного колеса 3 прикреплены заклепками к дискам 14 и 16, диск 14 приклепан к ступице 4. При сборке подбирают пары одинаковых по весу лопаток, которые устанавливают на диаметрально противоположных сторонах колеса. После сборки колесо подвергают динамической балансировке. Для устранения дисбаланса используют балансировочные грузы или высверливают несквозные отверстия в ступице колеса. Балансировочные грузы
приваривают к боковой поверхности диска 14 и крепят заклепками к переднему диску 16.
После балансировки вентиляторные колеса испытывают на разнос в течение 5 мин: колесо вентилятора охлаждения тягового генератора при частоте вращения 2500 об/мин; колесо вентилятора охлаждения тяговых электродвигателей при 3200 об/мин. Окончательно собранное и отбалансированное колесо устанавливают на вал. Конусные поверхности вала и ступицы колеса проверяют по краске на взаимное прилегание друг к другу. Пятна касания должны располагаться равномерно и занимать не менее 75 % общей площади сопрягаемых поверхностей.
Для уменьшения аэродинамических потерь на входе в колесо вентилятора устанавливается диффузор 15, который крепится болтами к корпусу вентилятора. Зазор между внутренним торцом диффузора и диском 16 колеса регулируют путем подрезки торца диффузора.
Для правильной и безаварийной работы подшипников вентилятора полость корпуса 6 при сборке заполняют на 2/3 объема смазкой. В процессе эксплуатации попо пение смазки производится через масленку 5.
При работе вентилятора воздух, предварительно очищенный в сетчатых фильтрах, засасывается через диффузор 15 и подастся лопатками колеса в нагнетательные каналы, расположенные в раме тепловоза. Частицы сконденсированной влаги и пыли отводятся из пылевлагоотделите.тя 17 по трубе под раму тепловоза. Из наг

Рис. 102 Вентилятор охлаждения тягового генератора к тяговых электродвигателей
1 корпус псі тнлнтора 2 — лопатка; 3 — колесо вентилятора'. 4 - ступица; 5 — масленка, в—корпус подшипников: 7 — крышка; 8. 9 — лабиринтные кольца. 10 — стопорное кольцо. // полукольцо, 12—шарикоподшипник:* 13 прокладка: 14 - задний диск; 15 диффузор. 16- передний диск: 17 — пыленлагоотделитель. 18 вал: А — вход поздуха: 6 — выход воэ«у\а
нетательного канала воздух через специальное окно в станине электродвигателя или генератора попадает внутрь электрической машины, охлаждает коллектор, щеткодержатели, проходит вдоль вала, охлаждая якорь и полюсы, и выбрасывается наружу. По мере прохождения воздуха по нагнетательным каналам давление его падает; в коллекторной камере тягового электродвигателя при частоте вращения коленчатого вала дизеля 750 об/мин оно должно составлять не менее 0,49 кПа (50 мм- вод. ст.).
При. правильной эксплуатации и выполнении профилактических работ вентиляторы обеспечивают нормальную работу тяговых электродвигателей и генератора.
Тепловоз оборудован пневматическим автоматическим прямодей-ствующим тормозом для торможения локомотива и состава, пневматическим вспомогательным тормозом для торможения только локомотива и ручным для удержания локомотива при стоянке на уклоне.
⇐Редукторы тепловоза 2м62 Оглавление Пневматический тормоз тепловоза 2м62⇒










